CN215883335U - Question mark type charger waterproof, storage device - Google Patents

Question mark type charger waterproof, storage device Download PDF

Info

Publication number
CN215883335U
CN215883335U CN202122194914.4U CN202122194914U CN215883335U CN 215883335 U CN215883335 U CN 215883335U CN 202122194914 U CN202122194914 U CN 202122194914U CN 215883335 U CN215883335 U CN 215883335U
Authority
CN
China
Prior art keywords
casing
charger
air outlet
air
usp
Prior art date
Legal status (The legal status is an assumption and is not a legal conclusion. Google has not performed a legal analysis and makes no representation as to the accuracy of the status listed.)
Expired - Fee Related
Application number
CN202122194914.4U
Other languages
Chinese (zh)
Inventor
张新亮
Current Assignee (The listed assignees may be inaccurate. Google has not performed a legal analysis and makes no representation or warranty as to the accuracy of the list.)
Individual
Original Assignee
Individual
Priority date (The priority date is an assumption and is not a legal conclusion. Google has not performed a legal analysis and makes no representation as to the accuracy of the date listed.)
Filing date
Publication date
Application filed by Individual filed Critical Individual
Priority to CN202122194914.4U priority Critical patent/CN215883335U/en
Application granted granted Critical
Publication of CN215883335U publication Critical patent/CN215883335U/en
Expired - Fee Related legal-status Critical Current
Anticipated expiration legal-status Critical

Links

Images

Classifications

    • YGENERAL TAGGING OF NEW TECHNOLOGICAL DEVELOPMENTS; GENERAL TAGGING OF CROSS-SECTIONAL TECHNOLOGIES SPANNING OVER SEVERAL SECTIONS OF THE IPC; TECHNICAL SUBJECTS COVERED BY FORMER USPC CROSS-REFERENCE ART COLLECTIONS [XRACs] AND DIGESTS
    • Y02TECHNOLOGIES OR APPLICATIONS FOR MITIGATION OR ADAPTATION AGAINST CLIMATE CHANGE
    • Y02TCLIMATE CHANGE MITIGATION TECHNOLOGIES RELATED TO TRANSPORTATION
    • Y02T10/00Road transport of goods or passengers
    • Y02T10/60Other road transportation technologies with climate change mitigation effect
    • Y02T10/70Energy storage systems for electromobility, e.g. batteries
    • YGENERAL TAGGING OF NEW TECHNOLOGICAL DEVELOPMENTS; GENERAL TAGGING OF CROSS-SECTIONAL TECHNOLOGIES SPANNING OVER SEVERAL SECTIONS OF THE IPC; TECHNICAL SUBJECTS COVERED BY FORMER USPC CROSS-REFERENCE ART COLLECTIONS [XRACs] AND DIGESTS
    • Y02TECHNOLOGIES OR APPLICATIONS FOR MITIGATION OR ADAPTATION AGAINST CLIMATE CHANGE
    • Y02TCLIMATE CHANGE MITIGATION TECHNOLOGIES RELATED TO TRANSPORTATION
    • Y02T10/00Road transport of goods or passengers
    • Y02T10/60Other road transportation technologies with climate change mitigation effect
    • Y02T10/7072Electromobility specific charging systems or methods for batteries, ultracapacitors, supercapacitors or double-layer capacitors
    • YGENERAL TAGGING OF NEW TECHNOLOGICAL DEVELOPMENTS; GENERAL TAGGING OF CROSS-SECTIONAL TECHNOLOGIES SPANNING OVER SEVERAL SECTIONS OF THE IPC; TECHNICAL SUBJECTS COVERED BY FORMER USPC CROSS-REFERENCE ART COLLECTIONS [XRACs] AND DIGESTS
    • Y02TECHNOLOGIES OR APPLICATIONS FOR MITIGATION OR ADAPTATION AGAINST CLIMATE CHANGE
    • Y02TCLIMATE CHANGE MITIGATION TECHNOLOGIES RELATED TO TRANSPORTATION
    • Y02T90/00Enabling technologies or technologies with a potential or indirect contribution to GHG emissions mitigation
    • Y02T90/10Technologies relating to charging of electric vehicles
    • Y02T90/14Plug-in electric vehicles

Landscapes

  • Charge And Discharge Circuits For Batteries Or The Like (AREA)

Abstract

本实用新型公开的属于电动车充电技术领域,具体为问号型充电器防水、收纳装置,包括壳体,所述壳体内设有空腔,且壳体的两端分别设有进风端与出风端,所述壳体呈问号符号状弯曲,所述壳体的进风端中设有用于排风散热的USP风扇,且壳体进风端外壁上套设有进风口收纳软套,所述壳体的出风端中设有充电器,本实用新型将充电器设在壳体内,在使用时能够通过固定圆钩和登山卡扣对壳体进行吊挂,从而使得雨水无法进入壳体中,对充电器起到很好地保护作用,同时通过USP风扇实现对壳体内部的通风,USP风扇工作从壳体进风端进风,风将充电器工作时产生的热量从壳体出风端排出,实现了壳体内部通风散热的功能,具有很好的散热效果。

Figure 202122194914

The utility model disclosed by the utility model belongs to the technical field of electric vehicle charging, in particular to a waterproof and storage device of an interrogation type charger, comprising a casing, a cavity is arranged in the casing, and both ends of the casing are respectively provided with an air inlet end and an outlet end. At the air end, the casing is bent in the shape of a question mark, the air inlet end of the casing is provided with a USP fan for exhaust air and heat dissipation, and the outer wall of the air inlet end of the casing is sleeved with an air inlet receiving soft cover, so A charger is arranged in the air outlet end of the casing, and the utility model sets the charger in the casing, and the casing can be hung by a fixed round hook and a carabiner buckle during use, so that rainwater cannot enter the casing In the middle, it has a good protection effect on the charger, and at the same time, the internal ventilation of the casing is realized through the USP fan. The USP fan works to enter the air from the air inlet end of the casing, and the wind blows the heat generated by the charger out of the casing. The air end is exhausted, which realizes the function of ventilation and heat dissipation inside the casing, and has a good heat dissipation effect.

Figure 202122194914

Description

Waterproof and storage device for question mark type charger
Technical Field
The utility model relates to the technical field of electric vehicle charging, in particular to a waterproof and accommodating device of a question mark type charger.
Background
Along with the development of electronic technology and the requirement of social environmental protection, electric vehicles are increasingly widely used, such as electric bicycles, electric motorcycles, electric automobiles, electric buses and the like, the electric vehicles need to be charged by a charger, the charger is generally carried along with the vehicle, and the conventional charger for the electric bicycles has heat dissipation holes formed in the side surface so that a heat dissipation fan can discharge the heat in the charger, so that the charger does not have waterproof performance, the charger with the waterproof performance has poor heat dissipation performance, and the service life of the charger can be shortened when the charger works at high temperature.
SUMMERY OF THE UTILITY MODEL
The utility model aims to provide a waterproof and accommodating device for a question mark type charger, which is used for solving the problems that the charger in the background technology does not have waterproof performance and the charger with the waterproof performance has poor heat dissipation performance.
In order to achieve the purpose, the utility model provides the following technical scheme: the question mark type charger waterproof and containing device comprises a shell, wherein a cavity is arranged in the shell, an air inlet end and an air outlet end are respectively arranged at two ends of the shell, the shell is bent in a question mark shape, a USP fan for exhausting air and dissipating heat is arranged in the air inlet end of the shell, an air inlet containing soft sleeve is sleeved on the outer wall of the air inlet end of the shell, a charger is arranged in the air outlet end of the shell, threads are arranged on the outer wall of the air outlet end, an air outlet cover body is connected onto the threads in a threaded manner, an air outlet containing soft sleeve is sleeved on the outer wall of the air outlet cover body, the air outlet cover body is provided with a ventilation groove and a through groove which can accommodate a charger power line and a USP fan power line to penetrate through, a thread groove which can accommodate a screw rod is arranged on the outer wall of the air outlet end of the shell, a top plate for fixing the power line and the charger is arranged in the shell, and one end of the screw rod penetrates through the thread groove to be connected with the top plate through a bearing, the upper part of the shell is provided with a fixed round hook and a mountain climbing buckle which can fix the shell on the electric bicycle.
Preferably, a USP fan used for exhausting air and dissipating heat is arranged in the air inlet end of the shell, air generated by the USP fan can enter from the air inlet end of the shell and is exhausted from the ventilation groove, and therefore the ventilation and heat dissipation effects of the charger in the shell are achieved.
Preferably, the direction of the air exhaust end of the charger is consistent with that of the air outlet end of the shell, so that heat generated by the charger is quickly exhausted, and the effects of ventilation and heat dissipation are achieved.
Preferably, a ventilation groove for discharging heat generated during the operation of the charger is formed in the air outlet cover body, a power line which can accommodate the charger and the USP fan is arranged outside and connected with a battery charging port of the electric bicycle and a socket of a mains voltage, a through groove of a mobile phone charging USP interface of the electric bicycle is formed in the air outlet cover body, the through groove is located in the center of the air outlet cover body, and the air outlet cover body is convenient to be in threaded connection with the shell.
Preferably, the casing outside is equipped with fixed circular hook, and the cover is equipped with the climbing buckle on the fixed circular hook, when using question mark type charger, waterproof storage device, fixes the climbing buckle on electric bicycle, and fixed circular hook and climbing buckle are the fulcrum, utilize lever balance principle, and the air inlet end of USP fan department and the air-out end perpendicular to ground of air outlet lid department are downward, have realized that question mark type charger is waterproof, storage device has waterproof effect.
Preferably, the casing outside is equipped with the air intake and accomodates soft cover, the soft cover is accomodate to the air outlet, after the charger charges and accomplishes, accomodates the power cord that gets into USP fan and charger and leads to the inslot, twists the screw rod and drives the roof and press on the charger or power cord, and be equipped with the rubber pad on the roof outer wall, can prevent to press and hinder charger or power cord, covers the air outlet and accomodates soft cover and air intake and accomodate soft cover, accomodates and just accomplished, reaches accomodating and dirt-proof effect of charger in the casing.
Compared with the prior art, the utility model has the beneficial effects that:
1) according to the utility model, the charger is arranged in the shell, and the shell can be hung through the fixed round hook and the mountain climbing buckle when in use, so that rainwater cannot enter the shell, the charger is well protected, meanwhile, ventilation in the shell is realized through the USP fan, the USP fan works to intake air from the air inlet end of the shell, heat generated when the charger works is discharged from the air outlet end of the shell through the air, the ventilation and heat dissipation functions in the shell are realized, and the charger has a good heat dissipation effect.
2) The U-SP power line storage device is simple in structure, convenient to use, good in waterproof performance and heat dissipation performance, the service life of the charger is prolonged, meanwhile, after the U-SP power line storage device is used, a USP fan power line and a charger power line are stored into the through groove, the bolt is screwed to drive the top plate to be pressed on the power line and the charger, storage of the charger and the power line of the U-SP fan is completed, the dustproof air inlet storage soft sleeve is covered, the dustproof air outlet storage soft sleeve is covered, and the U-SP fan power line storage device is more convenient to use.
Drawings
FIG. 1 is a schematic structural view of the present invention;
fig. 2 is a perspective view of the housing of the present invention.
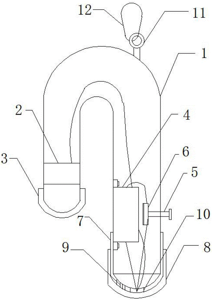
In the figure: the device comprises a shell 1, a USP fan 2, an air inlet storage soft sleeve 3, a charger 4, a screw 5, a top plate 6, an air outlet cover 7, an air outlet storage soft sleeve 8, a ventilation groove 9, a through groove 10, a fixed circular hook 11 and a mountain climbing buckle 12.
Detailed Description
The technical solutions in the embodiments of the present invention will be clearly and completely described below with reference to the drawings in the embodiments of the present invention, and it is obvious that the described embodiments are only a part of the embodiments of the present invention, and not all of the embodiments. All other embodiments, which can be derived by a person skilled in the art from the embodiments given herein without making any creative effort, shall fall within the protection scope of the present invention.
In the description of the present invention, it is to be understood that the terms "upper", "lower", "front", "rear", "left", "right", "top", "bottom", "inner", "outer", and the like, indicate orientations or positional relationships based on the orientations or positional relationships shown in the drawings, are merely for convenience in describing the present invention and simplifying the description, and do not indicate or imply that the device or element being referred to must have a particular orientation, be constructed and operated in a particular orientation, and thus, should not be construed as limiting the present invention.
Example (b):
referring to fig. 1-2, the present invention provides a technical solution: the question mark type charger waterproof and containing device comprises a shell 1, wherein a cavity is arranged in the shell 1, an air inlet end and an air outlet end are respectively arranged at two ends of the shell 1, the shell 1 is bent in a question mark shape, a mountain climbing buckle 12 is clamped on an electric bicycle, the shell 1 is hoisted, a fixed circular hook 11 and the mountain climbing buckle 12 are taken as fulcrums, the openings of the air inlet end and the air outlet end are perpendicular to the ground and face downwards, rainwater can be prevented from entering the shell 1 by utilizing a lever balance principle, a USP fan 2 for exhausting air and dissipating heat is arranged in the air inlet end of the shell 1, the USP fan 2 works to intake air from the air inlet end of the shell 1, heat generated when a charger 4 works is exhausted from the air outlet end of the shell 1 by wind, an air inlet containing soft sleeve 3 is sleeved on the outer wall of the air inlet end of the shell 1, a dustproof effect is achieved when the charger is used, and the charger 4 is arranged in the air outlet end of the shell 1, and the outer wall of the air outlet end is provided with screw threads which can be screwed with the air outlet cover body 7, the outer wall of the air outlet cover body 7 is sleeved with an air outlet accommodating soft sleeve 8, and plays a role of dust prevention when in use, the air outlet cover body 7 is internally provided with a ventilation groove 9 for ventilation and heat dissipation and a through groove 10 which is provided with a power line capable of accommodating the charger 4 and a power line of the USP fan 2 for penetrating, the outer wall of the air outlet end of the shell 1 is provided with a screw groove capable of accommodating the screw rod 5, the shell 1 is internally provided with a top plate 6 for fixing the power line and the charger 4, one end of the screw rod 5 penetrates through the screw groove and is connected with the top plate 6 through a bearing, when in use, firstly, the air outlet cover body 7 of the shell 1 is separated from the shell 1 for screwing, the charger 4 is placed at the air outlet end of the shell 1, and secondly, the power line of the charger 4 and the power line of the USP fan 2 penetrate through the through groove 10 of the air outlet cover body 7, secondly, the air outlet cover body 7 is in threaded connection with the shell body 1, then power lines of the charger 4 and the USP fan 2 are respectively connected with a battery charging port of the electric bicycle, a socket of a commercial power 220V, a mobile phone charging USP interface of the electric bicycle, secondly, the mountain climbing buckle 12 is fixed on the electric bicycle, the shell body 1 is hoisted, namely, the charger 4 charges the battery of the electric bicycle, after the charger 4 finishes charging, the power lines of the charger 4 and the USP fan 2 are pulled out and are stored into the through groove 10, the screw rod 5 is screwed to drive the top plate 6 to be pressed on the power line and the charger 4, the power line and the charger 4 are stored and fixed, the air inlet storage soft sleeve 3 covers an air inlet end of the shell body 1, the air outlet storage soft sleeve 8 covers the air outlet cover body 7, and the charging and power line of the battery of the electric bicycle and the charger 4 are stored.
The direction of the air exhaust end of the charger 4 is consistent with that of the air exhaust end of the shell 1, and the heat dissipation effect is better.
Be equipped with the rubber pad on the 6 outer walls of roof, play the guard action, prevent to crush charger 4 or power cord.
The working principle is as follows: when the electric bicycle needs to charge the battery, the waterproof and storage device of the question number type charger and the charger 4 are taken out, firstly, the air outlet cover body 7 of the shell 1 is separated from the shell 1 and screwed, secondly, the charger 4 is arranged at the air outlet end of the shell 1, secondly, the power cord of the charger 4 and the power cord of the USP fan 2 penetrate through the through groove 10 of the air outlet cover body 7, secondly, the air outlet cover body 7 is screwed on the shell 1, secondly, the power cords of the charger 4 and the USP fan 2 are respectively connected with a battery charging port of the electric bicycle, a socket of a commercial power 220V and a mobile phone charging USB interface of the electric bicycle, secondly, the mountain climbing buckle 12 is fixed on the electric bicycle, the shell 1 is hoisted, because the mountain climbing buckle 12 and the fixed circular hook 11 are taken as fulcrums, the two moments of the air inlet end and the air outlet end of the shell 1 are equal, therefore, a lever balance is formed, and the air inlet end and the air outlet end of the shell 1 are vertical to the ground downwards, when the electric bicycle is used for charging a battery outdoors and under the condition that no rainwater is arranged, when the waterproof and accommodating device of the problem-type charger is used, rainwater cannot enter the shell 1, the charger 4 is well protected, meanwhile, the inside of the shell 1 is ventilated through the USP fan 2, the USP fan 2 works to intake air from the air inlet end of the shell 1, the heat generated when the charger 4 works is discharged from the air outlet end of the shell 1 through the air, the ventilation and heat dissipation functions inside the shell 1 are realized, the heat dissipation effect is good, when the charger 4 is charged, the power cord of the USP fan 2 and the power cord of the charger 4 are accommodated into the through groove 10, the screw 5 is screwed to drive the top plate 6 to press the power cord and the charger 4, the accommodating and fixing of the power cord and the charger 4 are finished, the air inlet accommodating soft sleeve 3 is covered at the air inlet end of the shell 1, and the air outlet accommodating soft sleeve 8 is covered on the air outlet cover body 7, the storage is completed, and the use is more convenient.
While there have been shown and described the fundamental principles and essential features of the utility model and advantages thereof, it will be apparent to those skilled in the art that the utility model is not limited to the details of the foregoing exemplary embodiments, but is capable of other specific forms without departing from the spirit or essential characteristics thereof; the present embodiments are therefore to be considered in all respects as illustrative and not restrictive, the scope of the utility model being indicated by the appended claims rather than by the foregoing description, and all changes which come within the meaning and range of equivalency of the claims are therefore intended to be embraced therein, and any reference signs in the claims are not intended to be construed as limiting the claim concerned.
Although embodiments of the present invention have been shown and described, it will be appreciated by those skilled in the art that changes, modifications, substitutions and alterations can be made in these embodiments without departing from the principles and spirit of the utility model, the scope of which is defined in the appended claims and their equivalents.

Claims (6)

1.问号型充电器防水、收纳装置,包括壳体(1),其特征在于:所述壳体(1)内设有空腔,且壳体(1)的两端分别设有进风端与出风端,所述壳体(1)呈问号符号状弯曲,所述壳体(1)的进风端中设有用于排风散热的USP风扇(2),且壳体(1)进风端外壁上套设有进风口收纳软套(3),所述壳体(1)的出风端中设有充电器(4),且出风端外壁上设有螺纹,所述螺纹上螺接有出风口盖体(7),且出风口盖体(7)外壁上套设有出风口收纳软套(8),所述出风口盖体(7)设有通风槽(9)和设有能够容纳充电器电源线与USP风扇电源线贯穿的通槽(10),所述壳体(1)出风端外壁上开设有能够容纳螺杆(5)的螺槽,所述壳体(1)内设有用于固定电源线和充电器(4)的顶板(6),且螺杆(5)的一端穿过螺槽通过轴承与顶板(6)连接,所述壳体(1)上部设有可以将壳体(1)固定在电动自行车上的固定圆钩(11)和登山卡扣(12)。1. A waterproof and storage device for an interrogation type charger, comprising a casing (1), characterized in that: the casing (1) is provided with a cavity, and both ends of the casing (1) are respectively provided with air inlet ends At the air outlet end, the casing (1) is bent in the shape of a question mark, the air inlet end of the casing (1) is provided with a USP fan (2) for exhausting air and dissipating heat, and the casing (1) enters the air outlet. The outer wall of the air end is provided with an air inlet receiving soft sleeve (3), the air outlet end of the casing (1) is provided with a charger (4), and the outer wall of the air outlet end is provided with threads, and the threads are An air outlet cover (7) is screwed, and an air outlet receiving soft sleeve (8) is sleeved on the outer wall of the air outlet cover (7), and the air outlet cover (7) is provided with ventilation grooves (9) and A through slot (10) capable of accommodating the charger power cord and the USP fan power cord to pass through is provided, the outer wall of the air outlet end of the housing (1) is provided with a screw slot capable of accommodating the screw (5), and the housing (1) 1) There is a top plate (6) for fixing the power cord and the charger (4), and one end of the screw (5) is connected to the top plate (6) through a bearing through the screw groove, and the upper part of the casing (1) is provided with a top plate (6). There are fixed round hooks (11) and carabiner buckles (12) that can fix the housing (1) on the electric bicycle. 2.根据权利要求1所述的问号型充电器防水、收纳装置,其特征在于:所述USP风扇(2)产生的风可从壳体(1)的进风端进入,从通风槽(9)排出。2. The waterproof and storage device of the question mark type charger according to claim 1, characterized in that: the wind generated by the USP fan (2) can enter from the air inlet end of the casing (1), and flow from the ventilation groove (9) )discharge. 3.根据权利要求1所述的问号型充电器防水、收纳装置,其特征在于:所述充电器(4)的排风端与壳体(1)出风端方向一致。3 . The waterproof and storage device of the question mark type charger according to claim 1 , wherein the direction of the exhaust end of the charger ( 4 ) is the same as that of the outlet end of the casing ( 1 ). 4 . 4.根据权利要求1所述的问号型充电器防水、收纳装置,其特征在于:所述出风口盖体(7)内开设有用于排出充电器(4)工作时产生的热量的通风槽(9),另设有能够容纳充电器(4)与USP风扇(2)的电源线外出连接电动自行车电池充电口、市电220伏的插座,电动自行车手机充电USP接口的通槽(10),且通槽(10)居出风口盖体(7)中心处,便于出风口盖体(7)螺接壳体(1)。4. The waterproof and storage device of the question mark type charger according to claim 1, characterized in that: a ventilation groove ( 9), additionally provided with a power line capable of accommodating the charger (4) and the USP fan (2) to go out to connect the electric bicycle battery charging port, the socket of the 220-volt mains, and the through slot (10) for the charging USP port of the electric bicycle mobile phone, And the through groove (10) is located at the center of the air outlet cover (7), so that the air outlet cover (7) is screwed to the casing (1). 5.根据权利要求1所述的问号型充电器防水、收纳装置,其特征在于:所述壳体(1)外部设有固定圆钩(11),且固定圆钩(11)上套设有登山卡扣(12),使用问号型充电器、防水收纳装置时,将登山卡扣(12)固定在电动自行车上,固定圆钩(11)与登山卡扣(12)为支点,利用杠杆平衡原理,USP风扇(2)处的进风端与出风口盖体(7)处的出风端垂直于地面向下。5 . The waterproof and storage device of the question mark type charger according to claim 1 , wherein a fixed round hook ( 11 ) is provided outside the casing ( 1 ), and the fixed round hook ( 11 ) is sleeved with a fixed round hook ( 11 ). 6 . Carabiner (12), when using a question mark type charger and a waterproof storage device, fix the carabiner (12) on the electric bicycle, fix the round hook (11) and the carabiner (12) as the fulcrum, and use a lever for balance In principle, the air inlet end at the USP fan (2) and the air outlet end at the air outlet cover (7) are perpendicular to the ground and downward. 6.根据权利要求1所述的问号型充电器防水、收纳装置,其特征在于:所述壳体(1)外部设有进风口收纳软套(3)、出风口收纳软套(8),当充电器(4)充电完成后,将USP风扇(2)和充电器(4)的电源线收纳进入通槽(10)内,拧动螺杆(5)带动顶板(6)压在充电器(4)上或电源线上,且顶板(6)外壁上设有橡胶垫。6. The waterproof and storage device of the question mark type charger according to claim 1, characterized in that: an air inlet storage soft cover (3) and an air outlet storage soft cover (8) are provided outside the casing (1), When the charger (4) is fully charged, put the USP fan (2) and the power cord of the charger (4) into the through slot (10), and turn the screw (5) to drive the top plate (6) to press the charger (6). 4) or the power cord, and a rubber pad is provided on the outer wall of the top plate (6).
CN202122194914.4U 2021-09-11 2021-09-11 Question mark type charger waterproof, storage device Expired - Fee Related CN215883335U (en)

Priority Applications (1)

Application Number Priority Date Filing Date Title
CN202122194914.4U CN215883335U (en) 2021-09-11 2021-09-11 Question mark type charger waterproof, storage device

Applications Claiming Priority (1)

Application Number Priority Date Filing Date Title
CN202122194914.4U CN215883335U (en) 2021-09-11 2021-09-11 Question mark type charger waterproof, storage device

Publications (1)

Publication Number Publication Date
CN215883335U true CN215883335U (en) 2022-02-22

Family

ID=80337721

Family Applications (1)

Application Number Title Priority Date Filing Date
CN202122194914.4U Expired - Fee Related CN215883335U (en) 2021-09-11 2021-09-11 Question mark type charger waterproof, storage device

Country Status (1)

Country Link
CN (1) CN215883335U (en)

Similar Documents

Publication Publication Date Title
CN213521324U (en) Portable mobile energy storage emergency power supply
CN215883335U (en) Question mark type charger waterproof, storage device
CN203242683U (en) Cell box of electric bicycle
CN211455775U (en) Novel power lithium battery
CN208571672U (en) A kind of electrical bike charger convenient for storage heat dissipation
CN214900968U (en) Carbon fiber heat dissipation cell phone case
CN215733674U (en) A magnetic suction wireless charging module
CN207753485U (en) A kind of anti-corrosive insulation charger baby metal shell
CN209217254U (en) A kind of charging gun with radiator fan
CN209956175U (en) Electric bicycle battery convenient to install fast
CN201207417Y (en) Intelligent multifunctional display charger
CN206921979U (en) Dynamical lithium-ion battery packs
CN214958831U (en) Portable handle structure embedded on charger shell
CN223567350U (en) A portable multi-purpose emergency jump starter
CN219123956U (en) Lithium battery charger convenient for heat dissipation
CN218039534U (en) Start-stop battery with heat-dissipation waterproof plastic shell
CN213452966U (en) Household multifunctional LED lamp
CN217427692U (en) But solar charging wireless headset
CN221900575U (en) Battery charger with plane rear cover
CN222380639U (en) Mobile battery box with USB charging function
CN210402263U (en) Computer power adapter for software engineering convenient to accomodate
CN203251115U (en) Heat-dissipating covered battery charger
CN219257087U (en) Fixing frame is placed to charger shell of electric motor car
CN222146448U (en) A battery and a charger
CN214019150U (en) An external battery pack and electric scooter

Legal Events

Date Code Title Description
GR01 Patent grant
GR01 Patent grant
CF01 Termination of patent right due to non-payment of annual fee
CF01 Termination of patent right due to non-payment of annual fee

Granted publication date: 20220222