CN215636071U - A mounting seat for chemical machinery erection - Google Patents

A mounting seat for chemical machinery erection Download PDF

Info

Publication number
CN215636071U
CN215636071U CN202122328802.3U CN202122328802U CN215636071U CN 215636071 U CN215636071 U CN 215636071U CN 202122328802 U CN202122328802 U CN 202122328802U CN 215636071 U CN215636071 U CN 215636071U
Authority
CN
China
Prior art keywords
chemical machinery
mounting
lead screw
wall
fixed
Prior art date
Legal status (The legal status is an assumption and is not a legal conclusion. Google has not performed a legal analysis and makes no representation as to the accuracy of the status listed.)
Expired - Fee Related
Application number
CN202122328802.3U
Other languages
Chinese (zh)
Inventor
黄锐
Current Assignee (The listed assignees may be inaccurate. Google has not performed a legal analysis and makes no representation or warranty as to the accuracy of the list.)
Xihua University
Original Assignee
Xihua University
Priority date (The priority date is an assumption and is not a legal conclusion. Google has not performed a legal analysis and makes no representation as to the accuracy of the date listed.)
Filing date
Publication date
Application filed by Xihua University filed Critical Xihua University
Priority to CN202122328802.3U priority Critical patent/CN215636071U/en
Application granted granted Critical
Publication of CN215636071U publication Critical patent/CN215636071U/en
Expired - Fee Related legal-status Critical Current
Anticipated expiration legal-status Critical

Links

Images

Landscapes

  • Feeding, Discharge, Calcimining, Fusing, And Gas-Generation Devices (AREA)

Abstract

本实用新型公开了一种化工机械架设用安装座,包括架设安装框,所述架设安装框的下表面呈矩形阵列设置有四个支撑立柱,架设安装框的内壁固定安装有固定框,固定框的内壁滑动连接有调节箱,且调节箱的上表面固定安装有化工机械安装座,调节箱的下表面固定安装有圆形开口,圆形开口的内壁固定安装有内螺纹筒,固定框的内底壁转动连接有螺纹丝杠,且螺纹丝杠的外表面与内螺纹筒的内壁螺纹连接。该化工机械架设用安装座,在实际使用的过程中,将化工机械安装在化工机械安装座上后,能够根据不同化工机械的架空高度标准,启动驱动电机带动螺纹丝杠转动,螺纹丝杠的转动通过内螺纹筒实现化工机械高度的调节,有效的提高了该安装座的实用性。

Figure 202122328802

The utility model discloses a mounting seat for erecting chemical machinery, comprising an erecting mounting frame, the lower surface of the erecting mounting frame is provided with four supporting columns in a rectangular array, the inner wall of the erecting mounting frame is fixedly mounted with a fixing frame, and the fixing frame An adjustment box is slidably connected to the inner wall of the adjustment box, and a chemical machinery mounting seat is fixedly installed on the upper surface of the adjustment box. A circular opening is fixedly installed on the lower surface of the adjustment box. The bottom wall is rotatably connected with a threaded screw, and the outer surface of the threaded screw is threadedly connected with the inner wall of the inner threaded barrel. The mounting seat for chemical machinery erection, in the process of actual use, after the chemical machinery is installed on the chemical machinery mounting seat, according to the overhead height standards of different chemical machinery, the drive motor can be started to drive the threaded screw to rotate, and the threaded screw can rotate. The adjustment of the height of the chemical machinery is realized through the rotation of the inner thread cylinder, which effectively improves the practicability of the mounting seat.

Figure 202122328802

Description

Chemical machinery erects and uses mount pad
Technical Field
The utility model relates to the technical field of mechanical installation, in particular to an installation seat for erecting chemical machinery.
Background
Chemical machinery is a generic term for machinery and equipment used in the chemical industry. In order to process raw materials into finished products with certain specifications in chemical production, a series of chemical processes such as raw material pretreatment, chemical reaction, separation and refining of reaction products and the like are often required, and machines used for realizing the processes are often classified as chemical machines.
Chemical machinery equipment is at the in-process of actual installation, in order to protect chemical machinery equipment's bottom, need make it keep certain distance with ground usually, but current chemical machinery erects and uses the mount pad most be fixed structure, and it can't be according to the standard height of erectting of disalignment chemical machinery and adjust, and the practicality is relatively poor.
Therefore, a mounting seat for erecting chemical machinery is needed.
SUMMERY OF THE UTILITY MODEL
The utility model aims to provide a mounting seat for erecting chemical machinery, which aims to solve the problems in the background technology.
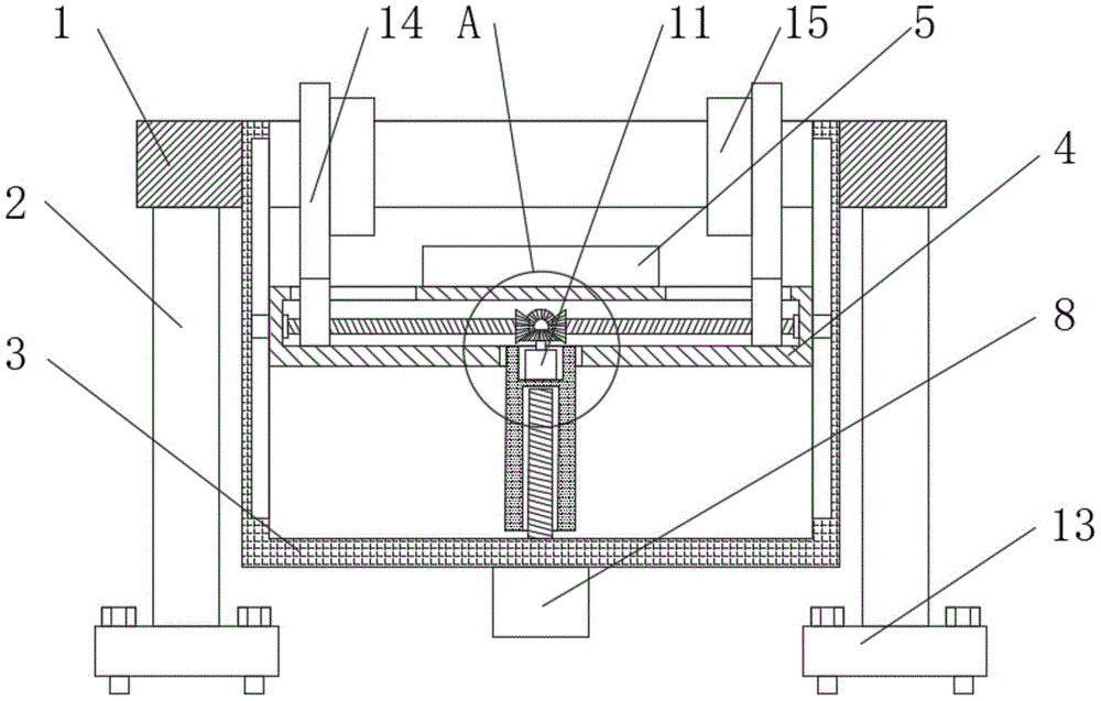
In order to achieve the purpose, the utility model provides the following technical scheme: the utility model provides a chemical machinery erects and uses mount pad, including erectting the installing frame, the lower surface of erectting the installing frame is that rectangular array is provided with four support post, the inner wall fixed mounting who erects the installing frame has fixed frame, the inner wall sliding connection of fixed frame has the regulating box, and the last fixed surface of regulating box installs the chemical machinery mount pad, the lower fixed surface of regulating box installs circular opening, circular open-ended inner wall fixed mounting has an internal thread section of thick bamboo, the internal diapire of fixed frame rotates and is connected with the screw thread lead screw, and the surface of screw thread lead screw and the inner wall threaded connection of internal thread section of thick bamboo, the lower surface of fixed frame is provided with and is used for driving screw thread lead screw pivoted driving motor, four inner walls of regulating box all rotate and are connected with two-way lead screw, and four two-way lead screws keep away from the equal fixed mounting of one end of regulating box inner wall and have a conical gear.
Preferably, the top end of the internal thread cylinder is provided with a mounting groove, the inner wall of the mounting groove is fixedly provided with a forward and reverse rotating motor, the output end of the forward and reverse rotating motor is fixedly provided with a second bevel gear, and the second bevel gear is meshed with the four first bevel gears respectively.
Preferably, the bottom end of the supporting upright post is fixedly provided with a mounting disc, and the upper surface of the mounting disc is in threaded connection with four mounting bolts.
Preferably, four equal threaded connection in surface of two-way lead screw has the removal installation piece, and the last fixed surface who removes the installation piece installs the locating plate, and the surface of four locating plates all is provided with the protection pad.
Preferably, four strip-shaped openings for the movable mounting block to slide are formed in the upper surface of the adjusting box.
Preferably, the surface of both sides of regulating box all fixed mounting have spacing slider, and the both sides inner wall of fixed frame all sets up the gliding spacing spout of confession spacing slider.
Advantageous effects
The utility model provides a mounting seat for erecting chemical machinery, which has the following beneficial effects:
1. this chemical machinery erects and uses mount pad, through setting up fixed frame, the regulating box, the chemical machinery mount pad, an internal thread section of thick bamboo, the screw lead screw, driving motor and spacing slider, make this chemical machinery erect and use the mount pad at the in-process of in-service use, install chemical machinery back on the chemical machinery mount pad, can be according to the built on stilts altitude standard of vary industrial machinery, start driving motor drives the screw lead screw and rotate, the rotation of screw lead screw passes through the regulation that the internal thread section of thick bamboo realized the chemical machinery height, the effectual practicality that improves this mount pad.
2. This chemical machinery erects and uses mount pad, through setting up two-way lead screw, first conical gear, positive and negative motor, second conical gear, locating plate and protection pad, make this mount pad carry out built on stilts installation back to chemical machinery, can start positive and negative motor, the rotation of positive and negative motor drives four two-way lead screw rotations through second conical gear and first conical gear, the rotation of four two-way lead screw makes four locating plate synchronous motion press from both sides chemical machinery tightly, the effectual stability that improves when chemical machinery uses.
Drawings
FIG. 1 is a schematic front sectional view of the present invention;
FIG. 2 is a schematic perspective view of the present invention;
fig. 3 is an enlarged schematic view of a portion a in fig. 1.
In the figure: the device comprises a mounting frame, a supporting upright post, a fixing frame, a regulating box, a chemical machinery mounting seat, a 6 internal thread cylinder, a 7 thread screw, a 8 driving motor, a 9 bidirectional screw, a 10 first bevel gear, a 11 forward and reverse rotating motor, a 12 second bevel gear, a 13 mounting disc, a 14 positioning plate and a 15 protection pad, wherein the mounting frame is erected at 1 position.
Detailed Description
The technical solutions in the embodiments of the present invention will be clearly and completely described below with reference to the drawings in the embodiments of the present invention, and it is obvious that the described embodiments are only a part of the embodiments of the present invention, and not all of the embodiments. All other embodiments, which can be derived by a person skilled in the art from the embodiments given herein without making any creative effort, shall fall within the protection scope of the present invention.
Referring to fig. 1-3, the present invention provides a technical solution: the utility model provides a chemical machinery erects and uses mount pad, is provided with four support post 2 for rectangular array including erectting mounting frame 1, the lower surface of erectting mounting frame 1, and the bottom fixed mounting of support post 2 has mounting disc 13, and the upper surface threaded connection of mounting disc 13 has four construction bolts.
The inner wall fixed mounting who erects installing frame 1 has fixed frame 3, and the inner wall sliding connection of fixed frame 3 has regulating box 4, and the last fixed surface of regulating box 4 installs chemical machinery mount pad 5, and the equal fixed mounting in both sides surface of regulating box 4 has spacing slider, and the both sides inner wall of fixed frame 3 has all been seted up and has been supplied the gliding spacing spout of spacing slider.
The lower surface of the adjusting box 4 is fixedly provided with a circular opening, the inner wall of the circular opening is fixedly provided with an internal thread cylinder 6, the inner bottom wall of the fixing frame 3 is rotatably connected with a thread lead screw 7, the outer surface of the thread lead screw 7 is in threaded connection with the inner wall of the internal thread cylinder 6, the lower surface of the fixing frame 3 is provided with a driving motor 8 for driving the thread lead screw 7 to rotate, the mounting seat for the chemical machinery erection is enabled to be in the actual use process by arranging the fixing frame 3, the adjusting box 4, the chemical machinery mounting seat 5, the internal thread cylinder 6, the thread lead screw 7, the driving motor 8 and a limit slider, after the chemical machinery is mounted on the chemical machinery mounting seat 5, the driving motor 8 can be started to drive the thread lead screw 7 to rotate according to the overhead height standard of different chemical machinery, and the rotation of the thread lead screw 7 realizes the adjustment of the height of the chemical machinery through the internal thread cylinder 6, the practicality of this mount pad has effectually been improved.
Four inner walls of regulating box 4 all rotate and are connected with two-way lead screw 9, and the equal threaded connection in surface of four two-way lead screw 9 has the removal installation piece, and the last fixed surface who removes the installation piece installs locating plate 14, and the surface of four locating plates 14 all is provided with protection pad 15.
Four bar-shaped openings for the sliding of the movable mounting block are arranged on the upper surface of the adjusting box 4.
And one ends of the four bidirectional screw rods 9 far away from the inner wall of the adjusting box 4 are fixedly provided with first bevel gears 10.
The top end of the internal thread cylinder 6 is provided with a mounting groove, the inner wall of the mounting groove is fixedly provided with a forward and reverse rotating motor 11, the output end of the forward and reverse rotating motor 11 is fixedly provided with a second bevel gear 12, and the second bevel gear 12 is meshed with the four first bevel gears 10 respectively.
Through setting up two-way lead screw 9, first conical gear 10, positive reverse motor 11, second conical gear 12, locating plate 14 and protection pad 15, make this mount pad carry out built on stilts installation back to chemical machinery, can start positive reverse motor 11, the rotation of positive reverse motor 11 drives four two-way lead screw 9 through second conical gear 12 and first conical gear 10 and rotates, four two-way lead screw 9's rotation makes four locating plate 14 synchronous motion press from both sides the chemical machinery tightly, the effectual stability that improves when the chemical machinery uses.
The working principle is as follows: this chemical machinery erects and uses mount pad at the in-process of in-service use, install chemical machinery back on chemical machinery mount pad 5, can be according to the built on stilts altitude standard of vary chemical machinery, start driving motor 8 and drive screw thread lead screw 7 and rotate, the regulation of chemical machinery height is realized through internal thread section of thick bamboo 6 in the rotation of screw thread lead screw 7, the effectual practicality that improves this mount pad, and this mount pad is after the built on stilts installation to chemical machinery, can start positive reverse motor 11, positive reverse motor 11's rotation drives four two-way lead screw 9 through second bevel gear 12 and first bevel gear 10 and rotates, four two-way lead screw 9's rotation makes four locating plate 14 synchronous motion press from both sides chemical machinery tightly, the effectual stability when improving the chemical machinery use.
Although embodiments of the present invention have been shown and described, it will be appreciated by those skilled in the art that changes, modifications, substitutions and alterations can be made in these embodiments without departing from the principles and spirit of the utility model, the scope of which is defined in the appended claims and their equivalents.

Claims (6)

1. The utility model provides a chemical machinery erects and uses mount pad, is including erectting installing frame (1), its characterized in that: erect the lower surface of installing frame (1) and be provided with four support post (2) for rectangular array, the inner wall fixed mounting who erects installing frame (1) has fixed frame (3), the inner wall sliding connection of fixed frame (3) has regulating box (4), and the last fixed surface of regulating box (4) installs chemical machinery mount pad (5), the lower fixed surface of regulating box (4) installs circular opening, circular open-ended inner wall fixed mounting has interior thread section of thick bamboo (6), the interior diapire of fixed frame (3) rotates and is connected with screw lead screw (7), and the surface of screw lead screw (7) and the inner wall threaded connection of interior thread section of thick bamboo (6), the lower surface of fixed frame (3) is provided with and is used for driving screw lead screw (7) pivoted driving motor (8), four inner walls of regulating box (4) all rotate and are connected with two-way lead screw (9), and four two-way lead screw (9) keep away from the equal fixed mounting of one end of regulating box (4) inner wall and have first conical gear (10).
2. The chemical machinery erection mounting base of claim 1, wherein: the mounting groove has been seted up on the top of internal thread section of thick bamboo (6), and the inner wall fixed mounting of mounting groove has just reversing motor (11), and just reversing motor's (11) output fixed mounting has second bevel gear (12), second bevel gear (12) respectively with four first bevel gear (10) intermeshing.
3. The chemical machinery erection mounting base of claim 1, wherein: the bottom fixed mounting of support post (2) has mounting disc (13), and the upper surface threaded connection of mounting disc (13) has four construction bolts.
4. The chemical machinery erection mounting base of claim 1, wherein: four equal threaded connection in surface of two-way lead screw (9) has the removal installation piece, and removes the last fixed surface of installation piece and install locating plate (14), and the surface of four locating plates (14) all is provided with protection pad (15).
5. The chemical machinery erection mounting base of claim 1, wherein: four strip-shaped openings for sliding of the movable mounting blocks are formed in the upper surface of the adjusting box (4).
6. The chemical machinery erection mounting base of claim 1, wherein: the surface of the two sides of the adjusting box (4) is fixedly provided with a limiting slide block, and the inner walls of the two sides of the fixing frame (3) are provided with limiting slide grooves for sliding the limiting slide block.
CN202122328802.3U 2021-09-26 2021-09-26 A mounting seat for chemical machinery erection Expired - Fee Related CN215636071U (en)

Priority Applications (1)

Application Number Priority Date Filing Date Title
CN202122328802.3U CN215636071U (en) 2021-09-26 2021-09-26 A mounting seat for chemical machinery erection

Applications Claiming Priority (1)

Application Number Priority Date Filing Date Title
CN202122328802.3U CN215636071U (en) 2021-09-26 2021-09-26 A mounting seat for chemical machinery erection

Publications (1)

Publication Number Publication Date
CN215636071U true CN215636071U (en) 2022-01-25

Family

ID=79919442

Family Applications (1)

Application Number Title Priority Date Filing Date
CN202122328802.3U Expired - Fee Related CN215636071U (en) 2021-09-26 2021-09-26 A mounting seat for chemical machinery erection

Country Status (1)

Country Link
CN (1) CN215636071U (en)

Similar Documents

Publication Publication Date Title
CN215636071U (en) A mounting seat for chemical machinery erection
CN222769106U (en) Kitchen paper embossing composite device
CN219543248U (en) Robot bottom counterweight structure
CN116890074B (en) A steel bar bending machine for construction engineering
CN218150953U (en) Tunnel lining form trolley height adjusting device
CN215633515U (en) Adjustable installation mechanism of wind power equipment
CN110970214A (en) Large transformer coil demoulding device and method
CN212343703U (en) Movable support for supporting solar photovoltaic panel
CN210264031U (en) Stable aluminum formwork height adjusting device
CN210366186U (en) Novel film splitter
CN211044125U (en) Wall-mounted case convenient to install
CN209494661U (en) A kind of Steady base of wind-driven generator
CN220080033U (en) Foundation pit excavation collapse prevention structure
CN209651233U (en) A stacker for factory intelligent material storage and storage
CN212724481U (en) Building structure engineering is with model convenient to adjust distance
CN222347986U (en) Lifting type working platform
CN223531187U (en) A metal stamping and forming equipment with quick mold change capability
CN214626667U (en) Adjustable motor unable adjustment base
CN112008631A (en) Clamping device is used in production and processing of rectangle automobile parts
CN221801306U (en) Auxiliary clamping mechanism of building construction surveying and mapping device
CN217834012U (en) Special vibrator of brick machine that stability is high
CN213745242U (en) Higher sliding bracket of construction usefulness of security
CN222781135U (en) A whole plate clamping and film feeding structure for a blister machine
CN210985891U (en) Assembling device for motor magnetic shoe
CN221289336U (en) Reinforcing bar bending device for building engineering construction

Legal Events

Date Code Title Description
GR01 Patent grant
GR01 Patent grant
CF01 Termination of patent right due to non-payment of annual fee

Granted publication date: 20220125

CF01 Termination of patent right due to non-payment of annual fee