CN215371882U - Special hydraulic telescopic tripod for geographic mapping - Google Patents

Special hydraulic telescopic tripod for geographic mapping Download PDF

Info

Publication number
CN215371882U
CN215371882U CN202023191930.XU CN202023191930U CN215371882U CN 215371882 U CN215371882 U CN 215371882U CN 202023191930 U CN202023191930 U CN 202023191930U CN 215371882 U CN215371882 U CN 215371882U
Authority
CN
China
Prior art keywords
groove
fixedly installed
hydraulic telescopic
placing plate
connecting bolt
Prior art date
Legal status (The legal status is an assumption and is not a legal conclusion. Google has not performed a legal analysis and makes no representation as to the accuracy of the status listed.)
Expired - Fee Related
Application number
CN202023191930.XU
Other languages
Chinese (zh)
Inventor
柴红旗
文超
刘晓博
Current Assignee (The listed assignees may be inaccurate. Google has not performed a legal analysis and makes no representation or warranty as to the accuracy of the list.)
Individual
Original Assignee
Individual
Priority date (The priority date is an assumption and is not a legal conclusion. Google has not performed a legal analysis and makes no representation as to the accuracy of the date listed.)
Filing date
Publication date
Application filed by Individual filed Critical Individual
Priority to CN202023191930.XU priority Critical patent/CN215371882U/en
Application granted granted Critical
Publication of CN215371882U publication Critical patent/CN215371882U/en
Expired - Fee Related legal-status Critical Current
Anticipated expiration legal-status Critical

Links

Images

Landscapes

  • Pit Excavations, Shoring, Fill Or Stabilisation Of Slopes (AREA)

Abstract

本实用新型涉及地理测绘技术领域,尤其是一种地理测绘专用液压伸缩三脚架,包括放置板,所述放置板上端外侧固定安装有一体结构的安装耳,所述安装耳内部开设有螺孔,所述放置板下端面开设有凹槽,所述放置板下端面固定安装有液压油缸,所述液压油缸控制输出下端固定安装有轴承座,所述轴承座外侧螺纹连接有连接螺栓,所述连接螺栓端部转动设有支杆,所述支杆远离所述连接螺栓的下端部可与所述凹槽内部相配合,所述轴承座下端面中部固定安装有安装块,该三脚架便于折叠收纳,值得推广。

Figure 202023191930

The utility model relates to the technical field of geographic surveying and mapping, in particular to a special hydraulic telescopic tripod for geographic surveying and mapping. A groove is formed on the lower end surface of the placing plate, a hydraulic oil cylinder is fixedly installed on the lower end surface of the placing plate, a bearing seat is fixedly installed at the lower end of the control output of the hydraulic oil cylinder, the outer side of the bearing seat is threadedly connected with a connecting bolt, and the connecting bolt The end is rotated with a support rod. The lower end of the support rod away from the connecting bolt can be matched with the inside of the groove. The middle part of the lower end face of the bearing seat is fixedly installed with a mounting block. The tripod is easy to fold and store, and it is worthwhile. promotion.

Figure 202023191930

Description

Special hydraulic telescopic tripod for geographic mapping
Technical Field
The utility model relates to the technical field of geographical surveying and mapping, in particular to a hydraulic telescopic tripod special for geographical surveying and mapping.
Background
The mapping has extensive application in economic construction and national defense construction, in works such as urban and rural construction planning, country and soil resource utilization, environmental protection, must carry out the land survey and draw various maps, supply planning and management to use, in the construction such as geological exploration, mineral development, water conservancy, traffic, and measure and make and often need the tripod to support mapping equipment, measure, and current tripod uses inconveniently, is unfavorable for the staff to accomodate and deposits.
SUMMERY OF THE UTILITY MODEL
The utility model aims to solve the problem that the hydraulic telescopic tripod is inconvenient to store in the prior art, and provides a hydraulic telescopic tripod special for geographic mapping.
In order to achieve the purpose, the utility model adopts the following technical scheme:
a hydraulic telescopic tripod special for geography surveying and mapping is designed, comprising a placing plate, wherein an installation lug of an integral structure is fixedly installed on the outer side of the upper end of the placing plate, a screw hole is formed in the installation lug, a groove is formed in the lower end face of the placing plate, a hydraulic oil cylinder is fixedly installed on the lower end face of the placing plate, a bearing seat is fixedly installed at the lower end of the control output of the hydraulic oil cylinder, a connecting bolt is in threaded connection with the outer side of the bearing seat, a supporting rod is rotatably arranged at the end part of the connecting bolt, the lower end part, far away from the connecting bolt, of the supporting rod can be matched with the inner part of the groove, an installation block is fixedly installed in the middle of the lower end face of the bearing seat, an inner groove is formed in the lower end part of the installation block, a linkage shaft is rotatably installed in the inner groove, an outer groove is formed in the inner wall surface of the installation block, the outer groove is positioned on the outer side of the inner groove and communicated with the inner groove, a limiting rod is rotatably installed at the end part of the linkage shaft, the limiting rod can rotate in the outer groove.
Preferably, the number of the connecting bolts, the number of the supporting rods and the number of the limiting rods are all three.
Preferably, first magnets which are mutually attracted are fixedly arranged between the outer side surface of the end part of the supporting rod and the surface of the inner wall of the groove.
Preferably, the end part of the limiting rod far away from the mounting block and the surface of the support rod are fixedly provided with second magnets which are mutually attracted.
Preferably, the lower end of the strut is provided with a buffer pad inside, and the inside of the buffer pad is made of a rubber structure.
The hydraulic telescopic tripod special for geographic mapping provided by the utility model has the beneficial effects that: this tripod inside gag lever post can rotate around the universal driving shaft, thereby can adjust the angle between the gag lever post, when branch is rotatory downwards, the gag lever post passes through between second magnet and the branch actuation each other fixed, can restrict the open angle of branch like this, then fasten the upper end of branch through connecting bolt, can guarantee like this that the open angle of branch is unanimous, improve the precision, in addition, when this tripod does not use, through upwards rotatory branch, make the lower extreme of branch rotatory to the recess in, and fix in the recess through first magnet actuation, save space, it is convenient to accomodate.
Drawings
FIG. 1 is a schematic structural diagram of the expansion of a hydraulic telescopic tripod special for geographic mapping, which is provided by the utility model;
FIG. 2 is a schematic structural view of a storage structure of a hydraulic telescopic tripod special for geographic mapping, which is provided by the utility model;
fig. 3 is a schematic sectional structure view at a-a in fig. 1 of a hydraulic telescopic tripod special for geography and mapping according to the present invention.
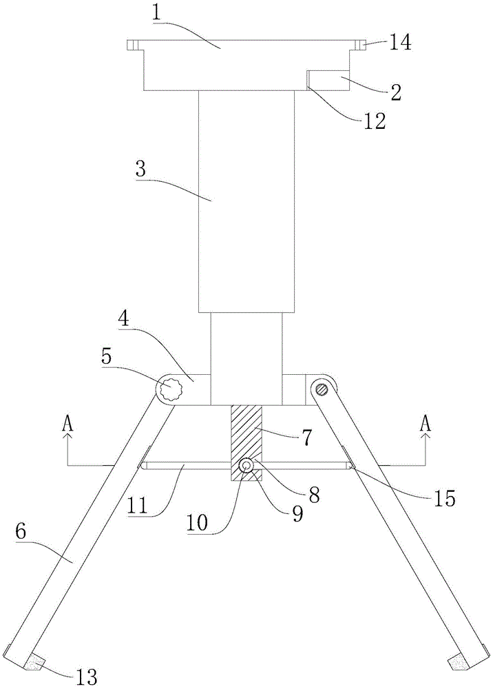
In the figure: the device comprises a placing plate 1, a groove 2, a hydraulic oil cylinder 3, a bearing seat 4, a connecting bolt 5, a support rod 6, a mounting block 7, an outer groove 8, an inner groove 9, a linkage shaft 10, a limiting rod 11, a first magnet 12, a cushion pad 13, a mounting lug 14 and a second magnet 15.
Detailed Description
The technical solutions in the embodiments of the present invention will be clearly and completely described below with reference to the drawings in the embodiments of the present invention, and it is obvious that the described embodiments are only a part of the embodiments of the present invention, and not all of the embodiments.
Example 1
Referring to fig. 1-3, a special hydraulic telescopic tripod for geographic mapping comprises a placing plate 1, mounting lugs 14 of an integrated structure are fixedly mounted on the outer side of the upper end of the placing plate 1, screw holes are formed in the mounting lugs 14, a surveying and mapping instrument can be conveniently fixed on the upper surface of the placing plate 1 through the mounting lugs 14, a groove 2 is formed in the lower end face of the placing plate 1, a hydraulic oil cylinder 3 is fixedly mounted on the lower end face of the placing plate 1, and the height of the tripod can be adjusted through the hydraulic oil cylinder 3.
Hydraulic cylinder 3 control output lower extreme fixed mounting has bearing frame 4, the threaded connection has connecting bolt 5 outside bearing frame 4, connecting bolt 5 tip rotates and is equipped with branch 6, it links to each other to rotate between branch 6 upper end and the bearing frame 4, the lower tip that connecting bolt 5 was kept away from to branch 6 can match with recess 2 is inside, equal fixed mounting has the first magnet 12 of mutual actuation between 6 tip lateral surfaces of branch and the recess 2 inner wall surface, when this tripod does not use, through upwards rotatory branch 6, make the lower extreme of branch 6 rotatory to in the recess 2, and fix in recess 2 through the actuation of first magnet 12, and the space is saved, it is convenient to accomodate.
The middle part of the lower end surface of the bearing seat 4 is fixedly provided with a mounting block 7, the lower end of the mounting block 7 is internally provided with an inner spherical groove 9, the inner groove 9 is rotatably provided with a linkage shaft 10, the inner wall surface of the mounting block 7 is also provided with an outer groove 8, the outer groove 8 is positioned at the outer side of the inner groove 9 and communicated with the inner groove, the end part of the linkage shaft 10 is rotatably provided with a limiting rod 11, the number of the connecting bolt 5, the number of the supporting rod 6 and the limiting rod 11 are three, the limiting rod 11 can rotate in the outer groove 8, mutually attracted second magnets 15 are fixedly arranged between the end part of the limiting rod 11 far away from the mounting block 7 and the surface of the supporting rod 6, the limiting rod 11 can rotate around the linkage shaft 10, so as to adjust the angle between the limiting rods 11, when the supporting rod 6 rotates downwards, the limiting rod 11 is mutually attracted and fixed with the supporting rod 6 through the second magnets 15, so as to limit the opening angle of the supporting rod 6, then fasten the upper end of branch 6 through connecting bolt 5, can guarantee like this that the open angle of branch 6 is unanimous, improve the precision.
Example 2
Referring to fig. 1-2, as another preferred embodiment of the present invention, on the basis of embodiment 1, the inside of the lower end of the strut 6 is provided with a cushion pad 13, and the inside of the cushion pad 13 is made of rubber structure, when the strut 6 rotates downwards for supporting, the cushion pad 13 can be used for replacing the strut 6 to contact with the ground, so that the friction between the bottom of the strut 6 and the ground surface is increased, and the stability of the tripod with the ground when the tripod is supported and fixed is further improved.
The above description is only for the preferred embodiment of the present invention, but the scope of the present invention is not limited thereto, and any person skilled in the art should be considered to be within the technical scope of the present invention, and equivalent alternatives or modifications according to the technical solution of the present invention and the inventive concept thereof should be covered by the scope of the present invention.

Claims (5)

1.一种地理测绘专用液压伸缩三脚架,包括放置板(1),其特征在于,所述放置板(1)上端外侧固定安装有一体结构的安装耳(14),所述安装耳(14)内部开设有螺孔,所述放置板(1)下端面开设有凹槽(2),所述放置板(1)下端面固定安装有液压油缸(3),所述液压油缸(3)控制输出下端固定安装有轴承座(4),所述轴承座(4)外侧螺纹连接有连接螺栓(5),所述连接螺栓(5)端部转动设有支杆(6),所述支杆(6)远离所述连接螺栓(5)的下端部可与所述凹槽(2)内部相配合,所述轴承座(4)下端面中部固定安装有安装块(7),所述安装块(7)下端内部开设有内槽(9),所述内槽(9)转动安装有联动轴(10),所述安装块(7)内壁表面还开设有外槽(8),所述外槽(8)位于所述内槽(9)外侧并与之相连通,所述联动轴(10)端部转动安装有限位杆(11),所述限位杆(11)可于所述外槽(8)内转动。1. A special hydraulic telescopic tripod for geographic surveying and mapping, comprising a placing plate (1), characterized in that an integrated structure mounting ear (14) is fixedly installed on the outer side of the upper end of the placing plate (1), and the mounting ear (14) A screw hole is formed inside, a groove (2) is formed on the lower end surface of the placing plate (1), a hydraulic cylinder (3) is fixedly installed on the lower end surface of the placing plate (1), and the hydraulic cylinder (3) controls the output A bearing seat (4) is fixedly installed at the lower end, a connecting bolt (5) is threadedly connected to the outer side of the bearing seat (4), and a support rod (6) is rotated at the end of the connecting bolt (5), and the support rod ( 6) The lower end part away from the connecting bolt (5) can be matched with the inside of the groove (2), the middle part of the lower end surface of the bearing seat (4) is fixedly installed with a mounting block (7), and the mounting block ( 7) An inner groove (9) is provided inside the lower end, the inner groove (9) is rotatably installed with a linkage shaft (10), and an outer groove (8) is also opened on the inner wall surface of the mounting block (7). (8) Located outside the inner groove (9) and communicated with it, a limit rod (11) is rotatably installed at the end of the linkage shaft (10), and the limit rod (11) can be installed in the outer groove (8) Internal rotation. 2.根据权利要求1所述的一种地理测绘专用液压伸缩三脚架,其特征在于,连接螺栓(5)、支杆(6)以及限位杆(11)的数目均设有三个。2 . A special hydraulic telescopic tripod for geographic surveying and mapping according to claim 1 , wherein the number of connecting bolts ( 5 ), support rods ( 6 ) and limit rods ( 11 ) is three. 3 . 3.根据权利要求1所述的一种地理测绘专用液压伸缩三脚架,其特征在于,所述支杆(6)端部外侧面与所述凹槽(2)内壁表面之间均固定安装有相互吸合的第一磁铁(12)。3. A special hydraulic telescopic tripod for geographic surveying and mapping according to claim 1, characterized in that, the outer side surface of the end of the support rod (6) and the inner wall surface of the groove (2) are fixedly installed with mutual The attracted first magnet (12). 4.根据权利要求1所述的一种地理测绘专用液压伸缩三脚架,其特征在于,所述限位杆(11)远离所述安装块(7)的端部与所述支杆(6)表面之间均固定安装有相互吸合的第二磁铁(15)。4. A special hydraulic telescopic tripod for geographic surveying and mapping according to claim 1, characterized in that the limit rod (11) is away from the end of the mounting block (7) and the surface of the support rod (6) The second magnets (15) that attract each other are fixedly installed therebetween. 5.根据权利要求1所述的一种地理测绘专用液压伸缩三脚架,其特征在于,所述支杆(6)下端内侧缓冲垫(13),所述缓冲垫(13)内部由橡胶结构制成。5. A special hydraulic telescopic tripod for geographic surveying and mapping according to claim 1, characterized in that, the inner cushion (13) at the lower end of the support rod (6) is made of a rubber structure inside. .
CN202023191930.XU 2020-12-27 2020-12-27 Special hydraulic telescopic tripod for geographic mapping Expired - Fee Related CN215371882U (en)

Priority Applications (1)

Application Number Priority Date Filing Date Title
CN202023191930.XU CN215371882U (en) 2020-12-27 2020-12-27 Special hydraulic telescopic tripod for geographic mapping

Applications Claiming Priority (1)

Application Number Priority Date Filing Date Title
CN202023191930.XU CN215371882U (en) 2020-12-27 2020-12-27 Special hydraulic telescopic tripod for geographic mapping

Publications (1)

Publication Number Publication Date
CN215371882U true CN215371882U (en) 2021-12-31

Family

ID=79600573

Family Applications (1)

Application Number Title Priority Date Filing Date
CN202023191930.XU Expired - Fee Related CN215371882U (en) 2020-12-27 2020-12-27 Special hydraulic telescopic tripod for geographic mapping

Country Status (1)

Country Link
CN (1) CN215371882U (en)

Cited By (2)

* Cited by examiner, † Cited by third party
Publication number Priority date Publication date Assignee Title
CN115727244A (en) * 2022-11-07 2023-03-03 山西省交通规划勘察设计院有限公司 Angle measuring instrument for bridge engineering detection
CN120538484A (en) * 2025-06-03 2025-08-26 云南万城空间地理信息有限公司 A surveying pole for topographic surveying of municipal engineering projects

Cited By (2)

* Cited by examiner, † Cited by third party
Publication number Priority date Publication date Assignee Title
CN115727244A (en) * 2022-11-07 2023-03-03 山西省交通规划勘察设计院有限公司 Angle measuring instrument for bridge engineering detection
CN120538484A (en) * 2025-06-03 2025-08-26 云南万城空间地理信息有限公司 A surveying pole for topographic surveying of municipal engineering projects

Similar Documents

Publication Publication Date Title
CN215371882U (en) Special hydraulic telescopic tripod for geographic mapping
CN210123077U (en) Supporting mechanism for geographic information measuring instrument
CN210531951U (en) A bracket for easy adjustment of geological mapping instrument
CN215445809U (en) Deep basal pit side slope monitoring supporting construction
CN215573112U (en) Hydrology and environmental quantity monitoring facilities of easy equipment
CN209727112U (en) A topographic surveying and mapping auxiliary equipment for municipal engineering construction
CN209841012U (en) A demonstration teaching aid for engineering survey and drawing
CN216408435U (en) Portable hydrology water resource surveys device
CN214306289U (en) Lifting instrument for geographic surveying and mapping
CN214467382U (en) A comprehensive efficiency improvement equipment for natural resource field surveying and mapping
CN214890015U (en) Surveying and mapping drawing device for urban and rural planning
CN216243276U (en) Surveying and mapping platform adjusting device with sun-shading structure
CN210291262U (en) Building survey and drawing is with portable rotary type tripod
CN214222541U (en) A total station support structure for engineering surveying and mapping
CN220379306U (en) Geographic information mapping equipment
CN212103902U (en) A kind of slope protection structure for water conservancy and hydropower engineering
CN220980921U (en) Geographic information gathers surveying instrument
CN223036072U (en) A surveying and mapping auxiliary equipment
CN221324015U (en) Land survey and drawing auxiliary device
CN222209818U (en) Survey and drawing auxiliary assembly
CN212030529U (en) A two-way telescopic portable rangefinder for civil engineering
CN219976002U (en) Remote sensing mapping device with anti-shake structure
CN221059930U (en) Multifunctional mapping platform for mapping and drawing
CN211976326U (en) Range unit is used in civil mapping
CN218266182U (en) A foundation structure with good stability for wind power civil engineering

Legal Events

Date Code Title Description
GR01 Patent grant
GR01 Patent grant
CF01 Termination of patent right due to non-payment of annual fee
CF01 Termination of patent right due to non-payment of annual fee

Granted publication date: 20211231