CN215321247U - Antibacterial polyester fabric sandwiched with waterproof layer - Google Patents

Antibacterial polyester fabric sandwiched with waterproof layer Download PDF

Info

Publication number
CN215321247U
CN215321247U CN202120742764.3U CN202120742764U CN215321247U CN 215321247 U CN215321247 U CN 215321247U CN 202120742764 U CN202120742764 U CN 202120742764U CN 215321247 U CN215321247 U CN 215321247U
Authority
CN
China
Prior art keywords
layer
fixedly connected
elastic
waterproof layer
polyester fabric
Prior art date
Legal status (The legal status is an assumption and is not a legal conclusion. Google has not performed a legal analysis and makes no representation as to the accuracy of the status listed.)
Expired - Fee Related
Application number
CN202120742764.3U
Other languages
Chinese (zh)
Inventor
杨丽英
周佳
Current Assignee (The listed assignees may be inaccurate. Google has not performed a legal analysis and makes no representation or warranty as to the accuracy of the list.)
Wujiang Shuangying Chemical Fiber Weaving Industry Co ltd
Original Assignee
Wujiang Shuangying Chemical Fiber Weaving Industry Co ltd
Priority date (The priority date is an assumption and is not a legal conclusion. Google has not performed a legal analysis and makes no representation as to the accuracy of the date listed.)
Filing date
Publication date
Application filed by Wujiang Shuangying Chemical Fiber Weaving Industry Co ltd filed Critical Wujiang Shuangying Chemical Fiber Weaving Industry Co ltd
Priority to CN202120742764.3U priority Critical patent/CN215321247U/en
Application granted granted Critical
Publication of CN215321247U publication Critical patent/CN215321247U/en
Expired - Fee Related legal-status Critical Current
Anticipated expiration legal-status Critical

Links

Images

Landscapes

  • Laminated Bodies (AREA)

Abstract

本实用新型公开了夹设防水层的抗菌涤纶布,包括涤纶布本体的上方设置有防水层,防水层的内部等距设置有多个弹性垫,相邻两个弹性垫之间固定连接有弹性连接块,弹性垫开设有球型槽,球型槽的内腔嵌设有弹性球,涤纶布本体的顶端固定连接有抗菌层,抗菌层与防水层的底端固定连接,防水层固定连接有透气层,透气层等距开设有多个透气孔,透气层固定连接有防紫外线层,防紫外线层的顶端固定连接有抗皱层。本实用新型通过利用防水层、弹性垫、弹性连接块和弹性球的相互配合,防水层有利于对涤纶布本体进行防水,弹性垫和弹性连接块均为聚酰胺材质,有利于对涤纶布本体进行防水,同时有利于增加涤纶布本体的弹性和回弹力。

Figure 202120742764

The utility model discloses an antibacterial polyester cloth sandwiched with a waterproof layer, which comprises a waterproof layer arranged above a polyester cloth body, a plurality of elastic pads arranged at equal distances inside the waterproof layer, and elastic pads are fixedly connected between two adjacent elastic pads. The connecting block, the elastic pad is provided with a ball-shaped groove, the inner cavity of the ball-shaped groove is embedded with elastic balls, the top of the polyester cloth body is fixedly connected with an antibacterial layer, the antibacterial layer is fixedly connected with the bottom end of the waterproof layer, and the waterproof layer is fixedly connected with a The breathable layer is provided with a plurality of ventilation holes at equal intervals, the breathable layer is fixedly connected with an anti-ultraviolet layer, and the top of the anti-ultraviolet layer is fixedly connected with an anti-wrinkle layer. The utility model utilizes the mutual cooperation of the waterproof layer, the elastic pad, the elastic connecting block and the elastic ball. The waterproof layer is beneficial to waterproof the polyester cloth body. It is waterproof, and at the same time, it is beneficial to increase the elasticity and resilience of the polyester fabric body.

Figure 202120742764

Description

Antibacterial polyester fabric sandwiched with waterproof layer
Technical Field
The utility model relates to the field of polyester fabrics, in particular to antibacterial polyester fabric sandwiched with a waterproof layer.
Background
The terylene fabric is a very large chemical fiber clothing fabric used in daily life, has the greatest advantage of good crease resistance and shape retention, is suitable for being used as outdoor articles such as coat clothing, various bags and tents, has wide application range and is widely used for manufacturing clothing and industrial products in large quantity, the flame-retardant terylene has permanent flame retardance, has wide application range, plays a plurality of roles in the field of protective clothing besides the functions of non-substitutability such as industrial textiles, interior decoration of buildings, interior decoration of transportation tools and the like, and is used by departments of metallurgy, forestry, chemical engineering, petroleum, fire fighting and the like according to the national standard of the flame-retardant protective clothing.
The terylene cloth has wide application range, can be used for manufacturing coat clothes and has good wrinkle resistance, but has poor waterproofness, and if rain falls, rainwater contacts with the terylene cloth, so that the terylene cloth can invade into the terylene cloth and contact with a human body, and the terylene cloth can cause the human body to be wetted by the rainwater, is easy to cause diseases and has certain limitation.
SUMMERY OF THE UTILITY MODEL
The utility model aims to provide antibacterial polyester fabric sandwiched with a waterproof layer so as to solve the problems in the background technology.
In order to achieve the purpose, the utility model provides the following technical scheme: the antibacterial polyester fabric with the waterproof layer clamped comprises a waterproof layer arranged above a polyester fabric body, a plurality of elastic pads are arranged inside the waterproof layer at equal intervals, every two elastic pads are fixedly connected with an elastic connecting block, a spherical groove is formed in the top of each elastic pad, and an elastic ball is embedded in an inner cavity of the spherical groove.
Preferably, the antibacterial layer is fixedly connected to the top end of the polyester fabric body, and the top end of the antibacterial layer is fixedly connected to the bottom end of the waterproof layer.
Preferably, the top end of the waterproof layer is fixedly connected with a breathable layer, and a plurality of air holes are formed in the top of the breathable layer at equal intervals.
Preferably, the top end of the breathable layer is fixedly connected with an ultraviolet-proof layer, and the top end of the ultraviolet-proof layer is fixedly connected with an anti-wrinkle layer.
Preferably, the bottom end of the polyester fabric body is fixedly connected with an elastic layer, and the bottom end of the elastic layer is fixedly connected with a heat preservation layer.
Preferably, the bottom end of the heat preservation layer is fixedly connected with a skin softening layer, and the skin softening layer is made of skin-friendly velvet.
The utility model has the technical effects and advantages that:
(1) according to the waterproof terylene fabric, the waterproof layer is beneficial to waterproofing the terylene fabric body by utilizing the mutual matching of the waterproof layer, the elastic pad, the elastic connecting block and the elastic ball, and the elastic pad and the elastic connecting block are made of polyamide materials, so that the waterproof terylene fabric body is beneficial to waterproofing, and meanwhile, the elasticity and resilience of the terylene fabric body are beneficial to increasing;
(2) according to the utility model, through the mutual cooperation of the breathable layer, the ultraviolet-proof layer, the anti-wrinkle layer, the elastic layer, the heat-insulating layer and the skin softening layer, the breathable layer is beneficial to breathability of the polyester fabric body and is also convenient for breathability and dehumidification of the waterproof layer, the ultraviolet-proof layer is beneficial to ultraviolet resistance, the anti-wrinkle layer is beneficial to keeping the polyester fabric body flat, the heat-insulating layer is beneficial to heat insulation of the polyester fabric body, and the skin softening layer is beneficial to increasing the comfort level of the polyester fabric body.
Drawings
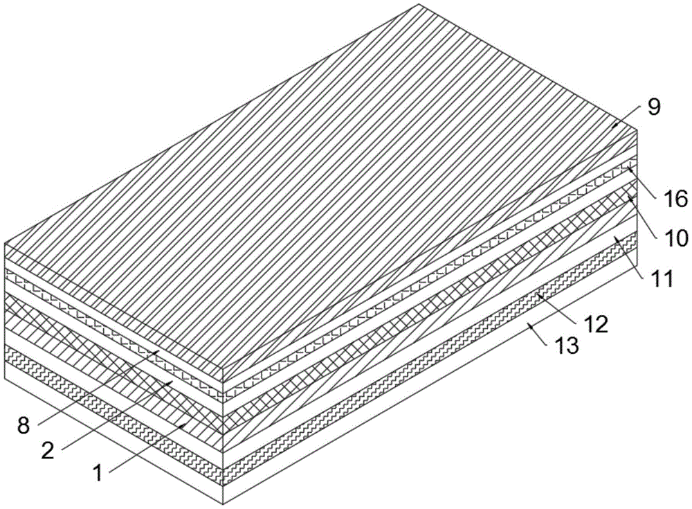
Fig. 1 is a schematic view of the overall structure of the present invention.
FIG. 2 is a front sectional structural view of the present invention.
FIG. 3 is a schematic view of the top view of the elastic pad of the present invention.
Fig. 4 is a schematic view of a plane structure of the breathable layer of the present invention.
In the figure: 1. a polyester fabric body; 2. a waterproof layer; 3. an elastic pad; 4. an elastic connecting block; 5. an elastic ball; 6. a breathable layer; 7. air holes are formed; 8. an ultraviolet-proof layer; 9. an anti-wrinkle layer; 10. an antimicrobial layer; 11. an elastic layer; 12. a heat-insulating layer; 13. a skin smoothing layer.
Detailed Description
The technical solutions in the embodiments of the present invention will be clearly and completely described below with reference to the drawings in the embodiments of the present invention, and it is obvious that the described embodiments are only a part of the embodiments of the present invention, and not all of the embodiments. All other embodiments, which can be derived by a person skilled in the art from the embodiments given herein without making any creative effort, shall fall within the protection scope of the present invention.
The utility model provides antibacterial polyester fabric sandwiched with a waterproof layer as shown in figures 1-4, which comprises a polyester fabric body 1, wherein a waterproof layer 2 is arranged above the polyester fabric body 1, the waterproof layer 2 is favorable for waterproofing the polyester fabric body 1 so as to avoid rainwater penetration and protect human bodies, the waterproof layer 2 is made of microfiber thermal insulation cotton, the microfiber thermal insulation cotton is a new generation thermal insulation cotton developed by using the modern microfiber technology, the microfiber thermal insulation cotton has the characteristic of high strength and moisture resistance so as to be convenient for waterproofing the polyester fabric body 1, meanwhile, the microfiber thermal insulation cotton can well insulate the polyester fabric body 1, a plurality of elastic pads 3 are equidistantly arranged inside the waterproof layer 2, the elastic pads 3 and the elastic connecting blocks 4 are both made of Dry-Tec waterproof cloth, and the Dry-Tec waterproof cloth is provided with an extremely tough film, thereby be convenient for keep out water pressure, possess great micropore simultaneously, be convenient for breathe freely, thereby be convenient for carry on waterproofly to woven dacron body 1, cushion 3 is favorable to increasing woven dacron body 1's toughness and elasticity simultaneously, fixed connection flexible connecting block 4 between two adjacent cushions 3, flexible connecting block 4 is favorable to increasing woven dacron body 1's resilience, thereby be convenient for reduce woven dacron body 1's fold, spherical groove has been seted up at the top of cushion 3, the inner chamber in spherical groove is inlayed and is equipped with elastic ball 5, elastic ball 5 is the sponge material, the sponge is favorable to adsorbing the rainwater, thereby be convenient for shelter from the rainwater, the internal leakage of rainwater has been avoided, thereby be convenient for carry on waterproofly to woven dacron body 1.
The antibacterial layer 10 is fixedly connected to the top end of the terylene fabric body 1, the antibacterial layer 10 is beneficial to antibacterial the terylene fabric body 1, so that bacteria can be conveniently intercepted outside the terylene fabric body 1, and a human body can be conveniently protected from being invaded by the bacteria, the antibacterial layer 10 is made of bamboo fibers, the bamboo fibers are fibers taking bamboo as a raw material, the bamboo fibers have the functions of wear resistance, moisture absorption and quick drying, and antibacterial and mite removing, so that the antibacterial performance on the terylene fabric body 1 is facilitated, and the top end of the antibacterial layer 10 is fixedly connected with the bottom end of the waterproof layer 2.
Waterproof layer 2's top fixedly connected with ventilative layer 6, ventilative layer 6 is favorable to breathing freely polyester fabric body 1 to be convenient for the adsorbed rainwater of elastic ball 5 to remove fast and dry, thereby be convenient for carry out waterproof to polyester fabric body 1, the material of ventilative layer 6 is CoolMax fibre, and CoolMax fibre has good gas permeability, is convenient for carry out the quick conduction of moisture, and a plurality of bleeder vents 7 have been seted up to the top equidistance of ventilative layer 6.
Ventilative layer 6's top fixedly connected with prevents ultraviolet layer 8, prevent ultraviolet layer 8 and be favorable to carrying out anti-ultraviolet to dacron body 1, thereby be convenient for protect the human body, prevent that ultraviolet layer 8's material spins for washing the silk, can shelter from the ultraviolet ray, certain waterproof nature has simultaneously, prevent ultraviolet layer 8's top fixedly connected with crease-resistant layer 9, crease-resistant layer 9 is crease-resistant non-ironing face fabric, has good lasting shrink-proof ability, be convenient for increase dacron body 1's resilience.
The bottom end of the terylene fabric body 1 is fixedly connected with the elastic layer 11, the elastic layer 11 is beneficial to increasing the elasticity of the terylene fabric body 1, the elastic layer 11 is made of twill elastic fabric, is rich in elasticity and is beneficial to increasing the suspension feeling of the terylene fabric body 1, the bottom end of the elastic layer 11 is fixedly connected with the heat preservation layer 12, and the heat preservation layer 12 is made of cotton, so that the heat preservation of the terylene fabric body 1 is facilitated.
The bottom end of the heat preservation layer 12 is fixedly connected with the skin softening layer 13, the skin softening layer 13 is beneficial to increasing the smoothness of the polyester fabric body 1, so that a human body is more comfortable, the skin softening layer 13 is made of skin-friendly velvet, the skin-friendly velvet can well protect the human body, and meanwhile, the smoothness of the polyester fabric body 1 is convenient to increase.
The working principle of the utility model is as follows:
when the terylene cloth body 1 is invaded by rainwater, the waterproof layer 2 blocks the rainwater, if a small amount of rainwater permeates, the elastic ball 5 absorbs the rainwater, then the elastic ball 5 is dried by the breathable layer 6 and the breathable holes 7, the elastic cushion 3 is favorable for improving the toughness and elasticity of the terylene cloth body 1, the elastic connecting block 4 is favorable for improving the resilience of the terylene cloth body 1 so as to reduce the wrinkles of the terylene cloth body 1, the antibacterial layer 10 is made of bamboo fibers, the bamboo fibers are fibers taking bamboos as raw materials, and have the functions of wear resistance, moisture absorption, quick drying, bacteria resistance and mite removal so as to be convenient for resisting bacteria to the terylene cloth body 1, the breathable layer 6 is made of CoolMax fibers which have good breathability and are convenient for quickly conducting moisture, and the ultraviolet-proof layer 8 is made of terylene cloth and can shield ultraviolet rays, meanwhile, the terylene fabric has certain waterproofness, the anti-wrinkle layer 9 is anti-wrinkle non-ironing fabric, and has excellent and lasting anti-shrinkage performance, the terylene fabric body 1 is convenient to increase in resilience, the elastic layer 11 is made of twill elastic fabric and is rich in elasticity, meanwhile, the terylene fabric body 1 is beneficial to increase in draping feeling, the heat insulation layer 12 is made of cotton and is beneficial to heat insulation of the terylene fabric body 1, the skin softening layer 13 is made of skin-friendly velvet, the skin-friendly velvet can well protect a human body, and meanwhile, the smoothness of the terylene fabric body 1 is convenient to increase.
Finally, it should be noted that: although the present invention has been described in detail with reference to the foregoing embodiments, it will be apparent to those skilled in the art that modifications may be made to the embodiments or portions thereof without departing from the spirit and scope of the utility model.

Claims (6)

1. The antibacterial polyester fabric with the waterproof layer in the clamped mode comprises a polyester fabric body (1) and is characterized in that the waterproof layer (2) is arranged above the polyester fabric body (1), a plurality of elastic pads (3) are arranged inside the waterproof layer (2) at equal intervals, an elastic connecting block (4) is fixedly connected between every two adjacent elastic pads (3), a spherical groove is formed in the top of each elastic pad (3), and an elastic ball (5) is embedded in an inner cavity of each spherical groove.
2. The antibacterial polyester fabric sandwiched with a waterproof layer according to claim 1, wherein an antibacterial layer (10) is fixedly connected to the top end of the polyester fabric body (1), and the top end of the antibacterial layer (10) is fixedly connected to the bottom end of the waterproof layer (2).
3. The antibacterial polyester fabric with a waterproof layer interposed according to claim 1, wherein a breathable layer (6) is fixedly connected to the top end of the waterproof layer (2), and a plurality of breathable holes (7) are formed in the top of the breathable layer (6) at equal intervals.
4. The antibacterial polyester fabric provided with a waterproof layer in a sandwiched mode according to claim 3, wherein an ultraviolet-proof layer (8) is fixedly connected to the top end of the breathable layer (6), and an anti-wrinkle layer (9) is fixedly connected to the top end of the ultraviolet-proof layer (8).
5. The antibacterial polyester fabric provided with a waterproof layer according to claim 1, wherein an elastic layer (11) is fixedly connected to the bottom end of the polyester fabric body (1), and an insulating layer (12) is fixedly connected to the bottom end of the elastic layer (11).
6. The antibacterial polyester fabric sandwiched with the waterproof layer according to claim 5, wherein a skin softening layer (13) is fixedly connected to the bottom end of the insulating layer (12), and the skin softening layer (13) is made of skin-friendly velvet.
CN202120742764.3U 2021-04-13 2021-04-13 Antibacterial polyester fabric sandwiched with waterproof layer Expired - Fee Related CN215321247U (en)

Priority Applications (1)

Application Number Priority Date Filing Date Title
CN202120742764.3U CN215321247U (en) 2021-04-13 2021-04-13 Antibacterial polyester fabric sandwiched with waterproof layer

Applications Claiming Priority (1)

Application Number Priority Date Filing Date Title
CN202120742764.3U CN215321247U (en) 2021-04-13 2021-04-13 Antibacterial polyester fabric sandwiched with waterproof layer

Publications (1)

Publication Number Publication Date
CN215321247U true CN215321247U (en) 2021-12-28

Family

ID=79593536

Family Applications (1)

Application Number Title Priority Date Filing Date
CN202120742764.3U Expired - Fee Related CN215321247U (en) 2021-04-13 2021-04-13 Antibacterial polyester fabric sandwiched with waterproof layer

Country Status (1)

Country Link
CN (1) CN215321247U (en)

Cited By (1)

* Cited by examiner, † Cited by third party
Publication number Priority date Publication date Assignee Title
CN115648782A (en) * 2022-10-31 2023-01-31 浙江锦强针纺科技有限公司 An antibacterial knitted fabric

Cited By (1)

* Cited by examiner, † Cited by third party
Publication number Priority date Publication date Assignee Title
CN115648782A (en) * 2022-10-31 2023-01-31 浙江锦强针纺科技有限公司 An antibacterial knitted fabric

Similar Documents

Publication Publication Date Title
CN104015414A (en) Aerogel composite fabric utilizing aqueous adhesive and preparation method thereof
CN104290380B (en) The numb cotton compound lifesaving thermal fabric of the multi-functional Chinese
CN215321247U (en) Antibacterial polyester fabric sandwiched with waterproof layer
CN211861916U (en) Aerogel warm-keeping gloves
CN210257483U (en) Garment fabric with antibacterial effect
CN220482788U (en) Novel sun-proof clothing fabric
CN215321176U (en) High-permeability nylon cloth interlayer structure
CN218457345U (en) Oil-proof, antifouling and waterproof foundation coat
CN218615759U (en) Easy-to-clean clothing fabrics
CN203945740U (en) A kind of protective fabric
CN211942391U (en) Moisture-absorbing and breathable tatted polyester fabric
CN105619897A (en) Antistatic waterproof warming fabric with good usage performance
JP2016030875A (en) Garment
CN212827216U (en) Warm-keeping breathable fabric
CN211968646U (en) Cold breathable moisture-absorbing sweat-conducting polyester fabric
CN209409494U (en) A kind of composite material of environment-friendly type
CN202311340U (en) Waterproof moisture and air permeable terry cloth composite fabric
CN206884305U (en) A kind of waterproof thermal-insulated cloth
CN220262279U (en) Antibacterial moisture-permeable polyester fiber composite fabric
CN222538449U (en) Waterproof and flame-retardant polyester fabric
CN222333415U (en) Antibacterial and mildew-proof tent fabric
CN2409047Y (en) Water-proof wind-proof poromeric moisture permeable chemical fibre fabric composite shell fabric
CN219719806U (en) An anti-static and stain-resistant jumpsuit
CN215473665U (en) Hydrophobic oil-separating oxford
CN114775139B (en) Dampproofing towel blanket

Legal Events

Date Code Title Description
GR01 Patent grant
GR01 Patent grant
CF01 Termination of patent right due to non-payment of annual fee
CF01 Termination of patent right due to non-payment of annual fee

Granted publication date: 20211228