CN215307981U - Recovered device of taking exercise of neural patient - Google Patents

Recovered device of taking exercise of neural patient Download PDF

Info

Publication number
CN215307981U
CN215307981U CN202121212040.4U CN202121212040U CN215307981U CN 215307981 U CN215307981 U CN 215307981U CN 202121212040 U CN202121212040 U CN 202121212040U CN 215307981 U CN215307981 U CN 215307981U
Authority
CN
China
Prior art keywords
chair
plate
patient
exercise device
rack
Prior art date
Legal status (The legal status is an assumption and is not a legal conclusion. Google has not performed a legal analysis and makes no representation as to the accuracy of the status listed.)
Expired - Fee Related
Application number
CN202121212040.4U
Other languages
Chinese (zh)
Inventor
刘莹
Current Assignee (The listed assignees may be inaccurate. Google has not performed a legal analysis and makes no representation or warranty as to the accuracy of the list.)
Zhengzhou Central Hospital
Original Assignee
Zhengzhou Central Hospital
Priority date (The priority date is an assumption and is not a legal conclusion. Google has not performed a legal analysis and makes no representation as to the accuracy of the date listed.)
Filing date
Publication date
Application filed by Zhengzhou Central Hospital filed Critical Zhengzhou Central Hospital
Priority to CN202121212040.4U priority Critical patent/CN215307981U/en
Application granted granted Critical
Publication of CN215307981U publication Critical patent/CN215307981U/en
Expired - Fee Related legal-status Critical Current
Anticipated expiration legal-status Critical

Links

Images

Landscapes

  • Rehabilitation Tools (AREA)

Abstract

一种神经患者康复锻炼装置,有效的解决了现有的锻炼装置无法对患者协调能力进行锻炼的问题;包括上下方向的椅子,椅子上左右两侧分别设有开口向后的放置盒,放置盒内滑动连接有后端伸入椅子内部的齿条,齿条后端设有上下方向且L形的推动板,推动板与椅子滑动连接,推动板前端铰接有卡块,椅子前端左右两侧分别铰接有上下方向的支撑板,支撑板与卡块滑动连接,椅子内设有左右方向且可前后摆动的连接板,连接板前端左右两侧分别与其对应侧的推动板接触,两个放置盒的相背端分别转动连接有驱动板,驱动板上设有与其对应侧齿条啮合的齿轮;患者在自主进行锻炼时,利用上肢的前后摆动,同步的对患者下肢进行前后摆动,对上下肢的协调性进行锻炼。

Figure 202121212040

A rehabilitation exercise device for neurological patients effectively solves the problem that the existing exercise device cannot exercise the patient's coordination ability; it includes a chair in an up-down direction, and a placement box with an opening backward on the left and right sides of the chair is respectively provided, and the placement box The inner sliding connection has a rack whose rear end extends into the interior of the chair. The rear end of the rack is provided with an up-down direction and an L-shaped push plate. The push plate is slidably connected to the chair. The front end of the push plate is hinged with a clamping block. The supporting plate is hinged up and down, and the supporting plate is slidably connected with the clamping block. The chair is provided with a connecting plate that can swing forward and left in the left and right directions. The opposite ends are respectively connected with a drive plate, and the drive plate is provided with a gear that meshes with its corresponding side rack; when the patient is exercising autonomously, the patient uses the back and forth swing of the upper limb to synchronously swing the patient's lower limb back and forth, and the upper and lower limbs are synchronously swing. Exercise for coordination.

Figure 202121212040

Description

Recovered device of taking exercise of neural patient
Technical Field
The utility model relates to the technical field of medical instruments for neurology, in particular to a rehabilitation exercise device for neurology patients.
Background
After the patient's of department of neurology patient's operation, in order to make patient's limbs resume to normal condition, medical staff need carry out the recovered exercise of low limbs to the patient, in order to can improve the enthusiasm of patient itself, make the state that the perception low limbs that the patient can be accurate resume, consequently current exercise device generally is the patient independently carries out the low limbs and tempers, but current exercise device can only be simple take exercise to patient's low limbs, can't be when taking exercise patient's low limbs, carry out synchronous exercise to the coordination ability of patient's upper and lower limbs.
SUMMERY OF THE UTILITY MODEL
In view of the above situation, in order to overcome the defects of the prior art, the present invention aims to provide a rehabilitation exercise device for a neurological patient, which effectively solves the problem that the existing exercise device cannot exercise the coordination ability of the patient.
The technical scheme includes that the chair comprises a chair in the vertical direction, wherein the left side and the right side of the chair are respectively provided with a placing box with a backward opening, a rack with the rear end extending into the chair is connected in the placing box in a sliding mode, the rear end of the rack is provided with an L-shaped pushing plate in the vertical direction, the pushing plate is connected with the chair in a sliding mode, the front end of the pushing plate is hinged with a clamping block, the left side and the right side of the front end of the chair are respectively hinged with a supporting plate in the vertical direction, the supporting plate is connected with the clamping block in a sliding mode, a connecting plate capable of swinging in the horizontal direction and the front and back is arranged in the chair, the left side and the right side of the front end of the connecting plate are respectively contacted with the pushing plate on the corresponding side, opposite ends of the two placing boxes are respectively connected with a driving plate in a rotating mode, and gears meshed with the racks on the corresponding sides of the driving plates are arranged on the driving plates.
The utility model has simple structure, convenient operation, novel conception and strong practicability, and synchronously swings the lower limbs of the patient back and forth by utilizing the back and forth swing of the upper limbs in the process of independently exercising the patient, thereby exercising the coordination of the upper limbs and the lower limbs while exercising the lower limbs.
Drawings
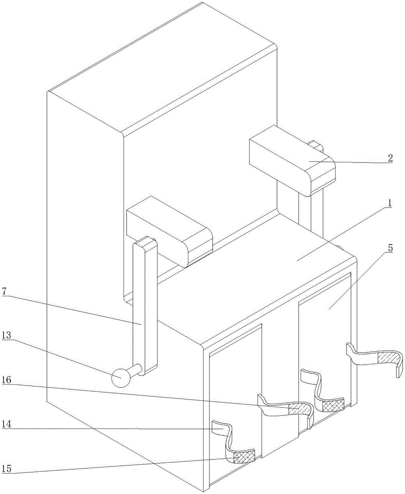
Fig. 1 is an isometric view of the present invention.
Fig. 2 is a cut-away left isometric view of the present invention.
Figure 3 is a cut-away front isometric view of the present invention.
Figure 4 is a cut-away isometric view of the present invention.
Detailed Description
The following describes embodiments of the present invention in further detail with reference to the accompanying drawings.
The chair comprises a chair 1 in the vertical direction, wherein the chair 1 is provided with a placing box 2 with a backward opening on the left side and the right side respectively, a rack 3 with the rear end extending into the chair 1 is arranged in the placing box 2 in a sliding connection mode, a pushing plate 4 which is in the vertical direction and L-shaped is arranged at the rear end of the rack 3, the pushing plate 4 is in sliding connection with the chair 1, a clamping block 11 is hinged to the front end of the pushing plate 4, a supporting plate 5 in the vertical direction is hinged to the left side and the right side of the front end of the chair 1 respectively, the supporting plate 5 is in sliding connection with the clamping block 11, a connecting plate 6 which can swing in the horizontal direction and in the front-back direction is arranged in the chair 1, the left side and the right side of the front end of the connecting plate 6 are in contact with the pushing plate 4 on the corresponding side respectively, two opposite ends of the placing box 2 are rotatably connected with a driving plate 7 respectively, and a gear 8 which is meshed with a rack 3 on the corresponding side of the driving plate 7 is arranged.
In order to facilitate the sliding of the pushing plate 4, the left side wall and the right side wall of the chair 1 are respectively provided with a sliding groove 9 in the front-back direction, and the pushing plate 4 is provided with a sliding block 10 inserted into the sliding groove 9.
In order to enable the connecting plate 6 to swing left and right, the middle part of the connecting plate 6 is hinged with the chair 1 through a rotating shaft, and the left side and the right side of the rear end of the connecting plate 6 are respectively connected with the chair 1 through springs 12 in the front-back axial direction.
For the convenience of patient use, the two drive plates 7 are respectively provided with auxiliary rods 13 at the opposite ends.
In order to fix the lower limbs of the patient, fixing belts 14 are respectively arranged at the left side and the right side of the supporting plate 5.
In order to fix the lower limbs of the patient conveniently, the outer surface of the fixing band 14 on the left side of the same supporting plate 5 is provided with a female magic tape 15, and the inner surface of the fixing band 14 on the right side of the same supporting plate 5 is provided with a male magic tape 16 which can be bonded with the female magic tape 15.
When the chair is used, a patient sits on the chair 1, and medical staff fixes the lower limbs of the patient by the fixing belt 14 by using the magic female tape 15 and the magic sub-tape 16;
a patient holds the auxiliary rod 13 by hand, the patient swings the left auxiliary rod 13 forwards, the auxiliary rod 13 drives the left drive plate 7 to swing forwards, in the process that the left drive plate 7 swings forwards, the left drive plate 7 drives the left gear 8 to rotate anticlockwise, the left rack 3 moves backwards under the action of the left gear 8, the left rack 3 drives the left push plate 4 to move backwards, the left push plate 4 presses the left end of the connecting plate 6, the left end of the connecting plate 6 swings backwards, the left spring 12 is compressed by force, and meanwhile, the right end of the connecting plate 6 swings forwards;
in the process that the pushing plate 4 on the left side moves backwards, the pushing plate 4 on the left side drives the clamping block 11 on the left side to move backwards, the clamping block 11 on the left side drives the supporting plate 5 on the left side to swing backwards, the supporting plate 5 on the left side drives the lower limb on the left side of a patient to swing backwards, the spring 12 on the right side is stressed and stretched while the right end of the connecting plate 6 swings forwards, the connecting plate 6 pushes the pushing plate 4 on the right side to move forwards, the pushing plate 4 on the right side synchronously drives the rack 3 on the right side to move forwards, the rack 3 on the right side drives the driving plate 7 on the right side to swing backwards through the gear 8, and the driving plate 7 drives the arm on the right side of the patient to swing backwards;
in the process of swinging the arm on the right side of the patient backwards, the pushing plate 4 drives the lower limb on the right side of the patient to swing forwards through the supporting plate 5, and the patient repeats the process, so that the swinging of the lower limb is driven through the swinging of the arm, and the purpose of simulating walking is achieved.
The utility model has simple structure, convenient operation, novel conception and strong practicability, and synchronously swings the lower limbs of the patient back and forth by utilizing the back and forth swing of the upper limbs in the process of independently exercising the patient, thereby exercising the coordination of the upper limbs and the lower limbs while exercising the lower limbs.

Claims (6)

1. A rehabilitation exercise device for a nerve patient comprises a chair (1) in the vertical direction, and is characterized in that the left side and the right side of the chair (1) are respectively provided with a placing box (2) with a backward opening, the placing box (2) is in sliding connection with a rack (3) with the rear end extending into the chair (1), the rear end of the rack (3) is provided with a push plate (4) which is in the vertical direction and L-shaped, the push plate (4) is in sliding connection with the chair (1), the front end of the push plate (4) is hinged with a clamping block (11), the left side and the right side of the front end of the chair (1) are respectively hinged with a supporting plate (5) in the vertical direction, the supporting plate (5) is in sliding connection with the clamping block (11), a connecting plate (6) which can swing in the horizontal direction and back and forth is arranged in the chair (1), the left side and the right side of the front end of the connecting plate (6) are respectively in contact with the push plate (4) on the corresponding side, the back of the two placing boxes (2) are respectively and rotatably connected with a driving plate (7), the driving plate (7) is provided with a gear (8) meshed with the corresponding side rack (3).
2. The rehabilitation exercise device for the neurological patient according to claim 1, wherein the left side wall and the right side wall of the chair (1) are respectively provided with a sliding groove (9) in the front-back direction, and the pushing plate (4) is provided with a sliding block (10) inserted into the sliding groove (9).
3. The rehabilitation and exercise device for the neurological patient according to claim 1, wherein the middle of the connecting plate (6) is hinged to the chair (1) through a rotating shaft, and the left side and the right side of the rear end of the connecting plate (6) are connected with the chair (1) through front and rear axial springs (12) respectively.
4. The rehabilitation and exercise device for the neurological patient according to claim 1, wherein the two driving plates (7) are provided with auxiliary rods (13) at the opposite ends.
5. The rehabilitation and exercise device for the neurological patient according to claim 1, wherein the left and right sides of the support plate (5) are respectively provided with a fixing belt (14).
6. The rehabilitation exercise device for the neurological patient according to claim 1, wherein a female magic tape (15) is arranged on the outer surface of the fixing band (14) on the left side of the same support plate (5), and a male magic tape (16) capable of being bonded with the female magic tape (15) is arranged on the inner surface of the fixing band (14) on the right side of the same support plate (5).
CN202121212040.4U 2021-05-29 2021-05-29 Recovered device of taking exercise of neural patient Expired - Fee Related CN215307981U (en)

Priority Applications (1)

Application Number Priority Date Filing Date Title
CN202121212040.4U CN215307981U (en) 2021-05-29 2021-05-29 Recovered device of taking exercise of neural patient

Applications Claiming Priority (1)

Application Number Priority Date Filing Date Title
CN202121212040.4U CN215307981U (en) 2021-05-29 2021-05-29 Recovered device of taking exercise of neural patient

Publications (1)

Publication Number Publication Date
CN215307981U true CN215307981U (en) 2021-12-28

Family

ID=79550074

Family Applications (1)

Application Number Title Priority Date Filing Date
CN202121212040.4U Expired - Fee Related CN215307981U (en) 2021-05-29 2021-05-29 Recovered device of taking exercise of neural patient

Country Status (1)

Country Link
CN (1) CN215307981U (en)

Similar Documents

Publication Publication Date Title
CN215307981U (en) Recovered device of taking exercise of neural patient
CN114904217A (en) A sports rehabilitation device for exercising upper and lower limbs
CN221617567U (en) Patient operation bed
CN113908013A (en) Limb rehabilitation device for patients with neurological diseases
CN115192328B (en) Serious disease monitoring and restraining device
CN215609148U (en) Department of neurology rehabilitation training device
CN215425875U (en) A mobile pediatric upper limb rehabilitation exercise device
CN117017700A (en) Leg rehabilitation care equipment
CN214563918U (en) Printing device of medical image diagnosis workstation
CN211460573U (en) Fixing device for pediatric clinic
CN113069312A (en) Device is tempered to severe patient's function
CN223232963U (en) Upper limb rehabilitation training robot with traction structure
CN210205269U (en) Cardiovascular and cerebrovascular nursing equipment
CN114159737A (en) Disconnect-type orthopedics shank rehabilitation frame
CN221786311U (en) Video electroencephalograph
CN112826673A (en) An electric wheelchair with rehabilitation training function
CN219895774U (en) Auxiliary fixing device
CN211131990U (en) Postoperative rehabilitation auxiliary training nursing device
CN211068946U (en) Upper limb coordination training device
CN213466369U (en) Children nursing fixing device
CN114272571B (en) Gravity is from service rehabilitation training upper limbs stretching device
CN213553082U (en) Old person nurses supplementary device of getting up
CN220442873U (en) Waist auxiliary rehabilitation device
CN213048000U (en) Knee joint nursing moving device for patient
CN219207915U (en) An automatic lower limb rehabilitation training device

Legal Events

Date Code Title Description
GR01 Patent grant
GR01 Patent grant
CF01 Termination of patent right due to non-payment of annual fee
CF01 Termination of patent right due to non-payment of annual fee

Granted publication date: 20211228