CN215198165U - A kind of flax seed screening equipment - Google Patents

A kind of flax seed screening equipment Download PDF

Info

Publication number
CN215198165U
CN215198165U CN202121464259.3U CN202121464259U CN215198165U CN 215198165 U CN215198165 U CN 215198165U CN 202121464259 U CN202121464259 U CN 202121464259U CN 215198165 U CN215198165 U CN 215198165U
Authority
CN
China
Prior art keywords
screening
box
filter screen
vibrating
fixedly connected
Prior art date
Legal status (The legal status is an assumption and is not a legal conclusion. Google has not performed a legal analysis and makes no representation as to the accuracy of the status listed.)
Expired - Fee Related
Application number
CN202121464259.3U
Other languages
Chinese (zh)
Inventor
赵丽春
杨宏伟
赵东波
Current Assignee (The listed assignees may be inaccurate. Google has not performed a legal analysis and makes no representation or warranty as to the accuracy of the list.)
Gansu Shengdi Agricultural Development Co ltd
Original Assignee
Gansu Shengdi Agricultural Development Co ltd
Priority date (The priority date is an assumption and is not a legal conclusion. Google has not performed a legal analysis and makes no representation as to the accuracy of the date listed.)
Filing date
Publication date
Application filed by Gansu Shengdi Agricultural Development Co ltd filed Critical Gansu Shengdi Agricultural Development Co ltd
Priority to CN202121464259.3U priority Critical patent/CN215198165U/en
Application granted granted Critical
Publication of CN215198165U publication Critical patent/CN215198165U/en
Expired - Fee Related legal-status Critical Current
Anticipated expiration legal-status Critical

Links

Images

Landscapes

  • Combined Means For Separation Of Solids (AREA)

Abstract

本实用新型公开了一种胡麻籽筛选设备,包括筛分箱,筛分箱表面的一侧从上到下依次连通有三个出料斗,其中两个出料斗的一侧且位于筛分箱的内腔分别卡接有第一筛分网和第二筛分网,筛分箱底端的中部安装有振动电机,筛分箱底端的四个边角均连接有振动机构,筛分箱的一边侧通过吸尘口连通有吸尘机构,吸尘机构包括第一过滤网、第二过滤网、安装架、吸风机、出风管、连通槽和吸尘箱,本实用新型一种胡麻籽筛选设备,通过筛分箱、第一筛分网、第二筛分网、振动机构、底板、振动弹簧、顶板、橡胶垫、振动电机、出料斗、吸尘机构、第一过滤网、第二过滤网、安装架、吸风机、出风管、维修门、连通槽、吸尘箱、进料斗和支撑腿的配合,提高筛分的效率。

Figure 202121464259

The utility model discloses a flax seed screening equipment, which comprises a screening box. One side of the surface of the screening box is sequentially connected with three discharge hoppers from top to bottom, wherein one side of the two discharge hoppers is located inside the screening box. The cavity is respectively clamped with a first screening net and a second screening net, a vibration motor is installed in the middle of the bottom end of the screening box, and a vibration mechanism is connected to the four corners of the bottom end of the screening box, and one side of the screening box is cleaned by vacuuming A dust suction mechanism is connected to the mouth, and the dust suction mechanism includes a first filter screen, a second filter screen, an installation frame, a suction fan, an air outlet pipe, a communication groove and a dust suction box. Box, first screen, second screen, vibration mechanism, bottom plate, vibration spring, top plate, rubber pad, vibration motor, discharge hopper, vacuum mechanism, first filter, second filter, mounting frame , The cooperation of suction fan, air outlet pipe, maintenance door, communication groove, vacuum box, feeding hopper and supporting legs can improve the efficiency of screening.

Figure 202121464259

Description

Flax seed screening installation
Technical Field
The utility model relates to a screening installation technical field specifically is a sesame seed screening installation.
Background
The oil flax is also called flax, and the flax has at least 1000 years of cultivation history in China; the fiber flax is introduced from Japan in 1907, and flax is cultivated in Europe and sub-temperate zone in China sea region of flax origin. The main components of flaxseeds are fat, protein and dietary fiber, other components also comprise mineral substances, the flaxseeds are mainly used as oil materials for producing and processing edible vegetable oil, and the flaxseeds are usually required to be screened in the process of producing and processing the flaxseeds as the oil materials, so that screening equipment is required.
The existing screening devices also create new requirements in the use process, one of which is: the existing screening equipment has poor screening effect, and fine dust in the material cannot be screened; the second step is as follows: the existing screening equipment can generate a large amount of dust in the screening process, and the existing equipment is not provided with a dust suction mechanism.
SUMMERY OF THE UTILITY MODEL
The utility model aims to provide a flax seed screening device, which solves the problems that the screening effect of the existing screening device proposed in the background art is poor, and fine dust in materials can not be screened; the existing screening equipment can generate a large amount of dust in the screening process, and the existing equipment has no problem of a dust suction mechanism.
In order to achieve the above object, the utility model provides a following technical scheme: a flax seed screening device comprises a screening box, wherein one side of the surface of the screening box is fixedly communicated with three discharging hoppers from top to bottom in sequence, two discharging hoppers are arranged on one side of the screening box, an inner cavity of the screening box is respectively connected with a first screening net and a second screening net in a clamping manner, a vibrating motor is fixedly installed in the middle of the bottom end of the screening box, four corners of the bottom end of the screening box are fixedly connected with a vibrating mechanism, the four vibrating mechanisms comprise a bottom plate, vibrating springs, a top plate and rubber pads, the top end of the bottom plate is fixedly connected with four vibrating springs at equal intervals, the top ends of the four vibrating springs are fixedly connected with the bottom of the same top plate, the rubber pads are bonded on the top of the top plate, one side of the top of the screening box is fixedly communicated with a feeding hopper through a feeding port, and one side of the screening box is fixedly communicated with a dust suction mechanism through a dust suction port, dust absorption mechanism includes first filter screen, second filter screen, mounting bracket, suction fan, goes out tuber pipe, intercommunication groove and suction box, the inner chamber of suction box from left to right in proper order the joint have first filter screen and second filter screen, one side of second filter screen just is located the inner chamber fixedly connected with mounting bracket of suction box, the middle part fixed mounting of mounting bracket has the suction fan, the intercommunication groove has been seted up to one side of suction box, the fixed intercommunication of opposite side of suction box has out the tuber pipe.
As an optimal technical scheme of the utility model, four the equal fixedly connected with supporting leg in vibration mechanism's top.
As an optimized technical scheme of the utility model, the top of suction box is articulated to have the maintenance door through the maintenance hole.
As an optimized technical scheme of the utility model, the feeder hopper is conical structure.
As an optimized technical scheme of the utility model, the filtration aperture of first screening net is greater than the filtration aperture of second screening net.
As an optimal technical scheme of the utility model, the bottom of screening case inner chamber is the slope structure.
As a preferred technical scheme of the utility model, the positive fixed mounting of screening case has first shift knob and second shift knob, just vibrating motor and suction fan are respectively through first shift knob and second shift knob and external power supply electric connection.
Compared with the prior art, the beneficial effects of the utility model are that:
through the matching of the screening box, the first screening net, the second screening net, the vibrating mechanism, the bottom plate, the vibrating spring, the top plate, the rubber pad, the vibrating motor, the discharging hopper, the dust collecting mechanism, the first filtering net, the second filtering net, the mounting frame, the suction fan, the air outlet pipe, the maintenance door, the communicating groove, the dust collecting box, the feeding hopper and the supporting legs, when in use, materials are poured into the feeding hopper, then fall from the inner cavity of the feeding hopper to the upper part of the first screening net, the suction fan is opened in the falling process of the materials, the suction fan works to adsorb dust scattered when the materials fall onto the first screening net, the adsorbed dust enters the inside of the dust collecting box, then the dust is filtered through the first filtering net and the second filtering net, the filtered air is discharged from the air outlet pipe, so as to achieve the purpose of dust collection, meanwhile, the vibration of the vibrating motor drives the bottom plate, the vibrating spring and the top plate to vibrate, vibrating spring reciprocating motion under vibrating motor's effect to drive the reciprocating vibration of screening case, screen the material through first screening net and second screening net behind the screening case vibrations, the material after the screening is discharged from a hopper again, thereby improves the efficiency of screening.
Drawings
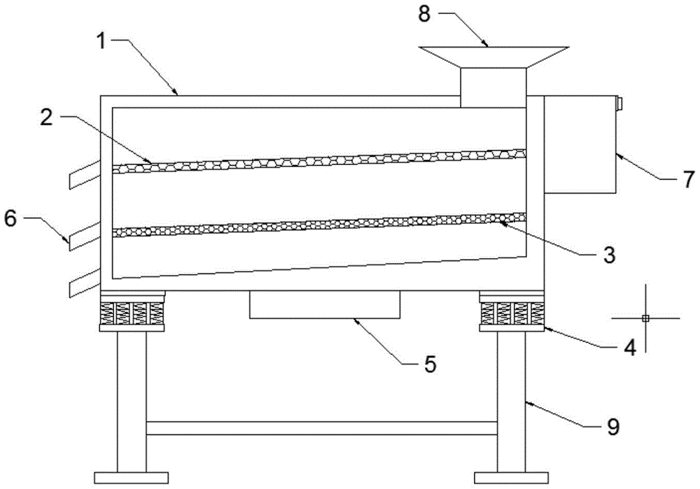
Fig. 1 is a cross-sectional view of the present invention;
FIG. 2 is a schematic structural view of the dust suction mechanism of the present invention;
fig. 3 is a schematic plan view of the vibration mechanism of the present invention;
fig. 4 is a sectional view of the dust suction mechanism of the present invention.
In the figure: 1. screening the box; 2. a first screening net; 3. a second screening mesh; 4. a vibration mechanism; 41. a base plate; 42. a vibration spring; 43. a top plate; 44. a rubber pad; 5. a vibration motor; 6. a discharge hopper; 7. a dust suction mechanism; 71. a first filter screen; 72. a second filter screen; 73. a mounting frame; 74. a suction fan; 75. an air outlet pipe; 76. repairing the door; 77. a communicating groove; 78. a dust collection box; 8. a feed hopper; 9. and (5) supporting legs.
Detailed Description
The technical solutions in the embodiments of the present invention will be described clearly and completely with reference to the accompanying drawings in the embodiments of the present invention, and it is obvious that the described embodiments are only some embodiments of the present invention, not all embodiments. Based on the embodiments in the present invention, all other embodiments obtained by a person skilled in the art without creative work belong to the protection scope of the present invention.
Referring to fig. 1-4, the utility model provides a flax seed screening device, which comprises a screening box 1, wherein one side of the surface of the screening box 1 is fixedly communicated with three discharge hoppers 6 from top to bottom, wherein one side of the two discharge hoppers 6 and the inner cavity of the screening box 1 are respectively connected with a first screening net 2 and a second screening net 3 in a clamping manner, the middle part of the bottom end of the screening box 1 is fixedly provided with a vibrating motor 5, four corners of the bottom end of the screening box 1 are fixedly connected with vibrating mechanisms 4, each of the four vibrating mechanisms 4 comprises a bottom plate 41, a vibrating spring 42, a top plate 43 and a rubber pad 44, the top end of the bottom plate 41 is fixedly connected with four vibrating springs 42 with equal distance, the top ends of the four vibrating springs 42 are fixedly connected with the bottom of the same top plate 43, the top of the top plate 43 is bonded with the rubber pad 44, one side of the top of the screening box 1 is fixedly communicated with a feed hopper 8 through a feed inlet, one side of the screening box 1 is fixedly communicated with a dust suction mechanism 7 through a dust suction opening, the dust suction mechanism 7 comprises a first filter screen 71, a second filter screen 72, a mounting frame 73, a suction fan 74, a wind outlet pipe 75, a communication groove 77 and a dust suction box 78, the first filter screen 71 and the second filter screen 72 are sequentially clamped in an inner cavity of the dust suction box 78 from left to right, the mounting frame 73 is fixedly connected to one side of the second filter screen 72 and is positioned in the inner cavity of the dust suction box 78, the suction fan 74 is fixedly mounted in the middle of the mounting frame 73, the communication groove 77 is formed in one side of the dust suction box 78, the wind outlet pipe 75 is fixedly communicated with the other side of the dust suction box 78, and the dust suction mechanism 7 is fixedly communicated with the wind outlet pipe 71 through the screening box 1, the first screening screen 2, the second screening screen 3, the vibrating mechanism 4, the bottom plate 41, the vibrating spring 42, the top plate 43, the rubber pad 44, the vibrating motor 5, the discharge hopper 6, the dust suction mechanism 7, the first filter screen 71, the second filter screen 72, the mounting frame 73, the second screening box 73, The cooperation of suction fan 74, tuber pipe 75, maintenance door 76, intercommunication groove 77, suction box 78, feeder hopper 8 and supporting leg 9 improves the efficiency of screening, realizes the in-process dust absorption of screening.
Preferably, the top parts of the four vibration mechanisms 4 are fixedly connected with supporting legs 9 for supporting the whole equipment.
Preferably, a maintenance door 76 is hinged to the top end of the dust box 78 through a maintenance hole, so that maintenance, replacement of the first filter 71 and the second filter 72, and cleaning of dust are facilitated.
Preferably, the feed hopper 8 is of a conical structure, so that feeding is facilitated.
Preferably, the filtering pore size of the first sieving net 2 is larger than that of the second sieving net 3, and the sieving purpose is achieved through the difference of the filtering pore size.
Preferably, the bottom of the inner cavity of the screening box 1 is of an inclined structure, so that discharging is facilitated.
Preferably, the front surface of the screening box 1 is fixedly provided with a first switch button and a second switch button, and the vibration motor 5 and the suction fan 74 are electrically connected with an external power supply through the first switch button and the second switch button respectively.
When the flax seed screening device is used, materials are poured into the feed hopper 8, then fall above the first screening net 2 from the inner cavity of the feed hopper 8, the suction fan 74 is opened in the falling process of the materials, the suction fan 74 absorbs dust scattered when the materials fall on the first screening net 2, the absorbed dust enters the dust suction box 78, then the dust is filtered through the first filter screen 71 and the second filter screen 72, the filtered air is discharged from the air outlet pipe 75, so that the purpose of dust suction is achieved, meanwhile, the vibration of the vibration motor 5 drives the bottom plate 41, the vibration spring 42 and the top plate 43 to vibrate, the vibration spring 42 reciprocates under the action of the vibration motor 5, so that the reciprocating vibration of the screening box 1 is driven, the materials are screened through the first screening net 2 and the second screening net 3 after the screening box 1, the material after the screening is discharged from the discharge hopper 6 again to improve the efficiency of screening.
Although the present invention has been described in detail with reference to the foregoing embodiments, it will be apparent to those skilled in the art that modifications may be made to the embodiments or portions thereof without departing from the spirit and scope of the invention.

Claims (7)

1. The utility model provides a sesame seed screening installation, includes screening case (1), its characterized in that: the screening box is characterized in that one side of the surface of the screening box (1) is fixedly communicated with three discharging hoppers (6) from top to bottom in sequence, a first screening net (2) and a second screening net (3) are fixedly connected to one side of the two discharging hoppers (6) and are respectively arranged in an inner cavity of the screening box (1) in a clamping manner, a vibrating motor (5) is fixedly installed in the middle of the bottom end of the screening box (1), vibrating mechanisms (4) are fixedly connected to four corners of the bottom end of the screening box (1), the four vibrating mechanisms (4) respectively comprise a bottom plate (41), vibrating springs (42), a top plate (43) and rubber pads (44), the four vibrating springs (42) are fixedly connected to the top end of the bottom plate (41) at equal intervals, the top ends of the four vibrating springs (42) are fixedly connected to the bottom of the same top plate (43), and the rubber pads (44) are bonded to the top of the top plate (43), one side of the top of the screening box (1) is fixedly communicated with a feed hopper (8) through a feed inlet, one side of the screening box (1) is fixedly communicated with a dust absorption mechanism (7) through a dust absorption opening, the dust collection mechanism (7) comprises a first filter screen (71), a second filter screen (72), a mounting rack (73), a suction fan (74), an air outlet pipe (75), a communication groove (77) and a dust collection box (78), a first filter screen (71) and a second filter screen (72) are sequentially clamped in the inner cavity of the dust collection box (78) from left to right, an installation frame (73) is fixedly connected with one side of the second filter screen (72) and the inner cavity of the dust collection box (78), a suction fan (74) is fixedly arranged in the middle of the mounting rack (73), a communicating groove (77) is formed in one side of the dust collection box (78), the other side of the dust collection box (78) is fixedly communicated with an air outlet pipe (75).
2. A flaxseed screening apparatus according to claim 1, wherein: and the tops of the four vibration mechanisms (4) are fixedly connected with supporting legs (9).
3. A flaxseed screening apparatus according to claim 1, wherein: the top end of the dust collection box (78) is hinged with a maintenance door (76) through a maintenance hole.
4. A flaxseed screening apparatus according to claim 1, wherein: the feed hopper (8) is of a conical structure.
5. A flaxseed screening apparatus according to claim 1, wherein: the filter pore size of the first screening net (2) is larger than that of the second screening net (3).
6. A flaxseed screening apparatus according to claim 1, wherein: the bottom of the inner cavity of the screening box (1) is of an inclined structure.
7. A flaxseed screening apparatus according to claim 1, wherein: the front fixed mounting of screening case (1) has first shift knob and second shift knob, just vibrating motor (5) and suction fan (74) are respectively through first shift knob and second shift knob and external power supply electric connection.
CN202121464259.3U 2021-06-30 2021-06-30 A kind of flax seed screening equipment Expired - Fee Related CN215198165U (en)

Priority Applications (1)

Application Number Priority Date Filing Date Title
CN202121464259.3U CN215198165U (en) 2021-06-30 2021-06-30 A kind of flax seed screening equipment

Applications Claiming Priority (1)

Application Number Priority Date Filing Date Title
CN202121464259.3U CN215198165U (en) 2021-06-30 2021-06-30 A kind of flax seed screening equipment

Publications (1)

Publication Number Publication Date
CN215198165U true CN215198165U (en) 2021-12-17

Family

ID=79431991

Family Applications (1)

Application Number Title Priority Date Filing Date
CN202121464259.3U Expired - Fee Related CN215198165U (en) 2021-06-30 2021-06-30 A kind of flax seed screening equipment

Country Status (1)

Country Link
CN (1) CN215198165U (en)

Cited By (1)

* Cited by examiner, † Cited by third party
Publication number Priority date Publication date Assignee Title
CN116116717A (en) * 2022-10-28 2023-05-16 宁夏思达机械有限公司 Feeding mechanism with screening function for pine nut tapping machine

Cited By (1)

* Cited by examiner, † Cited by third party
Publication number Priority date Publication date Assignee Title
CN116116717A (en) * 2022-10-28 2023-05-16 宁夏思达机械有限公司 Feeding mechanism with screening function for pine nut tapping machine

Similar Documents

Publication Publication Date Title
CN110653155A (en) Grit filter equipment is used in rice production with dust removal function
CN215198165U (en) A kind of flax seed screening equipment
CN216297056U (en) Grit separator is used in concrete recovery
CN111229597B (en) Environment-friendly vibrating screen for grain screening
CN211160716U (en) Rapeseed oil raw materials screening feed arrangement
CN210279760U (en) Novel chinese herbal medicine sieve separator
CN208976244U (en) A kind of vibrating screen for construction material production
CN219589278U (en) Rapeseed oil production is with high-efficient edulcoration drying device
CN208288397U (en) A kind of high quality white rice screening plant
CN214077130U (en) Sieving mechanism is used in powder coating processing with multi-stage screening function
CN215964762U (en) Cement removes piece device
CN213494918U (en) Seed sieving mechanism that farming used
CN214600251U (en) Particle screening device with self-cleaning function for production of environment-friendly pig feed
CN211756761U (en) Novel vibrating quartz sand screening device
CN210080051U (en) Formula rice screening installation sways
CN114472166A (en) High-efficient sieve cleaning machine based on rice processing
CN208695609U (en) A kind of glutinous rice impurity removing cleaning plant
CN220387067U (en) Polycrystalline silicon particle material screening device
CN222607147U (en) Dustproof sand screening device
CN212856648U (en) Raw materials screening plant is used in acetamiprid production
CN218360554U (en) Tea seed is sieving mechanism for extracting oil
CN221017317U (en) Automatic informatization fine screening processing manufacture equipment of rice
CN221413936U (en) Screening machine capable of carrying out hierarchical classification on tea leaves
CN222947727U (en) Throw material dust recovery unit
CN217830726U (en) A kind of soybean raw grain dust removal sieve

Legal Events

Date Code Title Description
GR01 Patent grant
GR01 Patent grant
CF01 Termination of patent right due to non-payment of annual fee

Granted publication date: 20211217

CF01 Termination of patent right due to non-payment of annual fee