CN215078682U - Lead wire collector - Google Patents

Lead wire collector Download PDF

Info

Publication number
CN215078682U
CN215078682U CN202120464601.3U CN202120464601U CN215078682U CN 215078682 U CN215078682 U CN 215078682U CN 202120464601 U CN202120464601 U CN 202120464601U CN 215078682 U CN215078682 U CN 215078682U
Authority
CN
China
Prior art keywords
take
cable
box
wire
wire take
Prior art date
Legal status (The legal status is an assumption and is not a legal conclusion. Google has not performed a legal analysis and makes no representation as to the accuracy of the status listed.)
Expired - Fee Related
Application number
CN202120464601.3U
Other languages
Chinese (zh)
Inventor
丁长婷
张烁
纪桂芝
Current Assignee (The listed assignees may be inaccurate. Google has not performed a legal analysis and makes no representation or warranty as to the accuracy of the list.)
Individual
Original Assignee
Individual
Priority date (The priority date is an assumption and is not a legal conclusion. Google has not performed a legal analysis and makes no representation as to the accuracy of the date listed.)
Filing date
Publication date
Application filed by Individual filed Critical Individual
Priority to CN202120464601.3U priority Critical patent/CN215078682U/en
Application granted granted Critical
Publication of CN215078682U publication Critical patent/CN215078682U/en
Expired - Fee Related legal-status Critical Current
Anticipated expiration legal-status Critical

Links

Images

Landscapes

  • Storing, Repeated Paying-Out, And Re-Storing Of Elongated Articles (AREA)

Abstract

本实用新型提供一种导联线收集器,包括收线盒,收线盒的内部固定安装有若干个收线外壳,若干个收线外壳的内部设置有收线内壳,收线内壳的内部卡合有收线弹簧,收线盒的内部穿插连接有线缆,线缆通过收线外壳与收线内壳的外侧套设连接,线缆的一端固定安装有集线器,收线盒的底部固定安装有固定机构,本实用新型的有益效果是:通过设置的收线外壳和收线内壳之间的相互作用,从而使得多股线缆可进行分别独立收放,并通过设置的收线弹簧,使得线缆在伸出后可通过继续拉扯线缆实现收回,从而在避免了导联线互相交叉打结,且整体的结构更加的整洁美观和方便使用,还通过设置的收线盒对线缆整体进行收放作用,大大降低了线缆线路的折损。

Figure 202120464601

The utility model provides a lead wire collector, comprising a wire take-up box, a plurality of wire take-up casings are fixedly installed inside the wire take-up box, a wire take-up inner casing is arranged inside the plurality of wire take-up casings, and the inner casing of the wire take-up casing is A take-up spring is engaged with the inside of the take-up box, and a cable is inserted into the inside of the take-up box. The cable is sleeved and connected to the outside of the take-up inner shell through the take-up shell. One end of the cable is fixedly installed with a hub, and the bottom of the take-up box A fixing mechanism is fixedly installed, and the beneficial effect of the utility model is that: through the interaction between the set wire take-up shell and the wire take-up inner shell, the multi-strand cables can be respectively and independently retracted, and through the set wire take-up shell The spring allows the cable to be retracted by continuing to pull the cable after it is extended, thus avoiding the cross-knotting of the lead wires, and the overall structure is more tidy, beautiful and convenient to use. The whole cable is retracted and released, which greatly reduces the damage of the cable line.

Figure 202120464601

Description

Lead wire collector
Technical Field
The utility model belongs to the technical field of machinery, concretely relates to lead line collector.
Background
The ECG monitor and the ECG machine are practical precise medical instruments in hospitals, are used for monitoring the dynamic change of vital signs of patients, provide objective and reasonable data for medical personnel, and play an important role in early detection of changes of illness states and guarantee of safety of patients. In clinical work, the chest lead wires are long in service time, the lead wires are crossed and knotted, and then the wires are broken, so that the cost of departments is increased, inconvenience is brought to clinical work, time and labor are wasted particularly when patients are rescued, once precious rescue time is delayed, hidden dangers are brought to the safety of the patients, and medical disputes are caused.
SUMMERY OF THE UTILITY MODEL
An object of the utility model is to provide a lead line collector aims at solving prior art in clinical work, and chest lead line live time is one long, appears the lead line cross knot then the condition of circuit book damage, increases the administrative or technical offices expense, the problem of bringing inconvenience for clinical work again.
In order to achieve the above object, the utility model provides a following technical scheme: the utility model provides a lead line collector, includes and receives the line box, the inside fixed mounting who receives the line box has a plurality of to receive line shell, a plurality of receive the inside of line shell and be provided with and receive the line inner shell, the inside block of receiving the line inner shell has and receives the line spring, the inside interlude of receiving the line box is connected with the cable, the cable is established through receiving the outside cover of line shell and receiving the line inner shell and is connected, the one end fixed mounting of cable has the concentrator, the bottom fixed mounting who receives the line box has fixed establishment.
In order to make the collector more be convenient for fix, as the utility model relates to an it is preferred, fixed establishment include with receipts line box bottom fixed mounting have unable adjustment base, a plurality of sliding tray, a plurality of have been seted up to unable adjustment base's bottom the equal sliding connection in inside both sides of sliding tray has solid fixed ring, two gu the equal fixed mounting in fixed ring both sides has electric telescopic handle.
In order to make holistic collector be convenient for accomodate, conduct the utility model relates to an it is preferred, the top of receiving the line box is attached to have a receipts roll strip, one side of receiving the line box is attached to have a first sticky strip, the opposite side of receipts roll strip is attached to have a second sticky strip.
In order to make the concentrator can obtain better fixed, as the utility model discloses an it is preferred, the strip of rolling up is made by dacron surface fabric.
In order to make holistic collector be convenient for fix and use, conduct the utility model relates to an it is preferred, one side fixed mounting of receipts line box has flush mounting plate of switch, flush mounting plate of switch's fixed surface installs the electric telescopic handle switch, electric telescopic handle passes through electric telescopic handle switch and external power supply electric connection.
Compared with the prior art, the beneficial effects of the utility model are that:
1) through the interaction between the arranged take-up outer shell and the take-up inner shell, the multi-strand cable can be respectively and independently taken up and down, and the take-up spring is arranged, so that the multi-strand cable can be withdrawn by continuously pulling the cable after the cable is stretched out, the cross knotting of the lead wires is avoided, the integral structure is neat and attractive, the use is convenient, the take-up box is used for taking up and releasing the whole cable, the breakage of the cable line is greatly reduced, the service life is prolonged, and the cost is reduced;
2) through the solid fixed ring and the electric telescopic handle that set up for holistic collector is more convenient for put in place that can be rapid carrying out rescue process in, thereby protection patient's safety in the at utmost, still through the coiling strip that sets up, make the concentrator be more convenient for fix, thereby be more convenient for accomodate the collector is whole, improved the device's result of use.
Drawings
The accompanying drawings are included to provide a further understanding of the invention, and are incorporated in and constitute a part of this specification, illustrate embodiments of the invention, and together with the description serve to explain the invention and not to limit the invention. In the drawings:
fig. 1 is a schematic view of the overall structure of the present invention;
FIG. 2 is a schematic view of the overall top structure of the present invention;
FIG. 3 is a schematic view of the rolling strip structure of the present invention;
FIG. 4 is a schematic view of the internal structure of the wire-rewinding box of the present invention;
FIG. 5 is a schematic view of the structure of the take-up housing of the present invention;
fig. 6 is a schematic view of the structure of the inner winding shell of the present invention.
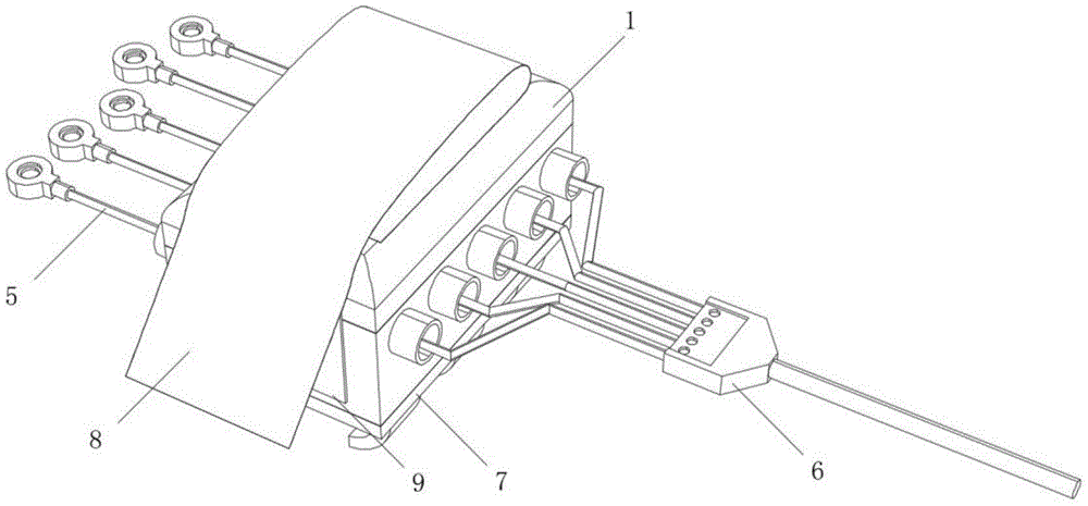
In the figure: 1. a wire rewinding box; 2. a wire take-up housing; 3. taking up the inner shell; 4. a wire take-up spring; 5. a cable; 6. a hub; 7. a fixing mechanism; 71. a fixed base; 72. a sliding groove; 73. a fixing ring; 74. an electric telescopic rod; 8. rolling up the strip; 9. a first adhesive strip; 10. and a second adhesive strip.
Detailed Description
The technical solutions in the embodiments of the present invention will be described clearly and completely with reference to the accompanying drawings in the embodiments of the present invention, and it is obvious that the described embodiments are only some embodiments of the present invention, not all embodiments. Based on the embodiments in the present invention, all other embodiments obtained by a person skilled in the art without creative work belong to the protection scope of the present invention.
Referring to fig. 1-6, the present invention provides the following technical solutions:
the utility model provides a lead line collector, includes and receives line box 1, and the inside fixed mounting who receives line box 1 has a plurality of to receive line shell 2, and a plurality of receives the inside of line shell 2 and is provided with receives line inner shell 3, and the inside block of receiving line inner shell 3 has receives line spring 4, and the inside interlude of receiving line box 1 is connected with cable 5, and cable 5 establishes through receiving line shell 2 and the outside cover of receiving line inner shell 3 to be connected, and the one end fixed mounting of cable 5 has concentrator 6, and the bottom fixed mounting who receives line box 1 has fixed establishment 7.
When the electrocardio monitoring device is used specifically, when a patient needs to be subjected to electrocardio monitoring operation, firstly, the wire collecting box 1 is fixed at a nursing bed or other suitable positions through the fixing mechanism 7, then the cable 5 can be pulled, so that the multiple cables 5 in the wire collecting box 1 can be respectively extended, when the cable 5 is pulled, the wire collecting inner shell 3 in the cable 5 rotates, so that the cable 5 wound outside the wire collecting inner shell 3 is discharged, meanwhile, the wire collecting spring 4 rotates along with the rotation of the wire collecting inner shell, the cable 5 is extended from the inside of the wire collecting outer shell 2 after the cable 5 is extended, the cable 5 still keeps tension, so that the crossing knotting of the lead wires is avoided, the convenience and the practicability in clinical use are better, when the cable 5 needs to be collected, the cable 5 can be continuously pulled, so that the wire collecting inner shell 3 is rotated through the action of the wire collecting spring 4, withdraw cable 5 to reduced the lead wire and exposed the damage of knoing outward for a long time, then greatly reduced the replacement cost after the lead wire breaks down, prolonged life.
In this embodiment: fixed establishment 7 includes and receives line box 1 bottom fixed mounting has unable adjustment base 71, and a plurality of sliding tray 72 has been seted up to unable adjustment base 71's bottom, and the equal sliding connection in inside both sides of a plurality of sliding tray 72 has solid fixed ring 73, and the equal fixed mounting in two solid fixed ring 73 both sides has electric telescopic handle 74.
During the specific use, when wholly installing the fixed to the collector, accessible electric telescopic handle switch is to electric telescopic handle 74's control to make solid fixed ring 73 slide in sliding tray 72 is inside, fix unable adjustment base 71 and receipts line box 1 then and use in suitable position, thereby accelerated patient's rescue speed, the safety of patient has been protected to the at utmost.
In this embodiment: the top of the take-up box 1 is attached with a take-up strip 8, one side of the take-up box 1 is attached with a first adhesive strip 9, and the other side of the take-up strip 8 is attached with a second adhesive strip 10.
During the specific use, when accomodating receipts line box 1, accessible receipts strip 8 is fixed the concentrator 6 in the top position of receiving line box 1, and the first strip 9 of gluing of rethread glues the interactive relation between the strip 10 with the second to more fixing rolling strip 8 and receipts line box 1, then accomodate the processing to concentrator 6, be more convenient for to accomodating and depositing of whole collector.
In this embodiment: the rolling strip 8 is made of polyester fabric.
During the specific use, dacron surface fabric makes the strip 8 of rolling up possess certain elasticity to when fixed concentrator 6, can not cause the damage to the cable body.
In this embodiment: one side fixed mounting of receipts line box 1 has flush mounting plate of switch, flush mounting plate of switch has the electric telescopic handle switch, and electric telescopic handle 74 passes through electric telescopic handle switch and external power supply electric connection.
During specific use, the electric telescopic rod 74 is controlled through the electric telescopic rod switch, so that the collector is more convenient to operate when being fixed at a proper position.
Finally, it should be noted that: although the present invention has been described in detail with reference to the foregoing embodiments, it will be apparent to those skilled in the art that modifications may be made to the embodiments described in the foregoing embodiments, or equivalents may be substituted for elements thereof. Any modification, equivalent replacement, or improvement made within the spirit and principle of the present invention should be included in the protection scope of the present invention.

Claims (5)

1.一种导联线收集器,包括收线盒(1),其特征在于,所述收线盒(1)的内部固定安装有若干个收线外壳(2),若干个所述收线外壳(2)的内部设置有收线内壳(3),所述收线内壳(3)的内部卡合有收线弹簧(4),所述收线盒(1)的内部穿插连接有线缆(5),所述线缆(5)通过收线外壳(2)与收线内壳(3)的外侧套设连接,所述线缆(5)的一端固定安装有集线器(6),所述收线盒(1)的底部固定安装有固定机构(7)。1. A lead wire collector, comprising a wire take-up box (1), characterized in that a plurality of wire take-up casings (2) are fixedly installed inside the wire take-up box (1), A wire take-up inner casing (3) is arranged inside the outer casing (2), a wire take-up spring (4) is engaged with the inside of the wire take-up inner casing (3), and a wire take-up box (1) is inserted and connected inside the wire take-up box (1). A cable (5), the cable (5) is sleeved and connected to the outer side of the cable take-up inner shell (3) through the cable take-up outer shell (2), and a hub (6) is fixedly installed at one end of the cable (5) , a fixing mechanism (7) is fixedly installed on the bottom of the wire take-up box (1). 2.根据权利要求1所述的一种导联线收集器,其特征在于:所述固定机构(7)包括与收线盒(1)底部固定安装有固定底座(71),所述固定底座(71)的底部开设有若干个滑动槽(72),若干个所述滑动槽(72)的内部两侧均滑动连接有固定环(73),两个所述固定环(73)两侧均固定安装有电动伸缩杆(74)。2 . The lead wire collector according to claim 1 , wherein the fixing mechanism ( 7 ) comprises a fixing base ( 71 ) fixedly installed with the bottom of the wire take-up box ( 1 ), and the fixing base The bottom of (71) is provided with a plurality of sliding grooves (72), and fixed rings (73) are slidably connected on both sides of the interior of the plurality of sliding grooves (72). An electric telescopic rod (74) is fixedly installed. 3.根据权利要求1所述的一种导联线收集器,其特征在于:所述收线盒(1)的顶部贴附有收卷条(8),所述收线盒(1)的一侧贴附有第一粘条(9),所述收卷条(8)的另一侧贴附有第二粘条(10)。3. A lead wire collector according to claim 1, characterized in that: the top of the take-up box (1) is attached with a take-up strip (8), and the A first adhesive strip (9) is attached to one side, and a second adhesive strip (10) is attached to the other side of the winding strip (8). 4.根据权利要求3所述的一种导联线收集器,其特征在于:所述收卷条(8)由涤纶面料制成。4 . The lead wire collector according to claim 3 , wherein the winding strip ( 8 ) is made of polyester fabric. 5 . 5.根据权利要求2所述的一种导联线收集器,其特征在于:所述收线盒(1)的一侧固定安装有开关面板,所述开关面板的表面固定安装有电动伸缩杆开关,所述电动伸缩杆(74)通过电动伸缩杆开关与外接电源电性连接。5 . The lead wire collector according to claim 2 , wherein a switch panel is fixedly installed on one side of the wire take-up box ( 1 ), and an electric telescopic rod is fixedly installed on the surface of the switch panel. 6 . A switch, the electric telescopic rod (74) is electrically connected to an external power source through the electric telescopic rod switch.
CN202120464601.3U 2021-03-04 2021-03-04 Lead wire collector Expired - Fee Related CN215078682U (en)

Priority Applications (1)

Application Number Priority Date Filing Date Title
CN202120464601.3U CN215078682U (en) 2021-03-04 2021-03-04 Lead wire collector

Applications Claiming Priority (1)

Application Number Priority Date Filing Date Title
CN202120464601.3U CN215078682U (en) 2021-03-04 2021-03-04 Lead wire collector

Publications (1)

Publication Number Publication Date
CN215078682U true CN215078682U (en) 2021-12-10

Family

ID=79340244

Family Applications (1)

Application Number Title Priority Date Filing Date
CN202120464601.3U Expired - Fee Related CN215078682U (en) 2021-03-04 2021-03-04 Lead wire collector

Country Status (1)

Country Link
CN (1) CN215078682U (en)

Cited By (2)

* Cited by examiner, † Cited by third party
Publication number Priority date Publication date Assignee Title
CN116035587A (en) * 2023-03-16 2023-05-02 深圳市金瑞龙特种线材有限公司 Anti-knotting electrocardiograph lead wire
CN116196010A (en) * 2023-03-21 2023-06-02 上海交通大学医学院附属瑞金医院 An auxiliary device for emergency diagnosis and treatment of critically ill patients

Cited By (4)

* Cited by examiner, † Cited by third party
Publication number Priority date Publication date Assignee Title
CN116035587A (en) * 2023-03-16 2023-05-02 深圳市金瑞龙特种线材有限公司 Anti-knotting electrocardiograph lead wire
CN116035587B (en) * 2023-03-16 2023-09-29 深圳市金瑞龙特种线材有限公司 An anti-knotting ECG lead wire
CN116196010A (en) * 2023-03-21 2023-06-02 上海交通大学医学院附属瑞金医院 An auxiliary device for emergency diagnosis and treatment of critically ill patients
CN116196010B (en) * 2023-03-21 2023-10-27 上海交通大学医学院附属瑞金医院 An auxiliary device for emergency treatment of critically ill patients

Similar Documents

Publication Publication Date Title
CN215078682U (en) Lead wire collector
CN206692158U (en) A kind of wire storage device of ECG monitor
CN212608791U (en) A new type of ECG monitor wire storage and grooming box
CN208037749U (en) A kind of electrocardiograph conducting wire folding and unfolding equipment
CN210957200U (en) One-to-three data line convenient for changing service length of power transmission line
CN209048130U (en) A kind of ECG monitor conducting wire storage device
CN110477903B (en) Lead wire group for electrocardiograph easy to arrange
CN215078683U (en) Storage device of ECG monitor line of leading
CN219397296U (en) Cardiovascular internal medicine electrocardiograph monitor
CN209574684U (en) A kind of wireless electrocardiograph monitoring device
CN217365888U (en) Curled electrocardiogram machine lead wire storage device
CN208892578U (en) A portable electrocardiogram examination device
CN208822765U (en) ECG lead organizer box
CN211796436U (en) ICU monitor
CN209347028U (en) A retractable operating room electrocardiogram cable board
CN213551698U (en) External monitor for multiple applications
CN216426390U (en) A wire storage device for ECG monitor
CN221205450U (en) A kind of electrocardiogram monitor lead wire protection device
CN220011737U (en) Electrocardiogram lead storage device
CN112438734A (en) Wire storage device for ECG monitor
CN220713922U (en) Electrocardiograph lead wire storage device
CN215534459U (en) A lead wire storage device
CN218708304U (en) A conveniently placed lead wire box
CN219567177U (en) Medical instrument wire receiver and wire harness ware
CN221691808U (en) An examination bed convenient for cable management

Legal Events

Date Code Title Description
GR01 Patent grant
GR01 Patent grant
CF01 Termination of patent right due to non-payment of annual fee
CF01 Termination of patent right due to non-payment of annual fee

Granted publication date: 20211210