CN215030959U - Grain is raw materials washing edulcoration device for oil processing - Google Patents

Grain is raw materials washing edulcoration device for oil processing Download PDF

Info

Publication number
CN215030959U
CN215030959U CN202120937073.9U CN202120937073U CN215030959U CN 215030959 U CN215030959 U CN 215030959U CN 202120937073 U CN202120937073 U CN 202120937073U CN 215030959 U CN215030959 U CN 215030959U
Authority
CN
China
Prior art keywords
pipe
cleaning
cleaning tank
raw materials
grain
Prior art date
Legal status (The legal status is an assumption and is not a legal conclusion. Google has not performed a legal analysis and makes no representation as to the accuracy of the status listed.)
Expired - Fee Related
Application number
CN202120937073.9U
Other languages
Chinese (zh)
Inventor
喜全发
Current Assignee (The listed assignees may be inaccurate. Google has not performed a legal analysis and makes no representation or warranty as to the accuracy of the list.)
Ningxia Xishi Food Co ltd
Original Assignee
Xiji County Xishi Yilan Edible Oil Production Co ltd
Priority date (The priority date is an assumption and is not a legal conclusion. Google has not performed a legal analysis and makes no representation as to the accuracy of the date listed.)
Filing date
Publication date
Application filed by Xiji County Xishi Yilan Edible Oil Production Co ltd filed Critical Xiji County Xishi Yilan Edible Oil Production Co ltd
Priority to CN202120937073.9U priority Critical patent/CN215030959U/en
Application granted granted Critical
Publication of CN215030959U publication Critical patent/CN215030959U/en
Expired - Fee Related legal-status Critical Current
Anticipated expiration legal-status Critical

Links

Images

Landscapes

  • Cleaning By Liquid Or Steam (AREA)

Abstract

本申请公开了一种粮油加工用原料清洗除杂装置,在实际使用时,通过进水管向清洗罐体中注水,接着将原料倒入下料管中,通过导料板的作用将原料引导至过滤网的高度,同时启动振动电机带动过滤网振动,以将石子、皮壳等较大杂物筛出后经排杂管外排,过滤除杂后的原料经过过滤网后会落入到清洗罐体中,通过启动搅拌电机带动搅拌杆和搅拌叶片的方式对清洗罐体中的原料进行清洗处理,清洗结束后,打开第一控制阀,经排水排料管先将清洗水排完后,通过抽离取出第一排水过滤网的方式使清洗后的原料经排水排料管排出收集,可以实现过滤除杂和清洗一体化,操作过程简单、方便,人工劳动强度低,工作效率较高。

Figure 202120937073

The present application discloses a raw material cleaning and impurity removing device for grain and oil processing. In actual use, water is injected into the cleaning tank through a water inlet pipe, then the raw materials are poured into the feeding pipe, and the raw materials are guided to At the same time, start the vibration motor to drive the filter screen to vibrate, so as to screen out the large debris such as stones and leather shells and then discharge them through the debris removal pipe. After filtering and removing impurities, the raw materials will fall into the cleaning process In the tank body, the raw materials in the cleaning tank body are cleaned by starting the stirring motor to drive the stirring rod and the stirring blade. After the cleaning is completed, the first control valve is opened, and the cleaning water is drained through the drainage and discharge pipe. By pulling out the first drainage filter, the cleaned raw materials are discharged and collected through the drainage discharge pipe, which can realize the integration of filtration, impurity removal and cleaning. The operation process is simple and convenient, the labor intensity is low, and the work efficiency is high.

Figure 202120937073

Description

Grain is raw materials washing edulcoration device for oil processing
Technical Field
The application relates to the field of grain and oil processing and preparation, in particular to a raw material cleaning and impurity removing device for grain and oil processing.
Background
The grain and oil is a general name for grains, beans and other grains and oil materials and processed finished products and semi-finished products thereof, and is a necessity in the life of people. In the processing and production of grain and oil, the corresponding raw materials are usually subjected to impurity removal, namely impurities such as stones, shells and the like in the raw materials are removed, and then the raw materials are cleaned to ensure the quality and the taste of the grain and oil.
However, the existing raw material impurity removal and cleaning processes are separately carried out, the operation process is complicated and complicated, and the impurity removal and cleaning processes are high in manual participation, high in labor intensity and low in working efficiency.
SUMMERY OF THE UTILITY MODEL
The application provides a raw materials washs edulcoration device for grain and oil processing has solved the loaded down with trivial details complicacy of traditional grain and oil raw materials edulcoration cleaning process among the prior art, and the hand labor is slightly big, problem that work efficiency is low.
In order to solve the technical problem, the application provides a grain oil processing is with raw materials washing edulcoration device, includes:
the cleaning tank comprises a cleaning tank body, wherein a supporting rod is arranged at the bottom of the cleaning tank body, a mounting plate is arranged on the supporting rod, a stirring motor is arranged on the mounting plate, an output shaft of the stirring motor is fixedly connected with a stirring rod, the stirring rod penetrates through the bottom of the cleaning tank body and extends into the cleaning tank body, stirring blades are arranged on the stirring rod, a blanking pipe is communicated with the top of the cleaning tank body, a material guide plate and a filter screen are obliquely arranged in the blanking pipe from top to bottom in sequence, a vibrating motor fixedly connected with one end of the filter screen is arranged on the outer side of the blanking pipe through a supporting plate, an impurity discharging pipe is communicated with a position corresponding to the discharge end of the filter screen, a water inlet pipe is communicated with one side of the upper end of the cleaning tank body, and a drainage discharging pipe is communicated with one side of the bottom of the cleaning tank body, the drainage is arranged the pipe with the position department pull of washing jar body contact is provided with first drainage filter screen just be provided with first control valve on the drainage is arranged the pipe.
Preferably, the other side of the bottom of the cleaning tank body is further communicated with a circulating pipe, one end of the circulating pipe is communicated with one side of the upper end of the cleaning tank body, a second drainage filter screen is arranged at the position where the circulating pipe is contacted with the bottom of the cleaning tank body, and a second control valve and a water pump are arranged on the circulating pipe.
Preferably, a dust hood is further arranged above the feeding hole of the blanking pipe and is communicated with a dust collecting box through a dust removing pipe, one side of the dust collecting box is communicated with a suction fan, and the dust collecting box and the suction fan are fixedly arranged at the upper end position of the cleaning tank body.
Preferably, the method further comprises the following steps:
and the impurity collecting box body is fixed at the position, close to the blanking pipe, of the cleaning tank body, and one end of the impurity discharging pipe extends into the impurity collecting box body.
Preferably, one end of the water inlet pipe is also screwed with a pipe cap.
Preferably, the feeding pipe is a horn-shaped feeding pipe.
Preferably, the bottom of the support rod is also provided with a bottom plate.
Compared with the prior art, the raw material cleaning and impurity removing device for processing the grain and oil comprises a cleaning tank body, wherein a supporting rod is arranged at the bottom of the cleaning tank body, a mounting plate is arranged on the supporting rod, a stirring motor is arranged on the mounting plate, a stirring rod is fixedly connected with an output shaft of the stirring motor, the stirring rod penetrates through the bottom of the cleaning tank body and extends into the cleaning tank body, stirring blades are arranged on the stirring rod, a discharging pipe is communicated with the top of the cleaning tank body, a guide plate and a filter screen are sequentially arranged in the discharging pipe from top to bottom in an inclined manner, a vibrating motor fixedly connected with one end of the filter screen is arranged on the outer side of the discharging pipe through the supporting plate, a impurity removing pipe is communicated with the position of the discharging end of the filter screen, a water inlet pipe is communicated with one side of the upper end of the cleaning tank body, and a water discharging pipe is communicated with one side of the bottom of the cleaning tank body, the position department pull that the pipe was arranged in the drainage and the contact of the washing jar body is provided with first drainage filter screen and drainage and is arranged and be provided with first control valve on the pipe.
Therefore, when the cleaning and impurity removing device is used, water is injected into a cleaning tank body through a water inlet pipe during actual use, then raw materials are poured into a discharging pipe, the raw materials are guided to the height of a filter screen through the action of a guide plate, a vibration motor is started to drive the filter screen to vibrate at the same time, so that large impurities such as stones and shells are screened out and then discharged out through an impurity discharging pipe, the raw materials after filtering and impurity removing fall into the cleaning tank body after passing through the filter screen, the raw materials in the cleaning tank body are cleaned by driving a stirring rod and stirring blades through the starting of the stirring motor, after cleaning is finished, a first control valve is opened, the cleaned raw materials are discharged and collected through a water discharging pipe in a mode of taking out a first water discharging filter screen through pumping, the integration of filtering and impurity removing and cleaning can be realized, the operation process is simple and convenient, the labor intensity is low, the working efficiency is higher.
Drawings
In order to more clearly explain the technical solution of the present application, the drawings needed to be used in the embodiments are briefly described below, and it is obvious to those skilled in the art that other drawings can be obtained according to the drawings without making any inventive changes.
Fig. 1 is a schematic structural view of a raw material cleaning and impurity removing device for grain and oil processing provided by an embodiment of the present invention;
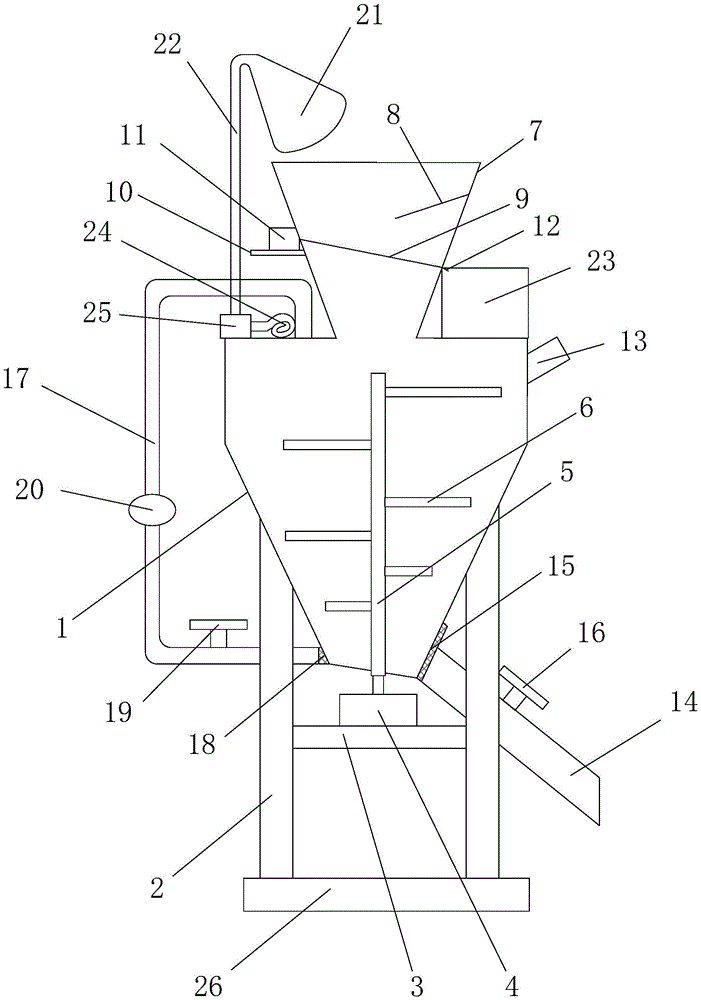
in the figure, 1 a cleaning tank body, 2 supporting rods, 3 mounting plates, 4 stirring motors, 5 stirring rods, 6 stirring blades, 7 blanking pipes, 8 guide plates, 9 filter screens, 10 supporting plates, 11 vibration motors, 12 impurity discharge pipes, 13 water inlet pipes, 14 water discharge and discharge pipes, 15 first water discharge filter screens, 16 first control valves, 17 circulating pipes, 18 second water discharge filter screens, 19 second control valves, 20 water pumps, 21 dust hoods, 22 dust removal pipes, 23 dust collection boxes, 24 suction fans, 25 impurity collection boxes and a bottom plate 26.
Detailed Description
In order to make those skilled in the art better understand the technical solutions in the present application, the technical solutions in the embodiments of the present application will be described clearly and completely with reference to the accompanying drawings.
The core of this application is to provide a raw materials washs edulcoration device for grain and oil processing, can solve among the prior art traditional grain and oil raw materials edulcoration cleaning process loaded down with trivial details complicacy, the problem that artifical work is slightly big, work efficiency is low.
Fig. 1 is the embodiment of the utility model provides a grain oil processing is with raw materials washing edulcoration device schematic structure, as shown in fig. 1, the device includes:
a cleaning tank body 1, a support rod 2 is arranged at the bottom of the cleaning tank body 1, a mounting plate 3 is arranged on the support rod 2, a stirring motor 4 is arranged on the mounting plate 3, a stirring rod 5 is fixedly connected with an output shaft of the stirring motor 4, the stirring rod 5 penetrates through the bottom of the cleaning tank body 1 and extends into the cleaning tank body 1, a stirring blade 6 is arranged on the stirring rod 5, a blanking pipe 7 is communicated with the top of the cleaning tank body 1, a material guide plate 8 and a filter screen 9 are sequentially arranged in the blanking pipe 7 from top to bottom in an inclined manner, a vibrating motor 11 fixedly connected with one end of the filter screen 9 is arranged on the outer side of the blanking pipe 7 through a support plate 10, an impurity discharging pipe 12 is communicated with the position of the blanking pipe 7 corresponding to the discharge end of the filter screen 9, a water inlet pipe 13 is communicated with one side of the upper end of the cleaning tank body 1, and a water discharging pipe 14 is communicated with one side of the bottom of the cleaning tank body 1, a first drainage filter screen 15 is arranged at the position where the drainage pipe 14 contacts with the cleaning tank body 1 in a drawing way, and a first control valve 16 is arranged on the drainage pipe 14.
Specifically, the shape and the size of the cleaning tank body 1 can be determined according to actual conditions, and the bottom of the cleaning tank body 1 can be set to be an inclined structure during design, so that discharging is facilitated. The bracing piece 2 is located the bottom position department of the washing jar body 1 for support fixedly to the washing jar body 1, during the design, can support fixedly through two or four bracing pieces 2 to the washing jar body 1. In order to improve the operational stability of the cleaning tank 1, a bottom plate 26 is preferably provided at the bottom of the support bar 2. Mounting panel 3 is fixed between two bracing pieces 2, support fixedly agitator motor 4 through mounting panel 3, agitator bar 5 runs through the output shaft fixed connection that sets up and its lower extreme and agitator motor 4 of the washing tank body 1, be provided with a plurality of stirring vane 6 on agitator bar 5, each stirring vane 6 all is located the washing tank body 1, during the use, can drive agitator bar 5 and stirring vane 6 through the mode that starts agitator motor 4 and rotate, and then stir the washing to the raw materials in the washing tank body 1.
The blanking pipe 7 is communicated with the top of the cleaning tank 1, and in order to improve the convenience of blanking, the blanking pipe 7 may be a horn-shaped blanking pipe as a preferred embodiment. Guide plate 8 and filter screen 9 set gradually in unloading pipe 7 from last to down, when actually designing, can set up the mounting groove at unloading pipe 7's inside wall, with filter screen 9 installation axle in the mounting groove, then drive filter screen 9 through the vibrating motor 11 that sets up in the unloading pipe 7 outside and vibrate, the setting up of mounting groove need with the in-process of vibrating at filter screen 9, do not shake out from the mounting groove as accurate. The backup pad 10 is fixed in the outside position department of unloading pipe 7 for support vibrating motor 11 fixedly, arrange miscellaneous pipe 12 intercommunication and set up in one side of unloading pipe 7, and arrange miscellaneous pipe 12 corresponding with the discharge end of filter screen 9, need guarantee through the great impurity such as the stone of filter screen 9 sifting out, the leather sheath smoothly through arranging miscellaneous pipe 12 and discharge, impurity after getting rid of can handle in real time. In order to facilitate timely collection of discharged impurities and improve convenience in use, as a preferred embodiment, the method further includes: be fixed in and wash impurity collection box 25 that jar body 1 is close to unloading pipe 7 position department, arrange in impurity pipe 12's one end extends to impurity collection box 25, impurity collection box 25's setting needs use the use that does not influence inlet tube 13 as the standard. The mesh size of the filter screen 9 needs to be larger than the size of the raw material and smaller than the size of larger impurities such as stones, shells and the like.
The water inlet pipe 13 is provided at a position of one side of the upper end of the washing tub 1, and washing water may be injected into the washing tub 1 through the water inlet pipe 13, and in order to prevent dust from entering the washing tub 1 through the water inlet pipe 13 or water from flowing backward through the water inlet pipe 13 during the agitation washing, as a preferred embodiment, a cap is further screwed to one end of the water inlet pipe 13, and the cap is not shown in the drawing. The drainage and discharge pipe 14 is communicated with and arranged at one side position of the bottom of the cleaning tank body 1, a first drainage filter screen 15 is arranged at the position where the drainage and discharge pipe 14 is contacted with the cleaning tank body 1 in a drawing mode, a first control valve 16 is arranged on the drainage and discharge pipe 14, when the cleaning tank is used, raw materials screened by the filter screen 9 fall into the cleaning tank body 1, the raw materials are cleaned by starting a stirring motor 4 to drive a stirring rod 5 and a stirring blade 6 to rotate, the first control valve 16 needs to be closed in the cleaning process, after the cleaning is finished, the first control valve 16 is opened, the cleaning water is discharged outside through the filtering action of the first drainage filter screen 15, the mesh size of the first drainage filter screen 15 needs to be smaller than that of the raw materials, only the cleaning water needs to pass through, after the cleaning water is discharged, the first drainage filter screen 15 is taken out from the position where the drainage and discharge pipe 14 is contacted with the cleaning tank body 1, discharging the cleaned raw materials for collection.
In order to save water and improve the cleaning efficiency, as a preferred embodiment, a circulating pipe 17 is further communicated and arranged at the other side of the bottom of the cleaning tank body 1, one end of the circulating pipe 17 is communicated and arranged with one side of the upper end of the cleaning tank body 1, a second drainage filter net 18 is arranged at the position where the circulating pipe 17 contacts with the bottom of the cleaning tank body 1, and a second control valve 19 and a water pump 20 are arranged on the circulating pipe 17. In the cleaning process, the second control valve 19 is opened, the cleaning water is circulated and reused through the circulating pipe 17 by the water pump 20, the second drainage filter screen 18 is fixedly arranged at the contact position of the circulating pipe 17 and the bottom of the cleaning tank body 1, the mesh size of the second drainage filter screen 18 needs to be smaller than that of the raw material, only water is required to pass through, the raw material can be prevented from entering the circulating pipe 17 by the second drainage filter screen 18, and the second control valve 19 is in a closed state in the operation process of the first control valve 16.
In order to absorb dust in the raw material and ensure a good processing environment, as a preferred embodiment, a dust hood 21 is further arranged above the feeding hole of the feeding pipe 7, the dust hood 21 is communicated with a dust collection box 23 through a dust collection pipe 22, one side of the dust collection box 23 is communicated with a suction fan 24, and the dust collection box 23 and the suction fan 24 are both fixedly arranged at the upper end position of the cleaning tank body 1. When the materials are discharged into the discharging pipe 7, the suction fan 24 is opened to generate negative pressure so as to collect the dust generated in the raw materials into the dust collecting box 23 after passing through the dust hood 21 and the dust removing pipe 22, thereby achieving the purpose of removing the dust. The dust collecting box 23 and the suction fan 24 are required to be arranged so as not to interfere with the installation of the circulation duct 17.
Other embodiments of the present application will be apparent to those skilled in the art from consideration of the specification and practice of the application disclosed herein. This application is intended to cover any variations, uses, or adaptations of the invention following, in general, the principles of the application and including such departures from the present disclosure as come within known or customary practice in the art to which the invention pertains. It is intended that the specification and examples be considered as exemplary only, with a true scope of the disclosure being indicated by the following claims.
It will be understood that the present application is not limited to the precise arrangements described above and shown in the drawings and that various modifications and changes may be made without departing from the scope thereof. The above-described embodiments of the present application do not limit the scope of the present application.

Claims (7)

1.一种粮油加工用原料清洗除杂装置,其特征在于,包括:1. a raw material cleaning and removing device for grain and oil processing, is characterized in that, comprises: 清洗罐体,所述清洗罐体的底部设置有支撑杆,所述支撑杆上设置有安装板,所述安装板上设置有搅拌电机,所述搅拌电机的输出轴固定连接有搅拌杆,所述搅拌杆贯穿所述清洗罐体的底部并延伸至所述清洗罐体内,所述搅拌杆上设置有搅拌叶片,所述清洗罐体的顶部连通设置有下料管,所述下料管内从上至下依次倾斜设置有导料板和过滤网,所述下料管的外侧通过支撑板设置有与所述过滤网的一端固定连接的振动电机,所述下料管与所述过滤网的出料端对应的位置处连通设置有排杂管,所述清洗罐体的上端一侧连通设置有进水管,所述清洗罐体的底部一侧连通设置有排水排料管,所述排水排料管与所述清洗罐体接触的位置处抽拉设置有第一排水过滤网且所述排水排料管上设置有第一控制阀。Cleaning the tank body, the bottom of the cleaning tank body is provided with a support rod, the support rod is provided with a mounting plate, the mounting plate is provided with a stirring motor, and the output shaft of the stirring motor is fixedly connected with the stirring rod, so The stirring rod penetrates through the bottom of the cleaning tank and extends into the cleaning tank, the stirring rod is provided with a stirring blade, and the top of the cleaning tank is connected with a feeding pipe, and the feeding pipe runs from the inside of the feeding pipe. A material guide plate and a filter screen are arranged obliquely from top to bottom in order, the outer side of the feeding pipe is provided with a vibration motor fixedly connected to one end of the filter screen through a support plate, and the feeding pipe is connected to the filter screen. A miscellaneous discharge pipe is communicated with the position corresponding to the discharge end, a water inlet pipe is communicated with one side of the upper end of the cleaning tank, and a drainage and discharge pipe is communicated with the bottom side of the cleaning tank. A first drainage filter screen is provided at the position where the material pipe is in contact with the cleaning tank body, and a first control valve is arranged on the drainage and material pipe. 2.根据权利要求1所述的粮油加工用原料清洗除杂装置,其特征在于,所述清洗罐体的底部另一侧还连通设置有循环管,所述循环管的一端与所述清洗罐体的上端一侧连通设置,所述循环管与所述清洗罐体底部接触的位置处设置有第二排水过滤网,且所述循环管上设置有第二控制阀和水泵。2. The raw material cleaning and impurity removing device for grain and oil processing according to claim 1 is characterized in that, the other side of the bottom of the cleaning tank is also communicated with a circulation pipe, and one end of the circulation pipe is connected to the cleaning tank. The upper end side of the body is communicated and arranged, a second drainage filter screen is arranged at the position where the circulation pipe contacts the bottom of the cleaning tank, and a second control valve and a water pump are arranged on the circulation pipe. 3.根据权利要求1所述的粮油加工用原料清洗除杂装置,其特征在于,所述下料管的进料口上方还设置有除尘罩,所述除尘罩通过除尘管连通有灰尘收集箱,所述灰尘收集箱的一侧连通设置有吸风机,所述灰尘收集箱和所述吸风机均固定安装在所述清洗罐体的上端位置处。3. The device for cleaning and removing impurities from raw materials for grain and oil processing according to claim 1, characterized in that, a dust hood is also provided above the feed port of the feeding pipe, and the dust hood is communicated with a dust collection box through the dust pipe. A suction fan is communicated with one side of the dust collection box, and both the dust collection box and the suction fan are fixedly installed at the upper end of the cleaning tank. 4.根据权利要求1所述的粮油加工用原料清洗除杂装置,其特征在于,还包括:4. Grain and oil processing raw material cleaning and removing impurities device according to claim 1, is characterized in that, also comprises: 固定于所述清洗罐体靠近所述下料管位置处的杂质收集箱体,所述排杂管的一端延伸至所述杂质收集箱体内。An impurity collection box is fixed at the position of the cleaning tank close to the feeding pipe, and one end of the impurity discharge pipe extends into the impurity collection box. 5.根据权利要求1所述的粮油加工用原料清洗除杂装置,其特征在于,所述进水管的一端还旋拧有管帽。5 . The device for cleaning and removing impurities from raw materials for grain and oil processing according to claim 1 , wherein a cap is also screwed at one end of the water inlet pipe. 6 . 6.根据权利要求1所述的粮油加工用原料清洗除杂装置,其特征在于,所述下料管为喇叭状下料管。6 . The device for cleaning and removing impurities from raw materials for grain and oil processing according to claim 1 , wherein the feeding pipe is a trumpet-shaped feeding pipe. 7 . 7.根据权利要求1至6任意一项所述的粮油加工用原料清洗除杂装置,其特征在于,所述支撑杆的底部还设置有底板。7. The device for cleaning and removing impurities for raw materials for grain and oil processing according to any one of claims 1 to 6, wherein a bottom plate is further provided at the bottom of the support rod.
CN202120937073.9U 2021-04-30 2021-04-30 Grain is raw materials washing edulcoration device for oil processing Expired - Fee Related CN215030959U (en)

Priority Applications (1)

Application Number Priority Date Filing Date Title
CN202120937073.9U CN215030959U (en) 2021-04-30 2021-04-30 Grain is raw materials washing edulcoration device for oil processing

Applications Claiming Priority (1)

Application Number Priority Date Filing Date Title
CN202120937073.9U CN215030959U (en) 2021-04-30 2021-04-30 Grain is raw materials washing edulcoration device for oil processing

Publications (1)

Publication Number Publication Date
CN215030959U true CN215030959U (en) 2021-12-07

Family

ID=79108479

Family Applications (1)

Application Number Title Priority Date Filing Date
CN202120937073.9U Expired - Fee Related CN215030959U (en) 2021-04-30 2021-04-30 Grain is raw materials washing edulcoration device for oil processing

Country Status (1)

Country Link
CN (1) CN215030959U (en)

Cited By (2)

* Cited by examiner, † Cited by third party
Publication number Priority date Publication date Assignee Title
CN114393739A (en) * 2021-12-16 2022-04-26 江苏正华包装有限公司 Preparation granule screening cleaning equipment of plastic molding material
CN120803092A (en) * 2025-09-11 2025-10-17 浙江东开半导体科技有限公司 Automatic dilution device for solid chemicals and control method

Cited By (2)

* Cited by examiner, † Cited by third party
Publication number Priority date Publication date Assignee Title
CN114393739A (en) * 2021-12-16 2022-04-26 江苏正华包装有限公司 Preparation granule screening cleaning equipment of plastic molding material
CN120803092A (en) * 2025-09-11 2025-10-17 浙江东开半导体科技有限公司 Automatic dilution device for solid chemicals and control method

Similar Documents

Publication Publication Date Title
CN111408575B (en) Grain processing device
CN215030959U (en) Grain is raw materials washing edulcoration device for oil processing
CN111266286A (en) Screening and cleaning device for food processing and use method thereof
CN220716713U (en) Rice cleaning machine
CN218697498U (en) Burnishing device is used in rivet production
CN219648272U (en) Raw material cleaning device
CN219850771U (en) Swing type screening machine screen cleaning device for processing spina date seeds
CN219156555U (en) Multistage filtering device for treating industrial wastewater
CN215354529U (en) Mechanism sand powder sand autosegregation device
CN215539000U (en) Water-saving fine cleaning equipment for sweetened bean paste
CN216584771U (en) A non-washing type desilting equipment for machine-made sand
CN210358067U (en) A soybean impurity removal device
CN214234488U (en) A kind of rice removal equipment
CN213825089U (en) Rice pulping equipment
CN211912872U (en) Filter equipment is used in edible essence production
CN216880754U (en) Soybean self-cleaning device
CN218251855U (en) Yellow rice cleaning and screening device
CN218251859U (en) Flax processing is with raw materials belt cleaning device
CN218921533U (en) Food processing equipment with drainage structure
CN219670315U (en) An efficient coal washing device that facilitates water recycling
CN221902256U (en) Bean washer with recovery structure
CN219401397U (en) Grain processing belt cleaning device
CN219356328U (en) A kind of big yellow rice soaking device equipped with filter sieve
CN220461340U (en) Red wheat seed sieve separator convenient to wash
CN222998405U (en) Water recycling device for wet sand production

Legal Events

Date Code Title Description
GR01 Patent grant
GR01 Patent grant
CP03 Change of name, title or address
CP03 Change of name, title or address

Address after: 756200 Subao Road, Jiqiang Town, Xiji County, Guyuan City, Ningxia Hui Autonomous Region

Patentee after: Ningxia Xishi Food Co.,Ltd.

Address before: 756000 Subao Road, Jiqiang Town, Xiji County, Guyuan City, Ningxia Hui Autonomous Region

Patentee before: Xiji County Xishi Yilan edible oil production Co.,Ltd.

CF01 Termination of patent right due to non-payment of annual fee
CF01 Termination of patent right due to non-payment of annual fee

Granted publication date: 20211207