CN214922471U - A new type of assembly tool for the shell of the carrier communication module of the electric meter - Google Patents

A new type of assembly tool for the shell of the carrier communication module of the electric meter Download PDF

Info

Publication number
CN214922471U
CN214922471U CN202121308202.4U CN202121308202U CN214922471U CN 214922471 U CN214922471 U CN 214922471U CN 202121308202 U CN202121308202 U CN 202121308202U CN 214922471 U CN214922471 U CN 214922471U
Authority
CN
China
Prior art keywords
sliding
electric push
communication module
slider
carrier communication
Prior art date
Legal status (The legal status is an assumption and is not a legal conclusion. Google has not performed a legal analysis and makes no representation as to the accuracy of the status listed.)
Expired - Fee Related
Application number
CN202121308202.4U
Other languages
Chinese (zh)
Inventor
朱光亮
Current Assignee (The listed assignees may be inaccurate. Google has not performed a legal analysis and makes no representation or warranty as to the accuracy of the list.)
Qingdao Lixuan Electronic Technology Co ltd
Original Assignee
Qingdao Lixuan Electronic Technology Co ltd
Priority date (The priority date is an assumption and is not a legal conclusion. Google has not performed a legal analysis and makes no representation as to the accuracy of the date listed.)
Filing date
Publication date
Application filed by Qingdao Lixuan Electronic Technology Co ltd filed Critical Qingdao Lixuan Electronic Technology Co ltd
Priority to CN202121308202.4U priority Critical patent/CN214922471U/en
Application granted granted Critical
Publication of CN214922471U publication Critical patent/CN214922471U/en
Expired - Fee Related legal-status Critical Current
Anticipated expiration legal-status Critical

Links

Images

Landscapes

  • Packages (AREA)

Abstract

本实用新型公开了一种新型电表载波通讯模块外壳的组装工装,包括底座,所述底座的上部设置有两个支撑柱,两个所述支撑柱的顶部之间设置有支撑板,所述支撑板的底部设置有转盘,所述转盘的底部设置有两个第一电推杆,两个所述第一电推杆上均设置有夹持机构,所述夹持机构包括夹座、四个第二电推杆和四个固定板,所述夹座的底部两端均开设有第一滑槽,两个所述第一滑槽之间设置有第一滑动机构,所述第一滑动机构上设置有两个连接板,两个所述连接板的底部均开设有第二滑槽,两个所述第二滑槽内均设置有第二滑动机构,所述底座的上部开设有第三滑槽,所述第三滑槽内设置有第三滑动机构。本实用新型在使用时,提高了组装效率和其适用性。

Figure 202121308202

The utility model discloses a novel electric meter carrier communication module shell assembly tool, which comprises a base, the upper part of the base is provided with two support columns, a support plate is arranged between the tops of the two support columns, and the support The bottom of the plate is provided with a turntable, the bottom of the turntable is provided with two first electric push rods, and the two first electric push rods are provided with a clamping mechanism, and the clamping mechanism includes a clamping base, four The second electric push rod and the four fixing plates, both ends of the bottom of the clamping base are provided with first sliding grooves, and a first sliding mechanism is arranged between the two first sliding grooves, and the first sliding mechanism There are two connecting plates, the bottoms of the two connecting plates are both provided with second sliding grooves, the two second sliding grooves are provided with a second sliding mechanism, and the upper part of the base is provided with a third sliding groove. A chute, wherein a third sliding mechanism is arranged in the third chute. When the utility model is used, the assembling efficiency and the applicability thereof are improved.

Figure 202121308202

Description

Novel assembly tool for carrier communication module shell of electric meter
Technical Field
The utility model relates to a casing assembly technical field specifically is a novel assembly fixture of ammeter carrier communication module shell.
Background
When assembling ammeter carrier module shell, manual operation is usually carried out, not only needs a large amount of manpowers to the packaging efficiency is low, does not conform to the standard of enterprise development and production.
SUMMERY OF THE UTILITY MODEL
An object of the utility model is to provide a novel assembly fixture of ammeter carrier communication module shell to solve the problem of proposing among the above-mentioned background art.
In order to achieve the above object, the utility model provides a following technical scheme: an assembly tool for a novel electricity meter carrier communication module shell comprises a base, wherein two support columns are arranged at the upper part of the base, a support plate is arranged between the tops of the two support columns, the bottom of the supporting plate is provided with a turntable, the bottom of the turntable is provided with two first electric push rods, the two first electric push rods are both provided with a clamping mechanism, the clamping mechanism comprises a clamping seat, four second electric push rods and four fixing plates, first sliding grooves are formed in two ends of the bottom of the clamping seat, a first sliding mechanism is arranged between the two first sliding grooves, the first sliding mechanism is provided with two connecting plates, the bottoms of the two connecting plates are both provided with second sliding chutes, the two second sliding chutes are both provided with second sliding mechanisms, and a third sliding groove is formed in the upper part of the base, and a third sliding mechanism is arranged in the third sliding groove.
Preferably, the upper portion of backup pad is provided with first motor, be connected with the axis of rotation on the output shaft of first motor, the bottom of axis of rotation with the upper portion of carousel is connected.
Preferably, the top of the clamping seat is connected with the bottom end of the first electric push rod, a clamping groove is formed in the bottom of the clamping seat, the number of the second electric push rods is four, the second electric push rods are arranged on the inner wall of one side of the clamping groove respectively, and one side of each fixing plate is connected with one end of the corresponding second electric push rod respectively.
Preferably, the first sliding mechanism comprises a first rotating rod and two first sliding blocks, two ends of the first rotating rod are respectively connected with one side, away from each other, of the two first sliding grooves in a rotating mode, the two first sliding blocks are respectively arranged on the surfaces of two ends of the first rotating rod through opposite threads, the first sliding blocks are connected with the corresponding first sliding grooves in a sliding mode, and the bottoms of the two first sliding blocks are connected with the corresponding upper portion of the connecting plate.
Preferably, the second slide mechanism includes second dwang and two second sliders, the second dwang rotates to set up in the second spout, two the second slider is in through opposite screw thread setting respectively the both ends of second dwang, the second slider with second spout sliding connection, just the bottom of second slider is provided with third electric push rod, the bottom of third electric push rod is provided with the electric drill.
Preferably, the third slide mechanism includes third dwang and a plurality of third slider, the third dwang rotates to set up in the third spout, a plurality of the equal screw thread of third slider sets up on the third dwang, the third slider with third spout sliding connection, just the top of third slider is provided with places the seat, the standing groove has been seted up on the upper portion of placing the seat, the back of base is provided with the second motor, the output shaft of second motor with the one end of third dwang is connected.
Compared with the prior art, the beneficial effects of the utility model are that:
1. the utility model is provided with a first sliding mechanism and a second sliding mechanism, the spacing distance between the two electric drills at the left and right ends is adjusted through the first sliding mechanism, and then the spacing distance between the two electric drills at the inner and outer ends is adjusted through the second sliding mechanism, thereby improving the application range of the tool;
2. the utility model discloses still set up carousel, fixture and third slide mechanism simultaneously, fixture and third slide mechanism cooperation can go up the shell to the carrier wave module and carry out automatic equipment with lower shell, then change in turn through the carousel to the manpower has been saved and the packaging efficiency has been improved greatly.
Drawings
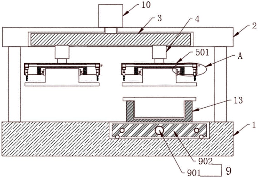
FIG. 1 is a schematic sectional view of the front view of the present invention;
FIG. 2 is an enlarged view of part A of FIG. 1;
FIG. 3 is a schematic side sectional view of the holder of the present invention;
fig. 4 is a schematic top sectional view of the base of the present invention.
In the figure: 1. a base; 2. a support plate; 3. a turntable; 4. a first electric push rod; 5. a clamping mechanism; 501. A holder; 502. a second electric push rod; 503. a fixing plate; 6. a first sliding mechanism; 601. a first rotating lever; 602. a first slider; 7. a connecting plate; 8. a second sliding mechanism; 801. a second rotating lever; 802. A second slider; 9. a third sliding mechanism; 901. a third rotating rod; 902. a third slider; 10. a first motor; 11. a third electric push rod; 12. an electric drill; 13. a placing seat; 14. a second motor.
Detailed Description
The technical solutions in the embodiments of the present invention will be described clearly and completely with reference to the accompanying drawings in the embodiments of the present invention, and it is obvious that the described embodiments are only some embodiments of the present invention, not all embodiments. Based on the embodiments in the present invention, all other embodiments obtained by a person skilled in the art without creative work belong to the protection scope of the present invention.
Referring to fig. 1-4, the present invention provides a technical solution: a novel assembly tool for an ammeter carrier communication module shell comprises a base 1, wherein two support columns are arranged on the upper portion of the base 1, a support plate 2 is arranged between the tops of the two support columns, a rotary table 3 is arranged at the bottom of the support plate 2, two first electric push rods 4 are arranged at the bottom of the rotary table 3, clamping mechanisms 5 are arranged on the two first electric push rods 4 respectively, each clamping mechanism 5 comprises a clamping seat 501, the two ends of the bottom of the clamping seat 501 are respectively provided with a first sliding chute, a first sliding mechanism 6 is arranged between the two first sliding chutes, the first sliding mechanism 6 is provided with two connecting plates 7, the bottoms of the two connecting plates 7 are respectively provided with a second sliding chute, a second sliding mechanism 8 is arranged in the two second sliding chutes, the upper part of the base 1 is provided with a third sliding chute, and a third sliding mechanism 9 is arranged in the third sliding chute;
the upper part of the supporting plate 2 is provided with a first motor 10, an output shaft of the first motor 10 is connected with a rotating shaft, the bottom end of the rotating shaft is connected with the upper part of the rotating disc 3, the top part of the clamping seat 501 is connected with the bottom end of the first electric push rod 4, the bottom part of the clamping seat 501 is provided with a clamping groove, four second electric push rods 502 are respectively arranged on the inner wall of one side of the clamping groove, one side of each fixing plate 503 is respectively connected with one end of the corresponding second electric push rod 502, the first sliding mechanism 6 comprises a first rotating rod 601 and two first sliding blocks 602, two ends of the first rotating rod 601 are respectively rotatably connected with the side, far away from each other, of the two first sliding blocks 602 are respectively arranged on the surfaces of two ends of the first rotating rod 601 through opposite threads, the first sliding blocks 602 are slidably connected with the corresponding first sliding grooves, the bottoms of the two first sliding blocks 602 are connected with the upper parts of the corresponding connecting plates 7, the second sliding mechanism 8 includes a second rotating rod 801 and two second sliding blocks 802, the second rotating rod 801 is rotatably installed in the second sliding slot, the two second sliding blocks 802 are respectively installed at two ends of the second rotating rod 801 through opposite threads, the second sliding blocks 802 are slidably connected with the second sliding slot, a third electric push rod 11 is arranged at the bottom of the second slide block 802, an electric drill 12 is arranged at the bottom end of the third electric push rod 11, a third sliding mechanism 9 comprises a third rotating rod 901 and a plurality of third slide blocks 902, the third rotating rod 901 is rotatably arranged in a third sliding chute, the plurality of third slide blocks 902 are all arranged on the third rotating rod 901 in a threaded manner, the third slide blocks 902 are connected with the third sliding chute in a sliding manner, and the top of the third slider 902 is provided with a placing seat 13, the upper part of the placing seat 13 is provided with a placing groove, the back of the base 1 is provided with a second motor 14, and the output shaft of the second motor 14 is connected with one end of the third rotating rod 901.
The working principle is as follows: the utility model is externally connected with a control device, before working, the space between four electric drills 12 can be adjusted according to the positions of the mounting holes arranged on the surfaces of the upper and lower shells, the space distance between the two electric drills 12 at the left and right ends is adjusted through a first sliding mechanism 6, then the space distance between the two electric drills 12 at the inner and outer ends is adjusted through a second sliding mechanism 8, thereby the application range of the tool is improved, in the working process, the first electric push rod 4 is extended to enable the clamp seat 501 to move down to the position for placing the lower shell, the clamp groove is abutted against the lower shell, then the upper shell is clamped through the second electric push rod 502 and the fixed plate 503, simultaneously, a worker places the fastening bolts in the four mounting holes on the upper shell, then the third electric push rod 11 is extended to abut the bottom end of the electric drill 12 against the top end of the fastening bolt, the lower shell is placed in the placing groove on the placing seat 13 in advance, through the second motor 14, third dwang 901 drives third slider 902 and moves the below of the good last shell of centre gripping, then first electric push rod 4 moves down, electric drill 12 rotates simultaneously, four fastening bolts aim at the mounting hole on the shell down at first, fastening bolts slowly enter into the mounting hole, it is slowly closed with lower shell to go up the shell simultaneously, accomplish the installation, remove by third slide mechanism 9 after the installation, first motor 10 rotates simultaneously, make carousel 3 rotate, with the good last shell holder 501 of another centre gripping, the next lower shell of treating the installation simultaneously sends to its below and carries out repetitive operation, and is convenient quick, and is efficient. The utility model discloses a when using, improved packaging efficiency and its suitability.
It is noted that, herein, relational terms such as first and second, and the like may be used solely to distinguish one entity or action from another entity or action without necessarily requiring or implying any actual such relationship or order between such entities or actions. Also, the terms "comprises," "comprising," or any other variation thereof, are intended to cover a non-exclusive inclusion, such that a process, method, article, or apparatus that comprises a list of elements does not include only those elements but may include other elements not expressly listed or inherent to such process, method, article, or apparatus.
Although embodiments of the present invention have been shown and described, it will be appreciated by those skilled in the art that changes, modifications, substitutions and alterations can be made in these embodiments without departing from the principles and spirit of the invention, the scope of which is defined in the appended claims and their equivalents.

Claims (6)

1. The utility model provides an equipment frock of novel ammeter carrier communication module shell, includes base (1), its characterized in that: the upper part of the base (1) is provided with two supporting columns, a supporting plate (2) is arranged between the tops of the two supporting columns, the bottom of the supporting plate (2) is provided with a turntable (3), the bottom of the turntable (3) is provided with two first electric push rods (4), the two first electric push rods (4) are respectively provided with a clamping mechanism (5), the clamping mechanism (5) comprises a clamping seat (501), four second electric push rods (502) and four fixing plates (503), both ends of the bottom of the clamping seat (501) are respectively provided with a first sliding chute, a first sliding mechanism (6) is arranged between the two first sliding chutes, the first sliding mechanism (6) is provided with two connecting plates (7), the bottoms of the two connecting plates (7) are respectively provided with a second sliding chute, and a second sliding mechanism (8) is arranged in the two second sliding chutes, and a third sliding groove is formed in the upper part of the base (1), and a third sliding mechanism (9) is arranged in the third sliding groove.
2. The assembly tool for the novel electric meter carrier communication module shell according to claim 1, is characterized in that: the upper portion of backup pad (2) is provided with first motor (10), be connected with the axis of rotation on the output shaft of first motor (10), the bottom of axis of rotation with the upper portion of carousel (3) is connected.
3. The assembly tool for the novel electric meter carrier communication module shell according to claim 1, is characterized in that: the top of the clamping seat (501) is connected with the bottom end of the first electric push rod (4), a clamping groove is formed in the bottom of the clamping seat (501), the four second electric push rods (502) are arranged on the inner wall of one side of the clamping groove respectively, and one side of each fixing plate (503) is connected with one end of the corresponding second electric push rod (502).
4. The assembly tool for the novel electric meter carrier communication module shell according to claim 1, is characterized in that: first slide mechanism (6) include first pivot pole (601) and two first slider (602), the both ends of first pivot pole (601) respectively with two one side rotation connection, two that first spout was kept away from each other first slider (602) are in through opposite screw thread setting respectively the both ends surface of first pivot pole (601), first slider (602) and corresponding first spout sliding connection, two first slider (602) bottom and corresponding the upper portion of connecting plate (7) is connected.
5. The assembly tool for the novel electricity meter carrier communication module shell as claimed in claim 4, wherein the assembly tool comprises: second slide mechanism (8) include second dwang (801) and two second sliders (802), second dwang (801) rotate to set up in the second spout, two second slider (802) are in through opposite screw thread setting respectively the both ends of second dwang (801), second slider (802) with second spout sliding connection, just the bottom of second slider (802) is provided with third electric putter (11), the bottom of third electric putter (11) is provided with electric drill (12).
6. The assembly tool for the novel electric meter carrier communication module shell according to claim 1, is characterized in that: the third sliding mechanism (9) comprises a third rotating rod (901) and a plurality of third sliding blocks (902), the third rotating rod (901) is rotatably arranged in the third sliding groove, the plurality of third sliding blocks (902) are all arranged on the third rotating rod (901) in a threaded manner, the third sliding blocks (902) are slidably connected with the third sliding groove, a placing seat (13) is arranged at the top of the third sliding blocks (902), the upper part of the placing seat (13) is provided with a placing groove, the back of the base (1) is provided with a second motor (14), and the output shaft of the second motor (14) is connected with one end of the third rotating rod (901).
CN202121308202.4U 2021-06-09 2021-06-09 A new type of assembly tool for the shell of the carrier communication module of the electric meter Expired - Fee Related CN214922471U (en)

Priority Applications (1)

Application Number Priority Date Filing Date Title
CN202121308202.4U CN214922471U (en) 2021-06-09 2021-06-09 A new type of assembly tool for the shell of the carrier communication module of the electric meter

Applications Claiming Priority (1)

Application Number Priority Date Filing Date Title
CN202121308202.4U CN214922471U (en) 2021-06-09 2021-06-09 A new type of assembly tool for the shell of the carrier communication module of the electric meter

Publications (1)

Publication Number Publication Date
CN214922471U true CN214922471U (en) 2021-11-30

Family

ID=79053730

Family Applications (1)

Application Number Title Priority Date Filing Date
CN202121308202.4U Expired - Fee Related CN214922471U (en) 2021-06-09 2021-06-09 A new type of assembly tool for the shell of the carrier communication module of the electric meter

Country Status (1)

Country Link
CN (1) CN214922471U (en)

Similar Documents

Publication Publication Date Title
CN210232232U (en) Numerical control turntable
CN214922471U (en) A new type of assembly tool for the shell of the carrier communication module of the electric meter
CN211728795U (en) A frock clamp for automobile parts processing
CN209936222U (en) Rotary tool clamp
CN208895636U (en) Novel clamp is used in a kind of machining
CN207577842U (en) An adsorption type automatic locking screw machine
CN210549619U (en) Crankcase adds clamping apparatus
CN114192850B (en) A CNC Rotary Milling Machine Tool Based on Edge Machining of Metal Materials
CN221516968U (en) Metal processing clamp convenient to operate
CN213764981U (en) A rotary clamping device for a CNC machining center
CN209424677U (en) A kind of clutch operating pin hole machined auxiliary device
CN215433370U (en) Assembled automobile parts frock tool
CN221364541U (en) Cylindrical inner cylinder steam seal machining tool
CN210499151U (en) Locking mechanism for screw locking robot
CN219358012U (en) Annular part drilling equipment
CN201268411Y (en) Automatic test packing machine for electronic component
CN217513434U (en) Two-hole fixing and limiting tool for grooved drum box cover plate of textile machinery
CN221494965U (en) Screw gasket installation device
CN218698580U (en) Automobile part tool convenient to adjust
CN220613938U (en) Mobile phone battery cover fixing structure
CN218470808U (en) Dielectric charge-discharge test tool
CN220944969U (en) Clamp for machining shell of adjustable ultrasonic water meter
CN221952782U (en) A rotatably adjustable flange processing and drilling device
CN215509052U (en) Vertical processing drilling equipment of differential mechanism casing
CN221192303U (en) Jig device for vacuum coating production

Legal Events

Date Code Title Description
GR01 Patent grant
GR01 Patent grant
CF01 Termination of patent right due to non-payment of annual fee
CF01 Termination of patent right due to non-payment of annual fee

Granted publication date: 20211130