CN214858061U - A disposable multifunctional toilet - Google Patents

A disposable multifunctional toilet Download PDF

Info

Publication number
CN214858061U
CN214858061U CN202120448691.7U CN202120448691U CN214858061U CN 214858061 U CN214858061 U CN 214858061U CN 202120448691 U CN202120448691 U CN 202120448691U CN 214858061 U CN214858061 U CN 214858061U
Authority
CN
China
Prior art keywords
patient
wall
urine
diaper
ring
Prior art date
Legal status (The legal status is an assumption and is not a legal conclusion. Google has not performed a legal analysis and makes no representation as to the accuracy of the status listed.)
Expired - Fee Related
Application number
CN202120448691.7U
Other languages
Chinese (zh)
Inventor
高超
孙盈红
吕源
Current Assignee (The listed assignees may be inaccurate. Google has not performed a legal analysis and makes no representation or warranty as to the accuracy of the list.)
Beijing Youan Hospital
Original Assignee
Beijing Youan Hospital
Priority date (The priority date is an assumption and is not a legal conclusion. Google has not performed a legal analysis and makes no representation as to the accuracy of the date listed.)
Filing date
Publication date
Application filed by Beijing Youan Hospital filed Critical Beijing Youan Hospital
Priority to CN202120448691.7U priority Critical patent/CN214858061U/en
Application granted granted Critical
Publication of CN214858061U publication Critical patent/CN214858061U/en
Expired - Fee Related legal-status Critical Current
Anticipated expiration legal-status Critical

Links

Images

Landscapes

  • Orthopedics, Nursing, And Contraception (AREA)

Abstract

本实用新型公开了一种一次性多功能集便器,包括前尿片、后垫片和松紧带,前尿片的两端均通过松紧带和后垫片相连接,还包括尿液收集机构,尿液收集机构被装配用于收集并储存患者尿液。本实用提供的一次性多功能集便器,通过尿液收集机构将患者的尿液进行收集,并通过连接阀门连接收集袋,可以将患者的尿液进行集中收集,并可以通过调节阀调节连接阀门内的流速,可以根据患者的尿液量进行排放速度的调节,能更方便的收集患者的尿液,防漏环内壁设置的收集垫可以将患者的粪便进行收集,防粘层外侧涂覆有硅油层,可以防止患者的粪便粘连到收集垫上,可以方便医护人员对患者的粪便进行称重,结构简单,便于使用。

Figure 202120448691

The utility model discloses a disposable multifunctional toilet collector, which comprises a front diaper, a rear gasket and an elastic band. The collection mechanism is configured to collect and store patient urine. The disposable multifunctional toilet collector provided by the utility model collects the urine of the patient through the urine collection mechanism, and connects the collection bag through the connecting valve, so that the urine of the patient can be collected in a centralized manner, and the connecting valve can be adjusted through the regulating valve. The flow rate inside can be adjusted according to the patient's urine volume, which can collect the patient's urine more conveniently. The collection pad set on the inner wall of the leak-proof ring can collect the patient's feces. The silicone oil layer can prevent the patient's feces from adhering to the collection pad, and can facilitate medical staff to weigh the patient's feces. The structure is simple and easy to use.

Figure 202120448691

Description

Disposable multifunctional excrement collector
Technical Field
The utility model relates to the technical field of medical equipment production, relate to a disposable multi-functional excrement collector particularly.
Background
In the infectious department of hospital, because the patient all is the infectious disease patient, in medical personnel working process, medical personnel often can contact patient's body fluid and blood, because with patient's body fluid blood contact, just increased medical personnel's infection risk, in nursing work, medical personnel usually can advise the patient and use the bedpan to make things convenient for the patient to solve the physiology demand.
In the nursing process of medical staff, in particular to the digestive system, the medical staff often takes care of critical patients such as digestive tract hemorrhage, in the nursing process, because the patients have diseases in the digestive tract, the bedpan can not be well used, the patients are inconvenient to wash the bedpan, the risk of cross infection is increased, meanwhile, in the using process of the patients, the pressure injury is easily caused to the patients, because the bedpan is used by the patients in bed, the possibility of urine leakage easily occurs in the defecation process, so that bed sheet pollution is caused, meanwhile, certain patients need to weigh the excrement of the patients, the excrement collected by using the bedpan can not be convenient for the medical staff to weigh, the workload of the medical staff is increased, therefore, the disposable multifunctional excrement collector is provided, the aim is to solve the diseases of the patients in the digestive tract, the bedpan can not be well used, and the patients are also inconvenient to wash the bedpan, the risk of cross infection is increased, simultaneously in patient's use, cause the pressure nature damage to the patient easily, because the patient lies in bed and uses the bedpan, in the defecation in-process, the easy possibility that appears the urine just seepage leads to causing the problem of sheet pollution.
SUMMERY OF THE UTILITY MODEL
In view of the above-mentioned problem that prior art exists, an aspect of the utility model aims to provide a disposable multi-functional excrement collector, aim at solving the patient and at the disease of alimentary canal, can not use the bedpan well, the patient washes the bedpan also very inconvenient, has increased cross infection's risk, simultaneously in patient's use, cause the pressure nature damage to the patient easily, because the patient lies in bed and uses the bedpan, at the defecation in-process, the easy possibility that the urine just seepage appears leads to causing the problem of bed sheet pollution.
Technical scheme
In order to realize the above-mentioned purpose, the utility model provides a pair of disposable multi-functional excrement collector, including preceding diaper, back gasket and elastic cord, the both ends of preceding diaper all are connected through elastic cord and back gasket, still include urine collection mechanism, urine collection mechanism is assembled and is used for collecting and storing patient's urine.
As preferred, the urine is collected the mechanism and is detained, connection valve and governing valve including collection layer, leak protection water ring, C type, collection layer fixed mounting in the inner wall of preceding diaper one side, leak protection water ring set up in the inner wall of preceding diaper one side, the C type detain fixed mounting in the outer wall of leak protection water ring one side, just the C type detain with preceding diaper keeps fixed connection, connection valve fixed mounting in the inner wall of preceding diaper one side, just connection valve with it is linked together to collect the layer, connection valve's one end runs through and extends to the outer wall of preceding diaper one side, governing valve fixed mounting in connection valve is located the one end of preceding diaper one side outer wall.
Preferably, the inner wall of one side of the rear gasket is provided with a leakage-proof ring, the inner wall of one side of the leakage-proof ring is pasted with a collecting pad, and the outer wall of one side of the collecting pad is provided with an anti-sticking layer.
Preferably, the outer wall of one side of the front diaper is provided with an observation piece, the outer wall of one side of the observation piece is provided with scales, and the observation piece is made of transparent plastic materials integrally.
Preferably, the water leakage prevention ring and the C-shaped buckle are made of skin-friendly silica gel integrally.
Preferably, the leakage-proof ring is integrally made of skin-friendly silica gel.
Advantageous effects
Compared with the prior art, the utility model provides a pair of disposable multi-functional excrement collector possesses following beneficial effect:
1. the utility model discloses a, collect the urine of mechanism with the patient through the urine to connect through the connecting valve and collect the bag, can concentrate the collection with the urine of patient, and can adjust the velocity of flow in the connecting valve through the governing valve, can carry out the regulation of discharge velocity according to patient's urine volume, collection patient's urine that can be more convenient.
2. The utility model discloses a, the collection pad that leak protection ring inner wall set up can be collected patient's excrement and urine, and the coating in the antiseized layer outside has the silicone layer, can prevent that patient's excrement and urine from gluing to connect to collect and stacking up, can make things convenient for medical personnel to weigh patient's excrement and urine.
3. The utility model discloses a, simple structure, convenient to use can be convenient for the producer simultaneously and produce, has better economic benefits.
It is to be understood that both the foregoing general description and the following detailed description are exemplary and explanatory only and are not restrictive of the disclosure.
This document provides an overview of various implementations or examples of the technology described in this disclosure, and is not a comprehensive disclosure of the full scope or all features of the disclosed technology.
Drawings
FIG. 1 is a schematic perspective view of the present invention;
fig. 2 is a schematic plan view of the present invention;
fig. 3 is a schematic side view of the present invention.
The main reference numbers:
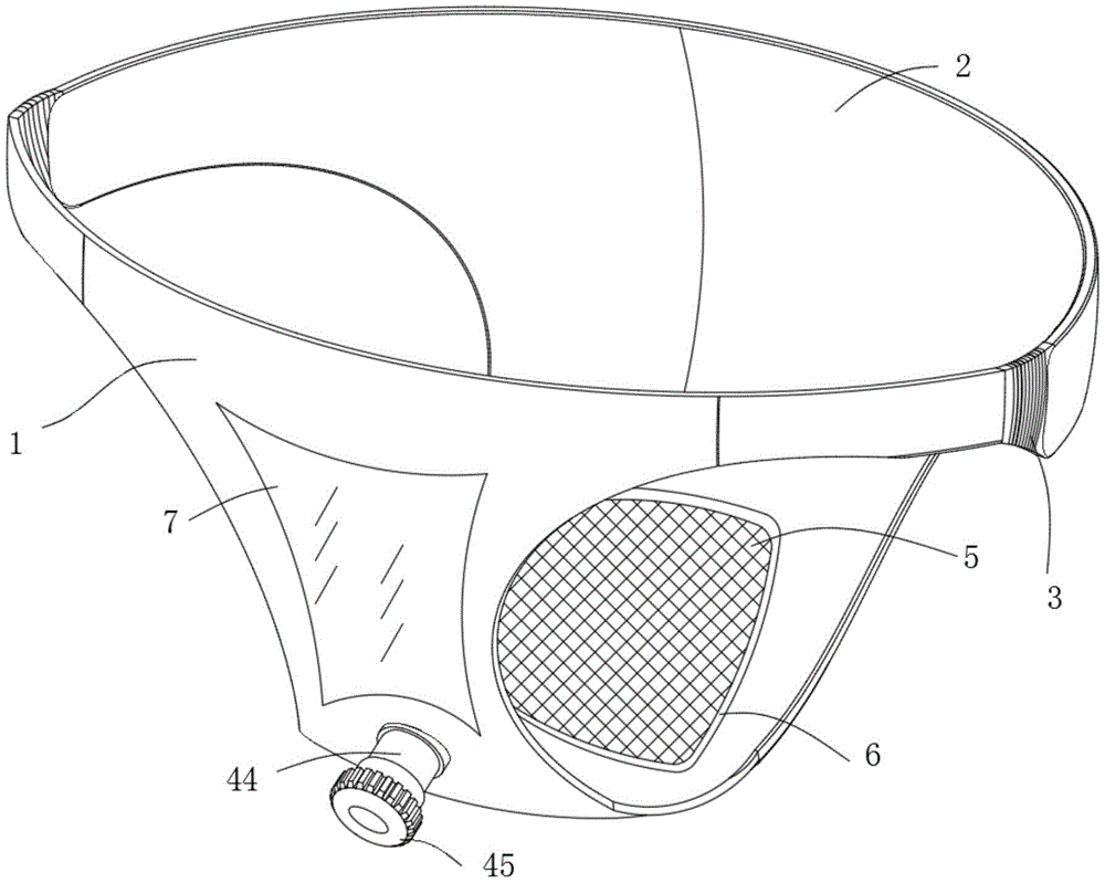
1. a front diaper; 2. a rear gasket; 3. elastic bands; 4. a urine collection mechanism; 41. a collection layer; 42. a water leakage prevention ring; 43. c-shaped buckles; 44. connecting a valve; 45. adjusting a valve; 5. a leakage-proof ring; 6. a collection pad; 7. and (6) observing the sheet.
Detailed Description
In order to make the objects, technical solutions and advantages of the embodiments of the present disclosure more clear, the technical solutions of the embodiments of the present disclosure will be described below clearly and completely with reference to the accompanying drawings of the embodiments of the present disclosure. It is to be understood that the described embodiments are only a few embodiments of the present disclosure, and not all embodiments. All other embodiments, which can be derived by a person skilled in the art from the described embodiments of the disclosure without any inventive step, are within the scope of protection of the disclosure.
Unless otherwise defined, technical or scientific terms used herein shall have the ordinary meaning as understood by one of ordinary skill in the art to which this disclosure belongs. The use of the word "comprising" or "comprises", and the like, in this disclosure is intended to mean that the elements or items listed before that word, include the elements or items listed after that word, and their equivalents, without excluding other elements or items. The terms "connected" or "coupled" and the like are not restricted to physical or mechanical connections, but may also include electrical connections, whether direct or indirect. "upper", "lower", "left", "right", and the like are used merely to indicate relative positional relationships, and when the absolute position of the object being described is changed, the relative positional relationships may also be changed accordingly.
To maintain the following description of the embodiments of the present disclosure clear and concise, a detailed description of known functions and known components have been omitted from the present disclosure.
Referring to fig. 1-3, a disposable multifunctional feces collector comprises a front diaper 1, a rear gasket 2 and an elastic band 3, wherein both ends of the front diaper 1 are connected with the rear gasket 2 through the elastic band 3, and the disposable multifunctional feces collector is characterized by further comprising a urine collecting mechanism 4, wherein the urine collecting mechanism 4 is assembled to collect and store urine of a patient. After the patient finishes wearing, collect mechanism 4 through the urine and collect the urine of patient to connect through connecting valve 44 and collect the bag, can concentrate the collection with the urine of patient, and can adjust the velocity of flow in the connecting valve 44 through governing valve 45, can carry out the regulation of discharge rate according to patient's urine volume, the more convenient urine of collecting the patient of ability.
As shown in fig. 1 and 2, the utility model discloses in the technical scheme that further proposes, mechanism 4 is collected including collecting layer 41 to the urine, leak protection water ring 42, 43 is detained to the C type, connecting valve 44 and governing valve 45, collect the inner wall of layer 41 fixed mounting in front diaper 1 one side, leak protection water ring 42 sets up in the inner wall of front diaper 1 one side, 43 fixed mounting is detained in the outer wall of leak protection water ring 42 one side to the C type, and the C type detains 43 and front diaper 1 keeps fixed connection, connecting valve 44 fixed mounting is in the inner wall of front diaper 1 one side, and connecting valve 44 is linked together with collecting layer 41, the one end of connecting valve 44 runs through and extends to the outer wall of front diaper 1 one side, governing valve 45 fixed mounting is in the one end that connecting valve 44 is located front diaper 1 one side outer wall. After the patient wears the device, the water leakage prevention ring 42 can wrap the perineum of the patient, one end of the C-shaped buckle 43 is positioned in front of the anus of the patient, the urine of the patient can be reserved in the water leakage prevention ring 42, and meanwhile, the excrement discharged by the anus of the patient can be prevented from entering the water leakage prevention ring 42, so that the reproductive organs of the patient are completely wrapped in the water leakage prevention ring 42, when the patient urinates, the patient directly excretes the urine into the collection layer 41, because the collection layer 41 is surrounded by the water leakage prevention ring 42, after the patient wears the device, the water leakage prevention ring 42 wraps the perineum of the patient, and the C-shaped buckle 43 separates the perineum and the anus of the patient, after the patient urinates, the urine can be positioned in the collection layer 41, meanwhile, medical personnel can connect the drainage tube through the connection valve 44 to collect the urine, when the urine of the patient is too much, the flow rate of the connecting valve 44 can be adjusted by the regulating valve 45 to prevent leakage due to excessive urine.
As shown in fig. 1 and 2, the utility model discloses in the further technical scheme that provides, the inner wall of back gasket 2 one side is provided with leak protection ring 5, and the inner wall of leak protection ring 5 one side is pasted and is had collection pad 6, and the outer wall of collecting pad 6 one side is provided with antiseized layer. The collection pad 6 that 5 inner walls of leak protection ring set up can collect patient's excrement and urine, and the coating in antiseized layer outside has the silicone layer, can prevent that patient's excrement and urine from gluing to collecting on filling up 6, can make things convenient for medical personnel to weigh patient's excrement and urine.
As shown in fig. 1, the utility model discloses in the further technical scheme that proposes, the outer wall of preceding diaper 1 one side is provided with observes piece 7, and the outer wall of observing piece 7 one side is provided with the scale, observes piece 7 and makes for transparent plastic material an organic whole. The scale that observation piece 7 outer wall set up can make things convenient for medical personnel to observe the volume of collecting the inside urine of collection layer 41 to make things convenient for medical personnel to adjust the flow of connecting valve 44 according to patient's urine.
As shown in fig. 3, the utility model further provides a technical solution in which the water leakage preventing ring 42 and the C-shaped buckle 43 are made of skin-friendly silica gel integrally. The leakage-proof ring 5 is made of skin-friendly silica gel integrally. The leak protection water ring 42, the C-shaped buckle 43 and the leak protection ring 5 made of the skin-friendly silica gel can reduce discomfort of a patient in the using process, and meanwhile, the leak protection water ring 42, the C-shaped buckle 43 and the leak protection ring 5 can be tightly attached to the skin of the patient due to certain shaping and elasticity of the silica gel, so that urine and excrement leakage is prevented.
The working principle is as follows:
the first step is as follows: after the patient wears the disposable diaper, the perineum of the patient can be wrapped by the water leakage preventing ring 42, one end of the C-shaped buckle 43 is positioned in front of the anus of the patient, the reproductive organ of the patient is completely wrapped in the water leakage preventing ring 42, and when the patient urinates, the patient directly excretes urine into the collecting layer 41, and the collecting layer 41 is surrounded by the water leakage preventing ring 42.
The second step is that: after the patient is accomplished and is dressed, leak protection water ring 42 has formed the parcel with patient's perineum again, and detains 43 through the C type and separate patient's perineum and anus, so after patient urinates, the urine can be located and collect layer 41, and medical personnel can connect the drainage tube through connecting valve 44 simultaneously, collects the urine, when patient's urine is too much, can adjust the velocity of flow of connecting valve 44 through governing valve 45 to prevent that the urine is too much to cause the leakage.
The third step: the collection pad 6 that 5 inner walls of leak protection ring set up can collect patient's excrement and urine, and the coating in antiseized layer outside has the silicone layer, can prevent that patient's excrement and urine from gluing to collecting on filling up 6, can make things convenient for medical personnel to weigh patient's excrement and urine.
It will be appreciated by those skilled in the art that other similar connections may be used to implement the present invention. Such as welding, bonding, or screwing.
The above embodiments are merely exemplary embodiments of the present invention, which is not intended to limit the present invention, and the scope of the present invention is defined by the appended claims. Various modifications and equivalents may be made by those skilled in the art to the present invention without departing from the spirit and scope of the invention, and such modifications and equivalents should be considered to be within the scope of the invention.

Claims (6)

1. The utility model provides a disposable multi-functional excrement collector, includes preceding diaper (1), back gasket (2) and elastic cord (3), the both ends of preceding diaper (1) all are connected through elastic cord (3) and back gasket (2), its characterized in that still includes urine collection mechanism (4), urine collection mechanism (4) are assembled and are used for collecting and storing patient's urine.
2. The disposable multifunctional feces collector of claim 1, wherein the urine collection mechanism (4) comprises a collection layer (41), a water leakage prevention ring (42), a C-shaped buckle (43), a connection valve (44) and a regulating valve (45), the collection layer (41) is fixedly arranged on the inner wall of one side of the front diaper (1), the water leakage prevention ring (42) is arranged on the inner wall of one side of the front diaper (1), the C-shaped buckle (43) is fixedly arranged on the outer wall of one side of the water leakage prevention ring (42), the C-shaped buckle (43) is fixedly connected with the front diaper (1), the connection valve (44) is fixedly arranged on the inner wall of one side of the front diaper (1), the connection valve (44) is communicated with the collection layer (41), one end of the connection valve (44) penetrates through and extends to the outer wall of one side of the front diaper (1), the adjusting valve (45) is fixedly arranged at one end of the connecting valve (44) which is positioned at the outer wall of one side of the front diaper (1).
3. The disposable multifunctional excrement collector as claimed in claim 1, wherein a leakage-proof ring (5) is disposed on the inner wall of one side of said back gasket (2), a collecting pad (6) is adhered on the inner wall of one side of said leakage-proof ring (5), and an anti-sticking layer is disposed on the outer wall of one side of said collecting pad (6).
4. The disposable multifunctional excrement collector as claimed in claim 1, wherein an observation sheet (7) is arranged on the outer wall of one side of said front diaper (1), scales are arranged on the outer wall of one side of said observation sheet (7), and said observation sheet (7) is made of transparent plastic material and is made of one piece.
5. The disposable multifunctional excrement collector as claimed in claim 2, wherein said water-leakage-proof ring (42) and C-shaped button (43) are made of skin-friendly silicone.
6. The disposable multifunctional excrement collector as claimed in claim 3, wherein said leakproof ring (5) is made of skin-friendly silica gel integrally.
CN202120448691.7U 2021-03-02 2021-03-02 A disposable multifunctional toilet Expired - Fee Related CN214858061U (en)

Priority Applications (1)

Application Number Priority Date Filing Date Title
CN202120448691.7U CN214858061U (en) 2021-03-02 2021-03-02 A disposable multifunctional toilet

Applications Claiming Priority (1)

Application Number Priority Date Filing Date Title
CN202120448691.7U CN214858061U (en) 2021-03-02 2021-03-02 A disposable multifunctional toilet

Publications (1)

Publication Number Publication Date
CN214858061U true CN214858061U (en) 2021-11-26

Family

ID=78856304

Family Applications (1)

Application Number Title Priority Date Filing Date
CN202120448691.7U Expired - Fee Related CN214858061U (en) 2021-03-02 2021-03-02 A disposable multifunctional toilet

Country Status (1)

Country Link
CN (1) CN214858061U (en)

Similar Documents

Publication Publication Date Title
US20010037098A1 (en) Urine retention and collection devices for incontinent women
US20170196726A1 (en) Unisex external urine collection apparatus
CN209899730U (en) Female urine collector
CN201168107Y (en) Urine collector for male patient of urinary incontinence
CN214858061U (en) A disposable multifunctional toilet
CN202191395U (en) Horizontal type urination device for men
CN209695860U (en) A kind of vomiting special bag for digestion internal medicine
CN210044238U (en) Urine receiving diaper for gynecological and obstetrical nursing
CN215606739U (en) Urine collecting trousers with alarm function
CN209864233U (en) Urine collecting device for puerpera nursing
CN2772471Y (en) Leakproof urine collector
CN215131261U (en) Combined stoma drainage device
CN202146382U (en) Flushable ostomy bag
CN213641512U (en) Special urine collecting bag for male patient
CN221266419U (en) External urine device for male patient
CN215080610U (en) Urinary tract ostomy bag replacement assistor
CN219439651U (en) Male urine leakage-proof nursing bag
CN215535491U (en) Excrement bag for severe patients
CN101548919B (en) Practical mail urinal
CN213911008U (en) Portable universal bed urinal
CN219662034U (en) Urine collection device
CN215651257U (en) A urine collection device for female urinary incontinence patients
CN221672235U (en) A skin-fitting conical urine bag
CN210019885U (en) Gas-liquid separation ostomy bag
CN215741281U (en) Urinary catheter device is kept somewhere in leak protection urine

Legal Events

Date Code Title Description
GR01 Patent grant
GR01 Patent grant
CF01 Termination of patent right due to non-payment of annual fee
CF01 Termination of patent right due to non-payment of annual fee

Granted publication date: 20211126