CN214857460U - A speculum placement stand - Google Patents

A speculum placement stand Download PDF

Info

Publication number
CN214857460U
CN214857460U CN202120888116.9U CN202120888116U CN214857460U CN 214857460 U CN214857460 U CN 214857460U CN 202120888116 U CN202120888116 U CN 202120888116U CN 214857460 U CN214857460 U CN 214857460U
Authority
CN
China
Prior art keywords
speculum
vaginal speculum
sliding block
support frame
groove
Prior art date
Legal status (The legal status is an assumption and is not a legal conclusion. Google has not performed a legal analysis and makes no representation as to the accuracy of the status listed.)
Expired - Fee Related
Application number
CN202120888116.9U
Other languages
Chinese (zh)
Inventor
磨艳
蒙淑珍
周晓叶
黄淑蓓
廖思琦
Current Assignee (The listed assignees may be inaccurate. Google has not performed a legal analysis and makes no representation or warranty as to the accuracy of the list.)
Guangxi Maternal and Child Health Hospital
Original Assignee
Guangxi Maternal and Child Health Hospital
Priority date (The priority date is an assumption and is not a legal conclusion. Google has not performed a legal analysis and makes no representation as to the accuracy of the date listed.)
Filing date
Publication date
Application filed by Guangxi Maternal and Child Health Hospital filed Critical Guangxi Maternal and Child Health Hospital
Priority to CN202120888116.9U priority Critical patent/CN214857460U/en
Application granted granted Critical
Publication of CN214857460U publication Critical patent/CN214857460U/en
Expired - Fee Related legal-status Critical Current
Anticipated expiration legal-status Critical

Links

Images

Landscapes

  • Orthopedics, Nursing, And Contraception (AREA)
  • Surgical Instruments (AREA)

Abstract

本实用新型公开了一种窥阴器放置架,属于医疗辅助设备技术领域。所述窥阴器放置架包括底板,底板上设有便于窥阴器一端插入的插孔和用于支撑窥阴器另一端的支撑架,所述插孔的内壁上设有弹性层,所述支撑架上设有第一凹槽,所述支撑架的底部设有滑块,所述底板上设有供滑块移动的滑槽;所述窥阴器放置架还包括用于固定滑块的固定装置。本实用新型可解决目前医护人员戴上无菌手套后慢慢将窥阴器拿出的过程中操作不方便、容易碰到有菌的外包装塑料袋的问题,或解决了无菌材料的浪费问题,使得操作时方便拿取窥阴器,操作中取放在放置架上避免了污染区域。放置架可灵活摆放在操作者的左右两侧,方便操作,避免跨越无菌区域。

Figure 202120888116

The utility model discloses a speculum placing rack, which belongs to the technical field of medical auxiliary equipment. The speculum placing rack comprises a bottom plate, the bottom plate is provided with a jack for inserting one end of the speculum and a support frame for supporting the other end of the speculum, an elastic layer is arranged on the inner wall of the jack, and the The support frame is provided with a first groove, the bottom of the support frame is provided with a sliding block, and the bottom plate is provided with a sliding groove for the sliding block to move; the speculum placing frame also includes a sliding block for fixing the sliding block. Fixtures. The utility model can solve the problems of inconvenient operation and easy to touch the outer packaging plastic bag with bacteria during the process of slowly taking out the speculum after the medical staff puts on sterile gloves, or solves the waste of sterile materials The problem is that it is convenient to take the speculum during operation, and it can be taken and placed on the placement rack during operation to avoid contamination of the area. The placement rack can be flexibly placed on the left and right sides of the operator, which is convenient for operation and avoids crossing the sterile area.

Figure 202120888116

Description

Vaginal speculum placing rack
Technical Field
The utility model belongs to the technical field of medical auxiliary assembly technique and specifically relates to a peep vulva organ rack is related to.
Background
Gynecological examination mainly comprises abdominal examination and pelvic examination, examination of vulva, vagina, cervix, uterus, fallopian tube, ovary, parauterine tissue and pelvic cavity inner wall, and early diagnosis, prevention and early treatment of some gynecological diseases. During gynecological examinations, doctors often examine the vulva and vagina of a patient to determine the cause.
At present in the vaginal examination process to the patient, the vaginal speculum of commonly used, owing to need guarantee when carrying out vaginal examination go on under sterile condition, medical personnel generally adopt following two kinds of operation modes when using the vaginal examination at present: first, medical personnel is when the operation, by all will wear aseptic gloves, wear to touch the extranal packing of peeping the vulva ware again for preventing to pollute behind the aseptic gloves, consequently medical personnel need in advance (before wearing aseptic gloves) open an opening on the extranal packing, the hand of rethread wearing aseptic gloves will slowly peep the vulva ware and take out, this in-process need guarantee can not touch the extranal packing plastic bag that has the fungus, however this kind of operation mode is operated and can be very inconvenient, be difficult to avoid touch the extranal packing plastic bag that has the fungus. Secondly, the partial medical personnel select to open the extranal packing of peeping the vulva ware earlier for avoiding adopting the inconvenience that first kind of mode brought, hold the extranal packing and will peep the vulva ware and pour out to an aseptic pad list or aseptic pad paper on, wear aseptic gloves again, however this kind of mode can cause extravagant aseptic material (aseptic pad list or aseptic pad paper), consequently, need to develop a peep the vulva ware rack, make and peep the vulva ware and have fixed placer to solve above-mentioned problem.
Disclosure of Invention
The utility model aims at the above-mentioned problem, a peep vulva ware rack is provided, should peep vulva ware rack can solve present medical personnel and wear after the aseptic gloves slowly will peep the in-process operation inconvenient, touch the problem of having the extravagant plastic bag of fungus easily of vulva ware and take out, or solved aseptic material's extravagant problem, and the placing of the applicable not equidimension vulva ware of peeping.
In order to realize the purpose, the utility model discloses a technical scheme as follows:
a vaginal speculum holder comprises a bottom plate, wherein a jack into which one end of a vaginal speculum can be conveniently inserted and a support frame for supporting the other end of the vaginal speculum are arranged on the bottom plate; the vaginal speculum placing frame further comprises a fixing device for fixing the sliding block.
Further, fixing device is the bolt, set up the through-hole that supplies the bolt to pass on the slider, all be equipped with the internal thread on the inner wall of through-hole.
Furthermore, the fixing device comprises a cross rod and a fixing plate, one end of the cross rod is hinged to one side of the sliding block, the fixing plate is arranged on the bottom plate, and one end, far away from the sliding block, of the cross rod can be inserted into the fixing plate.
Furthermore, aseptic cotton cloth is arranged on the jack and the first groove.
Furthermore, the elastic layer is made of sponge, rubber or silica gel.
Further, the first groove is an arc-shaped groove.
Furthermore, the two sides of the bottom plate between the jack and the support frame are also provided with baffle plates for preventing the vaginal speculum from shaking.
Due to the adoption of the technical scheme, the utility model discloses following beneficial effect has:
the utility model discloses a set up the bottom plate of seting up the jack and set up the support frame on the bottom plate, make the both ends of peeping the external genitals can be fixed in on the recess of jack and support frame respectively, it is inconvenient slowly to peep the in-process operation that the external packaging plastic bag that has the fungus was taken out after aseptic gloves are worn to have solved present medical personnel, or the extravagant problem of aseptic material has been solved, make convenient taking peep the external genitals during the operation, get in the operation and put and avoided the pollution area on the rack, the rack can be put in a flexible way in operator's the left and right sides, convenient operation, avoid striding across aseptic region. The sliding block is arranged at the bottom of the supporting frame, and the sliding groove for the sliding block to move is arranged on the bottom plate, so that the utility model is suitable for the placement of vaginoscope with different sizes, and has wide application range; after the sliding block moves to a proper position, the sliding block can be fixed through the fixing device, the sliding block is prevented from being easily influenced by the outside to move, and the placed vaginal speculum is prevented from falling. Furthermore, through the utility model discloses place and peep the external genitals, can assist doctor's inspection patient's vulva and vagina, the holding power is strong, and is supplementary effectual to in the etiology of diagnosing the patient, avoid the inspection to make mistakes.
Drawings
Fig. 1 is a schematic structural view of a vaginal speculum holder according to embodiment 1 of the present invention;
fig. 2 is a schematic structural view of a vaginal speculum holder according to embodiment 2 of the present invention;
fig. 3 is a schematic structural view of a vaginal speculum holder according to embodiment 3 of the present invention;
fig. 4 is a schematic structural view of a vaginal speculum holder according to embodiment 3 of the present invention when a vaginal speculum is placed;
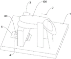
in the attached drawing, 100-vaginal speculum, 1-base plate, 2-jack, 21-elastic layer, 3-support frame, 31-first groove, 4-slide block, 5-slide groove, 61-cross bar, 62-fixing plate, 63-bolt, 7-baffle.
Detailed Description
The technical solutions in the embodiments of the present invention will be described clearly and completely with reference to the accompanying drawings in the embodiments of the present invention, and it is obvious that the described embodiments are only some embodiments of the present invention, not all embodiments. Based on the embodiments in the present invention, all other embodiments obtained by a person skilled in the art without creative work belong to the protection scope of the present invention.
It will be understood that when an element is referred to as being "secured to" another element, it can be directly on the other element or intervening elements may also be present. When a component is referred to as being "connected" to another component, it can be directly connected to the other component or intervening components may also be present. When a component is referred to as being "disposed on" another component, it can be directly on the other component or intervening components may also be present. The terms "vertical," "horizontal," "left," "right," and the like as used herein are for illustrative purposes only.
Unless defined otherwise, all technical and scientific terms used herein have the same meaning as commonly understood by one of ordinary skill in the art to which this invention belongs. The terminology used in the description of the invention herein is for the purpose of describing particular embodiments only and is not intended to be limiting of the invention. As used herein, the term "and/or" includes any and all combinations of one or more of the associated listed items.
Example 1
Please refer to fig. 1, a vaginal speculum holding frame comprises a bottom plate 1, wherein a jack 2 for facilitating insertion of one end of a vaginal speculum 100 and a support frame 3 for supporting the other end of the vaginal speculum are arranged on the bottom plate 1, an elastic layer 21 is arranged on the inner wall of the jack 2, a first groove 31 is arranged on the top of the support frame 3, a sliding block 4 is arranged at the bottom of the support frame 3, and a sliding groove 5 for the sliding block 4 to move is arranged on the bottom plate 1 so as to be suitable for holding different sizes of vaginal specs 100. The vaginal speculum placement frame further comprises a fixing device for fixing the sliding block 4, so that the sliding block 4 is fixed after the support frame 3 is moved to a proper position according to the size of the vaginal speculum 100.
As a further preferable technical solution of this embodiment, the fixing device includes a cross bar 61 and a fixing plate 62, one end of the cross bar 61 is hinged to one side of the sliding block 4, the fixing plate 62 is disposed on the bottom plate 1, a plurality of slots are disposed on the fixing plate 62 at intervals, and one end of the cross bar 61, which is far away from the sliding block 4, can be inserted into the slots. When the vaginal speculum 100 is used, the support frame 3 is moved to a proper position according to the size of the vaginal speculum 100, and then one end of the cross rod 61, which is far away from the sliding block 4, is rotated to be inserted into the slot, so that the sliding block 4 can be fixed. If the vaginal speculum 100 is small, only one end of the cross rod 61, which is far away from the sliding block 4, needs to be rotated to move out of the slot, the sliding block 4 is moved by the cross rod 61 to be close to the jack 2, and after the adjustment is carried out to a proper position, one end of the cross rod 61, which is far away from the sliding block 4, is rotated again to be inserted into the slot. And the cross rod 61 can be used as a fixed rod and can also be used for moving the sliding block 4, so that the effect of one rod for two purposes is achieved.
As a further preferable technical solution of this embodiment, the insertion hole 2 and the first groove 31 are both provided with aseptic cotton cloth, wherein the aseptic cotton cloth on the insertion hole 2 covers the bottom of the insertion hole 2 and the elastic layer 21 on the inner wall of the insertion hole 2. The arrangement of the sterile cotton cloth can further ensure that the vaginal speculum 100 is in a sterile state when placed.
The elastic layer 21 may be made of soft sponge, rubber or silica gel, so that one end of the vaginal speculum 100 can be easily inserted and fixed to a certain extent.
As a further preferable technical solution of the present embodiment, the first groove 31 is an arc-shaped groove, so that the shape of the first groove 31 is adapted to the shape of the lower hinge of the vaginal speculum 100, and the stability during placement is increased.
Example 2
Please refer to fig. 2, a vaginal speculum holding frame comprises a bottom plate 1, wherein the bottom plate 1 is provided with a jack 2 for facilitating insertion of one end of a vaginal speculum 100 and a support frame 3 for supporting the other end of the vaginal speculum, an elastic layer 21 is arranged on the inner wall of the jack 2, a first groove 31 is arranged on the top of the support frame 3, a sliding block 4 is arranged at the bottom of the support frame 3, and a sliding groove 5 for the sliding block 4 to move is arranged on the bottom plate 1 so as to be suitable for holding different sizes of vaginal speculums 100. The vaginal speculum placement frame further comprises a fixing device for fixing the sliding block 4, so that the sliding block 4 is fixed after the support frame 3 is moved to a proper position according to the size of the vaginal speculum 100.
As a further preferable technical solution of this embodiment, the fixing device includes a cross bar 61 and a fixing plate 62, one end of the cross bar 61 is hinged to one side of the sliding block 4, the fixing plate 62 is disposed on the bottom plate 1, a plurality of slots are disposed on the fixing plate 62 at intervals, and one end of the cross bar 61, which is far away from the sliding block 4, can be inserted into the slots. When the vaginal speculum 100 is used, the support frame 3 is moved to a proper position according to the size of the vaginal speculum 100, and then one end of the cross rod 61, which is far away from the sliding block 4, is rotated to be inserted into the slot, so that the sliding block 4 can be fixed. If the vaginal speculum 100 is small, only one end of the cross rod 61, which is far away from the sliding block 4, needs to be rotated to move out of the slot, the sliding block 4 is moved by the cross rod 61 to be close to the jack 2, and after the adjustment is carried out to a proper position, one end of the cross rod 61, which is far away from the sliding block 4, is rotated again to be inserted into the slot. And the cross rod 61 can be used as a fixed rod and can also be used for moving the sliding block 4, so that the effect of one rod for two purposes is achieved.
As a further preferable technical solution of this embodiment, the insertion hole 2 and the first groove 31 are both provided with aseptic cotton cloth, wherein the aseptic cotton cloth on the insertion hole 2 covers the bottom of the insertion hole 2 and the elastic layer 21 on the inner wall of the insertion hole 2. The arrangement of the sterile cotton cloth can further ensure that the vaginal speculum 100 is in a sterile state when placed. Of course, after cleaning and disinfection, the plug 2 and the first groove 31 may not be provided with the aseptic cotton cloth.
The elastic layer 21 may be made of soft sponge, rubber or silica gel, so that one end of the vaginal speculum 100 can be easily inserted and fixed to a certain extent.
As a further preferable technical solution of the present embodiment, the first groove 31 is an arc-shaped groove, so that the shape of the first groove 31 is adapted to the shape of the lower hinge of the vaginal speculum 100, and the stability during placement is increased.
As a further preferable technical solution of this embodiment, the two sides of the bottom plate 1 between the insertion hole 2 and the support frame 3 are further provided with a baffle 7 for preventing the vaginal speculum 100 from shaking, and the baffle 7 further ensures the stability of the vaginal speculum 100 when placed.
Example 3
Referring to fig. 3 and 4, the vaginal speculum holding frame comprises a base plate 1, wherein a jack 2 which is convenient for inserting one end of a vaginal speculum 100 and a support frame 3 which is used for supporting the other end of the vaginal speculum are arranged on the base plate 1, an elastic layer 21 is arranged on the inner wall of the jack 2, a first groove 31 is arranged on the top of the support frame 3, a sliding block 4 is arranged at the bottom of the support frame 3, and a sliding groove 5 for moving the sliding block 4 is arranged on the base plate 1 so as to be suitable for holding different sizes of vaginal speculums 100. The vaginal speculum placement frame further comprises a fixing device for fixing the sliding block 4, so that the sliding block 4 is fixed after the support frame 3 is moved to a proper position according to the size of the vaginal speculum 100.
As a further preferable technical solution of this embodiment, the fixing device is a bolt 63, a through hole for the bolt 63 to pass through is formed on the slider 4, and an internal thread is formed on an inner wall of the through hole. The fixing is realized through the bolt 63, and the fixing is simpler and more convenient.
As a further preferable technical solution of this embodiment, the insertion hole 2 and the first groove 31 are both provided with aseptic cotton cloth, wherein the aseptic cotton cloth on the insertion hole 2 covers the bottom of the insertion hole 2 and the elastic layer 21 on the inner wall of the insertion hole 2. The arrangement of the sterile cotton cloth can further ensure that the vaginal speculum 100 is in a sterile state when placed. Of course, after cleaning and disinfection, the plug 2 and the first groove 31 may not be provided with the aseptic cotton cloth.
The elastic layer 21 may be made of soft sponge, rubber or silica gel, so that one end of the vaginal speculum 100 can be easily inserted and fixed to a certain extent.
As a further preferable technical solution of the present embodiment, the first groove 31 is an arc-shaped groove, so that the shape of the first groove 31 is adapted to the shape of the lower hinge of the vaginal speculum 100, and the stability during placement is increased.
As a further preferable technical solution of this embodiment, the two sides of the bottom plate 1 between the insertion hole 2 and the support frame 3 are further provided with a baffle 7 for preventing the vaginal speculum 100 from shaking, and the baffle 7 further ensures the stability of the vaginal speculum 100 when placed.
The utility model discloses a set up the bottom plate 1 of seting up jack 2 and set up support frame 3 on bottom plate 1 for on can being fixed in jack 2 and support frame 3's recess respectively at the both ends of peeping cloudy ware 100, solved present medical personnel and worn the in-process operation that slowly will peep the cloudy ware and take out after aseptic gloves inconvenient, touch the problem of the extranal packing plastic bag of fungus easily, or solved aseptic material's extravagant problem, make the convenient cloudy ware of peeping of taking during the operation, get in the operation and put and avoided the pollution area on the rack. The rack can be put in operator's left and right sides in a flexible way, convenient operation avoids strideing across sterile area. The sliding block 4 is arranged at the bottom of the supporting frame 3, and the sliding groove 5 for the sliding block 4 to move is arranged on the bottom plate 1, so that the utility model is suitable for the placement of vaginoscopes with different sizes, and has wide application range; after the sliding block 4 moves to a proper position, the sliding block 4 can be fixed through the fixing device, so that the sliding block 4 is prevented from being easily influenced by the outside to move, and the placed vaginal speculum 100 is prevented from falling. Furthermore, through the utility model discloses place and peep the external genitals, can assist doctor's inspection patient's vulva and vagina, the holding power is strong, and is supplementary effectual to in the etiology of diagnosing the patient, avoid the inspection to make mistakes.
The above description is for the detailed description of the preferred possible embodiments of the present invention, but the embodiments are not intended to limit the scope of the present invention, and all equivalent changes or modifications accomplished under the technical spirit suggested by the present invention should fall within the scope of the present invention.

Claims (7)

1. The utility model provides a speculum rack which characterized in that: the vaginal speculum comprises a base plate (1), wherein a jack (2) which is convenient for inserting one end of a vaginal speculum (100) and a support frame (3) which is used for supporting the other end of the vaginal speculum (100) are arranged on the base plate (1), an elastic layer (21) is arranged on the inner wall of the jack (2), a first groove (31) is arranged on the support frame (3), a sliding block (4) is arranged at the bottom of the support frame (3), and a sliding groove (5) for the sliding block (4) to move is arranged on the base plate (1) so as to be suitable for the vaginal speculum (100) with different sizes to be placed; the vaginal speculum placing frame further comprises a fixing device for fixing the sliding block (4).
2. The vaginal speculum placement frame of claim 1, wherein: fixing device includes horizontal pole (61) and fixed plate (62), the interval is equipped with a plurality of slots on fixed plate (62), the one end of horizontal pole (61) articulates in one side of slider (4), fixed plate (62) are located on bottom plate (1), the one end that slider (4) were kept away from in horizontal pole (61) can insert and locate on the slot.
3. The vaginal speculum placement frame of claim 1, wherein: the fixing device is a bolt (63), a through hole for the bolt (63) to pass through is formed in the sliding block (4), and an internal thread is arranged inside the through hole.
4. A vaginal speculum placement frame as claimed in claim 2 or 3, wherein: sterile cotton cloth is arranged on the jack (2) and the first groove (31).
5. The vaginal speculum placement frame of claim 1, wherein: the elastic layer (21) is made of sponge, rubber or silica gel.
6. The vaginal speculum placement frame of claim 4, wherein: the first groove (31) is an arc-shaped groove.
7. The vaginal speculum placement frame of claim 6, wherein: the two sides of the bottom plate (1) between the jack (2) and the support frame (3) are also provided with a baffle (7) for preventing the vaginal speculum (100) from shaking.
CN202120888116.9U 2021-04-27 2021-04-27 A speculum placement stand Expired - Fee Related CN214857460U (en)

Priority Applications (1)

Application Number Priority Date Filing Date Title
CN202120888116.9U CN214857460U (en) 2021-04-27 2021-04-27 A speculum placement stand

Applications Claiming Priority (1)

Application Number Priority Date Filing Date Title
CN202120888116.9U CN214857460U (en) 2021-04-27 2021-04-27 A speculum placement stand

Publications (1)

Publication Number Publication Date
CN214857460U true CN214857460U (en) 2021-11-26

Family

ID=78947346

Family Applications (1)

Application Number Title Priority Date Filing Date
CN202120888116.9U Expired - Fee Related CN214857460U (en) 2021-04-27 2021-04-27 A speculum placement stand

Country Status (1)

Country Link
CN (1) CN214857460U (en)

Similar Documents

Publication Publication Date Title
CN214857460U (en) A speculum placement stand
CN217013987U (en) A hand-held dilator for gynecological examination
CN211327329U (en) Lower body cleaning device for gynecological nursing
CN210433456U (en) Special operating table for colposcopy
CN211187890U (en) Nursing bed for gynecological nursing
CN212187002U (en) Urinary surgery is clinical with connecing urine device
CN213190824U (en) A clinical examination device for emergency internal medicine
CN204121330U (en) The Internal Medicine-Oncology sick bed with device for collecting vomit
CN209984520U (en) Novel reproduction center doctor operates integrated car
CN211463678U (en) Quick lubricating arrangement of medical external genitals of peeping
CN210728136U (en) Search-lighting device for gynecologist
CN219207340U (en) Medical care carrying case
CN209899426U (en) Cantilever crane for B ultrasonic examination
CN214856563U (en) Disposable hollow vaginal dilator
CN213883488U (en) A bracket for anesthesia department operating room nursing
CN218589438U (en) Portable drainage liquid collection device
CN111671593A (en) A hospital obstetrics and gynecology nursing dressing box
CN220735504U (en) Uterine cavity operation nursing bag
CN217040596U (en) Degassing unit is used in gynaecology's nursing
CN111643798A (en) An easy-to-clean anti-pollution drug delivery device for gynecological care
CN219439813U (en) Gynaecology and obstetrics's operation nursing is with novel apparatus equipment of placing
CN211485337U (en) A inspection device for anus enterochirurgia
CN219814084U (en) Vagina dilator for gynecological tumor patient examination
CN222217947U (en) Emergency internal medicine clinical examination device
CN218128769U (en) Disposable blood purifies uses multi-functional apparatus box

Legal Events

Date Code Title Description
GR01 Patent grant
GR01 Patent grant
CF01 Termination of patent right due to non-payment of annual fee
CF01 Termination of patent right due to non-payment of annual fee

Granted publication date: 20211126