CN214807369U - Infusion support is used in oncology nursing - Google Patents

Infusion support is used in oncology nursing Download PDF

Info

Publication number
CN214807369U
CN214807369U CN202120288268.5U CN202120288268U CN214807369U CN 214807369 U CN214807369 U CN 214807369U CN 202120288268 U CN202120288268 U CN 202120288268U CN 214807369 U CN214807369 U CN 214807369U
Authority
CN
China
Prior art keywords
support
infusion
bracket
cover ring
pulling wire
Prior art date
Legal status (The legal status is an assumption and is not a legal conclusion. Google has not performed a legal analysis and makes no representation as to the accuracy of the status listed.)
Expired - Fee Related
Application number
CN202120288268.5U
Other languages
Chinese (zh)
Inventor
何词词
Current Assignee (The listed assignees may be inaccurate. Google has not performed a legal analysis and makes no representation or warranty as to the accuracy of the list.)
Central Hospital of Wuhan
Original Assignee
Central Hospital of Wuhan
Priority date (The priority date is an assumption and is not a legal conclusion. Google has not performed a legal analysis and makes no representation as to the accuracy of the date listed.)
Filing date
Publication date
Application filed by Central Hospital of Wuhan filed Critical Central Hospital of Wuhan
Priority to CN202120288268.5U priority Critical patent/CN214807369U/en
Application granted granted Critical
Publication of CN214807369U publication Critical patent/CN214807369U/en
Expired - Fee Related legal-status Critical Current
Anticipated expiration legal-status Critical

Links

Images

Landscapes

  • Infusion, Injection, And Reservoir Apparatuses (AREA)

Abstract

本实用新型公开了一种肿瘤科护理用输液支架,属于医疗器材技术领域,包括支架筒、竖槽、横槽、底支架、内杆、牵拉线、加热器和臂套,其中支架筒的筒体上纵向开设有竖槽,竖槽侧边等距排布有若干横槽,支架筒底部呈中心对称安装有四组底支架,支架筒内部滑动安装有内杆,内杆上方连接有牵拉线,牵拉线上设置有若干加热器,牵拉线末端连接有用于固定患者腕臂的臂套。本实用新型通过在支架筒底部装有弹性连接的底支架,不仅方便医务人员进行上药换药,同时配合拨动杆能使患者更加容易的单手对支架高度进行调节,并且在支架上连接有牵拉线,不仅能给输液管进行加温,同时利用牵拉线末端连接的臂套能够防止外力导致针头意外脱落,提高输液的安全性。

Figure 202120288268

The utility model discloses an infusion support for nursing care in an oncology department, which belongs to the technical field of medical equipment. Vertical grooves are longitudinally opened on the cylinder body, and several horizontal grooves are arranged at equal distances on the sides of the vertical grooves. Four groups of bottom brackets are installed symmetrically at the bottom of the bracket cylinder. Inside the bracket cylinder, an inner rod is slidably installed, and a traction rod is connected above the inner rod. The pulling wire is provided with several heaters, and the end of the pulling wire is connected with an arm sleeve for fixing the patient's wrist and arm. The utility model is provided with an elastically connected bottom bracket at the bottom of the bracket cylinder, which not only facilitates the medical staff to apply medicine and change the medicine, but also makes it easier for the patient to adjust the height of the bracket with one hand by cooperating with the toggle rod, and is connected on the bracket. There is a pulling wire, which can not only heat the infusion tube, but also use the arm sleeve connected at the end of the pulling wire to prevent the needle from accidentally falling off due to external force, and improve the safety of the infusion.

Figure 202120288268

Description

Infusion support is used in oncology nursing
Technical Field
The utility model relates to the technical field of medical equipment, in particular to an infusion support for oncology nursing.
Background
The infusion is a large dose of injection liquid infused into a body by intravenous drip, the dropping speed is adjusted by an infusion apparatus when the infusion is used, the infusion liquid continuously and stably enters a vein to replenish body fluid, electrolyte or provide nutrient substances, and most departments in hospitals need of providing medicine and nutrient supply for patients by infusion.
Because the disease of oncology needs to be for a long time, the ration infuses, at the infusion in-process, inject into the liquid medicine through the back of the hand and just need external infusion support to hang the medicine, discharge the liquid medicine from the medicine bag through pressure, current infusion support has the effect that single physics hung basically, to these oncology patients that need the long-time infusion, not only adjust the support inconvenient, inconvenient removal in addition, the transfer line lacks the protection simultaneously, lead to the syringe needle to drop when the patient removes the accident easily.
Therefore, it is required to provide an infusion support for nursing in oncology department, aiming at solving the problems.
SUMMERY OF THE UTILITY MODEL
To the deficiency that prior art exists, the embodiment of the utility model provides an infusion support is used in nursing of oncology to solve the problem among the above-mentioned background art.
In order to achieve the above object, the utility model provides a following technical scheme:
the utility model provides an infusion support is used in oncology nursing, including a support section of thick bamboo, erect groove, cross slot, end support, interior pole, lead and act as go-between, heater and arm cover, wherein vertically seted up on the barrel of a support section of thick bamboo and erected the groove, erect a plurality of cross slots of groove side equidistance having arranged, support bobbin base portion is central symmetry and installs four group's end supports, the inside slidable mounting of a support section of thick bamboo has interior pole, interior pole top is connected with leads, be provided with a plurality of heaters that are used for heating the transfer line on the drawing line, the end-to-end connection that leads is used for the arm cover of fixed patient's wrist.
As a further scheme of the utility model, the barrel bottom of erecting the groove is provided with the battery tray, and the battery tray links to each other with the heater electrical property, is provided with the poker rod on the outer wall of interior pole, poker rod and erect groove and cross slot slip nestification.
As a further scheme of the utility model, the end support inboard is provided with reset spring, and the end support passes through reset spring and a support section of thick bamboo elasticity and links to each other, and the bottom movable mounting of end support has the gyro wheel, is provided with the horizontally footboard on the outer terminal surface of end support.
As a further proposal of the utility model, the arm sleeve comprises an upper cover ring, a lower cover ring, a shaft pin and a pipe barrel, wherein the upper cover ring and the lower cover ring are connected through the rotation of the shaft pin, and the top of the upper cover ring is provided with the pipe barrel.
As a further proposal of the utility model, the pipe barrel is arranged at the far end position away from the left end surface of the upper cover ring, and one side of the pipe barrel is provided with a pipe groove which is vertically arranged.
To sum up, compared with the prior art, the embodiment of the utility model has the following beneficial effects:
the utility model discloses a bottom bracket that is equipped with elasticity swing joint bottom a support section of thick bamboo, not only make things convenient for medical staff to go on the medicine change, the cooperation poker rod enables patient's more easy one hand and adjusts the support height simultaneously to be connected with on the support and lead the line, can not only heat for the transfer line, the arm cover that utilizes the end-to-end connection of leading to the external force simultaneously can prevent that the syringe needle from accidentally dropping, improves the security of infusion.
To illustrate the structural features and functions of the present invention more clearly, the present invention will be described in detail with reference to the accompanying drawings and specific embodiments.
Drawings
Fig. 1 is a schematic structural view of an embodiment of the present invention;
fig. 2 is a schematic structural view of an inner rod in an embodiment of the present invention;
FIG. 3 is a schematic structural view of an arm sleeve in an embodiment of the present invention;
fig. 4 is a schematic structural view of embodiment 2 of the present invention.
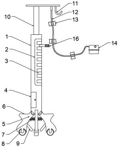
Reference numerals: 1-support cylinder, 2-vertical groove, 3-horizontal groove, 4-charging port, 5-bottom support, 6-pedal, 7-reset spring, 8-roller, 9-brace rod, 10-inner rod, 11-hook, 12-pulling line, 13-heater, 14-arm sleeve, 15-battery seat, 16-pulling rod, 17-upper cover ring, 18-lower cover ring, 19-shaft pin, 20-pipe barrel, 21-pipe groove, 22-sliding rail, 23-sliding block and 24-spring.
Detailed Description
In order to make the objects, technical solutions and advantages of the present invention more clearly understood, the present invention is further described in detail below with reference to the accompanying drawings and embodiments. It should be understood that the specific embodiments described herein are merely illustrative of the invention and are not intended to limit the invention.
The following detailed description is provided for the specific embodiments of the present invention.
Example 1
Referring to fig. 1-3, an infusion support for oncology nursing comprises a support barrel 1, vertical slots 2, transverse slots 3, a bottom support 5, an inner rod 10, a traction wire 12, heaters 13 and an arm sleeve 14, wherein the barrel of the support barrel 1 is longitudinally provided with the vertical slots 2, the side edges of the vertical slots 2 are equidistantly distributed with a plurality of transverse slots 3, the bottom of the support barrel 1 is centrally and symmetrically provided with four groups of bottom supports 5, the inner rod 10 is slidably arranged in the support barrel 1, the traction wire 12 is connected above the inner rod 10, the traction wire 12 is provided with a plurality of heaters 13 for heating infusion tubes, the tail end of the traction wire 12 is connected with the arm sleeve 14 for fixing the wrist arm of a patient, the bottom of the barrel of the vertical slot 2 is provided with a battery holder 15, the battery holder 15 is electrically connected with the heaters 13, the outer wall of the inner rod 10 is provided with a poking rod 16, the poking rod 16 is slidably nested with the vertical slots 2 and the transverse slots 3, the inner side of the bottom support 5 is provided with a return spring 7, the bottom bracket 5 is elastically connected with the bracket barrel 1 through a return spring 7, the bottom of the bottom bracket 5 is movably provided with a roller 8, and the outer end surface of the bottom bracket 5 is provided with a horizontal pedal 6.
The arm sleeve 14 comprises an upper cover ring 17, a lower cover ring 18, a shaft pin 19 and a pipe barrel 20, wherein the upper cover ring 17 and the lower cover ring 18 are rotatably connected through the shaft pin 19, the pipe barrel 20 is arranged at the top of the upper cover ring 17, the pipe barrel 20 is arranged at a far end position away from the left end face of the upper cover ring 17, and one side of the pipe barrel 20 is provided with a pipe groove 21 which is longitudinally arranged.
The utility model discloses a theory of operation is: when the nursing infusion support for oncology department is needed to be used, firstly, when medical staff transfuses and hangs medicine for a patient, the medical staff can tread the pedal 6 at the upper end of the bottom support 5 below, when the pedal 6 is pressed downwards, the whole support barrel 1 is shifted downwards, so that the height of the inner rod 10 above the support barrel 1 is lowered, the medical staff can conveniently hang a transfusion bottle on the hook 11, when the patient needs to hold the support to move, due to the unequal heights of the patients, the patient can tread the pedal 6 on the end surface of the bottom support 5 at the moment, so that the support rod 9 at the lower end of the bottom support 5 is pressed on the ground, a larger friction force is formed between the bottom support 5 and the ground, at the moment, the patient can rotate the poking rod 16 on the outer barrel wall of the support barrel 1, adjust the height of the transverse groove 3 where the poking rod 16 is positioned, so that the inner rod 10 is moved to the position suitable for the height of the patient, and the operation process can be completed by only one hand, the arm of a patient receiving medicine cannot be influenced, when the patient conducts transfusion, a transfusion tube is connected below a transfusion bottle, the transfusion tube is coated in the transfusion tube through a heater 13 on a traction line 12, the medicine liquid is heated and heated in the transfusion process, pain relieving feeling caused by over-low temperature of a transfusion needle of the patient is reduced, the tail end of the traction line 12 is fixedly connected to an arm sleeve 14, the transfusion tube penetrates through a tube barrel 20 after passing through a tube groove 21, an upper cover ring 17 and a lower cover ring 18 are respectively embedded at the upper end and the lower end of the arm receiving medicine, the transfusion tube penetrates out from the front end position between the upper cover ring 17 and the lower cover ring 18 after passing through the tube barrel 20 and is connected to the back of the hand, when the patient moves, if the transfusion tube is not carefully pulled to the transfusion tube, the traction line 12 and the arm sleeve 14 can play a role in buffering, so that the needle cannot accidentally fall off, and meanwhile, as a bottom support 5 at the bottom of a support barrel 1 is elastically connected through a return spring 7, therefore under the support is pulled suddenly by external force, can not topple over easily because the focus is too high, and bottom support 5 of bottom movable mounting can play good cushioning effect, when needs charge for battery holder 15, only need open the mouth 4 that charges on the outer wall of a support section of thick bamboo 1 and can charge.
The advantage of this embodiment lies in, through the end support 5 that is equipped with elasticity swing joint in a support section of thick bamboo 1 bottom, not only makes things convenient for medical staff to go up the medicine and change dressings, cooperates simultaneously to dial the pole 16 and enables the patient more easy one hand to adjust the support height to be connected with on the support and pulling line 12, can not only heat for the transfer line, utilize the arm cover 14 of pulling line 12 end-to-end connection simultaneously can prevent that external force from leading to the syringe needle to unexpected drop, improve the security of infusion.
Example 2
Referring to fig. 4, a main structure of an infusion support for nursing in oncology department is the same as that of embodiment 1, an inner rod 10 is improved, a slide rail 22 is arranged on an inner wall of a support barrel 1, a slide block 23 is slidably mounted on the slide rail 22, and a spring 24 is elastically connected between the slide block 23 and a poke rod 16.
The utility model discloses a theory of operation is: when a user drives the poke rod 16 to transversely slide in the transverse groove 3 by rotating the poke rod 16, the poke rod 16 extrudes the spring 24 to enable the spring 24 to be in a compressed energy storage state, when the sliding poke rod 16 longitudinally moves in the transverse groove 3, the sliding block 23 synchronously slides in the sliding rail 22 along with the poke rod 16, after the poke rod 16 is loosened, the spring 24 presses the poke rod 16 again to enter the transverse groove 3, the limiting and fixing of the poke rod are completed, and the shaking caused by the accidental sliding of the inner rod 10 in the infusion process is prevented.
In the description of the present invention, it is to be understood that the terms "left side", "bottom", "right side", "top", "upper", "one side", "inner", etc. indicate orientations or positional relationships based on the orientations or positional relationships shown in the drawings, and are only for convenience of description and simplicity of description, and do not indicate or imply that the device or element being referred to must have a particular orientation, be constructed and operated in a particular orientation, and thus, should not be construed as limiting the present invention.
Furthermore, it should be noted that unless otherwise expressly specified or limited, the terms "disposed," "mounted," "connected," and "connected" are to be construed broadly and can include, for example, fixed connections, removable connections, or integral connections; can be mechanically or electrically connected; the term "connected" refers to a connection between two elements or an interaction between two elements, and unless otherwise specifically defined, the term is used in the present invention to refer to the specific meaning of the term in the present invention.
The above description is only exemplary of the present invention and should not be taken as limiting the scope of the present invention, as any modifications, equivalents, improvements and the like made within the spirit and principles of the present invention are intended to be included within the scope of the present invention.

Claims (5)

1.一种肿瘤科护理用输液支架,包括支架筒(1)、竖槽(2)、横槽(3)、底支架(5)、内杆(10)、牵拉线(12)、加热器(13)和臂套(14),其特征在于,所述支架筒(1)的筒体上纵向开设有竖槽(2),竖槽(2)侧边等距排布有若干横槽(3),支架筒(1)底部呈中心对称安装有四组底支架(5),支架筒(1)内部滑动安装有内杆(10),内杆(10)上方连接有牵拉线(12),牵拉线(12)上设置有若干用于加温输液管的加热器(13),牵拉线(12)末端连接有用于固定患者腕臂的臂套(14)。1. An infusion stent for nursing care in an oncology department, comprising a stent barrel (1), a vertical groove (2), a horizontal groove (3), a bottom support (5), an inner rod (10), a pulling wire (12), a heating The device (13) and the arm sleeve (14) are characterized in that a vertical groove (2) is longitudinally opened on the cylindrical body of the support barrel (1), and a plurality of horizontal grooves are arranged at equal distances on the side of the vertical groove (2). (3), four groups of bottom brackets (5) are installed symmetrically at the bottom of the bracket cylinder (1), and an inner rod (10) is slidably installed inside the bracket cylinder (1), and a pulling wire (10) is connected above the inner rod (10). 12), the pulling wire (12) is provided with several heaters (13) for heating the infusion tube, and the end of the pulling wire (12) is connected with an arm sleeve (14) for fixing the patient's wrist. 2.根据权利要求1所述的肿瘤科护理用输液支架,其特征在于,所述竖槽(2)的筒体底部设置有电池座(15),电池座(15)与加热器(13)电性相连,内杆(10)的外壁上设置有拨动杆(16),拨动杆(16)与竖槽(2)和横槽(3)滑动嵌套。2. The infusion support for oncology nursing according to claim 1, characterized in that a battery holder (15) is provided at the bottom of the cylinder of the vertical slot (2), the battery holder (15) and the heater (13) Electrically connected, a toggle rod (16) is provided on the outer wall of the inner rod (10), and the toggle rod (16) slides and nests with the vertical slot (2) and the horizontal slot (3). 3.根据权利要求1所述的肿瘤科护理用输液支架,其特征在于,所述底支架(5)内侧设置有复位弹簧(7),底支架(5)通过复位弹簧(7)与支架筒(1)弹性相连,底支架(5)的底部活动安装有滚轮(8),底支架(5)的外端面上设置有水平的踏板 (6)。3. The infusion support for oncology nursing according to claim 1, wherein a return spring (7) is provided inside the bottom support (5), and the bottom support (5) is connected to the support barrel through the return spring (7). (1) Elastically connected, the bottom of the bottom bracket (5) is movably installed with a roller (8), and the outer end surface of the bottom bracket (5) is provided with a horizontal pedal (6). 4.根据权利要求1所述的肿瘤科护理用输液支架,其特征在于,所述臂套(14)包括上盖环(17)、下盖环(18)、轴销(19)和管筒(20),其中上盖环(17)和下盖环(18)通过轴销(19)转动相接,上盖环(17)顶部设置有管筒(20)。The infusion stent for oncology nursing according to claim 1, characterized in that the arm cover (14) comprises an upper cover ring (17), a lower cover ring (18), a shaft pin (19) and a tube (20), wherein the upper cover ring (17) and the lower cover ring (18) are rotatably connected through a shaft pin (19), and a tube (20) is provided on the top of the upper cover ring (17). 5.根据权利要求4所述的肿瘤科护理用输液支架,其特征在于,所述管筒(20)设置在距离上盖环(17)左端面的远端位置,管筒(20)的一侧开设有纵向设置的管槽(21) 。5. The infusion support for oncology nursing according to claim 4, wherein the tube (20) is disposed at a distal position away from the left end face of the upper cover ring (17), and one of the tube (20) The side openings are provided with longitudinally arranged pipe grooves (21).
CN202120288268.5U 2021-02-02 2021-02-02 Infusion support is used in oncology nursing Expired - Fee Related CN214807369U (en)

Priority Applications (1)

Application Number Priority Date Filing Date Title
CN202120288268.5U CN214807369U (en) 2021-02-02 2021-02-02 Infusion support is used in oncology nursing

Applications Claiming Priority (1)

Application Number Priority Date Filing Date Title
CN202120288268.5U CN214807369U (en) 2021-02-02 2021-02-02 Infusion support is used in oncology nursing

Publications (1)

Publication Number Publication Date
CN214807369U true CN214807369U (en) 2021-11-23

Family

ID=78880577

Family Applications (1)

Application Number Title Priority Date Filing Date
CN202120288268.5U Expired - Fee Related CN214807369U (en) 2021-02-02 2021-02-02 Infusion support is used in oncology nursing

Country Status (1)

Country Link
CN (1) CN214807369U (en)

Similar Documents

Publication Publication Date Title
CN111097080A (en) Infusion support convenient for height adjustment and capable of preventing infusion tube from being folded for medical sickbed
CN214807369U (en) Infusion support is used in oncology nursing
CN221964216U (en) IV infusion chair frame
CN206603983U (en) A kind of medical multifunctional infusion support
CN209123059U (en) Multi-functional pediatric nursing infusion support
CN109172916A (en) A kind of Medical enema frame
CN110013578A (en) An easy-to-use mobile infusion pole for medical pediatrics
CN211724232U (en) An infusion stand with automatic reminder function
CN218391543U (en) An infusion nursing stand
CN218923408U (en) Infusion device
CN215653028U (en) Pediatric nursing infusion device
CN219167299U (en) Telescopic and adjustable transfusion support frame for surgical nursing
CN215875760U (en) Infusion support
CN211611053U (en) Infusion auxiliary stand is used in nursing
CN219127737U (en) Transfusion reminding device
CN218652642U (en) Infusion support for medical nursing
CN209187741U (en) A heating and fixed transfusion stand for hepatobiliary department
CN204319405U (en) A kind of infusion pump pipe frame structure
CN215585049U (en) Infusion support is used in nursing convenient to accomodate
CN216022441U (en) Pediatric clinical infusion protector
CN222075631U (en) Infusion tube fixing frame
CN215900551U (en) Infusion support for primary nursing of hospital
CN220833767U (en) Infusion support for medical nursing
CN219814861U (en) An infusion device with heating function
CN219721511U (en) a drug delivery device

Legal Events

Date Code Title Description
GR01 Patent grant
GR01 Patent grant
CF01 Termination of patent right due to non-payment of annual fee
CF01 Termination of patent right due to non-payment of annual fee

Granted publication date: 20211123