CN214789607U - Stainless steel flange with good sealing performance - Google Patents

Stainless steel flange with good sealing performance Download PDF

Info

Publication number
CN214789607U
CN214789607U CN202023043173.1U CN202023043173U CN214789607U CN 214789607 U CN214789607 U CN 214789607U CN 202023043173 U CN202023043173 U CN 202023043173U CN 214789607 U CN214789607 U CN 214789607U
Authority
CN
China
Prior art keywords
flange
block
stainless steel
fixedly installed
fixing
Prior art date
Legal status (The legal status is an assumption and is not a legal conclusion. Google has not performed a legal analysis and makes no representation as to the accuracy of the status listed.)
Expired - Fee Related
Application number
CN202023043173.1U
Other languages
Chinese (zh)
Inventor
戴元本
Current Assignee (The listed assignees may be inaccurate. Google has not performed a legal analysis and makes no representation or warranty as to the accuracy of the list.)
Dongtai Qb Stainless Steel Co ltd
Original Assignee
Dongtai Qb Stainless Steel Co ltd
Priority date (The priority date is an assumption and is not a legal conclusion. Google has not performed a legal analysis and makes no representation as to the accuracy of the date listed.)
Filing date
Publication date
Application filed by Dongtai Qb Stainless Steel Co ltd filed Critical Dongtai Qb Stainless Steel Co ltd
Priority to CN202023043173.1U priority Critical patent/CN214789607U/en
Application granted granted Critical
Publication of CN214789607U publication Critical patent/CN214789607U/en
Expired - Fee Related legal-status Critical Current
Anticipated expiration legal-status Critical

Links

Images

Landscapes

  • Flanged Joints, Insulating Joints, And Other Joints (AREA)

Abstract

本实用新型涉及不锈钢法兰技术领域,尤其为一种密封性能好的不锈钢法兰,包括第一连接管、第二连接管、第二固定螺栓以及第二法兰连接块,所述第二连接管内胆内部固定安装有限位伸缩节,所述限位伸缩节外侧固定套设有压力弹簧,所述限位伸缩节底部固定安装有第二橡胶密封圈,所述第二橡胶密封圈内部固定安装有内套筒,通过设置的内套筒、第二橡胶密封圈、限位伸缩节以及压力弹簧,安装时,将内套筒插进到第二连接管内部,通过第二橡胶密封圈将套筒与第二连接管内部连接处进行密封,通过限位伸缩节以及压力弹簧的弹簧压力使第二橡胶密封圈与套筒之间的更加贴紧,使不锈钢法兰使用时密封性能更好,避免造成损失。

Figure 202023043173

The utility model relates to the technical field of stainless steel flanges, in particular to a stainless steel flange with good sealing performance, comprising a first connecting pipe, a second connecting pipe, a second fixing bolt and a second flange connecting block. A limit expansion joint is fixedly installed inside the tube liner, a pressure spring is fixed on the outer side of the limit expansion joint, and a second rubber sealing ring is fixedly installed at the bottom of the limit expansion joint, and the second rubber seal is fixed inside. An inner sleeve is installed, and through the set inner sleeve, the second rubber sealing ring, the limit expansion joint and the pressure spring, during installation, the inner sleeve is inserted into the second connecting pipe, and the second rubber sealing ring is used to connect the inner sleeve. The inner connection between the sleeve and the second connecting pipe is sealed, and the second rubber sealing ring and the sleeve are more closely contacted by the limit expansion joint and the spring pressure of the pressure spring, so that the sealing performance of the stainless steel flange is better when used. , to avoid losses.

Figure 202023043173

Description

Stainless steel flange with good sealing performance
Technical Field
The utility model relates to a stainless steel flange technical field specifically is a stainless steel flange that sealing performance is good.
Background
A flange, also known as a flange collar or flange. The flange is a part for connecting the shafts and is used for connecting pipe ends; there are also flanges on the inlet and outlet of the equipment for the connection between two pieces of equipment, such as reducer flanges. The flange connection or flange joint is a detachable connection which is formed by connecting a flange, a gasket and a bolt with each other to form a group of combined sealing structures. The pipeline flange is a flange for piping in a pipeline device, and is used on equipment to be an inlet and outlet flange of the equipment. The flanges are provided with holes, and the two flanges are tightly connected through bolts. The flanges are sealed with gaskets. The flange is divided into a threaded connection (screw thread connection) flange, a welding flange and a clamping flange. The flanges are used in pairs, the low-pressure pipeline can be screwed with the flanges, and the flanges are welded under the pressure of more than four kilograms. And a sealing gasket is arranged between the two flanges and then is fastened by bolts.
When the existing stainless steel flange is used, the sealing performance is not good enough, loss is easily caused, and the stainless steel flange is inconvenient to connect, so that the current situation is changed by the stainless steel flange with good sealing performance.
SUMMERY OF THE UTILITY MODEL
An object of the utility model is to provide a stainless steel flange that sealing performance is good to solve the problem that proposes among the above-mentioned background art.
In order to achieve the above object, the utility model provides a following technical scheme:
a stainless steel flange with good sealing performance comprises a first connecting pipe, a second fixing bolt and a second flange connecting block, wherein a first flange connecting block is fixedly mounted on one side of the first connecting pipe, the first flange connecting block is fixedly mounted with the first fixing bolt, a first fixing block is fixedly mounted on the other side of the first connecting pipe, a first rubber sealing ring is fixedly mounted on one side of the first fixing block, a second fixing block is fixedly mounted on one side of the first rubber sealing ring, a fixing block connecting bolt is fixedly mounted between the first fixing block and the second fixing block, a second connecting pipe is fixedly mounted on one side of the second fixing block, a second flange connecting block is fixedly mounted on one side of the second connecting pipe, a second fixing bolt is fixedly mounted on the second flange connecting block, and a second connecting pipe inner container is fixedly mounted in the second connecting pipe, the inner container of the second connecting pipe is fixedly provided with a limiting expansion joint, a pressure spring is fixedly sleeved on the outer side of the limiting expansion joint, a second rubber sealing ring is fixedly arranged at the bottom of the limiting expansion joint, and an inner sleeve is fixedly arranged inside the second rubber sealing ring.
Preferably, one side of the inner sleeve is fixedly connected with the first fixing block.
Preferably, the second rubber sealing ring is circularly sleeved outside the inner sleeve.
Preferably, the second fixing block is fixedly connected with the first fixing block through a fixing block connecting bolt.
Preferably, a connecting through hole is formed in the first flange connecting block, and the first fixing bolt penetrates through the connecting through hole formed in the first flange connecting block.
Preferably, the second flange connecting block is also provided with a connecting through hole, and the second fixing bolt penetrates through the connecting through hole formed in the second flange connecting block.
Compared with the prior art, the beneficial effects of the utility model are that:
1. the utility model discloses in, through the first fixed block that sets up, first rubber seal and second fixed block, through being connected first fixed block and first rubber seal one side, be connected second fixed block and first rubber seal opposite side, couple together first fixed block, first rubber seal and second fixed block fixed connection through fixed block connecting bolt, guaranteed the leakproofness of junction between first fixed block and the second fixed block through first rubber seal, improve the leakproofness, conveniently connect.
2. The utility model discloses in, through inner skleeve, second rubber seal, spacing telescopic joint and the compression spring that sets up, during the installation, insert the inner skleeve inside the second connecting pipe, seal sleeve and second connecting pipe internal connection department through second rubber seal, make pasting more tightly between second rubber seal and the sleeve through spacing telescopic joint and compression spring's spring pressure, sealing performance is better when making the stainless steel flange use, avoids causing the loss.
Drawings
FIG. 1 is a schematic view of the overall structure of the present invention;
FIG. 2 is an internal structure view of the present invention;
fig. 3 is an enlarged view of the area a of the present invention.
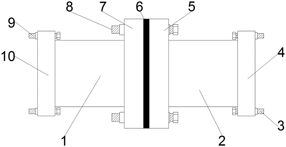
In the figure: 1. a first connecting pipe; 2. a second connecting pipe; 3. a second fixing bolt; 4. a second flange connecting block; 5. a second fixed block; 6. a first rubber seal ring; 7. a first fixed block; 8. the fixed block is connected with a bolt; 9. a first fixing bolt; 10. a first flange connection block; 11. an inner sleeve; 12. the second connecting pipe liner; 13. a limiting expansion joint; 14. a second rubber seal ring; 15. a pressure spring.
Detailed Description
The technical solution in the embodiments of the present invention will be clearly and completely described below with reference to the drawings in the embodiments of the present invention, and it is obvious that the described embodiments are only some embodiments of the present invention, rather than all embodiments, and all other embodiments obtained by a person of ordinary skill in the art without creative work belong to the protection scope of the present invention based on the embodiments of the present invention.
Referring to fig. 1-3, the present invention provides a technical solution:
a stainless steel flange with good sealing performance comprises a first connecting pipe 1, a second connecting pipe 2, a second fixing bolt 3 and a second flange connecting block 4, wherein a first flange connecting block 10 is fixedly arranged on one side of the first connecting pipe 1, a connecting through hole is formed in the first flange connecting block 10, a first fixing bolt 9 penetrates through the connecting through hole formed in the first flange connecting block 10, a first fixing bolt 9 is fixedly arranged on the first flange connecting block 10, a first fixing block 7 is fixedly arranged on the other side of the first connecting pipe 1, a first rubber sealing ring 6 is fixedly arranged on one side of the first fixing block 7, a second fixing block 5 is fixedly arranged on one side of the first rubber sealing ring 6, the second fixing block 5 is fixedly connected with the first fixing block 7 through a fixing block connecting bolt 8, and a fixing block connecting bolt 8 is fixedly arranged between the first fixing block 7 and the second fixing block 5, a second connecting pipe 2 is fixedly arranged on one side of a second fixing block 5, a second flange connecting block 4 is fixedly arranged on one side of the second connecting pipe 2, a connecting through hole is also formed in the second flange connecting block 4, a second fixing bolt 3 penetrates through the connecting through hole formed in the second flange connecting block 4, a second fixing bolt 3 is fixedly arranged on the second flange connecting block 4, a second connecting pipe liner 12 is fixedly arranged in the second connecting pipe 2, a limiting expansion joint 13 is fixedly arranged in the second connecting pipe liner 12, a pressure spring 15 is fixedly sleeved on the outer side of the limiting expansion joint 13, a second rubber sealing ring 14 is fixedly arranged at the bottom of the limiting expansion joint 13, the second rubber sealing ring 14 is circularly sleeved on the outer side of the inner sleeve 11, an inner sleeve 11 is fixedly arranged in the second rubber sealing ring 14, and one side of the inner sleeve 11 is fixedly connected with the first fixing block 7, has certain popularization value.
The utility model discloses work flow: when in use and installation, the inner sleeve 11 is inserted into the second connecting pipe 2, the joint between the sleeve 11 and the second connecting pipe 2 is sealed by the second rubber sealing ring 14, the second rubber sealing ring 14 is more tightly attached to the sleeve 11 through the spring pressure of the limiting expansion joint 13 and the pressure spring 15, so that the sealing performance of the stainless steel flange is better when the stainless steel flange is used, the loss is avoided, then the first fixed block 7 is connected with one side of the first rubber sealing ring 6, the second fixed block 5 is connected with the other side of the first rubber sealing ring 6, the first fixing block 7, the first rubber sealing ring 6 and the second fixing block 5 are fixedly connected through a fixing block connecting bolt 8, the sealing performance of the joint between the first fixing block 7 and the second fixing block 5 is guaranteed through the first rubber sealing ring 6, the sealing performance is improved, connection is convenient, and certain popularization value is achieved.
Although embodiments of the present invention have been shown and described, it will be appreciated by those skilled in the art that changes, modifications, substitutions and alterations can be made in these embodiments without departing from the principles and spirit of the invention, the scope of which is defined in the appended claims and their equivalents.

Claims (6)

1.一种密封性能好的不锈钢法兰,包括第一连接管(1)、第二连接管(2)、第二固定螺栓(3)以及第二法兰连接块(4),其特征在于:所述第一连接管(1)一侧固定安装有第一法兰连接块(10),所述第一法兰连接块(10)上固定安装有第一固定螺栓(9),所述第一连接管(1)另一侧固定安装有第一固定块(7),所述第一固定块(7)一侧固定安装有第一橡胶密封圈(6),所述第一橡胶密封圈(6)一侧固定安装有第二固定块(5),所述第一固定块(7)与第二固定块(5)之间固定安装有固定块连接螺栓(8),所述第二固定块(5)一侧固定安装有第二连接管(2),所述第二连接管(2)一侧固定安装有第二法兰连接块(4),所述第二法兰连接块(4)上固定安装有第二固定螺栓(3),所述第二连接管(2)内部固定安装有第二连接管内胆(12),所述第二连接管内胆(12)内部固定安装有限位伸缩节(13),所述限位伸缩节(13)外侧固定套设有压力弹簧(15),所述限位伸缩节(13)底部固定安装有第二橡胶密封圈(14),所述第二橡胶密封圈(14)内部固定安装有内套筒(11)。1. A stainless steel flange with good sealing performance, comprising a first connecting pipe (1), a second connecting pipe (2), a second fixing bolt (3) and a second flange connecting block (4), characterized in that : A first flange connection block (10) is fixedly installed on one side of the first connection pipe (1), and a first fixing bolt (9) is fixedly installed on the first flange connection block (10). A first fixing block (7) is fixedly installed on the other side of the first connecting pipe (1), a first rubber sealing ring (6) is fixedly installed on one side of the first fixing block (7), and the first rubber sealing A second fixing block (5) is fixedly installed on one side of the ring (6), and a fixing block connecting bolt (8) is fixedly installed between the first fixing block (7) and the second fixing block (5). A second connecting pipe (2) is fixedly installed on one side of the two fixing blocks (5), a second flange connecting block (4) is fixedly installed on one side of the second connecting pipe (2), and the second flange is connected A second fixing bolt (3) is fixedly installed on the block (4), and a second connecting tube inner tube (12) is fixedly installed inside the second connecting tube (2), and the second connecting tube inner tube (12) A limit expansion joint (13) is fixedly installed inside, a pressure spring (15) is fixedly sleeved on the outer side of the limit expansion joint (13), and a second rubber sealing ring ( 14), an inner sleeve (11) is fixedly installed inside the second rubber sealing ring (14). 2.根据权利要求1所述的一种密封性能好的不锈钢法兰,其特征在于:所述内套筒(11)一侧与第一固定块(7)固定连接。2 . The stainless steel flange with good sealing performance according to claim 1 , wherein one side of the inner sleeve ( 11 ) is fixedly connected with the first fixing block ( 7 ). 3 . 3.根据权利要求1所述的一种密封性能好的不锈钢法兰,其特征在于:所述第二橡胶密封圈(14)呈圆形套设有在内套筒(11)外侧。3 . The stainless steel flange with good sealing performance according to claim 1 , wherein the second rubber sealing ring ( 14 ) is sleeved on the outer side of the inner sleeve ( 11 ) in a circular shape. 4 . 4.根据权利要求1所述的一种密封性能好的不锈钢法兰,其特征在于:所述第二固定块(5)与第一固定块(7)之间通过固定块连接螺栓(8)固定连接。4. The stainless steel flange with good sealing performance according to claim 1, characterized in that: the second fixing block (5) and the first fixing block (7) are connected by a fixing block connecting bolt (8) Fixed connection. 5.根据权利要求1所述的一种密封性能好的不锈钢法兰,其特征在于:所述第一法兰连接块(10)上开设有连接通孔,第一固定螺栓(9)穿插过第一法兰连接块(10)上开设的连接通孔。5. The stainless steel flange with good sealing performance according to claim 1, characterized in that: the first flange connecting block (10) is provided with a connecting through hole, and the first fixing bolt (9) is inserted through it. A connecting through hole opened on the first flange connecting block (10). 6.根据权利要求1所述的一种密封性能好的不锈钢法兰,其特征在于:所述第二法兰连接块(4)同样开设有连接通孔,第二固定螺栓(3)穿插过第二法兰连接块(4)上开设的连接通孔。6. The stainless steel flange with good sealing performance according to claim 1, characterized in that: the second flange connecting block (4) is also provided with connecting through holes, and the second fixing bolts (3) are inserted through A connecting through hole opened on the second flange connecting block (4).
CN202023043173.1U 2020-12-17 2020-12-17 Stainless steel flange with good sealing performance Expired - Fee Related CN214789607U (en)

Priority Applications (1)

Application Number Priority Date Filing Date Title
CN202023043173.1U CN214789607U (en) 2020-12-17 2020-12-17 Stainless steel flange with good sealing performance

Applications Claiming Priority (1)

Application Number Priority Date Filing Date Title
CN202023043173.1U CN214789607U (en) 2020-12-17 2020-12-17 Stainless steel flange with good sealing performance

Publications (1)

Publication Number Publication Date
CN214789607U true CN214789607U (en) 2021-11-19

Family

ID=78720209

Family Applications (1)

Application Number Title Priority Date Filing Date
CN202023043173.1U Expired - Fee Related CN214789607U (en) 2020-12-17 2020-12-17 Stainless steel flange with good sealing performance

Country Status (1)

Country Link
CN (1) CN214789607U (en)

Cited By (1)

* Cited by examiner, † Cited by third party
Publication number Priority date Publication date Assignee Title
CN114033903A (en) * 2021-11-25 2022-02-11 刘玉清 Liquid pipeline flange

Cited By (1)

* Cited by examiner, † Cited by third party
Publication number Priority date Publication date Assignee Title
CN114033903A (en) * 2021-11-25 2022-02-11 刘玉清 Liquid pipeline flange

Similar Documents

Publication Publication Date Title
CN210179123U (en) Flange pipe connection structure of a steel bulk container
CN214789607U (en) Stainless steel flange with good sealing performance
CN210216573U (en) Pipeline system of running water
CN212929085U (en) Flange with good pressure resistance
CN212361210U (en) PE pipe connecting piece for irrigation
CN110043724A (en) A kind of flaring hoop type pipeline connector
CN114645980A (en) Stainless steel flange with good sealing performance
CN208535395U (en) A kind of novel pressure pipeline compensating joint
CN211599811U (en) Socket telescopic type closed joint device
CN211059547U (en) Quick coupling mechanism of pipeline based on municipal hydraulic engineering uses
CN222864423U (en) Extrusion type aluminum alloy flange
CN221704710U (en) Pipeline connecting device for hydraulic engineering
CN203517085U (en) Efficient flange for motor
CN208719627U (en) A kind of building water supply and drainage pipe connecting structure
CN221943491U (en) A high-sealing split flange structure
CN204493945U (en) A kind of novel combination type outlet(discharge) flange
CN213177180U (en) Sealing flange for pressure test
CN209444941U (en) A kind of flange assembly
CN212319068U (en) Mounting flange convenient to it is waterproof
CN207729094U (en) A kind of multiplex roles oil filter quick coupling
CN209925391U (en) Anti-drop pipe fixing piece for connecting pipes
CN216555795U (en) Quick erection joint with antiseep structure
CN213576083U (en) Low-pressure jacket flange
CN216666811U (en) Stainless steel flange for industrial drainage pump
CN216618906U (en) Neck-equipped welding flange for water pump

Legal Events

Date Code Title Description
GR01 Patent grant
GR01 Patent grant
CF01 Termination of patent right due to non-payment of annual fee

Granted publication date: 20211119

CF01 Termination of patent right due to non-payment of annual fee