CN214739151U - An assembly type ceiling sound insulation board installation limit structure - Google Patents

An assembly type ceiling sound insulation board installation limit structure Download PDF

Info

Publication number
CN214739151U
CN214739151U CN202022432394.1U CN202022432394U CN214739151U CN 214739151 U CN214739151 U CN 214739151U CN 202022432394 U CN202022432394 U CN 202022432394U CN 214739151 U CN214739151 U CN 214739151U
Authority
CN
China
Prior art keywords
sliding shaft
keel
movably connected
sound insulation
insulation board
Prior art date
Legal status (The legal status is an assumption and is not a legal conclusion. Google has not performed a legal analysis and makes no representation as to the accuracy of the status listed.)
Expired - Fee Related
Application number
CN202022432394.1U
Other languages
Chinese (zh)
Inventor
何志伟
俞旭光
徐金虎
赵越
李广
王文武
郑强
Current Assignee (The listed assignees may be inaccurate. Google has not performed a legal analysis and makes no representation or warranty as to the accuracy of the list.)
Gold Mantis Fine Decoration Technology Suzhou Co Ltd
Original Assignee
Gold Mantis Fine Decoration Technology Suzhou Co Ltd
Priority date (The priority date is an assumption and is not a legal conclusion. Google has not performed a legal analysis and makes no representation as to the accuracy of the date listed.)
Filing date
Publication date
Application filed by Gold Mantis Fine Decoration Technology Suzhou Co Ltd filed Critical Gold Mantis Fine Decoration Technology Suzhou Co Ltd
Priority to CN202022432394.1U priority Critical patent/CN214739151U/en
Application granted granted Critical
Publication of CN214739151U publication Critical patent/CN214739151U/en
Expired - Fee Related legal-status Critical Current
Anticipated expiration legal-status Critical

Links

Images

Landscapes

  • Building Environments (AREA)

Abstract

本实用新型公开了一种装配式吊顶隔音板安装限位结构,包括主龙骨、第一滑槽、第一滑轴、主滑轴、轻钢龙骨和第二滑轴,所述第二滑轴的底部活动连接有边龙骨,所述主龙骨的底部固定连接有第一衔接板,所述边龙骨的底部固定连接有第二衔接板,所述第一滑轴和第二滑轴的上表面均固定连接有衔接板,所述衔接板的一侧开设有衔接孔。本实用新型的主要优势在于提供一种装配式吊顶隔音板安装限位结构,本设备提供一种安装结构,在使用时,将隔音板通过第一衔接板和第二衔接板卡入后,将轻钢龙骨移动到合适的位置,转动控制螺栓,使得挤压板不断前压,从而不断夹紧隔音板既而起到对隔音板的固定作用固定绳和吊杆的双重悬挂支撑,使得装置的悬挂更加稳定。

Figure 202022432394

The utility model discloses an installation limit structure of an assembled ceiling sound insulation board, which comprises a main keel, a first sliding groove, a first sliding shaft, a main sliding shaft, a light steel keel and a second sliding shaft, the second sliding shaft A side keel is movably connected to the bottom of the main keel, a first connecting plate is fixedly connected to the bottom of the main keel, a second connecting plate is fixedly connected to the bottom of the side keel, and the upper surfaces of the first sliding shaft and the second sliding shaft are A connecting plate is fixedly connected with each other, and one side of the connecting plate is provided with a connecting hole. The main advantage of the utility model is to provide an assembly-type ceiling sound insulation board installation limit structure, the device provides an installation structure, when in use, after the sound insulation board is clamped through the first connecting plate and the second connecting plate, the The light steel keel is moved to a suitable position, and the control bolts are turned to make the extrusion plate continuously press forward, so as to continuously clamp the sound insulation board, which also plays a role in fixing the sound insulation board. The double suspension support of the fixed rope and the hanger makes the device hang. more stable.

Figure 202022432394

Description

Mounting and limiting structure for assembled ceiling acoustic panel
Technical Field
The utility model relates to a sound-proof board equipment technical field specifically is an assembled furred ceiling sound-proof board installation limit structure.
Background
The suspended ceiling is a decoration for decorating the top of the residential environment of a house. In short, it refers to the decoration of ceiling, which is one of the important parts of interior decoration. The suspended ceiling has the functions of heat preservation, heat insulation, sound insulation and sound absorption, and is also a hidden layer for projects such as electric, ventilation air-conditioning, communication, fire prevention and alarm pipeline equipment. Home decoration suspended ceilings are a common link in home decoration. The suspended ceiling is classified differently according to the material of the decorative plate. The ceiling decoration material is the main basis of distinguishing the ceiling name, and mainly has: light steel keel gypsum board suspended ceiling, mineral wool board suspended ceiling, splint suspended ceiling, special-shaped long aluminum pinch plate suspended ceiling, square paint-coated aluminum pinch plate suspended ceiling, painted glass suspended ceiling, aluminum honeycomb perforated acoustic panel suspended ceiling, full-house duplex suspended ceiling and the like. The decorative board takes a very important position in the whole decoration of a room, and the top surface of the room is properly decorated, so that the indoor environment can be beautified, and a colorful indoor space artistic image can be created. When the ceiling decoration material and the design scheme are selected, the principle of material saving, firmness, safety, beauty and practicability is followed, and the sound insulation board is a plate block which acts on the sound insulation effect. There are building sound insulation and structure sound insulation classifications. The sound insulation board can not obstruct sound of all frequencies, an object has a natural resonant frequency, the sound insulation effect of the sound insulation board is obviously reduced when the sound insulation board is close to the sound of the object resonant frequency. The soundproof panel has a distinction between air sound insulation and vibration sound insulation. An aero-acoustic panel, i.e., a panel that blocks sound transmitted through the air. Vibrating acoustic panels, i.e., panels and systems that block sound transmitted through rigid structures. Current furred ceiling acoustic celotex board lacks stable mounting structure when the installation, and the acoustic celotex board produces easily and rocks, lacks fixed knot structure, influences the result of use.
SUMMERY OF THE UTILITY MODEL
Technical problem to be solved
Not enough to prior art, the utility model provides an assembled furred ceiling acoustic celotex board installation limit structure has solved the problem that proposes among the above-mentioned background art.
(II) technical scheme
In order to achieve the above purpose, the utility model discloses a following technical scheme realizes: an assembly type ceiling sound insulation board installation limiting structure comprises a main keel, wherein first sliding grooves are formed in two sides of the main keel, a first sliding shaft and a main sliding shaft are movably connected inside the first sliding grooves, light steel keels are fixedly connected to two sides of the first sliding shaft, a second sliding shaft is movably connected to one ends of the light steel keels, an edge keel is movably connected to the bottom of the second sliding shaft, a first connecting plate is fixedly connected to the bottom of the main keel, a second connecting plate is fixedly connected to the bottom of the edge keel, connecting plates are fixedly connected to the upper surfaces of the first sliding shaft and the second sliding shaft, connecting holes are formed in one side of each connecting plate, second sliding grooves are formed in two sides of the edge keel, a second sliding shaft and a secondary sliding shaft are movably connected inside the second sliding grooves, connecting seats are fixedly connected to the upper surfaces of the main sliding shaft and the secondary sliding shaft, the upper surface of the linking seat is movably connected with a threaded seat, one end of the threaded seat is fixedly connected with a hanging rod, and one end of the hanging rod is in threaded connection with a fixing plate.
Optionally, the bottom of the first connecting plate is fixedly connected with a bottom plate, and the bottom of the bottom plate is movably connected with a protective net.
Optionally, the two sides of the main keel are fixedly connected with the auxiliary keel.
Optionally, the upper surfaces of the first connecting plate and the second connecting plate are movably connected with limiting springs.
Optionally, a hook is movably connected inside the engagement hole, and one end of the hook is movably connected with a fixed rope.
Optionally, the upper surface of the light steel keel is movably connected with a control bolt, and one end of the control bolt is movably connected with an extrusion plate.
Optionally, one end of the fixed rope is movably connected with a limiting plate.
Optionally, the bottom of the protective net is movably connected with a fixing bolt.
Optionally, the surface of the bottom plate is provided with a sound-absorbing sponge.
(III) advantageous effects
The utility model provides an assembled furred ceiling acoustic celotex board installation limit structure possesses following beneficial effect:
the utility model has the main advantages that the utility model provides an assembled ceiling acoustic celotex board installation limit structure, the equipment provides an installation structure, when using, the both ends of false keel are connected with main joist and limit fossil fragments respectively, through the setting of first spout and second spout, make light steel keel accessible first slide shaft and second slide shaft move, after the acoustic celotex board is gone into through first linkage plate and second linkage plate card, move light steel keel to suitable position, rotate the control bolt, make the stripper plate constantly forward pressure, thereby constantly press from both sides tight acoustic celotex board and play the fixed action to the acoustic celotex board, the setting of limiting spring, its resilience makes the acoustic celotex board that the card goes into more laminate with the stripper plate, thereby play better limiting action, hang the device through fixed plate and limiting plate after having good the acoustic celotex board and use the mode of bolt fastening, the dual suspension support of fixed rope and jib, make hanging of device more stable, be provided with on the bottom plate and inhale the sound sponge, inhale sound sponge cooperation acoustic celotex board to play better syllable-dividing effect, the setting of protection network has played the guard action to the device from the bottom, therefore this device has good suitability.
Drawings
FIG. 1 is a schematic structural view of the present invention;
FIG. 2 is a schematic view of the hook mechanism of the present invention;
FIG. 3 is a schematic view of the first chute structure of the present invention;
FIG. 4 is a schematic sectional view of the control bolt structure of the present invention;
FIG. 5 is a schematic sectional view of the connection seat structure of the present invention;
fig. 6 is a schematic sectional view of the boom structure of the present invention.
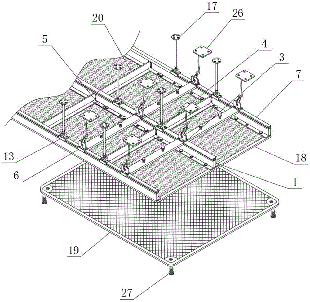
In the figure: 1. a main keel; 2. a first chute; 3. a first slide shaft; 4. a main slide shaft; 5. a light steel keel; 6. a second slide shaft; 7. a side keel; 8. a first connector tile; 9. a second connector tile; 10. a connector tile; 11. an engagement hole; 12. a second chute; 13. a secondary slide shaft; 14. a linking seat; 15. a threaded seat; 16. a boom; 17. a fixing plate; 18. a base plate; 19. a protective net; 20. A false keel; 21. a limiting spring; 22. hooking; 23. fixing a rope; 24. a control bolt; 25. A pressing plate; 26. a limiting plate; 27. and (5) fixing the bolt.
Detailed Description
The technical solutions in the embodiments of the present invention will be described clearly and completely with reference to the accompanying drawings in the embodiments of the present invention, and it is obvious that the described embodiments are only some embodiments of the present invention, not all embodiments.
Referring to fig. 1 to 6, the present invention provides a technical solution: an assembly type ceiling sound insulation board installation limiting structure comprises a main keel 1, auxiliary keels 20 are fixedly connected to two sides of the main keel 1, first sliding grooves 2 are formed in two sides of the main keel 1, a first sliding shaft 3 and a main sliding shaft 4 are movably connected to the inside of the first sliding groove 2, light steel keels 5 are fixedly connected to two sides of the first sliding shaft 3, each light steel keel 5 is made of building materials and has the effects of light weight, high strength and adaptability to water prevention, shock prevention, dust prevention, constant temperature and the like, control bolts 24 are movably connected to the upper surfaces of the light steel keels 5, extrusion plates 25 are movably connected to one ends of the control bolts 24, a second sliding shaft 6 is movably connected to one end of each light steel keel 5, a side keel 7 is movably connected to the bottom of the second sliding shaft 6, a first connecting plate 8 is fixedly connected to the bottom of the main keel 1, a bottom plate 18 is fixedly connected to the bottom of the first connecting plate 8, sound absorption sponge is arranged on the surface of the bottom plate 18, the sound-absorbing sponge is made of melamine foam, and has the unique comprehensive properties of sound absorption, heat insulation, flame retardance, high temperature resistance, light weight and the like. The connecting plate is widely used in the fields of building decoration, traffic vehicles, water ships, aerospace, electromechanical equipment, industrial sound absorption and heat preservation and the like, a protective net 19 is movably connected to the bottom of a bottom plate 18, a fixing bolt 27 is movably connected to the bottom of the protective net 19, a second connecting plate 9 is fixedly connected to the bottom of a side keel 7, limiting springs 21 are movably connected to the upper surfaces of a first connecting plate 8 and the second connecting plate 9, connecting plates 10 are fixedly connected to the upper surfaces of a first sliding shaft 3 and a second sliding shaft 6, a connecting hole 11 is formed in one side of each connecting plate 10, a hook 22 is movably connected to the inside of each connecting hole 11, a fixing rope 23 is movably connected to one end of each hook 22, a limiting plate 26 is movably connected to one end of each fixing rope 23, second sliding grooves 12 are formed in the two sides of the side keel, a second sliding shaft 6 and a secondary sliding shaft 13 are movably connected to the inside of each second sliding groove 12, the upper surfaces of the main sliding shaft 4 and the secondary sliding shaft 13 are fixedly connected with a joining seat 14, the upper surface of the joining seat 14 is movably connected with a threaded seat 15, one end of the threaded seat 15 is fixedly connected with a suspender 16, one end of the suspender 16 is in threaded connection with a fixing plate 17, two ends of the false keel 20 are respectively connected with the main keel 1 and the side keel 7, the light steel keel 5 can move through the first sliding shaft 3 and the second sliding shaft 6 through the arrangement of the first sliding chute 2 and the second sliding chute 12, the sound insulation board is clamped through the first joining plate 8 and the second joining plate 9, the light steel keel 5 is moved to a proper position, the control bolt 24 is rotated to enable the extrusion plate 25 to be pressed forward continuously, so that the sound insulation board is clamped continuously to play a role in fixing the sound insulation board, the arrangement of the limit spring 21, the resilience of the sound insulation board enables the clamped sound insulation board to be more attached to the extrusion plate 25, so that a better limiting effect is played, hang the device through fixed plate 17 and limiting plate 26 use the mode of bolt fastening with the sound insulation integrated circuit board after good, the dual support that hangs of fixed rope 23 and jib 16, make hanging of device more stable, be provided with on the bottom plate 18 and inhale the sound sponge, inhale sound sponge cooperation acoustic celotex board, thereby play better syllable-dividing effect, the setting of protection network 19 has played the guard action to the device from the bottom, consequently, this device has good suitability, the detailed description of known function and known part has been omitted to this disclosed embodiment, for guaranteeing the compatibility of equipment, the operating means who adopts all keeps unanimous with market apparatus parameter.
In conclusion, when the limiting structure for mounting the fabricated ceiling acoustic panel is used, two ends of the auxiliary keel 20 are respectively connected with the main keel 1 and the side keel 7, the light steel keel 5 can move through the first sliding shaft 3 and the second sliding shaft 6 through the arrangement of the first sliding groove 2 and the second sliding groove 12, the acoustic panel is clamped through the first connecting plate 8 and the second connecting plate 9, the light steel keel 5 is moved to a proper position, the control bolt 24 is rotated to enable the extrusion plate 25 to be continuously pressed forwards, so that the acoustic panel is continuously clamped, the acoustic panel is fixed, the limiting spring 21 is arranged, the rebound resilience of the limiting spring enables the clamped acoustic panel to be more attached to the extrusion plate 25, so that a better limiting effect is achieved, the device is suspended through the fixing plate 17 and the limiting plate 26 in a bolt fixing mode after the acoustic panel is clamped, the double suspension support of the rope 23 and the suspender 16 is fixed, make hanging of device more stable, be provided with on the bottom plate 18 and inhale the sound sponge, inhale sound sponge cooperation acoustic celotex board to play better syllable-dividing effect, the setting of protection network 19 has played the guard action to the device from the bottom.
The above, only be the concrete implementation of the preferred embodiment of the present invention, but the protection scope of the present invention is not limited thereto, and any person skilled in the art is in the technical scope of the present invention, according to the technical solution of the present invention and the utility model, the concept of which is equivalent to replace or change, should be covered within the protection scope of the present invention.

Claims (9)

1.一种装配式吊顶隔音板安装限位结构,包括主龙骨(1),其特征在于:所述主龙骨(1)的两侧均开设有第一滑槽(2),所述第一滑槽(2)的内部活动连接有第一滑轴(3)和主滑轴(4),所述第一滑轴(3)的两侧均固定连接有轻钢龙骨(5),所述轻钢龙骨(5)的一端活动连接有第二滑轴(6),所述第二滑轴(6)的底部活动连接有边龙骨(7),所述主龙骨(1)的底部固定连接有第一衔接板(8),所述边龙骨(7)的底部固定连接有第二衔接板(9),所述第一滑轴(3)和第二滑轴(6)的上表面均固定连接有衔接板(10),所述衔接板(10)的一侧开设有衔接孔(11),所述边龙骨的两侧均开设有第二滑槽(12),所述第二滑槽(12)的内部活动连接有第二滑轴(6)和次滑轴(13),所述主滑轴(4)和次滑轴(13)的上表面固定连接有衔接座(14),所述衔接座(14)的上表面活动连接有螺纹座(15),所述螺纹座(15)的一端固定连接有吊杆(16),所述吊杆(16)的一端螺纹连接有固定板(17)。1. A prefabricated ceiling sound insulation board installation limit structure, comprising a main keel (1), characterized in that: both sides of the main keel (1) are provided with a first chute (2), the first A first sliding shaft (3) and a main sliding shaft (4) are movably connected inside the chute (2), and light steel keels (5) are fixedly connected to both sides of the first sliding shaft (3). One end of the light steel keel (5) is movably connected with a second sliding shaft (6), the bottom of the second sliding shaft (6) is movably connected with a side keel (7), and the bottom of the main keel (1) is fixedly connected There is a first connecting plate (8), the bottom of the side keel (7) is fixedly connected with a second connecting plate (9), and the upper surfaces of the first sliding shaft (3) and the second sliding shaft (6) are both A connecting plate (10) is fixedly connected, one side of the connecting plate (10) is provided with a connecting hole (11), and both sides of the side keel are provided with a second chute (12), the second sliding A second sliding shaft (6) and a secondary sliding shaft (13) are movably connected inside the groove (12), and an engagement seat (14) is fixedly connected to the upper surfaces of the primary sliding shaft (4) and the secondary sliding shaft (13). , the upper surface of the connecting seat (14) is movably connected with a threaded seat (15), one end of the threaded seat (15) is fixedly connected with a hanger rod (16), and one end of the hanger rod (16) is threadedly connected with a hanger rod (16). Fixing plate (17). 2.根据权利要求1所述的一种装配式吊顶隔音板安装限位结构,其特征在于:所述第一衔接板(8)的底部固定连接有底板(18),所述底板(18)的底部活动连接有防护网(19)。2. An assembly-type ceiling sound insulation board installation limiting structure according to claim 1, characterized in that: a bottom plate (18) is fixedly connected to the bottom of the first connecting plate (8), and the bottom plate (18) There is a protective net (19) at the bottom of the movable connection. 3.根据权利要求1所述的一种装配式吊顶隔音板安装限位结构,其特征在于:所述主龙骨(1)的两侧均固定连接有副龙骨(20)。3. An assembly-type ceiling sound insulation board installation limiting structure according to claim 1, characterized in that: both sides of the main keel (1) are fixedly connected with auxiliary keels (20). 4.根据权利要求1所述的一种装配式吊顶隔音板安装限位结构,其特征在于:所述第一衔接板(8)和第二衔接板(9)的上表面均活动连接有限位弹簧(21)。4 . The installation limit structure of an assembled ceiling sound insulation board according to claim 1 , wherein the upper surfaces of the first connecting plate (8) and the second connecting plate (9) are movably connected to limit positions. 5 . Spring (21). 5.根据权利要求1所述的一种装配式吊顶隔音板安装限位结构,其特征在于:所述衔接孔(11)的内部活动连接有挂钩(22),所述挂钩(22)的一端活动连接有固定绳(23)。5 . The installation limit structure of an assembled ceiling soundproof panel according to claim 1 , wherein a hook ( 22 ) is movably connected inside the connecting hole ( 11 ), and one end of the hook ( 22 ) is movably connected. 6 . The movable connection is provided with a fixed rope (23). 6.根据权利要求1所述的一种装配式吊顶隔音板安装限位结构,其特征在于:所述轻钢龙骨(5)的上表面活动连接有控制螺栓(24),所述控制螺栓(24)的一端活动连接有挤压板(25)。6. An assembled ceiling soundproof panel installation limit structure according to claim 1, characterized in that: the upper surface of the light steel keel (5) is movably connected with control bolts (24), and the control bolts ( One end of 24) is movably connected with a pressing plate (25). 7.根据权利要求5所述的一种装配式吊顶隔音板安装限位结构,其特征在于:所述固定绳(23)的一端活动连接有限位板(26)。7 . The installation limiting structure of an assembled ceiling soundproof panel according to claim 5 , wherein one end of the fixing rope ( 23 ) is movably connected to the limiting plate ( 26 ). 8 . 8.根据权利要求2所述的一种装配式吊顶隔音板安装限位结构,其特征在于:所述防护网(19)的底部活动连接有固定螺栓(27)。8 . The installation limit structure of an assembled ceiling sound insulation board according to claim 2 , wherein a fixing bolt ( 27 ) is movably connected to the bottom of the protective net ( 19 ). 9 . 9.根据权利要求2所述的一种装配式吊顶隔音板安装限位结构,其特征在于:所述底板(18)的表面设置有吸音海绵。9 . The installation limiting structure of an assembled ceiling sound insulation board according to claim 2 , wherein the surface of the bottom plate ( 18 ) is provided with a sound-absorbing sponge. 10 .
CN202022432394.1U 2020-10-28 2020-10-28 An assembly type ceiling sound insulation board installation limit structure Expired - Fee Related CN214739151U (en)

Priority Applications (1)

Application Number Priority Date Filing Date Title
CN202022432394.1U CN214739151U (en) 2020-10-28 2020-10-28 An assembly type ceiling sound insulation board installation limit structure

Applications Claiming Priority (1)

Application Number Priority Date Filing Date Title
CN202022432394.1U CN214739151U (en) 2020-10-28 2020-10-28 An assembly type ceiling sound insulation board installation limit structure

Publications (1)

Publication Number Publication Date
CN214739151U true CN214739151U (en) 2021-11-16

Family

ID=78574534

Family Applications (1)

Application Number Title Priority Date Filing Date
CN202022432394.1U Expired - Fee Related CN214739151U (en) 2020-10-28 2020-10-28 An assembly type ceiling sound insulation board installation limit structure

Country Status (1)

Country Link
CN (1) CN214739151U (en)

Cited By (1)

* Cited by examiner, † Cited by third party
Publication number Priority date Publication date Assignee Title
CN112252565A (en) * 2020-10-28 2021-01-22 金螳螂精装科技(苏州)有限公司 Mounting and limiting structure for assembled ceiling acoustic panel

Cited By (1)

* Cited by examiner, † Cited by third party
Publication number Priority date Publication date Assignee Title
CN112252565A (en) * 2020-10-28 2021-01-22 金螳螂精装科技(苏州)有限公司 Mounting and limiting structure for assembled ceiling acoustic panel

Similar Documents

Publication Publication Date Title
CN111173186A (en) Environment-friendly suspended ceiling structure with good shock resistance
CN112252565A (en) Mounting and limiting structure for assembled ceiling acoustic panel
CN214739151U (en) An assembly type ceiling sound insulation board installation limit structure
KR100790221B1 (en) Resonance sound absorption structure molding and sound absorption structure
WO2019015107A1 (en) Large area mineral wool board ceiling structure
CN222500743U (en) Indoor ceiling structure
CN214144496U (en) Composite sound absorption member and mounting structure thereof
CN218952558U (en) Novel indoor sound absorption suspended ceiling system of building
CN214461977U (en) Ceramic fiber ceiling and suspended ceiling system thereof
CN207934232U (en) A kind of novel ceramsite plasterboard
CN110258902A (en) A kind of adjustable hang ceiling panel layering mounting structure of panel height
CN213682745U (en) Subassembly formula furred ceiling that lacquer face was consolidated
CN215802611U (en) Adjustable pre-buried ceiling structure
CN205530914U (en) A plasterboard suspended ceiling structure for public building
CN213087182U (en) Antidetonation environmental protection furred ceiling structure
CN212427730U (en) Ceiling component for single plate top
CN210658892U (en) Suspended ceiling for decoration
CN217734531U (en) Suspended ceiling structure for interior decoration
CN112392191A (en) Ceiling beautifies device for indoor decoration
CN112282258A (en) Ceramic fiber ceiling and suspended ceiling system thereof
CN207739488U (en) Furred ceiling is let out in a kind of fire prevention for building
CN222796839U (en) A suspended ceiling that is easy to install
CN206568670U (en) Fireproof soundproof board
CN217871312U (en) Building fire control furred ceiling device
CN211923180U (en) Ceiling structure applied to architectural decoration

Legal Events

Date Code Title Description
GR01 Patent grant
GR01 Patent grant
CF01 Termination of patent right due to non-payment of annual fee

Granted publication date: 20211116

CF01 Termination of patent right due to non-payment of annual fee