CN214722182U - Automatic machining device for machining sliding rail - Google Patents

Automatic machining device for machining sliding rail Download PDF

Info

Publication number
CN214722182U
CN214722182U CN202121201993.0U CN202121201993U CN214722182U CN 214722182 U CN214722182 U CN 214722182U CN 202121201993 U CN202121201993 U CN 202121201993U CN 214722182 U CN214722182 U CN 214722182U
Authority
CN
China
Prior art keywords
dust collection
sliding rail
control box
rotating shaft
belt pulley
Prior art date
Legal status (The legal status is an assumption and is not a legal conclusion. Google has not performed a legal analysis and makes no representation as to the accuracy of the status listed.)
Expired - Fee Related
Application number
CN202121201993.0U
Other languages
Chinese (zh)
Inventor
胡圣文
王光立
胡坤
Current Assignee (The listed assignees may be inaccurate. Google has not performed a legal analysis and makes no representation or warranty as to the accuracy of the list.)
Wuhu Furun Precision Machinery Co ltd
Original Assignee
Wuhu Furun Precision Machinery Co ltd
Priority date (The priority date is an assumption and is not a legal conclusion. Google has not performed a legal analysis and makes no representation as to the accuracy of the date listed.)
Filing date
Publication date
Application filed by Wuhu Furun Precision Machinery Co ltd filed Critical Wuhu Furun Precision Machinery Co ltd
Priority to CN202121201993.0U priority Critical patent/CN214722182U/en
Application granted granted Critical
Publication of CN214722182U publication Critical patent/CN214722182U/en
Expired - Fee Related legal-status Critical Current
Anticipated expiration legal-status Critical

Links

Images

Landscapes

  • Finish Polishing, Edge Sharpening, And Grinding By Specific Grinding Devices (AREA)

Abstract

本实用新型公开了一种用于滑轨加工的自动化加工装置,其技术方案要点是:包括支撑台和操控箱,支撑台的上表面固定设置有操控箱,操控箱的内部底端设置有若干升降装置,升降装置的顶部固定安装有放置板,放置板的上表面固定安装有滑轨机构,操控箱的后端面设置有吸尘装置,吸尘装置由吸尘机、过滤网、集尘箱、集尘管和集尘口组成,吸尘机的出风口固定安装有过滤网,吸尘机右端固定安装有集尘箱,集尘箱顶端安装有集尘管,所集尘管远离集尘箱的一端固定安装有集尘口,操控箱的顶端固定安装有第一电机,本实用新型解决了不具有铣削功能,以及打磨会产生粉尘没有较好的装置进行收集的问题。

Figure 202121201993

The utility model discloses an automatic processing device for sliding rail processing. The technical scheme of the device includes: a support table and a control box; a control box is fixedly arranged on the upper surface of the support table; Lifting device, the top of the lifting device is fixedly installed with a placing plate, the upper surface of the placing plate is fixedly installed with a sliding rail mechanism, and the rear end of the control box is provided with a vacuuming device. It is composed of a dust collecting pipe and a dust collecting port. The air outlet of the vacuum cleaner is fixedly installed with a filter screen, the right end of the vacuum cleaner is fixedly installed with a dust collecting box, and the top of the dust collecting box is installed with a dust collecting pipe, which is far away from the dust A dust collecting port is fixedly installed at one end of the box, and a first motor is fixedly installed at the top of the control box.

Figure 202121201993

Description

Automatic machining device for machining sliding rail
Technical Field
The utility model relates to an automatic device technical field, in particular to an automatic processingequipment for slide rail processing.
Background
At present, most of slide rail processing adopts the traditional manual polishing mode, and the manual polishing of small-size slide rails is enough, and the slide rail that is bigger is difficult to master the plane degree, easily produces unsmooth phenomenon, and the texture of polishing is difficult to keep unanimous, requires highly to staff's operation proficiency, and work efficiency is low.
Chinese patent (publication No. CN 206464826U) discloses a milling and grinding device for slide rail processing, the device directly fixes the slide rail on the workstation, the first motor drives the lead screw to realize moving left and right, the second motor drives the belt, the gear engagement rack motion realizes the regulation of the upper and lower height of the whole workstation, the locking bolt prevents sliding, and milling, grinding and grinding are carried out in proper order at last, realizing the effect of mechanized milling and grinding integrated processing. The device can only mill the operation of polishing to a slide rail once, and work efficiency is low, wastes time and energy, can not satisfy modernized user demand.
Some polishing devices are available in the market, but the polishing device is high in price, only has polishing function, does not have a milling function, needs to be moved onto the polishing device after being milled, and is inconvenient; meanwhile, dust generated by polishing can be collected without a good device, and the health of workers is injured.
SUMMERY OF THE UTILITY MODEL
To the problem of mentioning in the background art, the utility model aims at providing an automatic processing device for slide rail processing to the problem that does not have the milling function that mentions in the solution background art, and polish and can produce the dust and do not have better device and collect.
The above technical purpose of the present invention can be achieved by the following technical solutions: an automatic processing device for processing a sliding rail comprises a supporting table and a control box, wherein the upper surface of the supporting table is fixedly provided with the control box, the inner bottom end of the control box is provided with a plurality of lifting devices, the top of each lifting device is fixedly provided with a placing plate, the upper surface of each placing plate is fixedly provided with a sliding rail mechanism, the rear end surface of the control box is provided with a dust suction device, each dust suction device comprises a dust collector, a filter screen, a dust collection box, a dust collection pipe and a dust collection port, the air outlet of the dust collector is fixedly provided with the filter screen, the right end of the dust collector is fixedly provided with the dust collection box, the top end of the dust collection box is provided with the dust collection pipe, one end of the dust collection pipe, which is far away from the dust collection box, the top end of the control box is fixedly provided with a first motor, the bottom end of the first motor is fixedly provided with a milling cutter, the top of the control box is fixedly provided with a brush device, and the bottom end of the control box is fixedly provided with a polishing device, the bottom fixed mounting of brace table has the toolbox, and the terminal surface fixed mounting has control switch before the brace table.
Further, the slide rail mechanism comprises a slide rail, mounting bolts, a fixing table, a placing groove and a fixing hole, the slide rail is fixed through the mounting bolts, the fixing table is fixedly arranged on the fixing surface of the upper surface of the slide rail, the placing groove is formed in the upper surface of the fixing table, and the fixing table is mounted on the slide rail through the fixing hole.
Through above-mentioned technical scheme, when using, can not influence each other, can improve the efficiency of processing, labour saving and time saving has satisfied the processing demand of modernization, guarantees the stability that the device was placed, ensures the normal work of device, the life of extension device.
Further, the brush device is composed of a second motor, a first rotating shaft, a first belt pulley, a connecting belt and a brush body, the first rotating shaft is fixedly installed at the output end of the second motor, the first belt pulley is sleeved on the outer surface of the first rotating shaft, the connecting belt is arranged on the outer surface of the first belt pulley, and the brush body is fixedly installed at the bottom of the first belt pulley.
Through the technical scheme, the brushing can be arranged on the device at the bottom.
Furthermore, grinding device comprises bearing, second axis of rotation, second belt pulley and sanding block, and the bottom fixed mounting of bearing has the second axis of rotation, and second axis of rotation outside cover has the second belt pulley, and second axis of rotation bottom end fixed mounting has the sanding block.
Through above-mentioned technical scheme, can polish to the last fixed device of slide rail mechanism.
Further, the left side of the connecting belt is connected with a second belt pulley.
Through above-mentioned technical scheme, connect the belt through setting up, can drive grinding device's rotation.
To sum up, the utility model discloses mainly have following beneficial effect:
the utility model discloses a through the cooperation that sets up milling cutter, grinding device and brush device, can mill, polish and the operation of brush to surface mounting's device on the slide rail in proper order, can not influence each other, can improve the efficiency of processing, labour saving and time saving has satisfied modernized processing demand, and the practicality is strong.
The utility model discloses a through setting up dust extraction, in sucking the dust collection outer box with the dust through suction hood and dust absorption pipe, avoid the dust dispersion to cause the threat to operating personnel's physical and mental health in workshop, can save manpower and materials, improved labor efficiency, reduced manufacturing cost.
Drawings
FIG. 1 is a schematic structural view of the present embodiment;
FIG. 2 is a rear view of the present embodiment;
FIG. 3 is a top view of the slide rail mechanism;
FIG. 4 is a left side view of the slide rail mechanism;
fig. 5 is a schematic diagram of a in fig. 1.
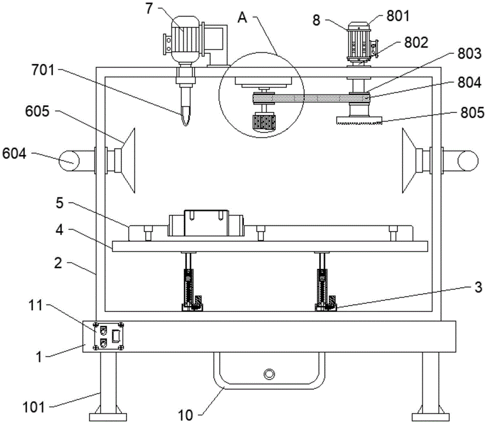
Reference numerals: 1. a support table; 2. a control box; 3. a lifting device; 4. placing the plate; 5. a slide rail mechanism; 501. a sliding rail; 502. installing a bolt; 503. a fixed table; 504. a placement groove; 505. a fixing hole; 6. a dust collection device; 601. a dust collector; 602. a filter screen; 603. a dust collection box; 604. a dust collecting pipe; 605. a dust collection port; 7. a first motor; 701. milling a cutter; 8. a brush device; 801. a second motor; 802. a first rotating shaft; 803. a first pulley; 804. connecting a belt; 805. a brush body; 9. a polishing device; 901. a bearing; 902. a second rotating shaft; 903. a second pulley; 904. grinding blocks; 10. a tool box; 11. and controlling the switch.
Detailed Description
The technical solutions in the embodiments of the present invention will be described clearly and completely with reference to the accompanying drawings in the embodiments of the present invention, and it is obvious that the described embodiments are only some embodiments of the present invention, not all embodiments. Based on the embodiments in the present invention, all other embodiments obtained by a person skilled in the art without creative work belong to the protection scope of the present invention.
In the description of the present invention, it should be noted that the terms "center", "upper", "lower", "left", "right", "inner", "outer", "top", "bottom", "side", "vertical", "horizontal", and the like indicate the orientation or positional relationship based on the orientation or positional relationship shown in the drawings, and are only for convenience of description and simplification of description, but do not indicate or imply that the device or element referred to must have a specific orientation, be constructed and operated in a specific orientation, and thus, should not be construed as limiting the present invention. Furthermore, the terms "first," "second," "third," "fourth," "fifth," and "sixth" are used for descriptive purposes only and are not to be construed as indicating or implying relative importance.
In the description of the present invention, it is to be noted that, unless otherwise explicitly specified or limited, the terms "mounted," "connected," and "connected" are to be construed broadly, and may be, for example, fixedly connected, detachably connected, or integrally connected; can be mechanically or electrically connected; they may be connected directly or indirectly through intervening media, or they may be interconnected between two elements. The specific meaning of the above terms in the present invention can be understood in specific cases to those skilled in the art.
Example 1
Referring to fig. 1 to 5, an automatic processing device for processing a sliding rail comprises a supporting table 1 and a control box 2, the upper surface of the supporting table 1 is fixedly provided with the control box 2, the bottom end of the interior of the control box 2 is provided with a plurality of lifting devices 3, the top of each lifting device 3 is fixedly provided with a placing plate 4, the upper surface of each placing plate 4 is fixedly provided with a sliding rail mechanism 5, the rear end surface of the control box 2 is provided with a dust suction device 6, each dust suction device 6 is composed of a dust collector 601, a filter screen 602, a dust collection box 603, a dust collection pipe 604 and a dust collection port 605, the air outlet of the dust collector 601 is fixedly provided with the filter screen 602, the right end of the dust collector 601 is fixedly provided with the dust collection box 603, the top end of the dust collection pipe 604 far away from the dust collection box 603 is fixedly provided with the dust collection port 605, the top end of the control box 2 is fixedly provided with a first motor 7, the bottom end of the first motor 7 is fixedly provided with a milling cutter 701, the fixed brush device 8 that is provided with in control box 2 top, the bottom mounting of control box 2 is provided with grinding device 9, and the bottom fixed mounting of brace table 1 has toolbox 10, and the terminal surface fixed mounting has control switch 11 before the brace table 1, and dust extraction 6 is fixed through the bolt with control box 2, places board 4 and makes for cast iron material.
Referring to fig. 1, 3 and 4, the slide rail mechanism 5 includes a slide rail 501, a plurality of mounting bolts 502, a fixing base 503, a placement groove 504 and a fixing hole 505, the slide rail 501 is fixed by the plurality of mounting bolts 502, the fixing base 503 is fixedly provided on the upper surface fixing surface of the slide rail 501, the placement groove 504 is opened on the upper surface of the fixing base 503, and the fixing base 503 is mounted on the slide rail 501 through the fixing hole 505.
Referring to fig. 1, the brush device 8 is composed of a second motor 801, a first rotating shaft 802, a first belt pulley 803, a connecting belt 804 and a brush body 805, the first rotating shaft 802 is fixedly installed at an output end of the second motor 801, the first belt pulley 803 is sleeved on an outer surface of the first rotating shaft 802, the connecting belt 804 is too arranged on an outer surface of the first belt pulley 803, the brush body 805 is fixedly installed at the bottom of the first belt pulley 803, the first belt pulley 803 is made of neoprene, and the first rotating shaft 802 and the first belt pulley 803 are both made of cast iron.
Referring to fig. 5, the grinding device 9 is composed of a bearing 901, a second rotating shaft 902, a second belt pulley 903 and a grinding block 904, the second rotating shaft 902 is fixedly installed at the bottom of the bearing 901, the second belt pulley 903 is sleeved outside the second rotating shaft 902, and the grinding block 904 is fixedly installed at the bottom end of the second rotating shaft 902.
Referring to fig. 1, a second pulley 903 is connected to the left side of the connecting belt 804, and the second pulley 903 is made of neoprene.
In summary, when the device is used, the device is placed in the placing groove 504 of the slide rail mechanism 5 and fixed, according to the size to be processed, the hydraulic cylinder lifting device 3 is controlled to lift through the control switch 11 to a certain height, the slide rail mechanism 5 slides electrically, so that the slide rail mechanism 5 moves from left to right, the first motor 7 is started to drive the milling cutter 701 to mill the device on the slide rail mechanism 5, the second motor 801 drives the first rotating shaft 802 to rotate, the bottom brush body 805 is driven to rotate, the device is brushed, the connecting belt 804 drives the second rotating shaft 902 on one side to rotate, the second rotating shaft 902 drives the bottom grinding block 904 to rotate, the device on the slide rail mechanism 5 is polished and cleaned, when milling, polishing and cleaning are carried out, the dust collector 601 is started, dust is sucked into the dust box 603 by the engagement of the dust collection pipe 604 and the dust collection port 605.
The above embodiments are only used to illustrate the technical solution of the present invention, and not to limit it; although embodiments of the present invention have been shown and described, it will be appreciated by those skilled in the art that changes, modifications, substitutions and alterations can be made in these embodiments without departing from the principles and spirit of the invention, the scope of which is defined in the appended claims and their equivalents.

Claims (5)

1. The utility model provides an automatic processingequipment for slide rail processing, includes brace table (1) and control box (2), its characterized in that: the dust collection device is characterized in that a control box (2) is fixedly arranged on the upper surface of the support table (1), a plurality of lifting devices (3) are arranged at the bottom end of the interior of the control box (2), a placing plate (4) is fixedly arranged at the top of each lifting device (3), a sliding rail mechanism (5) is fixedly arranged on the upper surface of the placing plate (4), a dust collection device (6) is arranged on the rear end face of the control box (2), the dust collection device (6) consists of a dust collector (601), a filter screen (602), a dust collection box (603), a dust collection pipe (604) and a dust collection port (605), the filter screen (602) is fixedly arranged at an air outlet of the dust collector (601), the dust collection box (603) is fixedly arranged at the right end of the dust collector (601), the dust collection pipe (604) is arranged at the top end of the dust collection box (603), and the dust collection port (605) is fixedly arranged at one end, far away from the dust collection pipe (604), of the dust collection box (603), the top fixed mounting of control box (2) has first motor (7), the bottom fixed mounting of first motor (7) has milling cutter (701), the fixed brush device (8) that is provided with in control box (2) top, the bottom fixed of control box (2) is provided with grinding device (9), the bottom fixed mounting of brace table (1) has toolbox (10), terminal surface fixed mounting has control switch (11) before brace table (1).
2. The automatic machining device for machining the sliding rail according to claim 1, wherein the automatic machining device comprises: the sliding rail mechanism (5) is composed of a sliding rail (501), mounting bolts (502), a fixing table (503), a placing groove (504) and fixing holes (505), the sliding rail (501) is fixed through the mounting bolts (502), the fixing table (503) is fixedly arranged on the upper surface fixing surface of the sliding rail (501), the placing groove (504) is formed in the upper surface of the fixing table (503), and the fixing table (503) is mounted on the sliding rail (501) through the fixing holes (505).
3. The automatic machining device for machining the sliding rail according to claim 1, wherein the automatic machining device comprises: the brush device (8) comprises a second motor (801), a first rotating shaft (802), a first belt pulley (803), a connecting belt (804) and a brush body (805), wherein the first rotating shaft (802) is fixedly installed at the output end of the second motor (801), the first belt pulley (803) is sleeved on the outer surface of the first rotating shaft (802), the connecting belt (804) is arranged on the outer surface of the first belt pulley (803), and the brush body (805) is fixedly installed at the bottom of the first belt pulley (803).
4. The automatic machining device for machining the sliding rail according to claim 3, wherein the automatic machining device comprises: the grinding device (9) is composed of a bearing (901), a second rotating shaft (902), a second belt pulley (903) and a grinding block (904), wherein the second rotating shaft (902) is fixedly installed at the bottom of the bearing (901), the second belt pulley (903) is sleeved on the outer side of the second rotating shaft (902), and the grinding block (904) is fixedly installed at the bottom end of the second rotating shaft (902).
5. The automatic machining device for machining the sliding rail according to claim 4, wherein the automatic machining device comprises: the left side of the connecting belt (804) is connected with a second belt pulley (903).
CN202121201993.0U 2021-05-28 2021-05-28 Automatic machining device for machining sliding rail Expired - Fee Related CN214722182U (en)

Priority Applications (1)

Application Number Priority Date Filing Date Title
CN202121201993.0U CN214722182U (en) 2021-05-28 2021-05-28 Automatic machining device for machining sliding rail

Applications Claiming Priority (1)

Application Number Priority Date Filing Date Title
CN202121201993.0U CN214722182U (en) 2021-05-28 2021-05-28 Automatic machining device for machining sliding rail

Publications (1)

Publication Number Publication Date
CN214722182U true CN214722182U (en) 2021-11-16

Family

ID=78626982

Family Applications (1)

Application Number Title Priority Date Filing Date
CN202121201993.0U Expired - Fee Related CN214722182U (en) 2021-05-28 2021-05-28 Automatic machining device for machining sliding rail

Country Status (1)

Country Link
CN (1) CN214722182U (en)

Similar Documents

Publication Publication Date Title
CN109015168A (en) Construction material grinding device
CN213258805U (en) Stainless steel polishing machine with chip collecting function
CN214722182U (en) Automatic machining device for machining sliding rail
CN214722922U (en) Wall grinding device for interior decoration
CN110216545A (en) A kind of plate side grinding device
CN219026973U (en) Bearing frame internal sphere processingequipment
CN218082020U (en) Dust collector who polishes and be convenient for clearance is produced to children's toy building blocks
CN215967863U (en) Wood surface polishing machine
CN214445275U (en) A mobile phone shell grinding device
CN212704590U (en) Milling machine of automobile spare and accessory part processing usefulness
CN222386561U (en) A grinding device for building wall panel processing with dust removal function
CN112355734A (en) Bearing surface grinding device
CN222609186U (en) Sweeps collection device of abrasive band type polishing machine
CN209007641U (en) A kind of mattress processing excision forming equipment
CN219598916U (en) Adjustable positioning polisher
CN222059731U (en) Furniture board grinding device is used in furniture production
CN221792117U (en) Polishing equipment convenient to clean
CN221495503U (en) Polishing device for processing wooden pallets
CN214722889U (en) Vertical shaft round table surface grinding machine device for floating ball machining
CN220372809U (en) Shovel blade surface treatment grinding device
CN222430416U (en) A grinding machine with a cleaning structure
CN221063651U (en) Dust collection device for repairing cultural relics
CN216577346U (en) Dust collection device for finish machining based on complex curved surface abrasive flow
CN221819115U (en) A highly efficient and stable stone cutting equipment
CN222553020U (en) End surface spring grinding device for spring processing

Legal Events

Date Code Title Description
GR01 Patent grant
GR01 Patent grant
CF01 Termination of patent right due to non-payment of annual fee
CF01 Termination of patent right due to non-payment of annual fee

Granted publication date: 20211116