CN214569536U - A kind of winding device for textile - Google Patents

A kind of winding device for textile Download PDF

Info

Publication number
CN214569536U
CN214569536U CN202120080732.1U CN202120080732U CN214569536U CN 214569536 U CN214569536 U CN 214569536U CN 202120080732 U CN202120080732 U CN 202120080732U CN 214569536 U CN214569536 U CN 214569536U
Authority
CN
China
Prior art keywords
bottom plate
supporting shoe
end surface
backup pad
block
Prior art date
Legal status (The legal status is an assumption and is not a legal conclusion. Google has not performed a legal analysis and makes no representation as to the accuracy of the status listed.)
Active
Application number
CN202120080732.1U
Other languages
Chinese (zh)
Inventor
周敏
Current Assignee (The listed assignees may be inaccurate. Google has not performed a legal analysis and makes no representation or warranty as to the accuracy of the list.)
Xinjiang Cotton Noninterest Textile Co ltd
Original Assignee
Xinjiang Xieyi Textile Technology Co ltd
Priority date (The priority date is an assumption and is not a legal conclusion. Google has not performed a legal analysis and makes no representation as to the accuracy of the date listed.)
Filing date
Publication date
Application filed by Xinjiang Xieyi Textile Technology Co ltd filed Critical Xinjiang Xieyi Textile Technology Co ltd
Priority to CN202120080732.1U priority Critical patent/CN214569536U/en
Application granted granted Critical
Publication of CN214569536U publication Critical patent/CN214569536U/en
Active legal-status Critical Current
Anticipated expiration legal-status Critical

Links

Images

Landscapes

  • Treatment Of Fiber Materials (AREA)

Abstract

本实用新型公开了一种纺织用收卷装置,包括底板,所述底板的上端外表面设置有固定块,所述固定块的上端外表面设置有横向块,所述横向块的上端外表面设置有滑槽,所述滑槽的上端外表面设置有支撑块,所述支撑块的侧端外表面设置有旋转杆,所述支撑块的侧端外表面设置有第一电机,所述旋转杆的上端外表面设置有收集辊,所述支撑块的下端外表面设置有滑块,所述支撑块的前端外表面设置有凹槽。本实用新型所述的一种纺织用收卷装置,结构简单,功能多样,操作方便,具有便于取下的收集辊,提高收集效率,即能对布料上的污渍进行吸附,又可以将布料挤压平整,具有对布料上的灰尘进行吸收,提升布料收集质量,使用效果好。

Figure 202120080732

The utility model discloses a winding device for textiles, comprising a bottom plate, a fixing block is arranged on the outer surface of the upper end of the bottom plate, a transverse block is arranged on the outer surface of the upper end of the fixing block, and the outer surface of the upper end of the transverse block is arranged There is a chute, the outer surface of the upper end of the chute is provided with a support block, the outer surface of the side end of the support block is provided with a rotation rod, the outer surface of the side end of the support block is provided with a first motor, the rotation rod The outer surface of the upper end of the support block is provided with a collecting roller, the outer surface of the lower end of the support block is provided with a slider, and the outer surface of the front end of the support block is provided with a groove. The textile winding device of the utility model has the advantages of simple structure, various functions, convenient operation, and a collection roller which is easy to be removed, which improves the collection efficiency, and can not only absorb the stains on the cloth, but also squeeze the cloth Pressed flat, it can absorb the dust on the cloth, improve the quality of the cloth collection, and the use effect is good.

Figure 202120080732

Description

Coiling mechanism is used in weaving
Technical Field
The utility model relates to a weaving rolling technical field, in particular to coiling mechanism is used in weaving.
Background
Modern textile refers to a multi-scale structure processing technology of fiber or fiber aggregate, ancient Chinese textile and printing and dyeing technology has a very long history, as early as in the original social period, ancient people know to use local materials in order to adapt to climate change, natural resources are used as raw materials for textile and printing and dyeing, and hand textile tools are simple to manufacture, until today, clothes, airbags and curtain carpets in daily life are all products of the textile and printing and dyeing technology, the existing winding device cannot clean up due to the fact that a lot of dust is attached to the cloth in the textile process, the wound cloth is too dirty, and secondly, the winding operation of most of existing equipment is not too good to disassemble, the collection time is wasted, and the cloth is not wound neatly, so that the winding device for textile is provided.
SUMMERY OF THE UTILITY MODEL
The utility model discloses a main aim at provides a coiling mechanism is used in weaving can effectively solve the problem in the background art.
In order to achieve the above purpose, the utility model adopts the following technical scheme:
the utility model provides a coiling mechanism is used in weaving, includes the bottom plate, the upper end surface of bottom plate is provided with the fixed block, the upper end surface of fixed block is provided with horizontal piece, the upper end surface of horizontal piece is provided with the spout, the upper end surface of spout is provided with the supporting shoe, the side surface of supporting shoe is provided with the rotary rod, the side surface of supporting shoe is provided with first motor, the upper end surface of rotary rod is provided with collects the roller, the lower extreme surface of supporting shoe is provided with the slider, the front end surface of supporting shoe is provided with the recess, the front end surface of recess is provided with the locating pin.
Preferably, be fixed connection between bottom plate and the fixed block, the quantity of fixed block is two, and is the symmetry and arranges, the spout inlays in the upper end surface of horizontal piece, be swing joint between supporting shoe and the rotary rod, be fixed connection between first motor and the supporting shoe, be fixed connection between collection roller and the rotary rod.
By adopting the technical scheme, the following technical effects can be achieved: the textile cloth is collected by a collecting roller.
Preferably, the sliding block is fixedly connected with the supporting block, the supporting block is slidably connected with the transverse block through the sliding groove, the groove is embedded in the outer surface of the front end of the supporting block, the positioning pin is movably connected with the supporting block, a positioning hole is formed in the outer surface of the upper end of the fixing block, and the positioning hole is embedded in the outer surface of the upper end of the fixing block.
By adopting the technical scheme, the following technical effects can be achieved: through spout and slider, can make the supporting shoe slide, the convenient to detach is received and is rolled, is convenient for collect.
Preferably, the outer surface of the upper end of the bottom plate is provided with a supporting plate, the supporting plate is fixedly connected with the bottom plate, the supporting plates are two in number, a connecting plate is arranged between the supporting plate and the fixing block, the connecting plate is fixedly connected with the supporting plate and the fixing block, and the connecting plate is two in number.
By adopting the technical scheme, the following technical effects can be achieved: through the connecting plate, strengthen the connectivity of backup pad and fixed block.
Preferably, the side surface of backup pad is provided with adsorbs the compression roller, adsorb for swing joint between compression roller and the backup pad, the quantity of adsorbing the compression roller is two, the side surface of backup pad is provided with the second motor, be fixed connection between second motor and the backup pad.
By adopting the technical scheme, the following technical effects can be achieved: through adsorbing the compression roller, can adsorb the spot on the cloth, can extrude the cloth again and level.
Preferably, the outer surface of the upper end of the bottom plate is provided with two fixing columns, the fixing columns are fixedly connected with the bottom plate, the two fixing columns are symmetrically arranged, the outer surface of the upper end of each fixing column is provided with a dust collector, and the dust collector is fixedly connected with the fixing columns.
By adopting the technical scheme, the following technical effects can be achieved: and absorbing the dust on the cloth by a dust collector.
Compared with the prior art, the utility model has the advantages that the supporting block can slide on the transverse block by arranging the sliding chute and the sliding block, the collecting roller can be conveniently taken down, the cloth can be conveniently taken down and collected, the supporting block can be fixed on the transverse block by matching the positioning pin in the groove with the positioning hole on the fixing block, the movement can not occur during rolling, the adsorption compression roller is driven by arranging the second motor, the stain on the cloth can be adsorbed, the material can be extruded and leveled, the rolling quality is improved, the dust on the cloth can be absorbed by arranging the dust collector, the fixing block and the supporting plate are connected by the connecting plate, the whole rolling device for textile has the function of enhancing the overall stability, the structure is simple, the functions are various, the operation is convenient, the collecting roller can be conveniently taken down, the collecting efficiency is improved, the stain on the cloth can be adsorbed, the cloth can be extruded to be flat, dust on the cloth can be absorbed, the cloth collecting quality is improved, and the using effect is good.
Drawings
Fig. 1 is a schematic view of the overall structure of a winding device for spinning of the present invention;
FIG. 2 is a front view of the winding device for spinning of the present invention;
FIG. 3 is a top view of the winding device for spinning of the present invention;
fig. 4 is an enlarged view of a in fig. 2 of the winding device for spinning of the present invention.
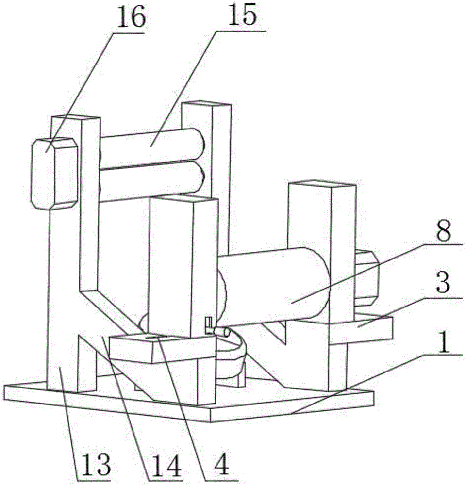
In the figure: 1. a base plate; 2. a fixed block; 3. a transverse block; 4. a chute; 5. a support block; 6. rotating the rod; 7. a first motor; 8. a collection roller; 9. a slider; 10. a groove; 11. positioning pins; 12. positioning holes; 13. a support plate; 14. a connecting plate; 15. adsorbing the compression roller; 16. a second motor; 17. fixing a column; 18. a dust collector.
Detailed Description
In order to make the technical means, creation features, achievement purposes and functions of the present invention easy to understand, the present invention is further described below with reference to the following embodiments.
As shown in fig. 1 to 4, a winding device for spinning includes a base plate 1, a fixed block 2 is disposed on an upper end outer surface of the base plate 1, a transverse block 3 is disposed on an upper end outer surface of the fixed block 2, a sliding groove 4 is disposed on an upper end outer surface of the transverse block 3, a supporting block 5 is disposed on an upper end outer surface of the sliding groove 4, a rotating rod 6 is disposed on a side end outer surface of the supporting block 5, a first motor 7 is disposed on a side end outer surface of the supporting block 5, a collecting roller 8 is disposed on an upper end outer surface of the rotating rod 6, a sliding block 9 is disposed on a lower end outer surface of the supporting block 5, a groove 10 is disposed on a front end outer surface of the supporting block 5, and a positioning pin 11 is disposed on a front end outer surface of the groove 10.
Be fixed connection between bottom plate 1 and the fixed block 2, the quantity of fixed block 2 is two, and is the symmetry and arranges, and spout 4 inlays in the upper end surface of horizontal piece 3, is swing joint between supporting shoe 5 and the rotary rod 6, is fixed connection between first motor 7 and the supporting shoe 5, is fixed connection between collection roller 8 and the rotary rod 6, drives collection roller 8 through first motor 7 and rotates and collect the cloth.
Be fixed connection between slider 9 and the supporting shoe 5, be sliding connection through spout 4 and slider 9 between supporting shoe 5 and the horizontal piece 3, recess 10 inlays in the front end surface of supporting shoe 5, be swing joint between locating pin 11 and the supporting shoe 5, the upper end surface of fixed block 2 is provided with locating hole 12, locating hole 12 inlays in the upper end surface of fixed block 2, make supporting shoe 5 can slide on horizontal piece 3 through spout 4 and slider 9, be convenient for take out and collect roller 8, improve collection efficiency.
The upper end surface of bottom plate 1 is provided with backup pad 13, is fixed connection between backup pad 13 and the bottom plate 1, and the quantity of backup pad 13 is two, is provided with connecting plate 14 between backup pad 13 and the fixed block 2, is fixed connection between connecting plate 14 and backup pad 13 and the fixed block 2, and the quantity of connecting plate 14 is two, through connecting plate 14, reinforcing connection stability.
The outer surface of the side end of the supporting plate 13 is provided with the adsorption press roller 15, the adsorption press roller 15 is movably connected with the supporting plate 13, the number of the adsorption press rollers 15 is two, the outer surface of the side end of the supporting plate 13 is provided with the second motor 16, the second motor 16 is fixedly connected with the supporting plate 13, dirt on cloth can be adsorbed by the adsorption press roller 15, the cloth can be extruded and leveled, and the collection quality of the cloth is improved.
The upper end surface of bottom plate 1 is provided with fixed column 17, is fixed connection between fixed column 17 and the bottom plate 1, and the quantity of fixed column 17 is two, and is the symmetry and arranges, and the upper end surface of fixed column 17 is provided with dust catcher 18, is fixed connection between dust catcher 18 and the fixed column 17, through dust catcher 18, has the effect to cloth surface cleaning.
It should be noted that, when the winding device for textile of the present invention is used, the second motor 16 on the supporting plate 13 drives the absorption compression roller 15 to extrude the collected cloth, which can absorb stains on the cloth, and can extrude the material to be flat, thereby improving the winding quality, the dust on the cloth is absorbed by the dust collector 18 at the lower end, the supporting block 5 can slide on the transverse block 3 through the sliding groove 4 at the upper end of the transverse block 3 and the sliding block 9 at the lower end of the supporting block 5, the collecting roller 8 can be conveniently taken down, the cloth can be conveniently taken down and collected, the supporting block 5 can be fixed on the transverse block 3 through the matching of the positioning pin 11 in the groove 10 and the positioning hole 12 on the fixing block 2, the movement can not occur during the winding, the fixing block 2 and the supporting plate 14 are connected through the connecting plate 14, thereby enhancing the overall stability, the whole winding device improves the quality of cloth winding, and plays a role in supporting the whole structure through the bottom plate 1.
The basic principles and the main features of the invention and the advantages of the invention have been shown and described above. It will be understood by those skilled in the art that the present invention is not limited to the above embodiments, and that the foregoing embodiments and descriptions are provided only to illustrate the principles of the present invention without departing from the spirit and scope of the present invention. The scope of the invention is defined by the appended claims and equivalents thereof.

Claims (6)

1. The utility model provides a coiling mechanism is used in weaving, includes bottom plate (1), its characterized in that: the utility model discloses a motor, including bottom plate (1), bottom plate, spout (4), supporting shoe (5), the upper end surface of bottom plate (1) is provided with fixed block (2), the upper end surface of fixed block (2) is provided with horizontal piece (3), the upper end surface of horizontal piece (3) is provided with spout (4), the upper end surface of spout (4) is provided with supporting shoe (5), the side surface of supporting shoe (5) is provided with rotary rod (6), the side surface of supporting shoe (5) is provided with first motor (7), the upper end surface of rotary rod (6) is provided with collects roller (8), the lower extreme surface of supporting shoe (5) is provided with slider (9), the front end surface of supporting shoe (5) is provided with recess (10), the front end surface of recess (10) is provided with locating pin (11).
2. A winding device for textile according to claim 1, characterised in that: be fixed connection between bottom plate (1) and fixed block (2), the quantity of fixed block (2) is two, and is the symmetry and arranges, spout (4) inlay in the upper end surface of horizontal piece (3), be swing joint between supporting shoe (5) and rotary rod (6), be fixed connection between first motor (7) and supporting shoe (5), be fixed connection between collection roller (8) and rotary rod (6).
3. A winding device for textile according to claim 1, characterised in that: be fixed connection between slider (9) and supporting shoe (5), be sliding connection through spout (4) and slider (9) between supporting shoe (5) and horizontal piece (3), inlay in the front end surface of supporting shoe (5) recess (10), be swing joint between locating pin (11) and supporting shoe (5), the upper end surface of fixed block (2) is provided with locating hole (12), locating hole (12) inlay in the upper end surface of fixed block (2).
4. A winding device for textile according to claim 1, characterised in that: the utility model discloses a bottom plate, including bottom plate (1), bottom plate (13), be fixed connection between backup pad (13) and bottom plate (1), the quantity of backup pad (13) is two, be provided with connecting plate (14) between backup pad (13) and fixed block (2), be fixed connection between connecting plate (14) and backup pad (13) and fixed block (2), the quantity of connecting plate (14) is two.
5. A winding device for spinning according to claim 4, characterized in that: the utility model discloses a pressure roller, including backup pad (13), the side surface of backup pad (13) is provided with adsorbs compression roller (15), adsorb for swing joint between compression roller (15) and backup pad (13), the quantity of adsorbing compression roller (15) is two, the side surface of backup pad (13) is provided with second motor (16), be fixed connection between second motor (16) and backup pad (13).
6. A winding device for textile according to claim 1, characterised in that: the outer surface of the upper end of the bottom plate (1) is provided with fixing columns (17), the fixing columns (17) are fixedly connected with the bottom plate (1), the number of the fixing columns (17) is two, the fixing columns are symmetrically arranged, the outer surface of the upper end of each fixing column (17) is provided with a dust collector (18), and the dust collectors (18) are fixedly connected with the fixing columns (17).
CN202120080732.1U 2021-01-13 2021-01-13 A kind of winding device for textile Active CN214569536U (en)

Priority Applications (1)

Application Number Priority Date Filing Date Title
CN202120080732.1U CN214569536U (en) 2021-01-13 2021-01-13 A kind of winding device for textile

Applications Claiming Priority (1)

Application Number Priority Date Filing Date Title
CN202120080732.1U CN214569536U (en) 2021-01-13 2021-01-13 A kind of winding device for textile

Publications (1)

Publication Number Publication Date
CN214569536U true CN214569536U (en) 2021-11-02

Family

ID=78368428

Family Applications (1)

Application Number Title Priority Date Filing Date
CN202120080732.1U Active CN214569536U (en) 2021-01-13 2021-01-13 A kind of winding device for textile

Country Status (1)

Country Link
CN (1) CN214569536U (en)

Cited By (1)

* Cited by examiner, † Cited by third party
Publication number Priority date Publication date Assignee Title
CN119041043A (en) * 2024-10-12 2024-11-29 常州纺兴精密机械有限公司 Spinning device and method for composite conductive fibers

Cited By (1)

* Cited by examiner, † Cited by third party
Publication number Priority date Publication date Assignee Title
CN119041043A (en) * 2024-10-12 2024-11-29 常州纺兴精密机械有限公司 Spinning device and method for composite conductive fibers

Similar Documents

Publication Publication Date Title
WO2022187983A1 (en) Textile fabric rinsing device used for spinning and weaving
CN214569536U (en) A kind of winding device for textile
CN210569744U (en) Drying device is used in processing of high-grade fabric surface fabric
CN208326809U (en) A kind of filtering textile material compiles equipment
CN217172625U (en) Geotechnical cloth rolling machine with cleaning and dust removing effects
CN217385101U (en) Detection apparatus for mortar consistency
CN218880307U (en) Weaving is with weaving cloth wetting device
CN219157253U (en) Surface fabric dust collector is used in surface fabric processing
CN211247126U (en) Rubber coating device of full-automatic spreading machine of rubber roll
CN210973224U (en) A kind of pressing cloth structure for knitting machine
WO2022133723A1 (en) Dust suction device of calendering machine
CN209008125U (en) A kind of carpet manufacture compound rolling device
CN112683011A (en) Lifting dehydration device for liquid crystal screen cleaning machine
CN209356295U (en) a pressure testing machine
CN210596666U (en) Cloth pressing device
CN211005840U (en) Weaving production is with weaving machine that has sweeps collection device
CN209568237U (en) A kind of printing and dyeing mercerizing machine cloth feeding regulating mechanism
CN209529059U (en) A kind of drum mop
CN218114423U (en) A non-woven fabric winding device
CN220266128U (en) Fabric surface dust removing device for backpack production
CN212640704U (en) Full-automatic spinning and drawing combination machine
CN220166506U (en) Surface treatment device for flame-retardant polyester fabric
CN218115741U (en) A multi-thread wire drawing device
CN220724644U (en) Polyester fabric surface treatment mechanism
CN214406725U (en) Lifting dehydration device for liquid crystal screen cleaning machine

Legal Events

Date Code Title Description
GR01 Patent grant
GR01 Patent grant
TR01 Transfer of patent right
TR01 Transfer of patent right

Effective date of registration: 20250708

Address after: 842008 Xinjiang Uygur Autonomous Region Aksu Prefecture Kuche City Wuyanquan Area Management Committee Shihua Xin Village Community Culture East Road 58, (Xieyi Textile Collective Dormitory Building) 3rd Building, 1st Floor, Room 102

Patentee after: Xinjiang Cotton Noninterest Textile Co.,Ltd.

Country or region after: China

Address before: 842000 No. 58, Xingfu East Road, Shihua Xincun community, Dongcheng Street, Kuqa City, Aksu Prefecture, Xinjiang Uygur Autonomous Region (opposite Hongguang electromechanical city)

Patentee before: Xinjiang Xieyi Textile Technology Co.,Ltd.

Country or region before: China