CN214528362U - A high-efficiency traditional Chinese medicine processing sewage treatment device - Google Patents

A high-efficiency traditional Chinese medicine processing sewage treatment device Download PDF

Info

Publication number
CN214528362U
CN214528362U CN202023224840.6U CN202023224840U CN214528362U CN 214528362 U CN214528362 U CN 214528362U CN 202023224840 U CN202023224840 U CN 202023224840U CN 214528362 U CN214528362 U CN 214528362U
Authority
CN
China
Prior art keywords
water
fixedly connected
filter screen
sewage treatment
traditional chinese
Prior art date
Legal status (The legal status is an assumption and is not a legal conclusion. Google has not performed a legal analysis and makes no representation as to the accuracy of the status listed.)
Active
Application number
CN202023224840.6U
Other languages
Chinese (zh)
Inventor
李雁青
Current Assignee (The listed assignees may be inaccurate. Google has not performed a legal analysis and makes no representation or warranty as to the accuracy of the list.)
Xichuan County Dubang Traditional Chinese Medicine Planting Professional Cooperative
Xichuan Zedi Agricultural Development Co ltd
Henan Dubang Traditional Chinese Medicine Biotechnology Co ltd
Original Assignee
Xichuan County Dubang Traditional Chinese Medicine Planting Professional Cooperative
Xichuan Zedi Agricultural Development Co ltd
Henan Dubang Traditional Chinese Medicine Biotechnology Co ltd
Priority date (The priority date is an assumption and is not a legal conclusion. Google has not performed a legal analysis and makes no representation as to the accuracy of the date listed.)
Filing date
Publication date
Application filed by Xichuan County Dubang Traditional Chinese Medicine Planting Professional Cooperative, Xichuan Zedi Agricultural Development Co ltd, Henan Dubang Traditional Chinese Medicine Biotechnology Co ltd filed Critical Xichuan County Dubang Traditional Chinese Medicine Planting Professional Cooperative
Priority to CN202023224840.6U priority Critical patent/CN214528362U/en
Application granted granted Critical
Publication of CN214528362U publication Critical patent/CN214528362U/en
Active legal-status Critical Current
Anticipated expiration legal-status Critical

Links

Images

Landscapes

  • Filtration Of Liquid (AREA)

Abstract

本实用新型实施例涉及污水处理回收技术领域,具体涉及一种高效率的中药加工污水处理装置,其包括注水箱和净水箱;所述注水箱的内侧壁固定连接有斜面过滤网,所述注水箱奶茶不能靠近所述斜面过滤网较低端的一侧开设有出料口,所述注水箱外表面靠近所述出料口的一侧固定连接有接料斗。本实用新型实施例的有益效果为:污水经过斜面过滤网和细过滤网,将污水中的颗粒进行分级隔离,并通过接料斗与接料抽屉将颗粒进行收集进行集中处理,起到方便清理该装置内的过滤颗粒的作用,大大减少了清洁人员的工作时间,在通过净化罩将污水中的有机物进行过滤,保证过滤后的水质。

Figure 202023224840

The embodiments of the utility model relate to the technical field of sewage treatment and recycling, in particular to a high-efficiency traditional Chinese medicine processing sewage treatment device, which comprises a water injection tank and a water purification tank; A discharge port is provided on the side of the lower end of the inclined surface filter screen that cannot be close to the milk tea of the water injection tank, and a hopper is fixedly connected to the side of the outer surface of the water injection tank close to the discharge port. The beneficial effects of the embodiment of the utility model are: the sewage passes through the inclined surface filter screen and the fine filter screen, and the particles in the sewage are classified and isolated, and the particles are collected through the receiving hopper and the receiving drawer for centralized treatment, which is convenient for cleaning the sewage. The function of filtering particles in the device greatly reduces the working time of cleaning personnel, and the organic matter in the sewage is filtered through the purification hood to ensure the filtered water quality.

Figure 202023224840

Description

Efficient traditional chinese medicine processing sewage treatment plant
Technical Field
The utility model relates to a sewage treatment retrieves technical field, concretely relates to efficient traditional chinese medicine processing sewage treatment plant.
Background
The Chinese patent medicine production wastewater mainly comprises Chinese medicinal material elutriation wastewater, extraction wastewater, bottle washing wastewater, equipment cleaning wastewater, sanitary cleaning, workshop floor washing water and the like. Organic acid, anthraquinone, alkaloid and the like in the wastewater are all high molecular organic matters, are all organic compounds with complex structures, and are components which are difficult to biodegrade. Once the substances enter the water body, rivers and lakes are polluted to different degrees, so that how to treat the wastewater generated by the Chinese patent medicine production is very important.
The sewage treatment is mainly to carry out chemical reaction treatment or biological treatment through sewage in the sewage treatment tank, and some sewage contain some granular impurities with traditional Chinese medicinal materials, can not be treated through chemical reaction or biological treatment, thereby piling up in the sewage treatment tank, thereby the sewage treatment tank needs to be cleaned often.
Therefore, a high-efficiency sewage treatment device for traditional Chinese medicine processing is needed to overcome the problems.
SUMMERY OF THE UTILITY MODEL
In order to solve the problems, namely to solve the problem that the sewage containing some granular impurities with traditional Chinese medicinal materials cannot be treated by chemical reaction or biological treatment, so that the sewage is accumulated in a sewage treatment tank and needs to be treated regularly, the embodiment of the utility model provides a high-efficiency sewage treatment device for traditional Chinese medicine processing, which comprises a water injection tank and a water purification tank;
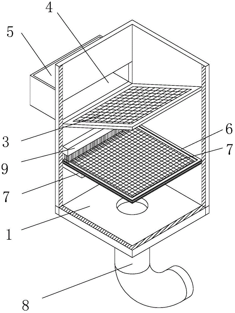
the inner side wall of the water injection tank is fixedly connected with an inclined plane filter screen, a discharge hole is formed in one side of the milk tea of the water injection tank, which is not close to the lower end of the inclined plane filter screen, and a receiving hopper is fixedly connected to one side of the outer surface of the water injection tank, which is close to the discharge hole;
the water injection tank inside wall fixedly connected with slide, the inside sliding connection of slide has fine filtration net, the interior diapire fixedly connected with of water injection tank connects the water pipe, the one end of connecting the water pipe extends to the inside of water purification case.
Optionally, the inner side wall of the water injection tank is fixedly connected with a scraper device, and the fine filter screen is connected below the scraper device in a sliding manner.
Optionally, the scraper device includes the installation cover, the interior roof fixedly connected with of installation cover is in the connecting spring of open state, the one end fixedly connected with of connecting spring scrapes the material brush, it connects to scrape material brush sliding connection in the top of fine filter screen.
Optionally, a material receiving drawer is arranged below the fine filter screen and is connected to the inner side wall of the water injection tank through a sliding rail in a sliding mode.
Optionally, the inside wall fixedly connected with of water purification case purifies the cover, the one end of connecting the water pipe extends to the inside of purifying the cover.
Optionally, the purification cover is divided into three layers, namely a PP cotton filter layer, an activated carbon layer and a ceramic filter layer from inside to outside in sequence.
Optionally, the inside wall fixedly connected with baffle of water purification case, the baffle will the internal partitioning of water purification case is water purification chamber and still water chamber, the baffle surface is close to water purification incasement lateral wall department has seted up the limbers.
Optionally, the inner side wall of the static water cavity is fixedly connected with a drain pipe, and a control valve is arranged in the drain pipe.
The utility model has the advantages that: the utility model has the advantages of, sewage is through inclined plane filter screen and fine filtration net, carries out hierarchical isolation with the granule in the sewage to collect the granule through connecing the hopper and connecing the material drawer and carry out centralized processing, play the effect of the filter particle in the convenient clearance the device, the staff's that has significantly reduced operating time filters the organic matter in with the sewage through the cage, guarantees the quality of water after filtering, other beneficial effects explain in detail in the embodiment.
Drawings
FIG. 1 is a schematic structural view of an embodiment of the high-efficiency sewage treatment apparatus for traditional Chinese medicine processing;
FIG. 2 is a schematic view of the structure of the water injection tank;
FIG. 3 is a schematic view of the squeegee assembly;
FIG. 4 is a schematic structural view of a fresh water tank;
fig. 5 is a schematic structural view of the purge hood.
In the figure: 1. a water injection tank;
2. a water purifying tank;
3. a bevel filter screen; 4. a discharge port; 5. a receiving hopper; 6. a slideway; 7. a fine filter screen; 8. connecting a water pipe;
9. a squeegee assembly; 901. installing a sleeve; 902. a connecting spring; 903. scraping the material brush;
10. a material receiving drawer;
11. a purge hood; 1101. a PP cotton filter layer; 1102. an activated carbon layer; 1103. a ceramic filter layer;
12. a partition plate; 13. a water through hole; 14. a water purifying cavity; 15. a static water cavity.
Detailed Description
The technical solution in the embodiments of the present invention will be described clearly and completely with reference to the accompanying drawings in the embodiments of the present invention, and it is obvious that the described embodiments are only some embodiments of the present invention, rather than all embodiments, and all other embodiments obtained by a person skilled in the art without creative work belong to the protection scope of the present invention based on the embodiments of the present invention.
Unless defined otherwise, all technical and scientific terms used herein have the same meaning as commonly understood by one of ordinary skill in the art to which this invention belongs, and the terms used herein are for the purpose of describing particular embodiments only and are not intended to be limiting of the invention, and terms such as "and/or" as used herein include any and all combinations of one or more of the associated listed items; furthermore, the technical features mentioned in the different embodiments of the invention described below can be combined with each other as long as they do not conflict with each other.
Referring to fig. 1 to 5, the embodiment of the utility model discloses a high efficiency sewage treatment device for traditional Chinese medicine processing, which comprises a water injection tank 1 and a water purification tank 2;
an inclined plane filter screen 3 is fixedly connected to the inner side wall of the water injection tank 1, a discharge hole 4 is formed in one side, which is not close to the lower end of the inclined plane filter screen 3, of the milk tea of the water injection tank 1, and a receiving hopper 5 is fixedly connected to one side, which is close to the discharge hole 4, of the outer surface of the water injection tank 1;
1 inside wall fixedly connected with slide 6 of water injection tank, the inside sliding connection of slide 6 has fine filtration net 7, and the interior diapire fixedly connected with of water injection tank 1 connects water pipe 8, and the one end of connecting water pipe 8 extends to the inside of water purification case 2.
The inner side wall of the water injection tank 1 is fixedly connected with a scraper device 9, and a fine filter screen 7 is connected below the scraper device 9 in a sliding manner; the scraper device 9 comprises an installation sleeve 901, the inner top wall of the installation sleeve 901 is fixedly connected with a connecting spring 902 in an open state, one end of the connecting spring 902 is fixedly connected with a scraping brush 903, and the scraping brush 903 is connected above the fine filter screen 7 in a sliding manner; the lower part of the fine filter screen 7 is provided with a material receiving drawer 10, and the material receiving drawer 10 is connected to the inner side wall of the water injection tank 1 in a sliding mode through a sliding rail.
The inner side wall of the water purifying tank 2 is fixedly connected with a purifying cover 11, and one end of the connecting water pipe 8 extends into the purifying cover 11; the purification cover 11 is divided into three layers, namely a PP cotton filter layer 1101, an activated carbon layer 1102 and a ceramic filter layer 1103 from inside to outside.
The inner side wall of the water purifying tank 2 is fixedly connected with a partition plate 12, the partition plate 12 divides the interior of the water purifying tank 2 into a water purifying cavity 14 and a still water cavity 15, and a water through hole 13 is formed in the outer surface of the partition plate 12, which is close to the inner side wall of the water purifying tank 2; the inside wall of the static water cavity 15 is fixedly connected with a drain pipe, and a control valve is arranged in the drain pipe.
To sum up, the utility model relates to an efficient traditional chinese medicine processing sewage treatment plant, the operation flow in the use is as follows:
the method comprises the following steps: discharging sewage into the water injection tank 1, isolating the passing sewage by the inclined filter screen 3 and the fine filter screen 7, and grading and isolating larger particles;
large particle impurities which do not pass through the inclined plane filter screen 3 slide into the receiving hopper 5 through the discharge port 4 under the action of the self gravity of the impurities under the action of the inclined plane filter screen 3, so that the impurities can be conveniently cleaned by workers, the inclined plane filter screen 3 is prevented from being blocked by the impurities with larger particles, and the following treatment of sewage is facilitated;
the sewage passing through the inclined plane filter screen 3 falls to the fine filter screen 7, smaller particles are isolated on the surface of the fine filter screen 7, impurities in the sewage are further isolated, after the sewage passes through the fine filter screen 7, the fine filter screen 7 can be pulled, when the fine filter screen 7 is pulled outwards, the scraping brush 903 is tightly attached to the surface of the fine filter screen 7 under the action of the connecting spring 902, the impurities isolated on the surface of the fine filter screen can be brushed off, after the fine filter screen 7 is completely pulled out, the impurities can fall into the material receiving drawer 10, the material receiving drawer 10 is pulled, and the impurities are treated;
step two: under the connection of the connecting water pipe 8, sewage enters the inside of the water purifying cavity 14 through the purifying cover 11 through the water injection tank 1, and when passing through the purifying cover 11, the sewage can sequentially pass through the pp cotton filter layer 1101 (for blocking large granular substances such as rust, silt, worm eggs and the like in water), the activated carbon layer 1102 (for removing odor and organic matters in water and also playing a role in improving water quality) and the ceramic filter layer 1103 (for effectively removing silt, bacteria and rust and having excellent filtering effect), so that the sewage is sequentially filtered, the sewage can be gradually filtered from coarse to fine, the filtering effect is further improved, and the purification purpose is achieved;
step three: the sewage falls into the water purifying cavity 14 after being isolated layer by layer, and due to the fact that the purifying cover 11 is away from the ground of the water purifying cavity 14 by a certain distance, the sewage is enabled to fluctuate and flow into the static water cavity 15 through the water through hole 13 (U-shaped pipe principle), fluctuation of the water surface in the static water cavity 15 area is relieved, and the next treatment is facilitated;
sewage is through inclined plane filter screen 3 and fine filtration net 7, carries out the hierarchical isolation with the granule in the sewage to collect the granule through connecing hopper 5 and connecing material drawer 10 to carry out centralized processing, play the effect of conveniently clearing up the filter particle in the device, the cleanup crew's that has significantly reduced operating time filters the organic matter in the sewage through purifying cover 11, guarantees the quality of water after the filtration.
The present invention is further described in the detailed description, rather than in the limited form thereof, and it will be obvious to those skilled in the art that changes may be made in the structure without departing from the spirit and scope of the invention, and it is intended that all such changes be covered by the appended claims.

Claims (8)

1.一种高效率的中药加工污水处理装置,其特征在于,包括注水箱(1)和净水箱(2);1. a high-efficiency traditional Chinese medicine processing sewage treatment device, characterized in that, comprising a water injection tank (1) and a clean water tank (2); 所述注水箱(1)的内侧壁固定连接有斜面过滤网(3),所述注水箱(1)奶茶不能靠近所述斜面过滤网(3)较低端的一侧开设有出料口(4),所述注水箱(1)外表面靠近所述出料口(4)的一侧固定连接有接料斗(5);An inclined surface filter screen (3) is fixedly connected to the inner side wall of the water injection box (1), and a discharge port (4) is provided on the side of the lower end of the inclined surface filter screen (3) that cannot be close to the milk tea of the water injection box (1). ), a hopper (5) is fixedly connected to the side of the outer surface of the water injection box (1) close to the discharge port (4); 所述注水箱(1)内侧壁固定连接有滑道(6),所述滑道(6)的内部滑动连接有细过滤网(7),所述注水箱(1)的内底壁固定连接有连接水管(8),所述连接水管(8)的一端延伸至所述净水箱(2)的内部。A slideway (6) is fixedly connected to the inner side wall of the water filling box (1), a fine filter screen (7) is slidably connected to the inside of the slideway (6), and the inner bottom wall of the water filling box (1) is fixedly connected There is a connecting water pipe (8), and one end of the connecting water pipe (8) extends to the inside of the clean water tank (2). 2.根据权利要求1所述的一种高效率的中药加工污水处理装置,其特征在于,所述注水箱(1)内侧壁固定连接有刮板装置(9),所述细过滤网(7)滑动连接在所述刮板装置(9)的下方。2. A high-efficiency traditional Chinese medicine processing sewage treatment device according to claim 1, characterized in that, a scraper device (9) is fixedly connected to the inner wall of the water injection tank (1), and the fine filter screen (7) is fixedly connected with a scraper device (9). ) is slidably connected below the scraper device (9). 3.根据权利要求2所述的一种高效率的中药加工污水处理装置,其特征在于,所述刮板装置(9)包括安装套(901),所述安装套(901)的内顶壁固定连接有处于张开状态的连接弹簧(902),所述连接弹簧(902)的一端固定连接有刮料刷(903),所述刮料刷(903)滑动连接在所述细过滤网(7)的上方。3. A high-efficiency traditional Chinese medicine processing sewage treatment device according to claim 2, wherein the scraper device (9) comprises an installation sleeve (901), and the inner top wall of the installation sleeve (901) A connecting spring (902) in an open state is fixedly connected, one end of the connecting spring (902) is fixedly connected with a scraping brush (903), and the scraping brush (903) is slidably connected to the fine filter screen ( 7) above. 4.根据权利要求1所述的一种高效率的中药加工污水处理装置,其特征在于,所述细过滤网(7)的下方设置有接料抽屉(10),所述接料抽屉(10)通过滑轨滑动连接在所述注水箱(1)的内侧壁。4. A high-efficiency traditional Chinese medicine processing sewage treatment device according to claim 1, wherein a material receiving drawer (10) is provided below the fine filter screen (7), and the material receiving drawer (10) ) is slidably connected to the inner side wall of the water injection tank (1) through a sliding rail. 5.根据权利要求1所述的一种高效率的中药加工污水处理装置,其特征在于,所述净水箱(2)的内侧壁固定连接有净化罩(11),所述连接水管(8)的一端延伸至所述净化罩(11)的内部。5. A high-efficiency traditional Chinese medicine processing sewage treatment device according to claim 1, wherein the inner wall of the water purification tank (2) is fixedly connected with a purification cover (11), and the connecting water pipe (8) ) extends to the interior of the purification cover (11). 6.根据权利要求5所述的一种高效率的中药加工污水处理装置,其特征在于,所述净化罩(11)分为三层,自内而外依次是PP棉过滤层(1101)、活性炭层(1102)和陶瓷过滤层(1103)。6. A kind of high-efficiency traditional Chinese medicine processing sewage treatment device according to claim 5, is characterized in that, described purification cover (11) is divided into three layers, from inside to outside sequentially is PP cotton filter layer (1101), Activated carbon layer (1102) and ceramic filter layer (1103). 7.根据权利要求1所述的一种高效率的中药加工污水处理装置,其特征在于,所述净水箱(2)的内侧壁固定连接有隔板(12),所述隔板(12)将所述净水箱(2)的内部分隔为净水腔(14)和静水腔(15),所述隔板(12)外表面靠近所述净水箱(2)内侧壁处开设有通水孔(13)。7. A high-efficiency traditional Chinese medicine processing sewage treatment device according to claim 1, wherein the inner wall of the water purification tank (2) is fixedly connected with a partition (12), and the partition (12) ) The interior of the clean water tank (2) is divided into a clean water cavity (14) and a static water cavity (15), and the outer surface of the partition plate (12) is opened with a A water hole (13). 8.根据权利要求7所述的一种高效率的中药加工污水处理装置,其特征在于,所述静水腔(15)的内侧壁固定连接有排水管,所述排水管内部设置有控制阀。8 . The high-efficiency traditional Chinese medicine processing sewage treatment device according to claim 7 , wherein a drain pipe is fixedly connected to the inner wall of the static water chamber ( 15 ), and a control valve is arranged inside the drain pipe. 9 .
CN202023224840.6U 2020-12-24 2020-12-24 A high-efficiency traditional Chinese medicine processing sewage treatment device Active CN214528362U (en)

Priority Applications (1)

Application Number Priority Date Filing Date Title
CN202023224840.6U CN214528362U (en) 2020-12-24 2020-12-24 A high-efficiency traditional Chinese medicine processing sewage treatment device

Applications Claiming Priority (1)

Application Number Priority Date Filing Date Title
CN202023224840.6U CN214528362U (en) 2020-12-24 2020-12-24 A high-efficiency traditional Chinese medicine processing sewage treatment device

Publications (1)

Publication Number Publication Date
CN214528362U true CN214528362U (en) 2021-10-29

Family

ID=78297128

Family Applications (1)

Application Number Title Priority Date Filing Date
CN202023224840.6U Active CN214528362U (en) 2020-12-24 2020-12-24 A high-efficiency traditional Chinese medicine processing sewage treatment device

Country Status (1)

Country Link
CN (1) CN214528362U (en)

Similar Documents

Publication Publication Date Title
CN211357863U (en) Municipal administration sewage treatment device convenient to handle residue in sewage
CN205856151U (en) A kind of particle filtering processing means of sewage disposal device
CN107857385A (en) A kind of easy cleaning is used for kitchen waste water water-oil separating processing unit
CN109179875A (en) A kind of small-sized water filtering tank of aeration microorganism of rural sewage treatment
CN206033307U (en) A deoiling machine for sewage treatment
CN109019738A (en) Air floatation machine dross separation apparatus in a kind of tobacco processing sewage disposal process system
CN101259344A (en) Sewage pretreatment multifunctional solid-liquid separator
CN104609600B (en) Automatic washing type industrial wastewater purification device
CN214528362U (en) A high-efficiency traditional Chinese medicine processing sewage treatment device
CN106348534B (en) sewage treatment system
CN220597249U (en) A household sewage treatment equipment
TWI696488B (en) Reversible washing floating bed type reverse sewage treatment system and treatment method thereof
CN204550264U (en) A kind of automatic flushing industrial waste water purifying device
CN207950891U (en) Wastewater filtering device for coal mine
CN216934892U (en) Back-flushing oil-water separator
CN110433544A (en) A kind of sewage filter device
CN211198845U (en) Integrated domestic sewage treatment machine
JP2002058918A (en) Waste water treating equipment
CN109956585A (en) A kind of water conservancy sewage filter device
KR100730591B1 (en) Kitchen Sewage Filter
DE19960400A1 (en) Coarse substances removal from waste water involves filtering water using net bags alternately filled and suspended within covered cistern for release to sediment basin
KR200420647Y1 (en) Kitchen Sewage Filter
CN220265320U (en) Concrete wastewater recycling device
CN113072213B (en) Rural sewage integration intelligent cabinet
CN213446519U (en) Oil removal filter for sewage treatment

Legal Events

Date Code Title Description
GR01 Patent grant
GR01 Patent grant