CN214448136U - Novel mould mechanism is got to injection molding machine that processing plastic mold used - Google Patents

Novel mould mechanism is got to injection molding machine that processing plastic mold used Download PDF

Info

Publication number
CN214448136U
CN214448136U CN202120285480.6U CN202120285480U CN214448136U CN 214448136 U CN214448136 U CN 214448136U CN 202120285480 U CN202120285480 U CN 202120285480U CN 214448136 U CN214448136 U CN 214448136U
Authority
CN
China
Prior art keywords
mold
template
injection molding
molding machine
sides
Prior art date
Legal status (The legal status is an assumption and is not a legal conclusion. Google has not performed a legal analysis and makes no representation as to the accuracy of the status listed.)
Expired - Fee Related
Application number
CN202120285480.6U
Other languages
Chinese (zh)
Inventor
张先恒
Current Assignee (The listed assignees may be inaccurate. Google has not performed a legal analysis and makes no representation or warranty as to the accuracy of the list.)
Hebei Qianyuan Plastic Products Co ltd
Original Assignee
Hebei Qianyuan Plastic Products Co ltd
Priority date (The priority date is an assumption and is not a legal conclusion. Google has not performed a legal analysis and makes no representation as to the accuracy of the date listed.)
Filing date
Publication date
Application filed by Hebei Qianyuan Plastic Products Co ltd filed Critical Hebei Qianyuan Plastic Products Co ltd
Priority to CN202120285480.6U priority Critical patent/CN214448136U/en
Application granted granted Critical
Publication of CN214448136U publication Critical patent/CN214448136U/en
Expired - Fee Related legal-status Critical Current
Anticipated expiration legal-status Critical

Links

Images

Landscapes

  • Moulds For Moulding Plastics Or The Like (AREA)
  • Injection Moulding Of Plastics Or The Like (AREA)

Abstract

本实用新型公开了一种新型加工塑料模具用的注塑机取模机构,包括底座、支撑腿、固定柱、电机、螺杆、螺套、上模板、注料口、上模腔、滑杆、减震弹簧一、下模板、下模腔、液压缸、活动板、连接杆、推块、缓冲机构、减震弹簧二和托块。本实用新型的有益效果是:上模板的两侧设置有与滑杆大小相配合的限位孔,便于对上模板进行缓冲保护,注料口与上模腔相连通,便于注料,活动板的两端均镶嵌有滚珠,便于活动板在凹槽内滑动,推块设置有四个,且均匀分布在下模板的上侧,便于在脱模过程中受力均匀,对成型模具进行脱料,对模具起到保护作用,推块的下表面两侧固定设置有两个缓冲机构,便于对推块进行缓冲,从而提高其使用寿命。

Figure 202120285480

The utility model discloses a new mold-taking mechanism for an injection molding machine for processing plastic molds, which comprises a base, a support leg, a fixed column, a motor, a screw, a screw sleeve, an upper template, a material injection port, an upper mold cavity, a sliding rod, a reduction The first shock spring, the lower template, the lower mold cavity, the hydraulic cylinder, the movable plate, the connecting rod, the push block, the buffer mechanism, the second shock spring and the support block. The beneficial effects of the utility model are as follows: the two sides of the upper template are provided with limit holes matched with the size of the sliding rod, which facilitates buffer protection for the upper template; Both ends of the mold are inlaid with balls, which is convenient for the movable plate to slide in the groove. There are four push blocks, which are evenly distributed on the upper side of the lower mold plate, so that the force is uniform during the demoulding process, and the forming mold is removed. To protect the mold, two buffer mechanisms are fixed on both sides of the lower surface of the push block, which is convenient for buffering the push block, thereby improving its service life.

Figure 202120285480

Description

Novel mould mechanism is got to injection molding machine that processing plastic mold used
Technical Field
The utility model relates to a get the mould mechanism, specifically be a novel mould mechanism is got to injection molding machine that processing plastic mold used belongs to the mould and makes technical field.
Background
The die is various dies and tools for obtaining required products by injection molding, blow molding, extrusion, die casting or forging forming, smelting, stamping and other methods in industrial production. In short, a mold is a tool used to make a shaped article, the tool being made up of various parts, different molds being made up of different parts. The processing of the appearance of an article is realized mainly through the change of the physical state of a formed material. The blank is formed into a tool with a specific shape and size under the action of external force. The method is widely applied to blanking, die forging, cold heading, extrusion, powder metallurgy part pressing, pressure casting and the forming processing of compression molding or injection molding of products such as engineering plastics, rubber, ceramics and the like. The mould has a specific contour or inner cavity shape, and the blank can be separated according to the contour shape by applying the contour shape with the cutting edge.
The traditional mould is demoulded by using the ejector pin during demoulding, the surface of a product is easy to be sunken by using the ejector pin for demoulding, the quality of the produced product is lower, and necessary protective measures are lacked during demoulding of the existing mould.
SUMMERY OF THE UTILITY MODEL
The utility model aims at providing a novel mould mechanism is got to injection molding machine that processing plastic mold used just in order to solve above-mentioned problem.
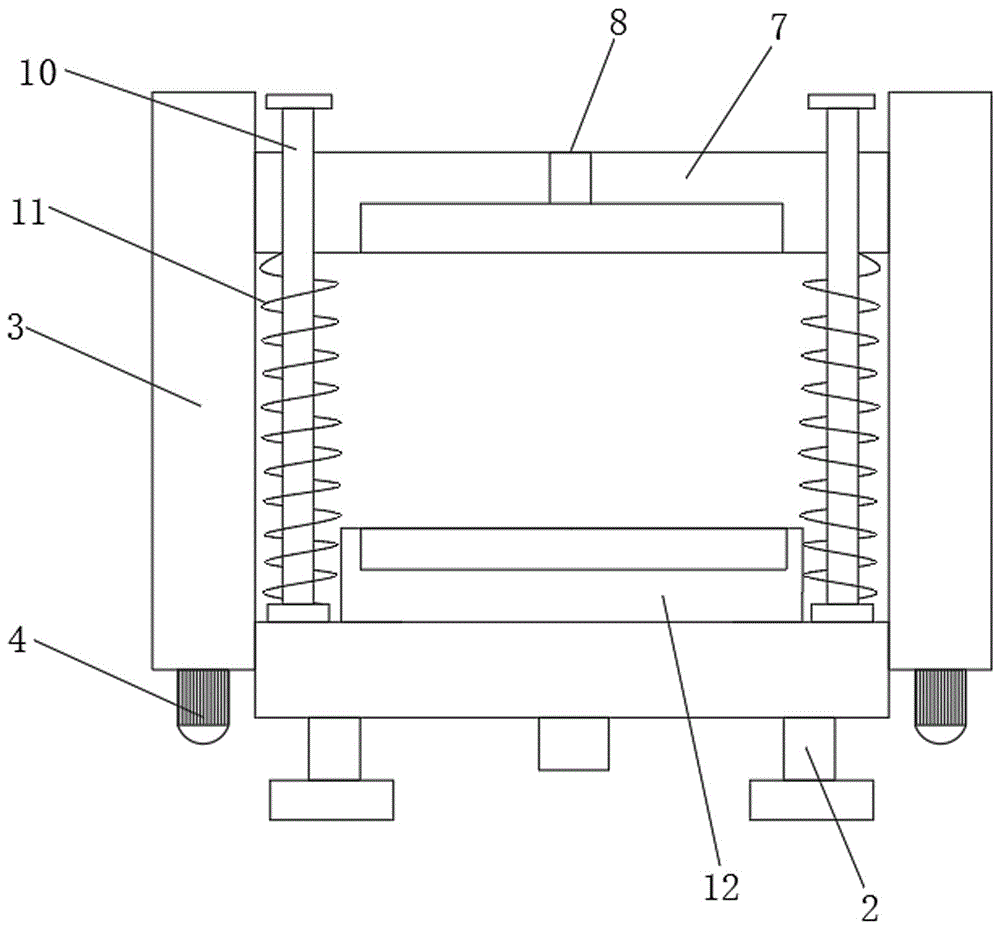
The utility model discloses a following technical scheme realizes above-mentioned purpose: a novel injection molding machine mold taking mechanism for processing plastic molds comprises a base, supporting legs, fixing columns, a motor, a screw rod, a screw sleeve, an upper mold plate, a filling port, an upper mold cavity, a sliding rod, a first damping spring, a lower mold plate, a lower mold cavity, a hydraulic cylinder, a movable plate, a connecting rod, a push block, a buffer mechanism, a second damping spring and a supporting block; the device comprises a main body structure of the device, wherein the main body structure comprises a base, supporting legs, an upper template and a lower template, the lower end of the base is fixedly provided with the supporting legs, two sides of each supporting leg are respectively and fixedly connected with a fixing column, the insides of the two fixing columns are provided with through grooves, the lower end of each fixing column is fixedly connected with a motor, the output end of each motor is fixedly connected with a screw rod, the screw rods are positioned in the through grooves arranged inside the fixing columns, screw sleeves are respectively and threadedly connected onto the two screw rods, the upper template is fixedly arranged between the two screw sleeves, the upper end of the upper template is fixedly provided with a filling port, the lower side of the upper template is fixedly provided with an upper die cavity, two sides of the upper template are respectively provided with a slide rod, the lower side of the slide rod, which is positioned on the upper template, is sleeved with a damping spring I, the lower template fixedly connected onto the base is arranged under the upper template, and the lower die cavity is fixedly arranged on the upper side of the lower template, the lower surface central point of base puts the fixed pneumatic cylinder that is provided with, and the inside of base is provided with the mounting groove, the output of pneumatic cylinder extends to in the mounting groove to the rigid coupling has the fly leaf, the last fixed surface of fly leaf installs the connecting rod, the upper end rigid coupling of connecting rod has the ejector pad, the downside of ejector pad is provided with buffer gear, buffer gear includes damping spring two, the upper end fixedly connected with tray of damping spring two.
Preferably, in order to facilitate the buffer protection of the upper template in the descending process of the upper template, the two sides of the upper template are provided with limit holes matched with the size of the sliding rod, and the sliding rod is connected with the upper template in a sliding manner.
Preferably, in order to facilitate material injection and avoid raw material waste, the material injection port is communicated with the upper die cavity.
Preferably, for the convenience of the movable plate sliding in the groove, the two ends of the movable plate are inlaid with balls, and the two balls are respectively in rolling connection with the inner walls of the two sides of the groove.
Preferably, for the convenience of even atress in the drawing of patterns process, take off the material to forming die, play the guard action to the mould, the ejector pad is provided with four, and evenly distributed is at the upside of lower bolster.
Preferably, be convenient for cushion the ejector pad to improve its life, the lower surface both sides of ejector pad are fixed and are provided with two buffer gear.
The utility model has the advantages that: this novel injection molding machine that processing plastic mold used gets mould mechanism reasonable in design, the both sides of cope match-plate pattern are provided with the spacing hole with slide bar size matched with, and sliding connection between slide bar and the cope match-plate pattern, be convenient for at the cope match-plate pattern decline in-process, buffer protection to the cope match-plate pattern, the sprue is linked together with last die cavity, the material of being convenient for is annotated, avoid causing the raw materials extravagant, the both ends of fly leaf are all inlayed and are had the ball, two balls respectively with the both sides inner wall roll connection of recess, the fly leaf of being convenient for slides in the recess, the ejector pad is provided with four, and evenly distributed is at the upside of cope match-plate pattern, be convenient for at drawing of patterns in-process atress even, take off the material to forming die, play the guard action to the mould, the fixed two buffer gear that are provided with in lower surface both sides of ejector pad, be convenient for cushion the ejector pad, thereby improve its life.
Drawings
FIG. 1 is a schematic view of the structure of the present invention;
FIG. 2 is a schematic view of the internal structure of the present invention;
fig. 3 is an enlarged schematic view of a portion a in fig. 2.
In the figure: 1. the device comprises a base, 2, supporting legs, 3, fixing columns, 4, a motor, 5, a screw rod, 6, a screw sleeve, 7, an upper template, 8, a filling port, 9, an upper die cavity, 10, a sliding rod, 11, a damping spring I, 12, a lower template, 13, a lower die cavity, 14, a hydraulic cylinder, 15, a movable plate, 16, a connecting rod, 17, a push block, 18, a buffer mechanism, 19, damping springs II and 20 and a support block.
Detailed Description
The technical solutions in the embodiments of the present invention will be described clearly and completely with reference to the accompanying drawings in the embodiments of the present invention, and it is obvious that the described embodiments are only some embodiments of the present invention, not all embodiments. Based on the embodiments in the present invention, all other embodiments obtained by a person skilled in the art without creative work belong to the protection scope of the present invention.
Referring to fig. 1 to 3, a novel mold taking mechanism of an injection molding machine for processing plastic molds comprises a base 1, support legs 2, a fixed column 3, a motor 4, a screw rod 5, a threaded sleeve 6, an upper mold plate 7, a filling opening 8, an upper mold cavity 9, a slide rod 10, a first damping spring 11, a lower mold plate 12, a lower mold cavity 13, a hydraulic cylinder 14, a movable plate 15, a connecting rod 16, a push block 17, a buffer mechanism 18, a second damping spring 19 and a support block 20; the device comprises a main body structure of the device, wherein the main body structure comprises a base 1, supporting legs 2, an upper template 7 and a lower template 12, the lower end of the base 1 is fixedly provided with the supporting legs 2, two sides of each supporting leg 2 are respectively and fixedly connected with a fixed column 3, the insides of the two fixed columns 3 are provided with through grooves, the lower end of each fixed column 3 is fixedly connected with a motor 4, the output end of each motor 4 is fixedly connected with a screw rod 5, the screw rods 5 are positioned in the through grooves arranged inside the fixed columns 3, the two screw rods 5 are both in threaded connection with screw sleeves 6, the upper template 7 is fixedly arranged between the two screw sleeves 6, the upper end of the upper template 7 is fixedly provided with a filling port 8, the lower side of the upper template 7 is fixedly provided with an upper die cavity 9, two sides of the upper template 7 are respectively provided with a sliding rod 10, the sliding rod 10 is positioned at the lower side of the upper template 7 and is sleeved with a damping spring I11, be provided with lower bolster 12 of rigid coupling on base 1 under cope match-plate pattern 7, the fixed die cavity 13 that is provided with down of upside of lower bolster 12, the fixed pneumatic cylinder 14 that is provided with of lower surface central point of base 1 puts, and the inside of base 1 is provided with the mounting groove, the output of pneumatic cylinder 14 extends to in the mounting groove to the rigid coupling has fly leaf 15, the last fixed surface of fly leaf 15 installs connecting rod 16, the upper end rigid coupling of connecting rod 16 has ejector pad 17, the downside of ejector pad 17 is provided with buffer gear 18, buffer gear 18 includes damping spring two 19, the upper end fixedly connected with tray 20 of damping spring two 19.
The both sides of cope match-plate pattern 7 are provided with the spacing hole with slide bar 10 size matched with, and sliding connection between slide bar 10 and the cope match-plate pattern 7, are convenient for descend the in-process at cope match-plate pattern 7, buffer protection to cope match-plate pattern 7, sprue 8 is linked together with last die cavity 9, and the material of being convenient for annotates avoids causing the raw materials extravagant, the ball has all been inlayed at the both ends of fly leaf 15, and two balls respectively with the both sides inner wall roll connection of recess, be convenient for fly leaf 15 slides in the recess, ejector pad 17 is provided with four, and evenly distributed is at the upside of lower bolster 12, and the atress is even at drawing of patterns in-process of being convenient for, takes off the material to forming die, plays the guard action to the mould, the fixed two buffer gear 18 that are provided with of lower surface both sides of ejector pad 17 is convenient for cushion ejector pad 17 to improve its life.
The working principle is as follows: when the novel injection molding machine mold taking mechanism for processing the plastic mold is used, the mold taking device is firstly moved to a proper position, then the motors 4 on the two sides are opened, the motors 4 rotate to drive the screw rods 5 to rotate, the screw rods 5 rotate to drive the screw sleeves 6 to move downwards, the screw sleeves 6 move downwards and further drive the upper mold plate 7 to move downwards, in the moving process, the slide rods 10 arranged on the two sides of the upper mold plate 7 play a certain limiting and buffering role, after the upper mold plate 7 is tightly connected with the lower mold plate 12, plastic raw materials are injected into a mold cavity through the injection port 8, then the mold is kept still for a period of time, after plastic molding, the motors 4 are reversed to separate the upper mold plate 7 from the lower mold plate 12, at the moment, the hydraulic cylinder 14 is opened, the output end of the hydraulic cylinder 14 drives the movable plate 15 to move upwards, the movable plate 15 moves upwards and further drives the pushing block 17 to eject out of the molding mold, because the surface of the push block 17 is rectangular, the push block replaces the original thimble, plays a good role in protecting the die, and is more convenient to use.
It is obvious to a person skilled in the art that the invention is not restricted to details of the above-described exemplary embodiments, but that it can be implemented in other specific forms without departing from the spirit or essential characteristics of the invention. The present embodiments are therefore to be considered in all respects as illustrative and not restrictive, the scope of the invention being indicated by the appended claims rather than by the foregoing description, and all changes which come within the meaning and range of equivalency of the claims are therefore intended to be embraced therein. Any reference sign in a claim should not be construed as limiting the claim concerned.
Furthermore, it should be understood that although the present description refers to embodiments, not every embodiment may contain only a single embodiment, and such description is for clarity only, and those skilled in the art should integrate the description, and the embodiments may be combined as appropriate to form other embodiments understood by those skilled in the art.

Claims (6)

1.一种新型加工塑料模具用的注塑机取模机构,其特征在于:包括底座(1)、支撑腿(2)、固定柱(3)、电机(4)、螺杆(5)、螺套(6)、上模板(7)、注料口(8)、上模腔(9)、滑杆(10)、减震弹簧一(11)、下模板(12)、下模腔(13)、液压缸(14)、活动板(15)、连接杆(16)、推块(17)、缓冲机构(18)、减震弹簧二(19)和托块(20);所述底座(1)、支撑腿(2)、上模板(7)和下模板(12)构成该装置的主体结构,所述底座(1)的下端固定安装有支撑腿(2),且支撑腿(2)的两侧分别固定连接有固定柱(3),两个所述固定柱(3)的内部设置有通槽,且每个固定柱(3)的下端固定连接有电机(4),每个所述电机(4)的输出端固接有螺杆(5),所述螺杆(5)位于固定柱(3)内部设置的通槽内,两个所述螺杆(5)上均螺纹连接有螺套(6),两个所述螺套(6)之间固定安装有上模板(7),所述上模板(7)的上端固定设置有注料口(8),且上模板(7)的下侧固定开设有上模腔(9),所述上模板(7)的两侧分别设置有滑杆(10),所述滑杆(10)位于上模板(7)的下侧套接有减震弹簧一(11),所述上模板(7)的正下方设置有固接在底座(1)上的下模板(12),所述下模板(12)的上侧固定设置有下模腔(13),所述底座(1)的下表面中心位置固定设置有液压缸(14),且底座(1)的内部设置有安装槽,所述液压缸(14)的输出端延伸至安装槽内,并固接有活动板(15),所述活动板(15)的上表面固定安装有连接杆(16),所述连接杆(16)的上端固接有推块(17),所述推块(17)的下侧设置有缓冲机构(18),所述缓冲机构(18)包括减震弹簧二(19),所述减震弹簧二(19)的上端固定连接有托块(20)。1. A new mold-taking mechanism for an injection molding machine for processing plastic molds, characterized in that it comprises a base (1), a support leg (2), a fixed column (3), a motor (4), a screw (5), a screw sleeve (6), upper template (7), injection port (8), upper mold cavity (9), sliding rod (10), shock spring one (11), lower template (12), lower mold cavity (13) , hydraulic cylinder (14), movable plate (15), connecting rod (16), push block (17), buffer mechanism (18), shock-absorbing spring two (19) and support block (20); the base (1) ), support legs (2), upper template (7) and lower template (12) constitute the main structure of the device, the lower end of the base (1) is fixedly installed with the support legs (2), and the support legs (2) The two sides are respectively fixedly connected with fixing columns (3), the interior of the two fixing columns (3) is provided with a through groove, and the lower end of each fixing column (3) is fixedly connected with a motor (4). A screw (5) is fixedly connected to the output end of the motor (4), the screw (5) is located in a through groove provided inside the fixing column (3), and a screw sleeve ( 6), an upper template (7) is fixedly installed between the two screw sleeves (6), the upper end of the upper template (7) is fixedly provided with a material injection port (8), and the lower An upper die cavity (9) is fixed on the side, and sliding bars (10) are respectively provided on both sides of the upper template (7). Shock spring one (11), a lower template (12) fixed on the base (1) is arranged directly below the upper template (7), and a lower mold cavity is fixed on the upper side of the lower template (12). (13), a hydraulic cylinder (14) is fixedly arranged at the center of the lower surface of the base (1), and an installation groove is arranged inside the base (1), and the output end of the hydraulic cylinder (14) extends to the installation groove Inside, a movable plate (15) is fixedly connected, the upper surface of the movable plate (15) is fixedly installed with a connecting rod (16), and the upper end of the connecting rod (16) is fixed with a push block (17), so The lower side of the push block (17) is provided with a buffer mechanism (18), the buffer mechanism (18) includes a second shock spring (19), and the upper end of the second shock spring (19) is fixedly connected with a support block ( 20). 2.根据权利要求1所述的一种新型加工塑料模具用的注塑机取模机构,其特征在于:所述上模板(7)的两侧设置有与滑杆(10)大小相配合的限位孔,且滑杆(10)与上模板(7)之间滑动连接。2. A new type of mold-taking mechanism for an injection molding machine for processing plastic molds according to claim 1, characterized in that: both sides of the upper template (7) are provided with limits matching the size of the sliding rod (10). position hole, and the sliding rod (10) is slidably connected with the upper template (7). 3.根据权利要求1所述的一种新型加工塑料模具用的注塑机取模机构,其特征在于:所述注料口(8)与上模腔(9)相连通。3. A new type of injection molding machine mold-taking mechanism for processing plastic molds according to claim 1, characterized in that: the injection port (8) is communicated with the upper mold cavity (9). 4.根据权利要求1所述的一种新型加工塑料模具用的注塑机取模机构,其特征在于:所述活动板(15)的两端均镶嵌有滚珠,两个滚珠分别和凹槽的两侧内壁滚动连接。4. A new type of injection molding machine mold-taking mechanism for processing plastic molds according to claim 1, characterized in that: both ends of the movable plate (15) are inlaid with balls, and the two balls are respectively connected to the grooves. The inner walls on both sides are rolled and connected. 5.根据权利要求1所述的一种新型加工塑料模具用的注塑机取模机构,其特征在于:所述推块(17)设置有四个,且均匀分布在下模板(12)的上侧。5. A new type of mold-taking mechanism for an injection molding machine for processing plastic molds according to claim 1, characterized in that: the push blocks (17) are provided with four, and are evenly distributed on the upper side of the lower template (12). . 6.根据权利要求1所述的一种新型加工塑料模具用的注塑机取模机构,其特征在于:所述推块(17)的下表面两侧固定设置有两个缓冲机构(18)。6 . A new type of mold-taking mechanism for an injection molding machine for processing plastic molds according to claim 1 , wherein two buffer mechanisms ( 18 ) are fixedly arranged on both sides of the lower surface of the push block ( 17 ). 7 .
CN202120285480.6U 2021-02-02 2021-02-02 Novel mould mechanism is got to injection molding machine that processing plastic mold used Expired - Fee Related CN214448136U (en)

Priority Applications (1)

Application Number Priority Date Filing Date Title
CN202120285480.6U CN214448136U (en) 2021-02-02 2021-02-02 Novel mould mechanism is got to injection molding machine that processing plastic mold used

Applications Claiming Priority (1)

Application Number Priority Date Filing Date Title
CN202120285480.6U CN214448136U (en) 2021-02-02 2021-02-02 Novel mould mechanism is got to injection molding machine that processing plastic mold used

Publications (1)

Publication Number Publication Date
CN214448136U true CN214448136U (en) 2021-10-22

Family

ID=78117334

Family Applications (1)

Application Number Title Priority Date Filing Date
CN202120285480.6U Expired - Fee Related CN214448136U (en) 2021-02-02 2021-02-02 Novel mould mechanism is got to injection molding machine that processing plastic mold used

Country Status (1)

Country Link
CN (1) CN214448136U (en)

Similar Documents

Publication Publication Date Title
CN208483259U (en) A kind of drilling equipment for processing mold
CN110696308A (en) Mold stripping device for small products
CN210816910U (en) Electrical apparatus contact stamping die
CN207207001U (en) An injection mold that is easy to vent and can be demolded quickly
CN210547988U (en) Mould for hardware processing
CN211968157U (en) Plastic mold with automatic popping function
CN214448136U (en) Novel mould mechanism is got to injection molding machine that processing plastic mold used
CN206951985U (en) A kind of novel mechanical processing mold
CN210758321U (en) Mould is used in baffle brick production and processing
CN219855568U (en) Relay shell batch production mould
CN214517006U (en) Precision machine parts mold processing
CN211727071U (en) Novel elbow mould
CN210589671U (en) Stamping die for plastic product processing
CN217617304U (en) Mould with guiding mechanism
CN208497434U (en) One kind is convenient for de- mould
CN206999734U (en) The ejector rod mechanism of mould
CN206839040U (en) A kind of hard alloy mould
CN215279484U (en) Split type pneumatic injection nozzle hardware mould
CN216884929U (en) Porous quick forming die that fills
CN213997462U (en) Hardware fitting for stamping die
CN219435634U (en) Forming precision die of die-pressing resistor
CN221087000U (en) Chassis reinforced automobile die
CN222201832U (en) Mould demoulding structure
CN214991125U (en) Pipe-made glass bottle forming die
CN219986053U (en) Forming die convenient for demolding

Legal Events

Date Code Title Description
GR01 Patent grant
GR01 Patent grant
CP01 Change in the name or title of a patent holder

Address after: 065800 Wen An Zhen Yuan Guo Cun, Wen'an County, Langfang City, Hebei Province

Patentee after: Hebei Qianyuan plastic products Co.,Ltd.

Address before: 065800 Wen An Zhen Yuan Guo Cun, Wen'an County, Langfang City, Hebei Province

Patentee before: Hebei Qianyuan plastic products Co.,Ltd.

CP01 Change in the name or title of a patent holder
CF01 Termination of patent right due to non-payment of annual fee

Granted publication date: 20211022