CN214418340U - A cylindrical grinder with dust removal device - Google Patents

A cylindrical grinder with dust removal device Download PDF

Info

Publication number
CN214418340U
CN214418340U CN202120120136.1U CN202120120136U CN214418340U CN 214418340 U CN214418340 U CN 214418340U CN 202120120136 U CN202120120136 U CN 202120120136U CN 214418340 U CN214418340 U CN 214418340U
Authority
CN
China
Prior art keywords
motor
bed body
fixed seat
groove
top end
Prior art date
Legal status (The legal status is an assumption and is not a legal conclusion. Google has not performed a legal analysis and makes no representation as to the accuracy of the status listed.)
Expired - Fee Related
Application number
CN202120120136.1U
Other languages
Chinese (zh)
Inventor
曹裕民
李玉顺
邢德文
Current Assignee (The listed assignees may be inaccurate. Google has not performed a legal analysis and makes no representation or warranty as to the accuracy of the list.)
Jiaozuo Industrial Brake Manufacturing Co ltd
Original Assignee
Jiaozuo Industrial Brake Manufacturing Co ltd
Priority date (The priority date is an assumption and is not a legal conclusion. Google has not performed a legal analysis and makes no representation as to the accuracy of the date listed.)
Filing date
Publication date
Application filed by Jiaozuo Industrial Brake Manufacturing Co ltd filed Critical Jiaozuo Industrial Brake Manufacturing Co ltd
Priority to CN202120120136.1U priority Critical patent/CN214418340U/en
Application granted granted Critical
Publication of CN214418340U publication Critical patent/CN214418340U/en
Expired - Fee Related legal-status Critical Current
Anticipated expiration legal-status Critical

Links

Images

Landscapes

  • Grinding-Machine Dressing And Accessory Apparatuses (AREA)

Abstract

本实用新型涉及外圆磨床技术领域,具体公开了一种具有除尘装置的外圆磨床,包括床体,所述床体的顶端设置有滑轨,所述滑轨的右端滑动套接有滑块,所述滑块的顶端固定连接有带套筒的固定座,所述固定座的右侧固定连接有电动推杆;所述床体顶端左侧固定连接有第一电机,所述第一电机的输出端连接有带套筒的旋转块;所述防护罩滑动套接在滑轨上,所述第一电机与固定座之间设置有第二电机,所述第二电机的输出端连接有砂轮和防溅块;所述床体顶端的中心位置设置有凹槽,所述凹槽的中间位置设置有抽拉盒,所述凹槽底端一侧连接有气泵,所述气泵的输出端连接有出气管。本实用新型能够有效避免粉尘和碎屑的积聚以及飞溅。

Figure 202120120136

The utility model relates to the technical field of cylindrical grinding machines, and specifically discloses a cylindrical grinding machine with a dust removal device, which comprises a bed body, a sliding rail is arranged at the top of the bed body, and a sliding block is slidably sleeved on the right end of the sliding rail. , the top of the slider is fixedly connected with a fixed seat with a sleeve, the right side of the fixed seat is fixedly connected with an electric push rod; the left side of the top of the bed is fixedly connected with a first motor, the first motor The output end of the motor is connected with a rotating block with a sleeve; the protective cover is slidably sleeved on the slide rail, a second motor is arranged between the first motor and the fixed seat, and the output end of the second motor is connected with a Grinding wheel and anti-splash block; a groove is provided at the center of the top of the bed, a drawing box is provided in the middle of the groove, an air pump is connected to one side of the bottom end of the groove, and the output end of the air pump is An outlet pipe is connected. The utility model can effectively avoid the accumulation and splashing of dust and debris.

Figure 202120120136

Description

Cylindrical grinder with dust collector
Technical Field
The utility model relates to a cylindrical grinder technical field specifically is a cylindrical grinder with dust collector.
Background
The cylindrical grinder for machining the external surface and shoulder end of cylindrical, conic or other workpiece is composed of basic cast iron bed, bench, headstock and tailstock for supporting and driving workpiece, grinding carriage (head) for installing grinding wheel, transverse feeding mechanism for controlling the size of workpiece, and electric and hydraulic units for controlling the movement of moving parts of machine tool. The cylindrical grinder is widely used, but when the existing cylindrical grinder is used for machining a workpiece, dust and broken slag can be generated, the dust and the broken slag are easy to accumulate on the cylindrical grinder, the service life and the working efficiency of machinery are influenced, the dust and the broken slag are easy to splash, the environment is polluted, and the personal safety of workers can be threatened.
SUMMERY OF THE UTILITY MODEL
An object of the utility model is to provide a cylindrical grinder with dust collector to solve the problem that proposes among the above-mentioned background art.
In order to achieve the above object, the utility model provides a following technical scheme: a cylindrical grinding machine with a dust removal device comprises a bed body, a fixed seat, a first motor, a second motor and an air pump, wherein a slide rail is arranged at the top end of the bed body, a slide block is sleeved at the right end of the slide rail in a sliding mode, the top end of the slide block is fixedly connected with the fixed seat, the right side of the fixed seat is fixedly connected with an electric push rod, the electric push rod is arranged on the left side of a supporting plate, the bottom end of the supporting plate is fixedly connected with the right side of the top end of the bed body, and the left side of the fixed seat is rotatably connected with a sleeve; a first motor is fixedly connected to the left side of the top end of the bed body, the output end of the first motor is connected with a rotating block, a sleeve is arranged on the rotating block, a protective cover is arranged on the first motor, the protective cover is slidably sleeved on a sliding rail, a second motor is arranged between the first motor and a fixed seat, the output end of the second motor is connected with a grinding wheel, and a splash-proof block is arranged at the top end of the grinding wheel; a groove is formed in the center of the top end of the bed body, a steel wire mesh is arranged at the top end of the groove, a drawing box is arranged at the middle of the groove, one side of the bottom end of the groove is connected with a connecting cylinder, one end, far away from the groove, of the connecting cylinder is connected with an air pump through a fixing pipe, the air pump is arranged in the position, close to the left side, of the inside of the bed body, the output end of the air pump is connected with an air outlet pipe, and the air outlet pipe penetrates through the left side of the bed body; the bottom of the bed body is provided with supporting legs.
Preferably, the slide rails are arranged at the top end of the bed body in parallel.
Preferably, the sleeve includes arc and lower arc, be provided with fastening bolt on going up the arc, fastening bolt runs through the arc, the inner wall of going up the arc and the inner wall of lower arc all are provided with anti-skidding line.
Preferably, the bearing is embedded in the left side of the fixing seat, the outer ring of the bearing is fixedly connected with the fixing seat, and the inner ring of the bearing is fixedly connected with the sleeve.
Preferably, openings for allowing the first motor, the second motor and the fixed seat to pass through are formed in two sides of the protective cover, and a sliding groove is formed in the bottom end of the protective cover; the protective cover is made of transparent materials.
Preferably, the drawing box comprises two side plates, a front baffle, a rear baffle and a bottom plate, wherein a first filter screen is arranged on the bottom plate, and a handle is arranged on the front baffle; the front end of the bed body is provided with a drawing groove corresponding to the drawing box, and the drawing groove is communicated with the groove.
Preferably, the connecting cylinder is communicated with the groove, and a second filter screen is arranged in the connecting cylinder.
Preferably, the output end of the air outlet pipe is provided with a third filter screen.
Compared with the prior art, the beneficial effects of the utility model are that:
1. through set up the recess on the bed body to set up pull box and air pump in the recess, wherein the pull box is arranged in collecting the dust and the piece that produce in the course of working, and the air pump is arranged in producing the negative pressure in the recess, makes dust and piece in the recess is gone into by the suction under the effect of atmospheric pressure, avoids dust and piece to gather on the excircle grinding machine and influence the efficiency of processing and mechanical life, has also avoided splashing polluted environment and threaten workman's personal safety because of dust and piece.
2. Set up gliding protection casing through the top at the bed body, be convenient for protect the region of second motor and processing through this protection casing, further avoid dust and piece to splash, play fine protecting effect, and the protection casing adopts transparent material to make, is convenient for observe the state of the processing of work piece.
Drawings
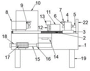
Fig. 1 is a schematic view of the overall structure of the present invention;
fig. 2 is a schematic top view of the present invention;
fig. 3 is a schematic structural view of the middle sleeve of the present invention;
fig. 4 is a left side structure diagram of the middle protective cover of the present invention.
In the figure: 1. a bed body; 2. a slide rail; 3. a slider; 4. a fixed seat; 5. an electric push rod; 6. a sleeve; 7. fastening a bolt; 8. a first motor; 9. rotating the block; 10. a protective cover; 11. a second motor; 12. a grinding wheel; 13. a splash block; 14. a box is drawn out; 15. a fixed tube; 16. a connecting cylinder; 17. an air pump; 18. an air outlet pipe; 19. supporting legs; 20. an opening; 21. a chute; 22. a support plate; 23. and (5) steel wire meshes.
Detailed Description
The technical solutions in the embodiments of the present invention will be described clearly and completely with reference to the accompanying drawings in the embodiments of the present invention, and it is obvious that the described embodiments are only some embodiments of the present invention, not all embodiments. Based on the embodiments in the present invention, all other embodiments obtained by a person skilled in the art without creative work belong to the protection scope of the present invention.
In the description of the present invention, it should be noted that the terms "vertical", "upper", "lower", "horizontal", and the like indicate orientations or positional relationships based on the orientations or positional relationships shown in the drawings, and are only for convenience of description and simplification of description, but do not indicate or imply that the device or element referred to must have a specific orientation, be constructed in a specific orientation, and be operated, and thus should not be construed as limiting the present invention.
In the description of the present invention, it should also be noted that, unless otherwise explicitly specified or limited, the terms "disposed," "mounted," "connected," and "connected" are to be construed broadly, e.g., as meaning either a fixed connection, a removable connection, or an integral connection; can be mechanically or electrically connected; they may be connected directly or indirectly through intervening media, or they may be interconnected between two elements. The specific meaning of the above terms in the present invention can be understood according to specific situations by those skilled in the art.
Referring to fig. 1-4, the present invention provides a technical solution: a cylindrical grinding machine with a dust removal device comprises a bed body 1, a fixed seat 4, a first motor 8, a second motor 11 and an air pump 17, wherein a slide rail 2 is arranged at the top end of the bed body 1, a slide block 3 is sleeved at the right end of the slide rail 2 in a sliding mode, the top end of the slide block 3 is fixedly connected with the fixed seat 4, an electric push rod 5 is fixedly connected to the right side of the fixed seat 4, the electric push rod 5 is arranged on the left side of a support plate 22, the bottom end of the support plate 22 is fixedly connected with the right side of the top end of the bed body 1, and a sleeve 6 is rotatably connected to the left side of the fixed seat 4; a first motor 8 is fixedly connected to the left side of the top end of the bed body 1, the output end of the first motor 8 is connected with a rotating block 9, a sleeve 6 is arranged on the rotating block 9, a protective cover 10 is arranged on the first motor 8, the protective cover 10 is slidably sleeved on the sliding rail 2, a second motor 11 is arranged between the first motor 8 and the fixed seat 4, the output end of the second motor 11 is connected with a grinding wheel 12, and a splash-proof block 13 is arranged at the top end of the grinding wheel 12; a groove is formed in the center of the top end of the bed body 1, a steel wire mesh 23 is arranged at the top end of the groove, a drawing box 14 is arranged at the middle of the groove, a connecting cylinder 16 is connected to one side of the bottom end of the groove, an air pump 17 is connected to one end, far away from the groove, of the connecting cylinder 16 through a fixed pipe 15, the air pump 17 is arranged in the bed body 1 and close to the left side, an air outlet pipe 18 is connected to the output end of the air pump 17, and the air outlet pipe 18 penetrates through the left side of the bed body 1; the bottom end of the bed body 1 is provided with a supporting leg 19.
Further, the slide rails 2 are arranged at the top end of the bed body 1 in parallel; the number of the supporting legs 19 is four, and the four supporting legs 19 are respectively arranged at four corners of the bottom end of the bed body 1.
Further, sleeve 6 includes arc and lower arc, be provided with fastening bolt 7 on the last arc, fastening bolt 7 runs through the arc, the inner wall of going up the arc all is provided with anti-skidding line with the inner wall of lower arc, is convenient for fix the work piece of processing through fastening bolt 7, and anti-skidding line is used for increasing the frictional force of the work piece of processing and sleeve 6 for the work piece of processing is difficult to slide in sleeve 6, has ensured the precision of work piece processing.
Further, the bearing is inlayed in the left side of fixing base 4, the outer lane and the fixing base 4 fixed connection of bearing, the inner circle and the sleeve 6 fixed connection of bearing for the work piece can be along with the synchronous rotation of first motor 8 under the prerequisite is fixed in sleeve 6.
Furthermore, openings 20 for allowing the first motor 8, the second motor 11 and the fixing seat 4 to pass through are formed in two sides of the protective cover 10, and a sliding groove 21 is formed in the bottom end of the protective cover 10; the protective cover 10 is made of transparent materials.
Further, the pull box 14 comprises two side plates, a front baffle, a rear baffle and a bottom plate, wherein a first filter screen is arranged on the bottom plate and used for filtering dust and debris, and a handle is arranged on the front baffle and is convenient for manually pulling out the pull box 14; the front end of the bed body 1 is provided with a drawing groove corresponding to the drawing box 14, and the drawing groove is communicated with the groove.
Further, connecting cylinder 16 and recess intercommunication, just be provided with the second filter screen in the connecting cylinder 16, avoid dust or piece to get into in the air pump 17.
Furthermore, the output end of the air outlet pipe 18 is provided with a third filter screen, so that external dust is prevented from entering the air pump 17 through the air outlet pipe 18 to influence the working efficiency and the service life of the air pump 17.
Furthermore, a control button for controlling the first motor 8, the second motor 11, the electric push rod 5 and the air pump 17 is arranged on the side surface of the bed body 1.
The working principle is as follows: placing two ends of a workpiece to be processed in two sleeves 6 respectively, then opening an electric push rod 5 to enable the electric push rod 5 to push a fixing block 4 to extrude the workpiece, further horizontally fixing the workpiece between a first motor 8 and a fixing seat 4, then screwing a fastening bolt 7 to enable the end part of the fastening bolt 7 to prop against the workpiece, further fixing the workpiece, avoiding the workpiece from sliding in the sleeve 6 to influence the processing precision, moving a protective cover 10 to enable the protective cover to cover a processed part of a second motor 11 and the workpiece, avoiding dust and debris from accidentally splashing in the processing process, finally opening an air pump 17, the second motor 11 and the first motor 8 to start processing the workpiece, enabling the air pump 17 to generate negative pressure inside a groove in the processing process, pumping the dust and the debris generated in the processing process into the groove under the action of air pressure, and a drawing box 14 in the groove is used for collecting the dust and the debris, so as to facilitate the subsequent treatment of the dust and the chippings, and the dust and the chippings are not easy to accumulate and splash on the external circular grinder due to the suction effect of the air pump 17.
It is worth noting that: since the devices matched with the control buttons are common devices, which belong to the existing mature technology, the electrical connection relationship and the specific circuit structure are not described again.
Although embodiments of the present invention have been shown and described, it will be appreciated by those skilled in the art that changes, modifications, substitutions and alterations can be made in these embodiments without departing from the principles and spirit of the invention, the scope of which is defined in the appended claims and their equivalents.

Claims (8)

1. The cylindrical grinding machine with the dust removal device is characterized by comprising a bed body (1), a fixed seat (4), a first motor (8), a second motor (11) and an air pump (17), wherein a slide rail (2) is arranged at the top end of the bed body (1), a slide block (3) is sleeved at the right end of the slide rail (2) in a sliding mode, the fixed seat (4) is fixedly connected to the top end of the slide block (3), an electric push rod (5) is fixedly connected to the right side of the fixed seat (4), the electric push rod (5) is arranged on the left side of a supporting plate (22), the bottom end of the supporting plate (22) is fixedly connected to the right side of the top end of the bed body (1), and a sleeve (6) is rotatably connected to the left side of the fixed seat (4); a first motor (8) is fixedly connected to the left side of the top end of the bed body (1), the output end of the first motor (8) is connected with a rotating block (9), a sleeve (6) is arranged on the rotating block (9), a protective cover (10) is arranged on the first motor (8), the protective cover (10) is sleeved on the sliding rail (2) in a sliding mode, a second motor (11) is arranged between the first motor (8) and the fixed seat (4), the output end of the second motor (11) is connected with a grinding wheel (12), and a splash-proof block (13) is arranged at the top end of the grinding wheel (12); a groove is formed in the center of the top end of the bed body (1), a steel wire mesh (23) is arranged at the top end of the groove, a drawing box (14) is arranged at the middle of the groove, a connecting cylinder (16) is connected to one side of the bottom end of the groove, an air pump (17) is connected to one end, far away from the groove, of the connecting cylinder (16) through a fixing pipe (15), the air pump (17) is arranged in the position, close to the left side, of the inside of the bed body (1), an air outlet pipe (18) is connected to the output end of the air pump (17), and the air outlet pipe (18) penetrates through the left side of the bed body (1); the bottom of the bed body (1) is provided with a supporting leg (19).
2. The cylindrical grinding machine with a dust removing device according to claim 1, characterized in that: the slide rails (2) are arranged at the top end of the bed body (1) in parallel; the number of the supporting legs (19) is four, and the four supporting legs (19) are respectively arranged at four corners of the bottom end of the bed body (1).
3. The cylindrical grinding machine with a dust removing device according to claim 1, characterized in that: the sleeve (6) comprises an upper arc-shaped plate and a lower arc-shaped plate, a fastening bolt (7) is arranged on the upper arc-shaped plate, the fastening bolt (7) penetrates through the upper arc-shaped plate, and the inner wall of the upper arc-shaped plate and the inner wall of the lower arc-shaped plate are both provided with anti-skidding lines.
4. The cylindrical grinding machine with a dust removing device according to claim 1, characterized in that: the bearing is embedded in the left side of the fixed seat (4), the outer ring of the bearing is fixedly connected with the fixed seat (4), and the inner ring of the bearing is fixedly connected with the sleeve (6).
5. The cylindrical grinding machine with a dust removing device according to claim 1, characterized in that: openings (20) for allowing the first motor (8), the second motor (11) and the fixed seat (4) to pass through are formed in two sides of the protective cover (10), and a sliding groove (21) is formed in the bottom end of the protective cover (10); the protective cover (10) is made of transparent materials.
6. The cylindrical grinding machine with a dust removing device according to claim 1, characterized in that: the drawing box (14) comprises two side plates, a front baffle, a rear baffle and a bottom plate, wherein a first filter screen is arranged on the bottom plate, and a handle is arranged on the front baffle.
7. The cylindrical grinding machine with a dust removing device according to claim 1, characterized in that: the connecting cylinder (16) is communicated with the groove, and a second filter screen is arranged in the connecting cylinder (16).
8. The cylindrical grinding machine with a dust removing device according to claim 1, characterized in that: and a third filter screen is arranged at the output end of the air outlet pipe (18).
CN202120120136.1U 2021-01-18 2021-01-18 A cylindrical grinder with dust removal device Expired - Fee Related CN214418340U (en)

Priority Applications (1)

Application Number Priority Date Filing Date Title
CN202120120136.1U CN214418340U (en) 2021-01-18 2021-01-18 A cylindrical grinder with dust removal device

Applications Claiming Priority (1)

Application Number Priority Date Filing Date Title
CN202120120136.1U CN214418340U (en) 2021-01-18 2021-01-18 A cylindrical grinder with dust removal device

Publications (1)

Publication Number Publication Date
CN214418340U true CN214418340U (en) 2021-10-19

Family

ID=78056185

Family Applications (1)

Application Number Title Priority Date Filing Date
CN202120120136.1U Expired - Fee Related CN214418340U (en) 2021-01-18 2021-01-18 A cylindrical grinder with dust removal device

Country Status (1)

Country Link
CN (1) CN214418340U (en)

Similar Documents

Publication Publication Date Title
CN111872794A (en) A green battery shell grinding device
CN110153831A (en) A two-axis automatic deburring machine for workpiece processing
CN211890054U (en) Sweeps cleaning equipment for machining lathe
CN214418340U (en) A cylindrical grinder with dust removal device
CN219310165U (en) Milling device for ultra-precise machining
CN219485277U (en) Polishing device for vertical machining center
CN212145852U (en) Polishing machine with dust collection device for machining
CN111015491A (en) Electromechanical integrated numerical control polishing machine tool
CN216265416U (en) Conveniently cut outer protector that spatters and shelter from to abrasive machining powder
CN216829645U (en) Soft blade cutting equipment
CN211053460U (en) Grinding machine that polishes of waste material can be collected to electrical equipment circuit protective sheath
CN211136579U (en) Grinding device is used in production of cell-phone shell with dust fall function
CN210757201U (en) Gear shaft grinding device capable of collecting dust
CN210818807U (en) Numerical control spring grinding machine with good dust removal effect
CN219767800U (en) Rust removal polishing device capable of preventing rust powder from escaping
CN211465801U (en) Scrap collecting device of numerical control grinding machine
CN213858611U (en) Grinding machine with high-efficient dust removal function
CN209936692U (en) High-precision rack grinding machine
CN210588818U (en) Vertical grinder with dust removal function
CN214980126U (en) Automatic grinding and polishing machine
CN219275427U (en) Immersible pump shell grinding device
CN219402495U (en) A vertical lifting table milling machine for mechanical processing
CN220259664U (en) Dust collecting device for planer type milling center
CN211193383U (en) Grinding machine capable of preventing impurities from splashing
CN216657428U (en) Precision machining mechanism with protection function

Legal Events

Date Code Title Description
GR01 Patent grant
GR01 Patent grant
CF01 Termination of patent right due to non-payment of annual fee
CF01 Termination of patent right due to non-payment of annual fee

Granted publication date: 20211019