CN214405721U - Furniture table lamp of adjustable luminance of intelligence acoustic control - Google Patents

Furniture table lamp of adjustable luminance of intelligence acoustic control Download PDF

Info

Publication number
CN214405721U
CN214405721U CN202120637340.0U CN202120637340U CN214405721U CN 214405721 U CN214405721 U CN 214405721U CN 202120637340 U CN202120637340 U CN 202120637340U CN 214405721 U CN214405721 U CN 214405721U
Authority
CN
China
Prior art keywords
base
lamp
table lamp
furniture table
intelligent voice
Prior art date
Legal status (The legal status is an assumption and is not a legal conclusion. Google has not performed a legal analysis and makes no representation as to the accuracy of the status listed.)
Expired - Fee Related
Application number
CN202120637340.0U
Other languages
Chinese (zh)
Inventor
陶大圣
Current Assignee (The listed assignees may be inaccurate. Google has not performed a legal analysis and makes no representation or warranty as to the accuracy of the list.)
Anhui Shengan Iot Technology Co ltd
Original Assignee
Anhui Shengan Iot Technology Co ltd
Priority date (The priority date is an assumption and is not a legal conclusion. Google has not performed a legal analysis and makes no representation as to the accuracy of the date listed.)
Filing date
Publication date
Application filed by Anhui Shengan Iot Technology Co ltd filed Critical Anhui Shengan Iot Technology Co ltd
Priority to CN202120637340.0U priority Critical patent/CN214405721U/en
Application granted granted Critical
Publication of CN214405721U publication Critical patent/CN214405721U/en
Expired - Fee Related legal-status Critical Current
Anticipated expiration legal-status Critical

Links

Images

Landscapes

  • Arrangement Of Elements, Cooling, Sealing, Or The Like Of Lighting Devices (AREA)

Abstract

本实用新型公开了一种智能声控的可调节亮度的家具台灯,涉及台灯技术领域,针对现有的台灯需要手动调节亮度,还不散热的问题,现提出如下方案,包括底座,所述底座的内部套设有声控装置,所述底座的顶部连接有安装块,所述安装块的顶部连接有灯管,所述灯管的顶端连接有连接块,所述连接块的外部套设有LED灯,所述连接块的顶端连接有灯罩,所述灯罩的内部活动套设有多个滑块,所述滑块的底部连接有移动板,所述移动板的底部连接有多个马达,所述马达的输出端均连接有转轴,所述转轴的外部均连接有扇叶,本实用新型不仅便于声控调节亮度,而且还便于散热,并且散热装置还便于拆装,还操作简单,本装置实用性强,适合进行市场推广。

Figure 202120637340

The utility model discloses an intelligent voice-controlled furniture table lamp with adjustable brightness, which relates to the technical field of table lamps. Aiming at the problem that the brightness of the existing table lamp needs to be adjusted manually and does not dissipate heat, the following scheme is proposed, including a base, and the base of the base is A voice control device is sleeved inside, an installation block is connected to the top of the base, a lamp tube is connected to the top of the installation block, a connection block is connected to the top of the lamp tube, and an LED lamp is sleeved outside the connection block , a lampshade is connected to the top of the connecting block, a plurality of sliders are set in the inner movable sleeve of the lampshade, a moving plate is connected to the bottom of the slider, and a plurality of motors are connected to the bottom of the moving plate. The output end of the motor is connected with a rotating shaft, and the outside of the rotating shaft is connected with a fan blade. The utility model is not only convenient for voice control to adjust the brightness, but also convenient for heat dissipation, and the heat dissipation device is also easy to disassemble and assemble, and the operation is simple, and the device is practical Strong, suitable for marketing.

Figure 202120637340

Description

Furniture table lamp of adjustable luminance of intelligence acoustic control
Technical Field
The utility model relates to a desk lamp technical field especially relates to a furniture desk lamp of adjustable luminance of intelligence acoustic control.
Background
The desk lamp is an electric lamp with a base and is placed on a desk, so that the desk lamp is small, exquisite and convenient to carry. The desk lamp mainly has the function of illumination, and is convenient for reading, learning and working. With the continuous development of the appearance and the shape of the desk lamp, the desk lamp far surpasses the value of the desk lamp, and the desk lamp becomes an artwork. However, the brightness of the existing desk lamp needs to be adjusted manually, and heat is not dissipated, so that an intelligent voice-controlled brightness-adjustable furniture desk lamp is provided.
SUMMERY OF THE UTILITY MODEL
The utility model provides a pair of furniture desk lamp of adjustable luminance of intelligence acoustic control has solved current desk lamp and has needed manual regulation luminance, the radiating problem still does not.
In order to achieve the above purpose, the utility model adopts the following technical scheme:
the utility model provides a furniture desk lamp of adjustable luminance of intelligence acoustic control, includes the base, the inside cover of base is equipped with acoustic control device, the top of base is connected with the installation piece, the top of installation piece is connected with the fluorescent tube, the top of fluorescent tube is connected with the connecting block, the outside cover of connecting block is equipped with the LED lamp, the top of connecting block is connected with the lamp shade, the inside movable sleeve of lamp shade is equipped with a plurality of sliders, the bottom of slider is connected with the movable plate, the bottom of movable plate is connected with a plurality of motors, the output of motor all is connected with the pivot, the outside of pivot all is connected with the flabellum, the inside cover of base is equipped with the USB interface, the inside movable sleeve of USB interface is equipped with the USB and connects, the right side that the USB connects is connected with the charging wire, the left end of charging wire is connected with the plug.
Preferably, the top of the base is connected with a switch, and a storage chamber is arranged inside the base.
Preferably, the inner wall of the left side of the storage chamber is hinged with a cover plate, and a round hole is formed in the cover plate.
Preferably, the inner wall of the round hole is provided with anti-skidding lines, and the base is connected with a plurality of suckers.
Preferably, the number of the suckers is even, and the lampshade is arc-shaped.
Preferably, the number of the sliding blocks is even, and the sliding blocks are in T shapes.
Compared with the prior art, the beneficial effects of the utility model are that: the utility model discloses an installation lamp stand, the acoustic control device, the installation piece, the fluorescent tube, the connecting block, the LED lamp, the lamp shade, the movable plate, the slider, a motor, the apparatus further comprises a rotating shaft, thereby the LED lamp is connected to the lamp shade, the movable plate is connected to the slider, a motor, the apparatus further comprises a rotating shaft, thereby it drives the flabellum rotation to drive the motor, can carry out the physics cooling to the LED lamp, can avoid the LED lamp to generate heat because the illumination or the ambient temperature is high and lead to its damage, the sucking disc can play fixed effect to the device, the adjusting device's of being convenient for position, and the fluorescent tube can be according to in-service use and adjust the shape at will to it, people's use has been made things convenient for, acoustic control device receives sound, and give the LED lamp through the signal of telecommunication transmission, thereby make the LED lamp bright, this device practicality is strong, be fit for carrying out marketing.
Drawings
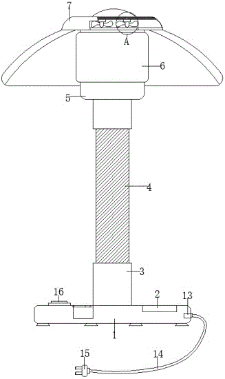
Fig. 1 is a schematic view of a front view structure of an intelligent voice-controlled brightness-adjustable furniture table lamp provided by the present invention;
fig. 2 is a partial enlarged view of a position a of the intelligent voice-controlled brightness-adjustable furniture table lamp provided by the utility model;
fig. 3 is a schematic view of a top view structure of a lamp holder of the intelligent voice-controlled brightness-adjustable furniture table lamp provided by the present invention;
fig. 4 is the utility model provides a three-dimensional structure schematic diagram of the switch of the furniture desk lamp of adjustable luminance of intelligence acoustic control.
In the figure: the voice control lamp comprises a lamp holder 1, a voice control device 2, an installation block 3, a lamp tube 4, a connection block 5, an LED lamp 6, a lamp shade 7, a moving plate 8, a sliding block 9, a motor 10, a rotating shaft 11, fan blades 12, a USB interface 13, a charging wire 14, a plug 15 and a switch 16.
Detailed Description
The technical solutions in the embodiments of the present invention will be described clearly and completely with reference to the accompanying drawings in the embodiments of the present invention, and it is obvious that the described embodiments are only some embodiments of the present invention, not all embodiments.
Referring to fig. 1-4, the present solution provides an embodiment: the utility model provides a furniture desk lamp of adjustable luminance of intelligence acoustic control, the on-line screen storage device comprises a base 1, the inside cover of base 1 is equipped with acoustic control device 2, base 1's top is connected with installation piece 3, the top of installation piece 3 is connected with fluorescent tube 4, the top of fluorescent tube 4 is connected with connecting block 5, the outside cover of connecting block 5 is equipped with LED lamp 6, the top of connecting block 5 is connected with lamp shade 7, the inside movable sleeve of lamp shade 7 is equipped with a plurality of sliders 9, the bottom of slider 9 is connected with movable plate 8, movable plate 8's bottom is connected with a plurality of motors 10, motor 10's output all is connected with pivot 11, pivot 11's outside all is connected with flabellum 12, base 1's inside cover is equipped with USB interface 13, the inside movable sleeve of USB interface 13 is equipped with the USB and connects, the right side that USB connects is connected with charging wire 14, charging wire 14's left end is connected with plug 15.
In this embodiment, the top of the base 1 is connected to a switch 16, and the interior of the base 1 is provided with a storage chamber.
In this embodiment, the left side inner wall of storeroom articulates there is the apron, and the round hole has been seted up to the inside of apron.
In this embodiment, the inner wall of round hole is equipped with anti-skidding line, and base 1 is connected with a plurality of sucking discs.
In this embodiment, the number of the suction cups is even, and the shape of the lamp shade 7 is an arc shape.
In this embodiment, the number of the sliders 9 is even, and the sliders 9 are T-shaped.
The working principle is that firstly, the sound control device 2 receives sound and transmits the sound to the LED lamp 6 through an electric signal, so that the LED lamp 6 is lighted, then the motor 10 drives the rotating shaft 11 to rotate, the rotating shaft 11 drives the fan blades 12 to rotate, thereby physically cooling the LED lamp 6, avoiding the LED lamp 6 from being damaged due to illumination heating or high external temperature, the device can be placed on any horizontal plane, the sucking disc connected with the bottom of the base 1 can fix the device, the position of the device can be conveniently adjusted, and the shape of the lamp tube 4 can be adjusted freely according to the actual use, thereby being convenient for people to use, moreover, the movable plate 8 can be used for rapidly dismounting and mounting the motor 10 by means of external force, so that the motor is convenient to replace, the manual switch 16 is arranged on the top surface of the base 1, the use is convenient, and the USB interface is connected inside the base 1, so that the charging use is convenient.
The above, only be the concrete implementation of the preferred embodiment of the present invention, but the protection scope of the present invention is not limited thereto, and any person skilled in the art is in the technical scope of the present invention, according to the technical solution of the present invention and the utility model, the concept of which is equivalent to replace or change, should be covered within the protection scope of the present invention.

Claims (6)

1.一种智能声控的可调节亮度的家具台灯,包括底座(1),其特征在于,所述底座(1)的内部套设有声控装置(2),所述底座(1)的顶部连接有安装块(3),所述安装块(3)的顶部连接有灯管(4),所述灯管(4)的顶端连接有连接块(5),所述连接块(5)的外部套设有LED灯(6),所述连接块(5)的顶端连接有灯罩(7),所述灯罩(7)的内部活动套设有多个滑块(9),所述滑块(9)的底部连接有移动板(8),所述移动板(8)的底部连接有多个马达(10),所述马达(10)的输出端均连接有转轴(11),所述转轴(11)的外部均连接有扇叶(12),所述底座(1)的内部套设有USB接口(13),所述USB接口(13)的内部活动套设有USB接头,所述USB接头的右侧连接有充电线(14),所述充电线(14)的左端连接有插头(15)。1. An intelligent voice-controlled furniture table lamp with adjustable brightness, comprising a base (1), characterized in that a voice control device (2) is sleeved inside the base (1), and a top of the base (1) is connected to There is an installation block (3), a lamp tube (4) is connected to the top of the installation block (3), a connection block (5) is connected to the top of the lamp tube (4), and the outside of the connection block (5) is An LED lamp (6) is sleeved, a lampshade (7) is connected to the top of the connecting block (5), and a plurality of sliding blocks (9) are movably sleeved inside the lampshade (7). 9) A moving plate (8) is connected to the bottom of the moving plate (8), and a plurality of motors (10) are connected to the bottom of the moving plate (8). Fan blades (12) are connected to the outside of (11), a USB interface (13) is sleeved inside the base (1), and a USB connector is sleeved inside the USB interface (13). A charging cable (14) is connected to the right side of the connector, and a plug (15) is connected to the left end of the charging cable (14). 2.根据权利要求1所述的一种智能声控的可调节亮度的家具台灯,其特征在于,所述底座(1)的顶部连接有开关(16),所述底座(1)的内部开设有储藏室。2 . The intelligent voice-controlled furniture table lamp with adjustable brightness according to claim 1 , wherein a switch ( 16 ) is connected to the top of the base ( 1 ), and a switch ( 16 ) is opened inside the base ( 1 ). 3 . storage room. 3.根据权利要求2所述的一种智能声控的可调节亮度的家具台灯,其特征在于,所述储藏室的左侧内壁铰接有盖板,所述盖板的内部开设有圆孔。3 . The intelligent voice-controlled furniture table lamp with adjustable brightness according to claim 2 , wherein a cover plate is hinged on the left inner wall of the storage room, and a circular hole is opened in the inside of the cover plate. 4 . 4.根据权利要求3所述的一种智能声控的可调节亮度的家具台灯,其特征在于,所述圆孔的内壁设有防滑纹,所述底座(1)的连接有多个吸盘。4 . The intelligent voice-controlled furniture table lamp with adjustable brightness according to claim 3 , wherein the inner wall of the circular hole is provided with anti-skid patterns, and the base ( 1 ) is connected with a plurality of suction cups. 5 . 5.根据权利要求4所述的一种智能声控的可调节亮度的家具台灯,其特征在于,所述吸盘的数量为偶数个,所述灯罩(7)的形状为弧形形状。5 . The intelligent voice-controlled furniture table lamp with adjustable brightness according to claim 4 , wherein the number of the suction cups is an even number, and the shape of the lampshade ( 7 ) is an arc shape. 6 . 6.根据权利要求1所述的一种智能声控的可调节亮度的家具台灯,其特征在于,所述滑块(9)的数量为偶数个,所述滑块(9)的形状为T形形状。6 . The intelligent voice-controlled furniture table lamp with adjustable brightness according to claim 1 , wherein the number of the sliders (9) is an even number, and the shape of the sliders (9) is T-shaped. 7 . shape.
CN202120637340.0U 2021-03-30 2021-03-30 Furniture table lamp of adjustable luminance of intelligence acoustic control Expired - Fee Related CN214405721U (en)

Priority Applications (1)

Application Number Priority Date Filing Date Title
CN202120637340.0U CN214405721U (en) 2021-03-30 2021-03-30 Furniture table lamp of adjustable luminance of intelligence acoustic control

Applications Claiming Priority (1)

Application Number Priority Date Filing Date Title
CN202120637340.0U CN214405721U (en) 2021-03-30 2021-03-30 Furniture table lamp of adjustable luminance of intelligence acoustic control

Publications (1)

Publication Number Publication Date
CN214405721U true CN214405721U (en) 2021-10-15

Family

ID=78030969

Family Applications (1)

Application Number Title Priority Date Filing Date
CN202120637340.0U Expired - Fee Related CN214405721U (en) 2021-03-30 2021-03-30 Furniture table lamp of adjustable luminance of intelligence acoustic control

Country Status (1)

Country Link
CN (1) CN214405721U (en)

Similar Documents

Publication Publication Date Title
CN214405721U (en) Furniture table lamp of adjustable luminance of intelligence acoustic control
WO2016015390A1 (en) Simulation electronic candle
CN211952489U (en) Embedded spotlight capable of being adjusted in large angle
CN206280825U (en) A lamp with projection function
CN211738741U (en) A household LED lighting
CN210889407U (en) Floor fan is sat in upset
CN211176554U (en) A multifunctional LED wall light
CN217873360U (en) A new type of multifunctional electric fan
CN207907123U (en) A kind of LED Adjustable head lamps launched with dry ice
CN216278592U (en) Intelligent remote control fan
CN212565417U (en) Novel LED lamp with adjustable shine angle
CN207831065U (en) A kind of adjustable magnetic suspension reading lamp of direction of illumination
CN216521121U (en) Hidden LED windowsill lamp
CN216643996U (en) A hanging lamp
CN215486738U (en) Food cooling fan with arbitrary angle rotation function
CN221349064U (en) Atmosphere lamp
CN210069764U (en) LED lampshade convenient to replace
CN215808236U (en) Combined energy-saving LED floodlight
CN220489071U (en) Outdoor camping lighting lamp
CN215372148U (en) Indoor lamp with music playing function
CN212028131U (en) A desk fan with a steady head
CN221444096U (en) LED panel light convenient to installation
CN221724236U (en) A height-adjustable LED floor lamp
CN219594188U (en) Display device
CN210771766U (en) A flip-up LED lighting

Legal Events

Date Code Title Description
GR01 Patent grant
GR01 Patent grant
CF01 Termination of patent right due to non-payment of annual fee

Granted publication date: 20211015

CF01 Termination of patent right due to non-payment of annual fee