CN214306106U - A computer math used as a graph stand - Google Patents

A computer math used as a graph stand Download PDF

Info

Publication number
CN214306106U
CN214306106U CN202120133876.9U CN202120133876U CN214306106U CN 214306106 U CN214306106 U CN 214306106U CN 202120133876 U CN202120133876 U CN 202120133876U CN 214306106 U CN214306106 U CN 214306106U
Authority
CN
China
Prior art keywords
column
sliding sleeve
fixedly connected
mounting plate
computer
Prior art date
Legal status (The legal status is an assumption and is not a legal conclusion. Google has not performed a legal analysis and makes no representation as to the accuracy of the status listed.)
Expired - Fee Related
Application number
CN202120133876.9U
Other languages
Chinese (zh)
Inventor
李海洋
孙叶平
Current Assignee (The listed assignees may be inaccurate. Google has not performed a legal analysis and makes no representation or warranty as to the accuracy of the list.)
Henan Polytechnic Institute
Original Assignee
Henan Polytechnic Institute
Priority date (The priority date is an assumption and is not a legal conclusion. Google has not performed a legal analysis and makes no representation as to the accuracy of the date listed.)
Filing date
Publication date
Application filed by Henan Polytechnic Institute filed Critical Henan Polytechnic Institute
Priority to CN202120133876.9U priority Critical patent/CN214306106U/en
Application granted granted Critical
Publication of CN214306106U publication Critical patent/CN214306106U/en
Expired - Fee Related legal-status Critical Current
Anticipated expiration legal-status Critical

Links

Images

Landscapes

  • Tables And Desks Characterized By Structural Shape (AREA)

Abstract

本实用新型公开了一种计算机数学用作图支架,包括底座、调节机构、旋转机构以及限位机构,所述调节机构安装在所述底座的顶部,所述旋转机构安装在所述调节机构的顶部,所述限位机构安装在所述调节机构侧面的顶部且对应所述旋转机构的位置,所述调节机构包括立柱、第一滑套、支柱、第二滑套以及蝶形螺栓,所述第一滑套滑动连接在所述立柱的表面,所述支柱固定连接在所述第一滑套的侧面。本实用新型通过底座、调节机构、旋转机构以及限位机构之间的相互配合,实现了一种计算机数学用作图支架,不仅方便对本装置的高度进行调节,从而能够适用于不同身高的教师,实用性更强,而且可以对学生进行多方位展示,从而为教师提供了极大的便利。

Figure 202120133876

The utility model discloses a computer mathematical diagram bracket, which comprises a base, an adjustment mechanism, a rotation mechanism and a limit mechanism. The adjustment mechanism is installed on the top of the base, and the rotation mechanism is installed at the bottom of the adjustment mechanism. The top, the limit mechanism is installed on the top of the side of the adjustment mechanism and corresponds to the position of the rotation mechanism, the adjustment mechanism includes a column, a first sliding sleeve, a column, a second sliding sleeve and a butterfly bolt. The first sliding sleeve is slidably connected to the surface of the upright column, and the supporting column is fixedly connected to the side surface of the first sliding sleeve. Through the mutual cooperation among the base, the adjusting mechanism, the rotating mechanism and the limiting mechanism, the utility model realizes a computer mathematics used as a graph bracket, which not only facilitates the adjustment of the height of the device, but also is suitable for teachers of different heights. It is more practical and can display students in multiple directions, thus providing great convenience for teachers.

Figure 202120133876

Description

Computer mathematics is used as picture support
Technical Field
The utility model relates to a computer mathematics apparatus technical field specifically is a computer mathematics is used as picture support.
Background
The computer and mathematics are closely related, the computer has many branches, the program design, the network technology, the information technology, the hardware technology, the database design, the information safety and the like, basically, all the above needs to have certain mathematics success base, the requirements of the program design, the network technology and the database on the mathematics success base are higher, the drawing support is a common learning tool in the field of computer mathematics, but the common drawing support is inconvenient to adjust the height, so that the drawing support can not be suitable for teachers with different heights, and the common drawing support is inconvenient to rotate, so that the whole support needs to be moved to rotate when a student is displayed, or the student is shifted to watch, and therefore the practicability is poor.
SUMMERY OF THE UTILITY MODEL
In order to solve the problem, the utility model provides a computer mathematics is used as the picture support.
In order to achieve the above object, the utility model provides a following technical scheme: a computer mathematics is used as the picture support, including base, regulating mechanism, rotary mechanism and stop gear, the said regulating mechanism is installed on the top of the said base, the said rotary mechanism is installed on the top of the said regulating mechanism, the said stop gear is installed on the top of the side of the said regulating mechanism and corresponds to the position of the said rotary mechanism;
the adjusting mechanism comprises an upright post, a first sliding sleeve, a support post, a second sliding sleeve and a butterfly bolt, the first sliding sleeve is connected to the surface of the upright post in a sliding mode, the support post is fixedly connected to the side face of the first sliding sleeve, the second sliding sleeve is sleeved on the surface of the support post and is fixedly connected with the top of the side face of the upright post, the butterfly bolt is in threaded connection with the side face of the first sliding sleeve, and the first sliding sleeve is provided with internal threads meshed with the first sliding sleeve corresponding to the butterfly bolt;
the rotary mechanism comprises a rotary column, a bearing, a mounting disc, a mounting plate and a drawing plate, the bearing is mounted at the bottom of the rotary column, the mounting disc is fixedly connected above the rotary column, clamping grooves which are arranged at equal intervals are formed in the edge of the bottom of the mounting disc, the mounting plate is fixedly connected above the mounting disc, and the drawing plate is mounted above the mounting plate;
stop gear includes frame, kelly, stopper, connecting spring and handle, the kelly sets up the bottom of frame, just the top activity of kelly runs through the frame sets up, stopper fixed connection is located inside the frame on the kelly, the connecting spring cover is established the surface of kelly, handle fixed connection is in the bottom of kelly.
Preferably, the upright post is fixedly connected to the center of the top of the base.
Preferably, the bottom of the rotating column is rotatably connected to the top of the support column through the bearing.
Preferably, the drawing board is fixedly mounted on the top of the mounting plate by screws.
Preferably, the frame is fixedly mounted to the side of the post.
Preferably, the top of the connecting spring is fixedly connected with the limiting block, and the bottom of the connecting spring is fixedly connected with the bottom of the inner wall of the frame.
Compared with the prior art, the beneficial effects of the utility model are as follows:
the utility model discloses a mutually supporting between base, adjustment mechanism, rotary mechanism and the stop gear has realized that a computer mathematics is as the picture support, not only conveniently adjusts the height of this device to can be applicable to the teacher of different heights, the practicality is stronger, can carry out diversified show to the student moreover, thereby provides very big facility for the teacher.
Drawings
FIG. 1 is a schematic structural diagram of a computer mathematics diagram support of the present invention;
fig. 2 is a schematic diagram of another view angle of the computer mathematics for the image support of the present invention;
fig. 3 is a second schematic structural view of the computer mathematics of the present invention used as another view angle of the figure support;
fig. 4 is a schematic structural diagram of an adjusting mechanism in a computer mathematics diagram support of the present invention;
fig. 5 is a schematic structural diagram of a rotating mechanism in a computer mathematics diagram support of the present invention;
fig. 6 is the structure diagram of the limiting mechanism in the computer mathematics application diagram support of the utility model.
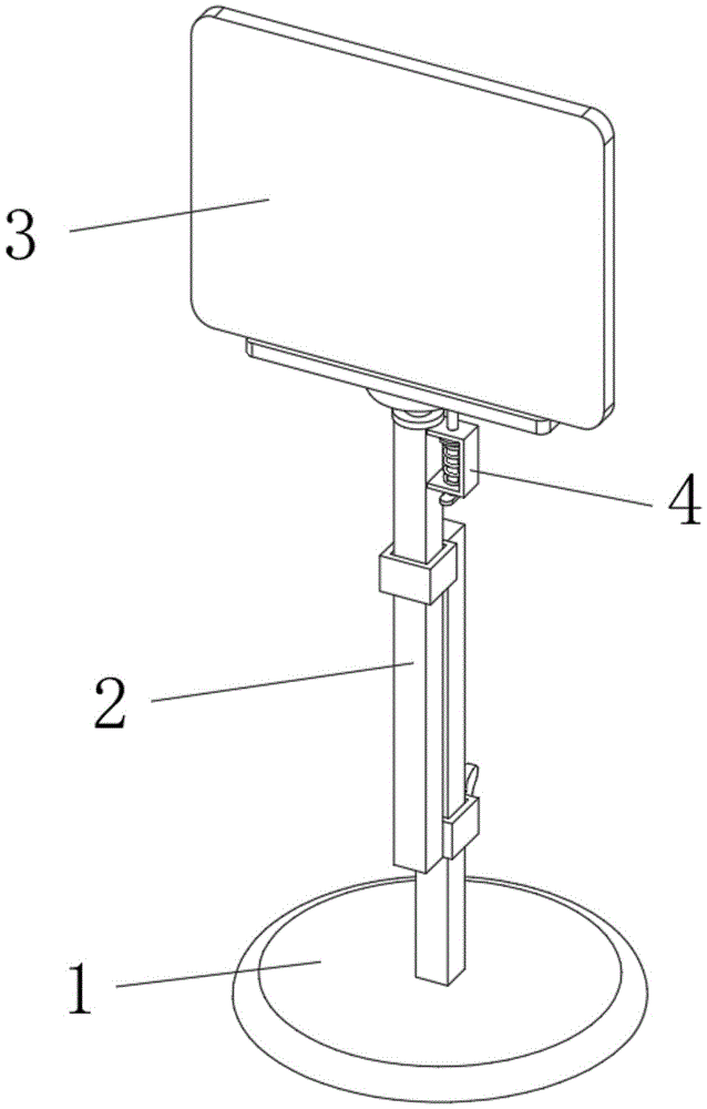
In the figure: the device comprises a base 1, an adjusting mechanism 2, a rotating mechanism 3, a limiting mechanism 4, a column 201, a first sliding sleeve 202, a strut 203, a second sliding sleeve 204, a butterfly bolt 205, a rotating column 301, a bearing 302, a mounting disc 303, a mounting plate 304, a drawing board 305, a frame 401, a clamping rod 402, a limiting block 403, a connecting spring 404 and a handle 405.
Detailed Description
The technical solutions in the embodiments of the present invention will be described clearly and completely with reference to the accompanying drawings in the embodiments of the present invention, and it is obvious that the described embodiments are only some embodiments of the present invention, not all embodiments. Based on the embodiments in the present invention, all other embodiments obtained by a person skilled in the art without creative work belong to the protection scope of the present invention.
Referring to fig. 1-6, a computer mathematics diagram support comprises a base 1, an adjusting mechanism 2, a rotating mechanism 3 and a limiting mechanism 4, wherein the adjusting mechanism 2 is installed on the top of the base 1, the rotating mechanism 3 is installed on the top of the adjusting mechanism 2, and the limiting mechanism 4 is installed on the top of the side surface of the adjusting mechanism 2 and corresponds to the position of the rotating mechanism 3.
Referring to fig. 1-6, the adjusting mechanism 2 includes an upright 201, a first sliding sleeve 202, a pillar 203, a second sliding sleeve 204, and a butterfly bolt 205, wherein the upright 201 is fixedly connected to the center of the top of the base 1, the first sliding sleeve 202 is slidably connected to the surface of the upright 201, the pillar 203 is fixedly connected to the side of the first sliding sleeve 202, the second sliding sleeve 204 is sleeved on the surface of the pillar 203 and is fixedly connected to the top of the side of the upright 201, the butterfly bolt 205 is threadedly connected to the side of the first sliding sleeve 202, and the first sliding sleeve 202 is provided with internal threads engaged with the butterfly bolt 205 at a position corresponding to the position of the first sliding sleeve 202.
Referring to fig. 1-6, the rotating mechanism 3 includes a rotating column 301, a bearing 302, a mounting plate 303, a mounting plate 304 and a drawing board 305, the bearing 302 is installed at the bottom of the rotating column 301, the bottom of the rotating column 301 is rotatably connected to the top of the supporting column 203 through the bearing 302, the mounting plate 303 is fixedly connected to the top of the rotating column 301, the edge of the bottom of the mounting plate 303 is provided with slots arranged equidistantly, the mounting plate 304 is fixedly connected to the top of the mounting plate 303, the drawing board 305 is installed above the mounting plate 304, and the drawing board 305 is fixedly installed at the top of the mounting plate 304 through screws.
Referring to fig. 1-6, the position-limiting mechanism 4 includes a frame 401, a clamping rod 402, a position-limiting block 403, a connecting spring 404 and a handle 405, the frame 401 is fixedly mounted on the side of the pillar 203, the clamping rod 402 is disposed at the bottom of the frame 401, the top of the clamping rod 402 movably penetrates the frame 401, the position-limiting block 403 is fixedly connected to the clamping rod 402 inside the frame 401, the connecting spring 404 is sleeved on the surface of the clamping rod 402, the top of the connecting spring 404 is fixedly connected to the position-limiting block 403, the bottom of the connecting spring 404 is fixedly connected to the bottom of the inner wall of the frame 401, the handle 405 is fixedly connected to the bottom of the clamping rod 402, and through the mutual cooperation among the base 1, the adjusting mechanism 2, the rotating mechanism 3 and the position-limiting mechanism 4, the computer mathematics is used as a picture support, which is not only convenient for adjusting the height of the device, thereby being suitable for teachers with different heights, the practicality is stronger, can carry out diversified show to the student moreover to provide very big facility for the teacher.
During the use, when needs are adjusted the height of this device drawing board 305, need not hard up butterfly bolt 205, then draw pillar 203 from top to bottom, adjust to suitable height as required, screw up butterfly bolt 205 can, when needs are adjusted the show angle of drawing board 305, only need through handle 405 pulling kelly 402, make kelly 402 break away from the draw-in groove of mounting disc 303 below, then rotate the show angle of drawing board 305 as required, rotate the completion back, loosen handle 405, under the spring action of coupling spring 404, drive kelly 402 card through stopper 403 and go into rather than the corresponding draw-in groove in, thereby realize the fixed to the device.
In summary, the following steps: the computer mathematics is used as a graph support, and the problems mentioned in the background art are solved by arranging the base 1, the adjusting mechanism 2, the rotating mechanism 3 and the limiting mechanism 4.
Although embodiments of the present invention have been shown and described, it will be appreciated by those skilled in the art that changes, modifications, substitutions and alterations can be made in these embodiments without departing from the principles and spirit of the invention, the scope of which is defined in the appended claims and their equivalents.

Claims (6)

1.一种计算机数学用作图支架,包括底座(1)、调节机构(2)、旋转机构(3)以及限位机构(4),其特征在于:所述调节机构(2)安装在所述底座(1)的顶部,所述旋转机构(3)安装在所述调节机构(2)的顶部,所述限位机构(4)安装在所述调节机构(2)侧面的顶部且对应所述旋转机构(3)的位置;1. A kind of computer mathematics is used as a graph bracket, comprising a base (1), an adjustment mechanism (2), a rotation mechanism (3) and a limit mechanism (4), characterized in that: the adjustment mechanism (2) is installed in the The top of the base (1), the rotation mechanism (3) is installed on the top of the adjustment mechanism (2), and the limit mechanism (4) is installed on the top of the side of the adjustment mechanism (2) and corresponds to the the position of the rotating mechanism (3); 所述调节机构(2)包括立柱(201)、第一滑套(202)、支柱(203)、第二滑套(204)以及蝶形螺栓(205),所述第一滑套(202)滑动连接在所述立柱(201)的表面,所述支柱(203)固定连接在所述第一滑套(202)的侧面,所述第二滑套(204)套设在所述支柱(203)的表面,且与所述立柱(201)侧面的顶部固定连接,所述蝶形螺栓(205)螺纹连接在所述第一滑套(202)的侧面,且所述第一滑套(202)对应所述蝶形螺栓(205)的位置开设有与其相互啮合的内螺纹;The adjustment mechanism (2) includes a column (201), a first sliding sleeve (202), a support column (203), a second sliding sleeve (204) and a butterfly bolt (205). The first sliding sleeve (202) slidably connected to the surface of the upright column (201), the support column (203) is fixedly connected to the side surface of the first sliding sleeve (202), and the second sliding sleeve (204) is sleeved on the support column (203) ) surface, and is fixedly connected with the top of the side of the column (201), the butterfly bolt (205) is screwed on the side of the first sliding sleeve (202), and the first sliding sleeve (202) ) corresponding to the position of the butterfly bolt (205) is provided with an internal thread that engages with it; 所述旋转机构(3)包括旋转柱(301)、轴承(302)、安装盘(303)、安装板(304)以及绘图板(305),所述轴承(302)安装在所述旋转柱(301)的底部,所述安装盘(303)固定连接在所述旋转柱(301)的上方,且所述安装盘(303)底部的边缘处开设有等距离排列的卡槽,所述安装板(304)固定连接在所述安装盘(303)的上方,所述绘图板(305)安装在所述安装板(304)的上方;The rotating mechanism (3) includes a rotating column (301), a bearing (302), a mounting plate (303), a mounting plate (304) and a drawing board (305), and the bearing (302) is mounted on the rotating column (302). 301), the mounting plate (303) is fixedly connected above the rotating column (301), and the edge of the bottom of the mounting plate (303) is provided with equidistantly arranged card slots, the mounting plate (304) is fixedly connected above the mounting plate (303), and the drawing board (305) is mounted above the mounting plate (304); 所述限位机构(4)包括框架(401)、卡杆(402)、限位块(403)、连接弹簧(404)以及把手(405),所述卡杆(402)设置在所述框架(401)的底部,且所述卡杆(402)的顶部活动贯穿所述框架(401)设置,所述限位块(403)固定连接在位于所述框架(401)内部的所述卡杆(402)上,所述连接弹簧(404)套设在所述卡杆(402)的表面,所述把手(405)固定连接在所述卡杆(402)的底部。The limiting mechanism (4) comprises a frame (401), a clamping rod (402), a limiting block (403), a connecting spring (404) and a handle (405), and the clamping rod (402) is arranged on the frame (401), and the top of the clamping rod (402) is movably arranged through the frame (401), and the limiting block (403) is fixedly connected to the clamping rod inside the frame (401). On (402), the connecting spring (404) is sleeved on the surface of the clamping rod (402), and the handle (405) is fixedly connected to the bottom of the clamping rod (402). 2.根据权利要求1所述的一种计算机数学用作图支架,其特征在于:所述立柱(201)固定连接在所述底座(1)顶部的中心处。2 . The computer-mathematical graph stand according to claim 1 , wherein the upright column ( 201 ) is fixedly connected at the center of the top of the base ( 1 ). 3 . 3.根据权利要求2所述的一种计算机数学用作图支架,其特征在于:所述旋转柱(301)的底部通过所述轴承(302)转动连接在所述支柱(203)的顶部。3. A kind of computer mathematics as a graph stand according to claim 2, characterized in that: the bottom of the rotating column (301) is rotatably connected to the top of the column (203) through the bearing (302). 4.根据权利要求3所述的一种计算机数学用作图支架,其特征在于:所述绘图板(305)通过螺钉固定安装在所述安装板(304)的顶部。4 . The computer-mathematics diagram support according to claim 3 , wherein the drawing board ( 305 ) is fixedly mounted on the top of the mounting board ( 304 ) by means of screws. 5 . 5.根据权利要求4所述的一种计算机数学用作图支架,其特征在于:所述框架(401)固定安装在所述支柱(203)的侧面。5 . The computer-mathematical graph support according to claim 4 , wherein the frame ( 401 ) is fixedly installed on the side surface of the support column ( 203 ). 6 . 6.根据权利要求5所述的一种计算机数学用作图支架,其特征在于:所述连接弹簧(404)的顶部与所述限位块(403)固定连接,所述连接弹簧(404)的底部与所述框架(401)内壁的底部固定连接。6. A kind of computer mathematics as a graph bracket according to claim 5, characterized in that: the top of the connection spring (404) is fixedly connected with the limit block (403), and the connection spring (404) The bottom of the frame (401) is fixedly connected with the bottom of the inner wall of the frame (401).
CN202120133876.9U 2021-01-19 2021-01-19 A computer math used as a graph stand Expired - Fee Related CN214306106U (en)

Priority Applications (1)

Application Number Priority Date Filing Date Title
CN202120133876.9U CN214306106U (en) 2021-01-19 2021-01-19 A computer math used as a graph stand

Applications Claiming Priority (1)

Application Number Priority Date Filing Date Title
CN202120133876.9U CN214306106U (en) 2021-01-19 2021-01-19 A computer math used as a graph stand

Publications (1)

Publication Number Publication Date
CN214306106U true CN214306106U (en) 2021-09-28

Family

ID=77827881

Family Applications (1)

Application Number Title Priority Date Filing Date
CN202120133876.9U Expired - Fee Related CN214306106U (en) 2021-01-19 2021-01-19 A computer math used as a graph stand

Country Status (1)

Country Link
CN (1) CN214306106U (en)

Cited By (1)

* Cited by examiner, † Cited by third party
Publication number Priority date Publication date Assignee Title
CN113824824A (en) * 2021-10-27 2021-12-21 惠州市米乐科技有限公司 Live Frames

Cited By (1)

* Cited by examiner, † Cited by third party
Publication number Priority date Publication date Assignee Title
CN113824824A (en) * 2021-10-27 2021-12-21 惠州市米乐科技有限公司 Live Frames

Similar Documents

Publication Publication Date Title
CN214306106U (en) A computer math used as a graph stand
CN211653936U (en) English teaching device based on internet
CN210890726U (en) Teaching display screen that can write
CN209591145U (en) A demonstration device for practical training and teaching based on computer application
CN209993123U (en) Information technology teaching equipment
CN207084559U (en) Environment art design teaching demonstration device
CN211294179U (en) Geometry projection device for mathematical education
CN210896158U (en) A display stand for physics teaching
CN210955529U (en) Computer-aided teaching stand
CN209842983U (en) Portable korean teaching aid
CN115273615A (en) Data simulation presentation device for teaching
CN216602021U (en) A smart podium for multimedia classrooms
CN207458460U (en) A kind of human resource information showing stand
CN222026731U (en) Computer display screen firm strutting arrangement
CN222503260U (en) Multi-screen display device for developing computer software
CN222749090U (en) A multifunctional 3D geometric demonstration model
CN212203772U (en) A rotatable stand for high-end smart conference tablet
CN215636133U (en) A display structure of an infrared intelligent conference panel and an infrared intelligent conference panel
CN218001009U (en) Touch machine with adjustable
CN222392515U (en) An easily rotatable computer display
CN214897234U (en) Adjustable sand table frame for science and technology training
CN220917047U (en) Artwork hanger with adjustable length
CN221548253U (en) Adjustable display
CN112967574A (en) English teaching is with high interesting learning device convenient to maintain
CN216166290U (en) Gynaecology and obstetrics's delivery teaching platform

Legal Events

Date Code Title Description
GR01 Patent grant
GR01 Patent grant
CF01 Termination of patent right due to non-payment of annual fee
CF01 Termination of patent right due to non-payment of annual fee

Granted publication date: 20210928