CN214301375U - Geological disaster electronic warning sign - Google Patents

Geological disaster electronic warning sign Download PDF

Info

Publication number
CN214301375U
CN214301375U CN202022843767.4U CN202022843767U CN214301375U CN 214301375 U CN214301375 U CN 214301375U CN 202022843767 U CN202022843767 U CN 202022843767U CN 214301375 U CN214301375 U CN 214301375U
Authority
CN
China
Prior art keywords
fixedly connected
top end
electronic warning
geological disaster
warning sign
Prior art date
Legal status (The legal status is an assumption and is not a legal conclusion. Google has not performed a legal analysis and makes no representation as to the accuracy of the status listed.)
Expired - Fee Related
Application number
CN202022843767.4U
Other languages
Chinese (zh)
Inventor
翟星
李辉
李琛曦
谷明旭
钱龙
顾福计
樊玉敬
赵建青
王昕洲
郑军
Current Assignee (The listed assignees may be inaccurate. Google has not performed a legal analysis and makes no representation or warranty as to the accuracy of the list.)
Hebei Geological Environment Monitoring Institute
Original Assignee
Hebei Geological Environment Monitoring Institute
Priority date (The priority date is an assumption and is not a legal conclusion. Google has not performed a legal analysis and makes no representation as to the accuracy of the date listed.)
Filing date
Publication date
Application filed by Hebei Geological Environment Monitoring Institute filed Critical Hebei Geological Environment Monitoring Institute
Priority to CN202022843767.4U priority Critical patent/CN214301375U/en
Application granted granted Critical
Publication of CN214301375U publication Critical patent/CN214301375U/en
Expired - Fee Related legal-status Critical Current
Anticipated expiration legal-status Critical

Links

Images

Landscapes

  • Road Signs Or Road Markings (AREA)
  • Illuminated Signs And Luminous Advertising (AREA)

Abstract

本实用新型公开了地质灾害电子警示牌,包括底座,底座的上表面固定连接有液压杆,所述液压杆顶端固定连接有电机,所述电机的输出端通过联轴器固定连接有转动板,所述转动板的顶端固定连接有显示板,所述显示板的顶端固定连接第一支撑杆。本实用新型通过设置有太阳能板和蓄电池,可以很好地在太阳光充分时将太阳能转换成电能,从而可以很好地节约能源,并通过设置有标识板和警示灯,可以在光线不充分时,通过警示灯有效的增加亮度,从而可以有效的提醒过往的行人,继而可以增加警示效果,通过把地质灾害警示、避险逃跑引导等内容印刷在带有警示灯的标识板上,更易引起人们的注意,尤其是降雨时,更易引起人们对地质灾害的注意,从而方便了使用。

Figure 202022843767

The utility model discloses an electronic warning sign for geological disasters, which comprises a base, a hydraulic rod is fixedly connected to the upper surface of the base, a motor is fixedly connected to the top of the hydraulic rod, and a rotating plate is fixedly connected to the output end of the motor through a coupling. The top end of the rotating plate is fixedly connected with the display plate, and the top end of the display plate is fixedly connected with the first support rod. The utility model is provided with a solar panel and a storage battery, so that the solar energy can be converted into electric energy when the sunlight is sufficient, thereby saving energy. , Through the warning light to effectively increase the brightness, it can effectively remind the passing pedestrians, and then can increase the warning effect. Especially when it rains, it is easier to draw people's attention to geological disasters, so it is convenient to use.

Figure 202022843767

Description

Electronic warning board for geological disasters
Technical Field
The utility model relates to a warning sign technical field especially relates to geological disasters electronic warning sign.
Background
The geological disaster refers to a geological effect or a geological phenomenon which is formed under the action of natural or human factors and causes damage to human life and property and damage to the environment, and the distribution change rule of the geological disaster on time and space is not only limited by the natural environment, but also related to human activities and is often the result of interaction between human beings and the natural world.
However, in the prior art, the geological disaster warning board is generally made of iron or cement and is not striking, so that the warning effect on the passing personnel is poor, and in night and rainy days, the warning information on the warning board is not easy to be looked up by the personnel due to low light brightness, so that the geological disaster warning board is not beneficial to the use of the personnel.
SUMMERY OF THE UTILITY MODEL
An object of the utility model is to provide a geological disasters electronic warning sign to solve the problem that proposes in the above-mentioned background art.
In order to achieve the above purpose, the utility model adopts the following technical scheme:
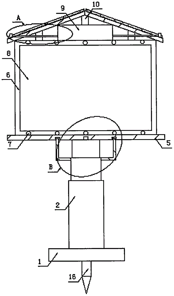
the electronic warning board for geological disasters comprises a base, wherein a hydraulic rod is fixedly connected to the upper surface of the base, a motor is fixedly connected to the top end of the hydraulic rod, an output end of the motor is fixedly connected with a rotating plate through a coupler, a display panel is fixedly connected to the top end of the rotating plate, a first supporting rod is fixedly connected to the top end of the display panel, supporting plates are fixedly connected to the left side and the right side of the top end of the first supporting rod respectively, a solar panel is fixedly lapped on the left side and the right side of each of the two supporting plates respectively, and fixing rods are fixedly connected to the left side and the right side of the bottom end of each solar panel respectively;
the bottom of two solar panel electric connection has electric power storage mechanism respectively, the front side fixedly connected with a plurality of warning lights of display panel, the front side center fixedly connected with sign board of display panel, the top outer wall fixedly connected with protection mechanism of hydraulic stem.
As a further improvement scheme of the technical scheme: the electric power storage mechanism comprises a circuit, one end of the circuit is electrically connected with the solar panel, the other end of the circuit is electrically connected with a storage battery, and the bottom end of the storage battery is connected with the display panel.
As a further improvement scheme of the technical scheme: protection mechanism includes the safety cover, the bottom of safety cover and the top fixed connection of hydraulic stem, the lower surface sliding connection of annular slider and rotor plate is passed through on the top of safety cover.
As a further improvement scheme of the technical scheme: the bottom ends of the two supporting plates are fixedly connected with second supporting rods respectively, and the bottom ends of the two second supporting rods are fixedly connected with the left side and the right side of the top end of the display panel respectively.
As a further improvement scheme of the technical scheme: the bottom fixedly connected with point awl of base, the outer wall of point awl scribbles waterproof material.
As a further improvement scheme of the technical scheme: the outer wall of sign board is provided with the reflector panel, the specific material of sign board is the alloy.
Compared with the prior art, the beneficial effects of the utility model are that:
1. the utility model discloses a be provided with solar panel and battery, can convert solar energy into the electric energy when the sunlight is sufficient well, thereby can the energy saving well, and through being provided with marking panel and warning light, can be when light is insufficient, through the effectual increase luminance of warning light, thereby can effectually remind the pedestrian of passing, can increase warning effect then, through printing geological disaster warning, avoid danger and flee for running away the guide etc. on the marking panel that is equipped with the warning light, change and arouse people's attention, especially during the rainfall, change and arouse people's attention to geological disaster, thereby made things convenient for the use;
2. the utility model discloses a be provided with motor and hydraulic stem, can be through the angle of the fine adjustment marking plate of motor, in addition through being provided with the hydraulic stem, can be through the height of the fine change marking plate of hydraulic stem to can make things convenient for personnel's use then according to the position of the fine change marking plate of actual demand.
Drawings
Figure 1 is the utility model provides a geological disasters electronic warning sign's schematic structure.
Fig. 2 is an enlarged schematic view of a portion a in fig. 1.
Fig. 3 is an enlarged schematic view of a portion B in fig. 1.
In the figure: 1. a base; 2. a hydraulic lever; 3. a motor; 4. a protective cover; 5. a rotating plate; 6. a display panel; 7. a warning light; 8. a marking plate; 9. a storage battery; 10. a first support bar; 11. a second support bar; 12. a support plate; 13. a solar panel; 14. fixing the rod; 15. a line; 16. a pointed cone.
Detailed Description
The technical solutions in the embodiments of the present invention will be described clearly and completely with reference to the accompanying drawings in the embodiments of the present invention, and it is obvious that the described embodiments are only some embodiments of the present invention, not all embodiments. Based on the embodiments in the present invention, all other embodiments obtained by a person skilled in the art without creative work belong to the protection scope of the present invention.
Please refer to fig. 1-3, in the embodiment of the present invention, an electronic warning board for geological disasters includes a base 1, a hydraulic rod 2 is fixedly connected to the upper surface of the base 1, a motor 3 is fixedly connected to the top end of the hydraulic rod 2, the output end of the motor 3 is fixedly connected to a rotating plate 5 through a coupling, a display panel 6 is fixedly connected to the top end of the rotating plate 5, a first supporting rod 10 is fixedly connected to the top end of the display panel 6, supporting plates 12 are fixedly connected to the left and right sides of the top end of the first supporting rod 10 respectively, solar panels 13 are fixedly lapped on the left and right sides of the two supporting plates 12 respectively, fixing rods 14 are fixedly connected to the left and right sides of the bottom end of the solar panels 13 respectively, and stability can be increased well through the fixing rods 14;
the bottom of two solar panel 13 is electric connection respectively has electric power storage mechanism, a plurality of warning lights 7 of front side fixedly connected with of display panel 6, and fixedly connected with sign board 8 is located at the front side center of display panel 6, and the top outer wall fixedly connected with protection mechanism of hydraulic stem 2 can play the suggestion effect to personnel through sign board 8 is fine.
It should be introduced that the electric power storage mechanism includes circuit 15, and one end and the solar panel 13 electric connection of circuit 15, the other end electric connection of circuit 15 have battery 9, and battery 9's bottom and display panel 6 can be through the fine battery 9 that supports of display panel 6.
It is worth mentioning that the protection mechanism comprises a protection cover 4, the bottom end of the protection cover 4 is fixedly connected with the top end of the hydraulic rod 2, the top end of the protection cover 4 is connected with the lower surface of the rotating plate 5 in a sliding mode through an annular sliding block, and the protection motor 3 can be well protected through the protection cover 4.
In addition, the bottom ends of the two supporting plates 12 are fixedly connected with the second supporting rods 11 respectively, the bottom ends of the two second supporting rods 11 are fixedly connected with the left side and the right side of the top end of the display panel 6 respectively, and the two second supporting rods 11 can be connected well through the display panel 6.
Referring to fig. 1, a pointed cone 16 is fixedly connected to the bottom end of the base 1, and the outer wall of the pointed cone 16 is coated with a waterproof material, so that the pointed cone 16 can be used for better stability.
Finally, the outer wall of the identification plate 8 is provided with a reflector, the specific material of the identification plate 8 is alloy, and the identification reminding can be performed through the identification plate 8.
The utility model discloses a theory of operation is:
during practical use, at first fix base 1 through pointed cone 16, hydraulic stem 2 begins work after that, thereby drive the position change of motor 3 and safety cover 4, motor 3 begins work after that, thereby drive rotor plate 5 and display panel 6 and rotate, first bracing piece 10 and second bracing piece 11 begin to fix solar panel 13 through backup pad 12 and dead lever 14 after that, when having sunshine, solar panel 13 passes through the electric energy that circuit 15 converted solar energy into to battery 9 in, begin to remind the warning to the personnel of passing through sign board 8 after that, when overcast and rainy weather and night, warning light 7 begins work, thereby increase luminance.
Although the present invention has been described in detail with reference to the foregoing embodiments, it will be apparent to those skilled in the art that modifications may be made to the embodiments or portions thereof without departing from the spirit and scope of the invention.

Claims (6)

1. The electronic warning board for geological disasters comprises a base (1) and is characterized in that a hydraulic rod (2) is fixedly connected to the upper surface of the base (1), a motor (3) is fixedly connected to the top end of the hydraulic rod (2), the output end of the motor (3) is fixedly connected with a rotating plate (5) through a coupler, a display plate (6) is fixedly connected to the top end of the rotating plate (5), a first supporting rod (10) is fixedly connected to the top end of the display plate (6), supporting plates (12) are fixedly connected to the left side and the right side of the top end of the first supporting rod (10) respectively, a solar panel (13) is fixedly lapped on the left side and the right side of each of the two supporting plates (12) respectively, and fixing rods (14) are fixedly connected to the left side and the right side of the bottom end of the solar panel (13) respectively;
the bottom of two solar panel (13) is electric connection respectively has electric power storage mechanism, a plurality of warning lights (7) of front side fixedly connected with of display panel (6), fixedly connected with sign board (8) are located at the front side center of display panel (6), the top outer wall fixedly connected with protection mechanism of hydraulic stem (2).
2. A geological disaster electronic warning sign according to claim 1, characterized in that said electric power storage mechanism comprises a circuit (15), one end of said circuit (15) is electrically connected with solar panel (13), another end of said circuit (15) is electrically connected with storage battery (9), and the bottom end of said storage battery (9) is connected with display panel (6).
3. A geological disaster electronic warning sign as claimed in claim 1, characterized in that said protection mechanism comprises a protection cover (4), the bottom end of said protection cover (4) is fixedly connected with the top end of the hydraulic rod (2), the top end of said protection cover (4) is slidably connected with the lower surface of the rotating plate (5) through a ring-shaped sliding block.
4. A geological disaster electronic warning sign as claimed in claim 1, characterized in that the bottom ends of two said supporting plates (12) are fixedly connected with a second supporting rod (11) respectively, and the bottom ends of two said second supporting rods (11) are fixedly connected with the left and right sides of the top end of the display plate (6) respectively.
5. A geological disaster electronic warning sign as claimed in claim 1, characterized in that the base (1) has a pointed cone (16) fixedly connected to its bottom end, and the outer wall of said pointed cone (16) is coated with waterproof material.
6. A geological disaster electronic warning sign as claimed in claim 1, characterized in that the outer wall of said sign board (8) is provided with a reflective board, and the concrete material of said sign board (8) is alloy.
CN202022843767.4U 2020-12-02 2020-12-02 Geological disaster electronic warning sign Expired - Fee Related CN214301375U (en)

Priority Applications (1)

Application Number Priority Date Filing Date Title
CN202022843767.4U CN214301375U (en) 2020-12-02 2020-12-02 Geological disaster electronic warning sign

Applications Claiming Priority (1)

Application Number Priority Date Filing Date Title
CN202022843767.4U CN214301375U (en) 2020-12-02 2020-12-02 Geological disaster electronic warning sign

Publications (1)

Publication Number Publication Date
CN214301375U true CN214301375U (en) 2021-09-28

Family

ID=77845446

Family Applications (1)

Application Number Title Priority Date Filing Date
CN202022843767.4U Expired - Fee Related CN214301375U (en) 2020-12-02 2020-12-02 Geological disaster electronic warning sign

Country Status (1)

Country Link
CN (1) CN214301375U (en)

Similar Documents

Publication Publication Date Title
CN206070414U (en) A kind of simple town road warning sign
CN205443934U (en) Multi -functional energy -conserving illumination bridge railing
CN214301375U (en) Geological disaster electronic warning sign
CN207334561U (en) A kind of street lamp for being conveniently adjusted light
CN206338756U (en) It is a kind of based on the solar street light being wirelessly transferred
CN210467138U (en) An energy-saving project management warning system
CN218521661U (en) Warning lamp for municipal road construction
CN207775760U (en) A kind of highway of wind-power electricity generation is light emitting directory board used
CN206489850U (en) A kind of movable warning sign suspension arrangement of bridge
CN205862752U (en) A kind of SCM Based Intelligent luminous sign board
CN204302975U (en) A kind of traffic natural calamity evaluates tape deck
CN205172073U (en) Garage parking curtain room
CN205875797U (en) Novel intelligence bus shelter
CN206058810U (en) A kind of solar energy town road warning sign
CN205899985U (en) A multifunctional solar electronic information board
CN204418049U (en) Solar energy path LED direction board
CN204066409U (en) A kind of intelligent traffic lamp of removable multi-functional
CN213740677U (en) Warning sign is used in municipal construction convenient to accomodate
CN201081135Y (en) Solar flashing guardrail
CN206741849U (en) Construction warning sign
CN106764821A (en) A kind of economic and environment-friendly LED street lamp
CN220604273U (en) Guide board for outdoor travel
CN204229754U (en) Outdoor construction is anti-is strayed into device
CN204252035U (en) A kind of Multifunction road bridge construction warning sign
CN206245237U (en) A kind of animation display board of energy-conserving and environment-protective

Legal Events

Date Code Title Description
GR01 Patent grant
GR01 Patent grant
CF01 Termination of patent right due to non-payment of annual fee

Granted publication date: 20210928

CF01 Termination of patent right due to non-payment of annual fee