CN214188200U - High-impact-resistance anti-deformation food-grade plastic product injection mold - Google Patents

High-impact-resistance anti-deformation food-grade plastic product injection mold Download PDF

Info

Publication number
CN214188200U
CN214188200U CN202022896111.9U CN202022896111U CN214188200U CN 214188200 U CN214188200 U CN 214188200U CN 202022896111 U CN202022896111 U CN 202022896111U CN 214188200 U CN214188200 U CN 214188200U
Authority
CN
China
Prior art keywords
mold
movable
fixed
cavity
sliders
Prior art date
Legal status (The legal status is an assumption and is not a legal conclusion. Google has not performed a legal analysis and makes no representation as to the accuracy of the status listed.)
Active
Application number
CN202022896111.9U
Other languages
Chinese (zh)
Inventor
陈贤礼
陈贤鹏
杨清
张宁利
王永义
张银标
Current Assignee (The listed assignees may be inaccurate. Google has not performed a legal analysis and makes no representation or warranty as to the accuracy of the list.)
Zhejiang Shuoxiang Technology Co ltd
Original Assignee
Taizhou Shuoxiang Technology Co ltd
Priority date (The priority date is an assumption and is not a legal conclusion. Google has not performed a legal analysis and makes no representation as to the accuracy of the date listed.)
Filing date
Publication date
Application filed by Taizhou Shuoxiang Technology Co ltd filed Critical Taizhou Shuoxiang Technology Co ltd
Priority to CN202022896111.9U priority Critical patent/CN214188200U/en
Application granted granted Critical
Publication of CN214188200U publication Critical patent/CN214188200U/en
Active legal-status Critical Current
Anticipated expiration legal-status Critical

Links

Images

Landscapes

  • Moulds For Moulding Plastics Or The Like (AREA)

Abstract

本实用新型提供了一种高抗冲防变形食品级塑料制品注塑模具,属于注塑模领域。它包括动模板和定模板,所述的动模板上滑动连接有若干个动模滑块,若干个动模滑块能依次头尾相连并形成第一型腔,所述的定模板上滑动连接有若干个定模滑块,若干个定模滑块能依次头尾相连并形成第二型腔,在合模时,所述的第一型腔和第二型腔连接形成成型腔。其优点在于若干个定模滑块相互远离并使定模滑块与塑件脱离连接,动模板远离定模板,从而使塑件随着动模板移动,接着若干个动模滑块相互远离从而使塑件脱落,达成快速脱模的作用,且不需要顶杆。

Figure 202022896111

The utility model provides an injection mold for food-grade plastic products with high impact resistance and deformation resistance, which belongs to the field of injection molds. It includes a movable platen and a fixed platen. The movable platen is slidably connected with a plurality of movable mold sliders, and the plurality of movable mold sliders can be connected end to end in sequence to form a first cavity, and the fixed platen is slidably connected. There are several fixed mold sliders, and several fixed mold sliders can be connected end to end in sequence to form a second cavity. When the mold is closed, the first cavity and the second cavity are connected to form a molding cavity. The advantage is that several fixed mold sliders are separated from each other and the fixed mold sliders are disconnected from the plastic parts, and the movable mold plate is far away from the fixed mold plate, so that the plastic parts move with the movable mold plate, and then several movable mold sliders are separated from each other so that the The plastic parts fall off to achieve the effect of rapid demoulding, and no ejector is required.

Figure 202022896111

Description

High-impact-resistance anti-deformation food-grade plastic product injection mold
Technical Field
The utility model belongs to the injection mould field especially relates to a high anti-impact shape food level plastic products injection mold that preapres for an unfavorable turn of events.
Background
In the demoulding process of the traditional mould, the demoulding of the plastic part is usually finished by ejecting the plastic part by the ejector rod, on one hand, if the ejecting force of the ejector rod is larger, the plastic part is easy to deform or break to cause the unqualified plastic part or the contact area of the plastic part and the movable mould plate is larger, and if the ejecting force is unevenly distributed, the plastic part is easy to bend to cause the unqualified plastic part; on the other hand, with the variety of shapes of plastic parts, the ejection mode through the ejector rod is not suitable for manufacturing the plastic parts with complicated or irregular shapes.
For example, chinese patent document discloses a straight ejector rod and inclined ejector rod combined demolding mechanism of an injection mold [ patent application No.: CN201820738659.0], which comprises a straight ejector rod and an oblique ejector rod, wherein the straight ejector rod is fixed on the ejector plate, the oblique ejector rod is installed on the straight ejector rod through a guide rail structure, the end surfaces of the straight ejector rod and the oblique ejector rod located on the same side are both contacted with the plastic part, and the oblique ejector rod is matched with the back-off structure of the plastic part. The injection mold demolding process is too complicated.
SUMMERY OF THE UTILITY MODEL
The utility model aims at the above-mentioned problem, a food level plastic products injection mold of shape is preapred for an unfavorable turn of events to high anti-impact.
In order to achieve the above purpose, the utility model adopts the following technical proposal:
the utility model provides a high anti-impact shape food level plastic products injection mold that preapres for an unfavorable turn of events, includes movable mould board and fixed die plate, movable mould board on sliding connection have a plurality of movable mould slider, a plurality of movable mould slider can end to end and form first die cavity in proper order, the fixed die plate on sliding connection have a plurality of cover half slider, a plurality of cover half slider can end to end and form the second die cavity in proper order, when the compound die, first die cavity and second die cavity connect and form the die cavity.
In foretell high anti-impact shape food level plastic products injection mold that preapres for an unfavorable turn of events, movable mould board on sliding connection have four movable mould sliders, four two bisymmetry settings of movable mould slider, fixed mould board on sliding connection have four cover half sliders, four two bisymmetry settings of cover half slider, each movable mould slider and cover half slider's both sides respectively have an inclined plane.
In the injection mold for the high-impact deformation-preventing food-grade plastic products, each movable mold slide block is at least in sliding connection with a movable mold slide rod fixedly arranged on the movable mold plate, when the mold is closed, the movable mold slide rod is arranged outside the first mold cavity, each fixed mold slide block is at least in sliding connection with a fixed mold slide rod fixedly arranged on the fixed mold plate, and when the mold is closed, the fixed mold slide rod is arranged outside the second mold cavity.
In the high-impact-resistance anti-deformation food-grade plastic product injection mold, when the mold is closed, the side wall of the first cavity is provided with a circle of first reinforcing grooves sunken in the four movable mold sliding blocks, and the side wall of the second cavity is provided with a circle of second reinforcing grooves sunken in the four fixed mold sliding blocks.
In the injection mold for the high-impact deformation-preventing food-grade plastic products, the first cooling pipe penetrates through each movable mold sliding block and each fixed mold sliding block.
In the injection mold for food-grade plastic products with high impact resistance and deformation resistance, each first cooling pipe is provided with a section of arc-shaped cooling pipe.
In the injection mold for the high-impact deformation-preventing food-grade plastic product, the fixed template and the movable template are provided with the plurality of second cooling pipes in a penetrating manner.
In the above-mentioned food level plastic products injection mold of preapring for an unfavorable turn of events of high impact, be equipped with the locating lever on each movable mould slider, be equipped with the constant head tank on each cover half slider, locating lever and constant head tank one-to-one and looks adaptation.
In the high-impact-resistance anti-deformation food-grade plastic product injection mold, each movable mold slide block and each fixed mold slide block are connected with an oil cylinder, and the plurality of oil cylinders are respectively arranged on the movable mold plate and the fixed mold plate.
In the above-mentioned food grade plastic products injection mold of preapring for an unfavorable turn of events of high impact, each movable mould slider sliding connection has two movable mould slide bars, and two movable mould slide bars set up respectively at the both ends of the movable mould slider that corresponds, and the output shaft of the hydro-cylinder that corresponds is located between two movable mould slide bars, and each cover half slider sliding connection has two cover half slide bars, and two cover half slide bars set up respectively at the both ends of the cover half slider that corresponds, and the output shaft of the hydro-cylinder that corresponds is located between two cover half slide bars.
Compared with the prior art, the utility model has the advantages of:
1. the utility model provides a sliding connection has a plurality of movable mould slider on the movable mould board, and a plurality of cover half slider can end to end and form the second die cavity in proper order. The fixed die slide blocks are far away from each other and are separated from the plastic part, the movable die plate is far away from the fixed die plate, so that the plastic part moves along with the movable die plate, then the movable die slide blocks are far away from each other, the plastic part falls off, the effect of quick demoulding is achieved, and an ejector rod is not needed.
2. The utility model provides an inclined plane extends to the other end from the one end of movable mould slider or cover half slider. The area of the inclined surface is large enough, so that the connection relation between the two adjacent movable mold sliding blocks or the fixed mold sliding block can be increased and stable enough, and the qualification rate of the plastic part is improved.
Drawings
Fig. 1 is a schematic view of the present invention as a whole;
FIG. 2 is a schematic structural view of a moving platen;
FIG. 3 is a schematic structural diagram of a fixed die plate;
fig. 4 is a schematic structural view of the first cooling pipe.
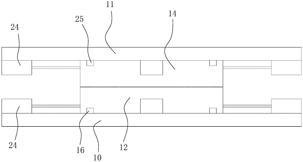
In the figure: the device comprises a movable mould plate 10, a fixed mould plate 11, a movable mould slide block 12, a first mould cavity 13, a fixed mould slide block 14, a second mould cavity 15, a movable mould slide rod 16, a first reinforcing groove 17, a second reinforcing groove 18, a first cooling pipe 19, an arc-shaped cooling pipe 20, a positioning rod 22, a positioning groove 23, an oil cylinder 24 and a fixed mould slide rod 25.
Detailed Description
The present invention will be described in further detail with reference to the accompanying drawings and specific embodiments.
Combine shown in fig. 1-4, a food level plastic products injection mold of preapring for an unfavorable turn of events of high impact, including movable mould board 10 and fixed die plate 11, movable mould board 10 on sliding connection have a plurality of movable mould slider 12, a plurality of movable mould slider 12 can end to end in proper order and form first die cavity 13, fixed die plate 11 on sliding connection have a plurality of cover half slider 14, a plurality of cover half slider 14 can end to end in proper order and form second die cavity 15, when the compound die, first die cavity 13 and second die cavity 15 connect and form the shaping chamber.
In the embodiment, in the process of die assembly, a plurality of movable die sliders 12 are close to each other and are connected end to form a first die cavity 13, a plurality of fixed die sliders 14 are close to each other and are connected end to form a second die cavity 15, then the movable die plate 10 is close to the fixed die plate 11 to enable the first die cavity 13 and the second die cavity 15 to be connected to form a forming cavity, injection molding liquid is subjected to injection molding in the forming cavity, after the forming and cooling are finished, the fixed die sliders 14 are mutually far away and enable the fixed die sliders 14 to be disconnected with a plastic part, the movable die plate 10 is far away from the fixed die plate 11, so that the plastic part moves along with the movable die plate 10, then the movable die sliders 12 are mutually far away to enable the plastic part to fall.
The movable mould plate 10 on sliding connection have four movable mould sliders 12, four movable mould sliders 12 bisymmetry sets up, fixed mould plate 11 on sliding connection have four cover half sliders 14, four cover half sliders 14 bisymmetry sets up, each movable mould slider 12 and cover half slider 14 both sides respectively have an inclined plane. In this embodiment, the area of the inclined surface is as large as possible, and the two adjacent movable mold sliders 12 and the two adjacent fixed mold sliders 14 are all connected in an abutting manner through the two inclined surfaces, and the area of the inclined surface is large enough to increase the connection relationship between the two adjacent movable mold sliders 12 or the fixed mold sliders 14 to be stable enough.
Each movable mold slide block 12 is at least connected with a movable mold slide bar 16 fixedly arranged on the movable mold plate 10 in a sliding mode, when the mold is closed, the movable mold slide bar 16 is arranged outside the first mold cavity 13, each fixed mold slide block 14 is at least connected with a fixed mold slide bar 25 fixedly arranged on the fixed mold plate 11 in a sliding mode, and when the mold is closed, the fixed mold slide bar 25 is arranged outside the second mold cavity 15.
In this embodiment, during mold clamping or mold release, the movable mold slide 12 slides on the corresponding movable mold slide 16, and the fixed mold slide 14 slides on the corresponding fixed mold slide 25, so that the moving directions of the movable mold slide 12 and the fixed mold slide 14 are limited, and the occurrence of a misalignment phenomenon during mold clamping is prevented.
When the die is closed, a circle of first reinforcing grooves 17 recessed in the four movable die slide blocks 12 are formed in the side wall of the first cavity 13, and a circle of second reinforcing grooves 18 recessed in the four fixed die slide blocks 14 are formed in the side wall of the second cavity 15.
In the embodiment, since the diameters of the first reinforcing groove 17 and the second reinforcing groove 18 are larger than the diameters of the first cavity 13 and the second cavity 15, the mold cannot be demolded in a conventional demolding manner, that is, a manner of ejecting a plastic part only by using the ejector rod. Therefore, during demolding, the plastic part is disconnected from the movable mold slide 12 and the fixed mold slide 14 through movement of the two slides.
A first cooling pipe 19 penetrates through each movable mold slide 12 and each fixed mold slide 14.
In this embodiment, the first cooling pipe 19 can accelerate cooling of the molded parts formed in the side walls of the first cavity 13 and the second cavity 15, and also accelerate cooling of the molded parts formed in the first reinforcement groove 17 and the second reinforcement groove 18.
Each of the first cooling pipes 19 has a curved cooling pipe 20 having a circular arc shape. In this embodiment, the shape of the arc-shaped cooling pipe 20 is adapted to the arc shapes of the molding cavity, the first reinforcement groove 17 and the second reinforcement groove 18, so as to further uniformly and rapidly cool the plastic parts molded on the side walls of the first cavity 13 and the second cavity 15, and the plastic parts molded in the first reinforcement groove 17 and the second reinforcement groove 18.
And a plurality of second cooling pipes are arranged on the fixed template 11 and the movable template 10 in a penetrating way.
In this embodiment, the second cooling pipe is used to accelerate cooling of the top and bottom portions of the plastic part.
Each movable mold slide block 12 is provided with a positioning rod 22, each fixed mold slide block 14 is provided with a positioning groove 23, and the positioning rods 22 correspond to the positioning grooves 23 one by one and are matched with the positioning grooves 23.
In this embodiment, during clamping, the positioning rods 22 extend into the corresponding positioning grooves 23, and the movable mold slide 12 and the corresponding fixed mold slide 14 are prevented from being displaced from each other.
Each movable mold slide block 12 and the fixed mold slide block 14 are connected with an oil cylinder 24, and a plurality of oil cylinders 24 are respectively arranged on the movable mold plate 10 and the fixed mold plate 11.
Each movable mold slide block 12 is connected with two movable mold slide bars 16 in a sliding manner, the two movable mold slide bars 16 are respectively arranged at two ends of the corresponding movable mold slide block 12, an output shaft of the corresponding oil cylinder 24 is positioned between the two movable mold slide bars 16, each fixed mold slide block 14 is connected with two fixed mold slide bars 25 in a sliding manner, the two fixed mold slide bars 25 are respectively arranged at two ends of the corresponding fixed mold slide block 14, and an output shaft of the corresponding oil cylinder 24 is positioned between the two fixed mold slide bars 25.
The utility model discloses a theory of operation does: when the die is closed, the plurality of oil cylinders 24 work to enable the four movable die slide blocks 12 to be close to each other and connected end to form a first die cavity 13, the plurality of fixed die slide blocks 14 are close to each other and connected end to form a second die cavity 15, then the movable die plate 10 is close to the fixed die plate 11 to enable the first die cavity 13 and the second die cavity 15 to be connected to form a forming cavity, and injection molding liquid is subjected to injection molding in the forming cavity. In the cooling process, the first cooling pipe 19 and the second cooling pipe accelerate the cooling speed of the plastic part, after the molding cooling is finished, the fixed mold sliders 14 are mutually far away and the fixed mold sliders 14 are separated from the plastic part, the movable mold plate 10 is far away from the fixed mold plate 11, so that the plastic part moves along with the movable mold plate 10, then the movable mold sliders 12 are mutually far away, the plastic part falls off, the effect of quick demolding is achieved, and an ejector rod is not needed.
The specific embodiments described herein are merely illustrative of the spirit of the invention. Various modifications, additions and substitutions for the specific embodiments described herein may be made by those skilled in the art without departing from the spirit of the invention or exceeding the scope of the invention as defined in the accompanying claims.
Although the movable die plate 10, the fixed die plate 11, the movable die slide 12, the first cavity 13, the fixed die slide 14, the second cavity 15, the movable die slide 16, the first reinforcement groove 17, the second reinforcement groove 18, the first cooling pipe 19, the arc-shaped cooling pipe 20, the positioning rod 22, the positioning groove 23, the oil cylinder 24, the fixed die slide 25, etc., are used more herein, these terms are used only for the purpose of more conveniently describing and explaining the essence of the present invention; they are to be construed in a manner that is inconsistent with the spirit of the invention.

Claims (10)

1.一种高抗冲防变形食品级塑料制品注塑模具,包括动模板(10)和定模板(11),其特征在于,所述的动模板(10)上滑动连接有若干个动模滑块(12),若干个动模滑块(12)能依次头尾相连并形成第一型腔(13),所述的定模板(11)上滑动连接有若干个定模滑块(14),若干个定模滑块(14)能依次头尾相连并形成第二型腔(15),在合模时,所述的第一型腔(13)和第二型腔(15)连接形成成型腔。1. A high-impact and anti-deformation food-grade plastic product injection mold, comprising a movable template (10) and a fixed template (11), wherein the movable template (10) is slidably connected with several movable mold slides. Block (12), a plurality of movable die sliders (12) can be connected end to end in sequence to form a first cavity (13), and a plurality of fixed die sliders (14) are slidably connected to the fixed die plate (11). , a plurality of fixed die sliders (14) can be connected end to end in turn to form a second cavity (15), when the mold is closed, the first cavity (13) and the second cavity (15) are connected to form Molding cavity. 2.根据权利要求1所述的高抗冲防变形食品级塑料制品注塑模具,其特征在于,所述的动模板(10)上滑动连接有四块动模滑块(12),四块动模滑块(12)两两对称设置,所述的定模板(11)上滑动连接有四块定模滑块(14),四块定模滑块(14)两两对称设置,每一动模滑块(12)和定模滑块(14)的两侧各具有一个斜面。2. The high-impact and anti-deformation food-grade plastic product injection mold according to claim 1, characterized in that, four movable mold sliders (12) are slidably connected to the movable template (10), and the four movable mold blocks are slidably connected to each other. The die sliders (12) are symmetrically arranged in pairs, and four fixed die sliders (14) are slidably connected to the fixed die plate (11). Both sides of the sliding block (12) and the fixed die sliding block (14) are respectively provided with an inclined surface. 3.根据权利要求2所述的高抗冲防变形食品级塑料制品注塑模具,其特征在于,每一动模滑块(12)至少滑动连接有一个固设在动模板(10)上的动模滑杆(16),在合模时,所述的动模滑杆(16)在第一型腔(13)外,每一定模滑块(14)至少滑动连接有一个固设在定模板(11)上的定模滑杆(25),在合模时,所述的定模滑杆(25)在第二型腔(15)外。3. The high-impact and anti-deformation food-grade plastic product injection mold according to claim 2, characterized in that each movable mold slider (12) is slidably connected with at least one movable mold fixed on the movable template (10). A sliding rod (16), when the mold is closed, the movable mold sliding rod (16) is outside the first cavity (13), and each fixed mold sliding block (14) is slidably connected with at least one fixed mold plate (14). 11) The fixed mold sliding rod (25), when the mold is closed, the fixed mold sliding rod (25) is outside the second cavity (15). 4.根据权利要求3所述的高抗冲防变形食品级塑料制品注塑模具,其特征在于,在合模时,所述的第一型腔(13)的侧壁上设有一圈凹陷于四个动模滑块(12)内的第一加强槽(17),所述的第二型腔(15)的侧壁上设有一圈凹陷于四个定模滑块(14)内的第二加强槽(18)。4. The high-impact and anti-deformation food-grade plastic product injection mold according to claim 3, characterized in that, when the mold is closed, the side wall of the first cavity (13) is provided with a circle recessed in four. There are first reinforcing grooves (17) in the movable mold sliders (12), and a second groove (17) recessed in the four fixed mold sliders (14) is provided on the side wall of the second mold cavity (15). Reinforcing slot (18). 5.根据权利要求4所述的高抗冲防变形食品级塑料制品注塑模具,其特征在于,每一动模滑块(12)和定模滑块(14)内穿设有第一冷却管(19)。5. The high-impact and anti-deformation food-grade plastic product injection mold according to claim 4, characterized in that, a first cooling pipe ( 19). 6.根据权利要求5所述的高抗冲防变形食品级塑料制品注塑模具,其特征在于,每一第一冷却管(19)具有一段呈圆弧状的弧形冷却管(20)。6. The high impact and deformation resistant food-grade plastic product injection mold according to claim 5, wherein each first cooling pipe (19) has a section of arc-shaped cooling pipe (20). 7.根据权利要求6所述的高抗冲防变形食品级塑料制品注塑模具,其特征在于,所述的定模板(11)和动模板(10)上穿设有若干根第二冷却管。7 . The injection mold for high impact and anti-deformation food-grade plastic products according to claim 6 , wherein a plurality of second cooling pipes are threaded on the stationary platen ( 11 ) and the movable platen ( 10 ). 8 . 8.根据权利要求7所述的高抗冲防变形食品级塑料制品注塑模具,其特征在于,每一动模滑块(12)上设有定位杆(22),每一定模滑块(14)上设有定位槽(23),所述的定位杆(22)与定位槽(23)一一对应且相适配。8. The high-impact and anti-deformation food-grade plastic product injection mold according to claim 7, wherein each movable mold slider (12) is provided with a positioning rod (22), and each fixed mold slider (14) is provided with a positioning rod (22). There are positioning grooves (23) on it, and the positioning rods (22) are in one-to-one correspondence with the positioning grooves (23) and are matched. 9.根据权利要求8所述的高抗冲防变形食品级塑料制品注塑模具,其特征在于,每一动模滑块(12)和定模滑块(14)连接有油缸(24),若干个油缸(24)分别设置在动模板(10)和定模板(11)上。9. The high-impact and anti-deformation food-grade plastic product injection mold according to claim 8, characterized in that, each movable mold slider (12) and fixed mold slider (14) are connected with an oil cylinder (24), several The oil cylinder (24) is respectively arranged on the movable platen (10) and the fixed platen (11). 10.根据权利要求9所述的高抗冲防变形食品级塑料制品注塑模具,其特征在于,每一动模滑块(12)滑动连接有两个动模滑杆(16),两个动模滑杆(16)分别设置在对应的动模滑块(12)的两端,且对应的油缸(24)的输出轴位于两个动模滑杆(16)之间,每一定模滑块(14)滑动连接有两个定模滑杆(25),两个定模滑杆(25)分别设置在对应的定模滑块(14)的两端,且对应的油缸(24)的输出轴位于两个定模滑杆(25)之间。10. The high-impact and anti-deformation food-grade plastic product injection mold according to claim 9, wherein each movable mold slider (12) is slidably connected with two movable mold sliding bars (16), and the two movable molds are slidably connected to each other. The sliding rods (16) are respectively arranged at both ends of the corresponding movable mold sliding blocks (12), and the output shaft of the corresponding oil cylinder (24) is located between the two movable mold sliding rods (16). 14) Two fixed die sliding rods (25) are slidably connected, and the two fixed die sliding rods (25) are respectively arranged at both ends of the corresponding fixed die sliding block (14), and the output shaft of the corresponding oil cylinder (24) Located between the two fixed mold slide bars (25).
CN202022896111.9U 2020-12-03 2020-12-03 High-impact-resistance anti-deformation food-grade plastic product injection mold Active CN214188200U (en)

Priority Applications (1)

Application Number Priority Date Filing Date Title
CN202022896111.9U CN214188200U (en) 2020-12-03 2020-12-03 High-impact-resistance anti-deformation food-grade plastic product injection mold

Applications Claiming Priority (1)

Application Number Priority Date Filing Date Title
CN202022896111.9U CN214188200U (en) 2020-12-03 2020-12-03 High-impact-resistance anti-deformation food-grade plastic product injection mold

Publications (1)

Publication Number Publication Date
CN214188200U true CN214188200U (en) 2021-09-14

Family

ID=77650032

Family Applications (1)

Application Number Title Priority Date Filing Date
CN202022896111.9U Active CN214188200U (en) 2020-12-03 2020-12-03 High-impact-resistance anti-deformation food-grade plastic product injection mold

Country Status (1)

Country Link
CN (1) CN214188200U (en)

Similar Documents

Publication Publication Date Title
CN215095408U (en) Nitrogen spring auxiliary ejection mechanism for automobile thin-wall bumper mould
CN110757744B (en) Injection mold with back mold integral section back-off demolding structure
CN217752544U (en) But quick demoulding's mould
CN214188200U (en) High-impact-resistance anti-deformation food-grade plastic product injection mold
CN208084872U (en) It can be used for the mold and Novel injection mold of inclined-plane injection molding
CN212795716U (en) Oblique ejection die
CN213860444U (en) Three-plate mold capable of reducing thickness of mold
CN117245865A (en) Ejection structure special for small back-off on product
CN210047013U (en) Mould structure of tertiary somatotype
CN219820518U (en) Demolding structure for product with holes
CN215619624U (en) Tooth-shaped thick-wall light guide piece mold
CN214872420U (en) Precise injection mold for assembled shell of automobile muffler
CN223173376U (en) Limiting and retaining device for sliding mold core
CN220883240U (en) Injection mold for plastic gear production
CN214773760U (en) Forced demoulding secondary ejection mechanism of injection mold of automobile central console body
CN215825868U (en) Injection mold without ejection structure
CN222832268U (en) A high-stability injection molding mold for plastic volute
CN222645235U (en) A straight top and inclined top linkage injection mold
CN223131250U (en) ABS plastic measuring cup injection mold
CN220562096U (en) Ejecting core-pulling device and mould
CN113246411B (en) A secondary ejection oblique demoulding mechanism
CN222768807U (en) Forming die convenient to drawing of patterns
CN219926828U (en) Motorcycle tail box die with four-side back-off demoulding mechanism
CN223644197U (en) Double-colored injection moulding mould
CN222406954U (en) Thin wall side direction stretch bending deformation drawing of patterns injection mold

Legal Events

Date Code Title Description
GR01 Patent grant
GR01 Patent grant
CP03 Change of name, title or address
CP03 Change of name, title or address

Address after: 318024 Zhejiang Province, Taizhou City, Huangyan District, Beiyang Town, Hengxing Road No. 5

Patentee after: Zhejiang Shuoxiang Technology Co.,Ltd.

Country or region after: China

Address before: 318020 Zhejiang Province, Taizhou City, Huangyan District, Nancheng Shiyuan Road No. 101

Patentee before: TAIZHOU SHUOXIANG TECHNOLOGY CO.,LTD.

Country or region before: China