CN214167055U - High-stability van elevator - Google Patents

High-stability van elevator Download PDF

Info

Publication number
CN214167055U
CN214167055U CN202023288742.9U CN202023288742U CN214167055U CN 214167055 U CN214167055 U CN 214167055U CN 202023288742 U CN202023288742 U CN 202023288742U CN 214167055 U CN214167055 U CN 214167055U
Authority
CN
China
Prior art keywords
car
elevator
fixedly connected
plate
traction
Prior art date
Legal status (The legal status is an assumption and is not a legal conclusion. Google has not performed a legal analysis and makes no representation as to the accuracy of the status listed.)
Expired - Fee Related
Application number
CN202023288742.9U
Other languages
Chinese (zh)
Inventor
吴新火
Current Assignee (The listed assignees may be inaccurate. Google has not performed a legal analysis and makes no representation or warranty as to the accuracy of the list.)
Sail Intelligent Elevator Suzhou Co ltd
Original Assignee
Sail Intelligent Elevator Suzhou Co ltd
Priority date (The priority date is an assumption and is not a legal conclusion. Google has not performed a legal analysis and makes no representation as to the accuracy of the date listed.)
Filing date
Publication date
Application filed by Sail Intelligent Elevator Suzhou Co ltd filed Critical Sail Intelligent Elevator Suzhou Co ltd
Priority to CN202023288742.9U priority Critical patent/CN214167055U/en
Application granted granted Critical
Publication of CN214167055U publication Critical patent/CN214167055U/en
Expired - Fee Related legal-status Critical Current
Anticipated expiration legal-status Critical

Links

Images

Landscapes

  • Lift-Guide Devices, And Elevator Ropes And Cables (AREA)

Abstract

本实用新型公开了一种高稳定厢式电梯,包括轿厢和侧撑机构;轿厢:其前侧面的开口内安装有电梯门,轿厢的上表面四角对称设有滑杆,滑杆的顶端均与顶板的底面固定连接,四个滑杆分别与承重板上表面同侧的滑孔滑动连接,承重板的上表面四角对称设有连接柱,连接柱的上端均固定连接有钢缆,钢缆的顶端均与牵引板的底面固定连接,牵引板的上表面中心处固定连接有曳引线缆,轿厢的左右侧面上端对称设有导轨滑板,轿厢的左右侧面下端对称设有底撑板;该高稳定厢式电梯,可以使轿厢的顶部和左右两侧同时受力,保证电梯运行时的稳定性,还能够保证轿厢呈直线升降,防止轿厢发生左右晃动,整体稳定性更好。

Figure 202023288742

The utility model discloses a highly stable car elevator, which comprises a car and a side support mechanism; the car: an elevator door is installed in an opening on the front side of the car, the upper surface of the car is symmetrically provided with sliding rods at four corners, and the sliding rods The top end is fixedly connected with the bottom surface of the top plate, the four sliding rods are respectively slidably connected with the sliding holes on the same side of the upper surface of the bearing plate, the upper surface of the bearing plate is symmetrically provided with connecting columns at four corners, and the upper ends of the connecting columns are fixedly connected with steel cables. The top of the steel cable is fixedly connected with the bottom surface of the traction plate, and the traction cable is fixedly connected at the center of the upper surface of the traction plate. The upper ends of the left and right sides of the car are symmetrically provided with guide rail slides, and the lower ends of the left and right sides of the car are symmetrically provided with bottoms. Support plate; this highly stable car elevator can make the top of the car and the left and right sides of the car to be stressed at the same time, to ensure the stability of the elevator during operation, and to ensure that the car rises and falls in a straight line, preventing the car from shaking left and right, and the overall stability Sex is better.

Figure 202023288742

Description

High-stability van elevator
Technical Field
The utility model relates to an elevator technical field specifically is a high stable van-type elevator.
Background
An elevator is a permanent transport device serving a number of specific floors in a building, the cars of which travel in at least two rigid tracks perpendicular to the horizontal or inclined at an angle of less than 15 ° to the vertical. It is customary to use elevators as a generic term for vertical transport means in buildings, irrespective of their drive mode. At present comparatively common elevator mainly divide into van elevator and automatic escalator two kinds, and van elevator is driven through dragging the steel cable by the hauler on elevartor shaft top, and in order to guarantee the stability of this type of elevator, can be generally in the left and right sides of elevartor shaft inner wall installation guide rail for van elevator is sharp lift. The roof that current van elevator can only make the car usually receives the traction force influence of hauler, makes the whole uneven circumstances of atress that appears of car easily, then can lead to the car to appear rocking when the elevator operation, and overall stability is more general, and personnel take experience relatively poor, consequently, in order to solve above-mentioned problem, we have designed a high stable van elevator.
SUMMERY OF THE UTILITY MODEL
The to-be-solved technical problem of the utility model is to overcome current defect, provide a high stable van elevator, can make the top of car and left and right sides atress simultaneously, stability when guaranteeing the elevator operation can also guarantee that the car is sharp lift, prevents that the car from taking place to control and rocking, and overall stability is better, can effectively solve the problem in the background art.
In order to achieve the above object, the utility model provides a following technical scheme: a high-stability van elevator comprises a car and a side supporting mechanism;
a car: an elevator door is installed in an opening of the front side face of the elevator car, slide rods are symmetrically arranged at four corners of the upper surface of the car, the top ends of the slide rods are fixedly connected with the bottom face of a top plate, the four slide rods are respectively in sliding connection with slide holes on the same side of the upper surface of a bearing plate, connecting columns are symmetrically arranged at four corners of the upper surface of the bearing plate, steel cables are fixedly connected at the upper ends of the connecting columns, the top ends of the steel cables are fixedly connected with the bottom face of a traction plate, traction cables are fixedly connected at the center of the upper surface of the traction plate, guide rail sliding plates are symmetrically arranged at the upper ends of the left side face and the right side face of the car, bottom supporting plates are symmetrically arranged at the lower ends of the left side face and the right side face of the car, oblique supporting frames are arranged on the upper surfaces of the bottom supporting plates, and the upper ends of the oblique supporting frames are fixedly connected with the bottom faces of the guide rail sliding plates on the same side;
side props the mechanism: the outer side surface of the traction plate is arranged between the outer side surface of the traction plate and the outer side surface of the lift car;
wherein: still include elastic cushion, elastic cushion's number is two, and the upper surface and the bottom surface of bearing plate all are equipped with elastic cushion, can make the top of car and the simultaneous atress of the left and right sides of left and right sides, and stability when guaranteeing the elevator operation can also guarantee that the car is sharp lift, prevents that the car from taking place to control to rock, and overall stability is better.
Further, the side props the mechanism including extension board, trapezoidal frame, guide frame and guide ring, the number of extension board is two, and the left and right sides symmetry of traction plate is equipped with the extension board, and the equal fixedly connected with trapezoidal frame of lateral surface of extension board, the bottom surface of trapezoidal frame all are equipped with the guide frame of longitudinal symmetry, and the bottom of guide frame all is equipped with the guide ring, can make the top of car and the left and right sides atress simultaneously, guarantees the stability of elevator operation.
Further, the side props the mechanism and still includes square board, stand and spring, the number of square board is two, and the side middle part symmetry is equipped with square board about the car, and the upper surface of square board all is equipped with the stand, the inside slide bar of guide ring and the bar sliding opening sliding connection at stand middle part, is equipped with the spring between the bottom surface of guide ring and the upper surface of square board, and the outside of stand can be located to the spring housing, can reduce the inertia influence that the car received.
Further, the side lower extreme symmetry is equipped with the pulley yoke about the car, and the inside of pulley yoke all is connected with the guide rail pulley through the round pin hub rotation, can guarantee that the car is sharp lift, prevents that the car from taking place to rock about, and overall stability is better.
Furthermore, the distance between the top wall of the guide frame and the upper surface of the guide ring is greater than the length of the upright column, so that collision between the guide frame and the upright column when the elevator is in emergency stop is prevented.
Compared with the prior art, the beneficial effects of the utility model are that: this high stable van elevator has following benefit:
1. when the cable of towing receives the traction of outside hauler, tow the cable and pass through the traction plate and the steel cable transmits traction force for spliced pole and bearing plate, because the bearing plate simultaneously with four slide bar sliding connection, adopt non-rigid connection's mode, receive the dead weight influence of car, at the operation in-process of elevator, the bearing plate can remain the contact of maximum area with the roof all the time, make the roof can even atress, stability when tentatively guaranteeing the elevator operation, secondly, because the inside slide bar of guide ring and the bar sliding jaw sliding connection at stand middle part, some traction force that can make the traction plate receive are in proper order through the extension board, the trapezoidal frame, guide frame and guide ring are applyed on the stand, can make the top and the left and right sides atress simultaneously of car, further guarantee the stability when elevator operation.
2. When the elevator scram, because the inside slide bar of guide ring and the bar sliding opening sliding connection at stand middle part, certain distance's slip can take place for the guide ring, and the inertia that the cushioning effect moderate degree through the spring reduced the car and received influences, elastic buffer can provide the collision protection effect that removes for the bearing plate, in addition, the guide rail slide can with the cylindrical slide rail sliding connection in the elevator shaft, prevent that the car from taking place to control and rocking, the guide rail pulley then can with the cylindrical slide rail roll connection in the elevator shaft, guarantee through dual guiding mechanism that the car can be sharp lift, overall stability is better.
Drawings
FIG. 1 is a schematic structural view of the present invention;
FIG. 2 is a schematic front view of the present invention;
fig. 3 is a left side view structure diagram of the present invention.
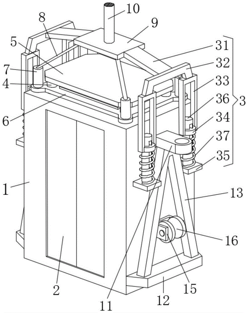
In the figure: 1 lift car, 2 lift doors, 3 side supporting mechanisms, 31 extending plates, 32 trapezoidal frames, 33 guide frames, 34 guide rings, 35 square plates, 36 upright posts, 37 springs, 4 slide rods, 5 top plates, 6 bearing plates, 7 connecting posts, 8 steel cables, 9 traction plates, 10 traction cables, 11 guide rail sliding plates, 12 bottom supporting plates, 13 inclined supporting frames, 14 elastic buffer cushions, 15 pulley frames and 16 guide rail pulleys.
Detailed Description
The technical solutions in the embodiments of the present invention will be described clearly and completely with reference to the accompanying drawings in the embodiments of the present invention, and it is obvious that the described embodiments are only some embodiments of the present invention, not all embodiments. Based on the embodiments in the present invention, all other embodiments obtained by a person skilled in the art without creative work belong to the protection scope of the present invention.
Referring to fig. 1-3, the present invention provides a technical solution: a high-stability van elevator comprises a car 1 and a side supporting mechanism 3;
car 1: an elevator door 2 is installed in an opening on the front side surface of the elevator car, four corners of the upper surface of the elevator car 1 are symmetrically provided with slide rods 4, top ends of the slide rods 4 are fixedly connected with the bottom surface of a top plate 5, the four slide rods 4 are respectively in sliding connection with slide holes on the same side of the upper surface of a bearing plate 6, four corners of the upper surface of the bearing plate 6 are symmetrically provided with connecting columns 7, upper ends of the connecting columns 7 are fixedly connected with steel cables 8, top ends of the steel cables 8 are fixedly connected with the bottom surface of a traction plate 9, a traction cable 10 is fixedly connected with the center of the upper surface of the traction plate 9, upper ends of the left side surface and the right side surface of the elevator car 1 are symmetrically provided with bottom supporting plates 12, upper surfaces of the bottom supporting plates 12 are respectively provided with inclined brackets 13, upper ends of the inclined brackets 13 are fixedly connected with the bottom surfaces of the guide rail sliding plates 11 on the same side, when the traction cable 10 is dragged by an external traction machine, the traction cable 10 transmits traction force to the connecting columns 7 and the bearing plate 6 through the traction plates 9 and the steel cables 8, because the bearing plate 6 is simultaneously in sliding connection with the four sliding rods 4, the bearing plate 6 is influenced by the self weight of the car 1 in a non-rigid connection mode, the bearing plate 6 can be always in contact with the top plate 5 in the largest area in the running process of the elevator, so that the top plate 5 can be uniformly stressed, the running stability of the elevator is preliminarily ensured, and the guide rail sliding plate 11 can be in sliding connection with a cylindrical sliding rail in the elevator shaft to prevent the car 1 from shaking left and right;
side bracing mechanism 3: the side supporting mechanism 3 comprises two extending plates 31, trapezoidal frames 32, guide frames 33 and guide rings 34, the number of the extending plates 31 is two, the extending plates 31 are symmetrically arranged on the left side and the right side of the traction plate 9, the trapezoidal frames 32 are fixedly connected on the outer side of each extending plate 31, the guide frames 33 are symmetrically arranged on the bottom surfaces of the trapezoidal frames 32 in a front-back mode, the guide rings 34 are arranged at the bottom ends of the guide frames 33, the side supporting mechanism 3 further comprises square plates 35, stand columns 36 and springs 37, the number of the square plates 35 is two, the square plates 35 are symmetrically arranged in the middle of the left side and the right side of the car 1, the stand columns 36 are arranged on the upper surfaces of the square plates 35, sliding rods inside the guide rings 34 are connected with strip-shaped sliding openings in the middle of the stand columns 36 in a sliding mode, the springs 37 are arranged between the bottom surfaces of the guide rings 34 and the upper surfaces of the square plates 35, and the springs 37 are sleeved outside the stand columns 36, the distance between the top wall of the guide frame 33 and the upper surface of the guide ring 34 is greater than the length of the upright post 36, secondly, as the slide rod in the guide ring 34 is in sliding connection with the strip-shaped sliding opening in the middle of the upright post 36, a part of traction force borne by the traction plate 9 is applied to the upright post 36 through the extension plate 31, the trapezoidal frame 32, the guide frame 33 and the guide ring 34 in sequence, the top and the left and right sides of the car 1 can be stressed simultaneously, the stability of the elevator in operation is further ensured, when the elevator is in emergency stop, as the slide rod in the guide ring 34 is in sliding connection with the strip-shaped sliding opening in the middle of the upright post 36, the guide ring 34 can slide for a certain distance, and the inertia influence on the car 1 is properly reduced through the buffer action of the spring 37;
wherein: the impact protection device further comprises two elastic buffer cushions 14, the two elastic buffer cushions 14 are arranged on the upper surface and the bottom surface of the bearing plate 6, and the elastic buffer cushions 14 can provide moving impact protection for the bearing plate 6.
Wherein: side lower extreme symmetry is equipped with pulley yoke 15 about car 1, and pulley yoke 15's inside all is connected with guide rail pulley 16 through the round pin hub rotation, and guide rail pulley 16 then can with the cylindrical slide rail roll connection in the elevator shaft, guarantees through dual guiding mechanism that car 1 can be sharp lift, and overall stability is better.
When in use: when the traction cable 10 is dragged by an external tractor, the traction cable 10 transmits traction force to the connecting column 7 and the bearing plate 6 through the traction plate 9 and the steel cable 8, because the bearing plate 6 is simultaneously in sliding connection with the four sliding rods 4 and is influenced by the self weight of the elevator car 1 in a non-rigid connection mode, in the running process of the elevator, the bearing plate 6 can always keep the largest area contact with the top plate 5, so that the top plate 5 can be uniformly stressed, the stability of the elevator in running is primarily ensured, secondly, because the sliding rods in the guide ring 34 are in sliding connection with the strip-shaped sliding opening in the middle of the upright post 36, a part of the traction force borne by the traction plate 9 is sequentially applied to the upright post 36 through the extension plate 31, the trapezoid frame 32, the guide frame 33 and the guide ring 34, the top and the left and right sides of the elevator car 1 can be stressed simultaneously, and the stability of the elevator in running is further ensured, when the elevator suddenly stops, because the inside slide bar of guide ring 34 and the bar sliding opening sliding connection at stand 36 middle part, certain distance's slip can take place for guide ring 34, and the inertia that receives through the cushioning effect moderate degree reduction car 1 of spring 37 influences, elastic buffer 14 can provide the collision protection effect of removal for bearing plate 6, in addition, guide rail slide 11 can with the cylindrical slide rail sliding connection in the elevator shaft, prevent that car 1 from taking place to rock about, guide rail pulley 16 then can with the cylindrical slide rail roll connection in the elevator shaft, guarantee through dual guiding mechanism that car 1 can be rectilinear lift, overall stability is better.
Although embodiments of the present invention have been shown and described, it will be appreciated by those skilled in the art that changes, modifications, substitutions and alterations can be made in these embodiments without departing from the principles and spirit of the invention, the scope of which is defined in the appended claims and their equivalents.

Claims (5)

1. A high stable van elevator which characterized in that: comprises a lift car (1) and a side supporting mechanism (3);
car (1): an elevator door (2) is installed in an opening in the front side face of the elevator car, four corners of the upper surface of a car (1) are symmetrically provided with slide rods (4), the top ends of the slide rods (4) are fixedly connected with the bottom face of a top plate (5), the four slide rods (4) are respectively in sliding connection with slide holes in the same side of the upper surface of a bearing plate (6), four corners of the upper surface of the bearing plate (6) are symmetrically provided with connecting columns (7), the upper ends of the connecting columns (7) are fixedly connected with steel cables (8), the top ends of the steel cables (8) are fixedly connected with the bottom face of a traction plate (9), the center of the upper surface of the traction plate (9) is fixedly connected with traction cables (10), the upper ends of the left side face and the right side face of the car (1) are symmetrically provided with guide rail sliding plates (11), the lower ends of the left side face and the right side face of the car (1) are symmetrically provided with bottom supporting plates (12), the upper surface of the bottom supporting plates (12) are respectively provided with inclined brackets (13), and the upper ends of the inclined brackets (13) are fixedly connected with the bottom faces of the guide rail sliding plates (11) in the same side;
side bracing mechanism (3): is arranged between the outer side surface of the traction plate (9) and the outer side surface of the lift car (1);
wherein: the bearing plate is characterized by further comprising two elastic buffer pads (14), wherein the two elastic buffer pads (14) are arranged, and the elastic buffer pads (14) are arranged on the upper surface and the bottom surface of the bearing plate (6).
2. A highly stable van elevator according to claim 1, wherein: side props mechanism (3) including extension board (31), trapezoidal frame (32), guide frame (33) and guide ring (34), the number of extension board (31) is two, and the left and right sides symmetry of traction plate (9) is equipped with extension board (31), the equal fixedly connected with trapezoidal frame (32) of lateral surface of extension board (31), and the bottom surface of trapezoidal frame (32) all is equipped with guide frame (33) of symmetry around, and the bottom of guide frame (33) all is equipped with guide ring (34).
3. A highly stable van elevator according to claim 2, wherein: side props mechanism (3) still includes square board (35), stand (36) and spring (37), the number of square board (35) is two, and side middle part symmetry is equipped with square board (35) about car (1), and the upper surface of square board (35) all is equipped with stand (36), and the inside slide bar of guide ring (34) and the bar sliding opening sliding connection at stand (36) middle part are equipped with spring (37) between the bottom surface of guide ring (34) and the upper surface of square board (35), and the outside of stand (36) is located to spring (37) cover.
4. A highly stable van elevator according to claim 1, wherein: the elevator car is characterized in that pulley frames (15) are symmetrically arranged at the lower ends of the left side surface and the right side surface of the car (1), and guide rail pulleys (16) are rotatably connected inside the pulley frames (15) through pin shafts.
5. A highly stable van elevator according to claim 3, wherein: the distance between the top wall of the guide frame (33) and the upper surface of the guide ring (34) is larger than the length of the upright post (36).
CN202023288742.9U 2020-12-31 2020-12-31 High-stability van elevator Expired - Fee Related CN214167055U (en)

Priority Applications (1)

Application Number Priority Date Filing Date Title
CN202023288742.9U CN214167055U (en) 2020-12-31 2020-12-31 High-stability van elevator

Applications Claiming Priority (1)

Application Number Priority Date Filing Date Title
CN202023288742.9U CN214167055U (en) 2020-12-31 2020-12-31 High-stability van elevator

Publications (1)

Publication Number Publication Date
CN214167055U true CN214167055U (en) 2021-09-10

Family

ID=77611088

Family Applications (1)

Application Number Title Priority Date Filing Date
CN202023288742.9U Expired - Fee Related CN214167055U (en) 2020-12-31 2020-12-31 High-stability van elevator

Country Status (1)

Country Link
CN (1) CN214167055U (en)

Cited By (3)

* Cited by examiner, † Cited by third party
Publication number Priority date Publication date Assignee Title
CN113830650A (en) * 2021-09-26 2021-12-24 浙江尼邦电梯有限公司 High-stability running elevator
CN114084762A (en) * 2021-10-18 2022-02-25 芜湖银鹤机械制造有限公司 Smart cable hook assembly with deviation alarm system for elevator car
CN116573512A (en) * 2023-05-06 2023-08-11 苏迅电梯有限公司 An anti-sway marine elevator

Cited By (4)

* Cited by examiner, † Cited by third party
Publication number Priority date Publication date Assignee Title
CN113830650A (en) * 2021-09-26 2021-12-24 浙江尼邦电梯有限公司 High-stability running elevator
CN114084762A (en) * 2021-10-18 2022-02-25 芜湖银鹤机械制造有限公司 Smart cable hook assembly with deviation alarm system for elevator car
CN114084762B (en) * 2021-10-18 2023-05-12 芜湖银鹤机械制造有限公司 Smart cable hook assembly with deviation alarm system for use in an elevator cab
CN116573512A (en) * 2023-05-06 2023-08-11 苏迅电梯有限公司 An anti-sway marine elevator

Similar Documents

Publication Publication Date Title
CN214167055U (en) High-stability van elevator
CN205709740U (en) A kind of side suspension type lane stacker
CN207877063U (en) A kind of cargo lift anti-slip device
WO2013143424A1 (en) Mining elevator carrying platform and carrying method
CN206476638U (en) Elevator layer door anti-disengaging structure
CN210854899U (en) Right-angle door-opening home elevator
CN210710290U (en) Counterweight device for elevator
CN204510965U (en) Two-layer lift-sliding formula parking apparatus
CN220950730U (en) Sightseeing elevator system
CN203545394U (en) Flexible guide special elevator bearing and stabilizing device
CN205743180U (en) A kind of three-dimensional parking device of safety and steady
CN213231091U (en) Elevator with protective mechanism
CN204899339U (en) Lifting and horizontal moving formula parking equipment
CN109516341A (en) A kind of spare slowing-down structure of elevator
CN208934493U (en) A kind of traction-type can unbalance loading car cage
CN214569949U (en) Flexible linkage mechanism for elevator driving and suspension cage
CN222540191U (en) Anti-overturning system for lift
CN223117881U (en) Car frame for elevator, elevator car and elevator
CN203976171U (en) A kind of tractive force and the coaxial end traction of gravity household ladder
CN218371131U (en) Pulley elevator
CN222410625U (en) Elevator safety braking system
CN209740443U (en) Elevator anti-falling self-locking protection device
CN213265269U (en) Elevator car device for inhibiting vibration
CN220223165U (en) Elevator lifting device
CN203833439U (en) Lift door knife transmission device

Legal Events

Date Code Title Description
GR01 Patent grant
GR01 Patent grant
CF01 Termination of patent right due to non-payment of annual fee

Granted publication date: 20210910

CF01 Termination of patent right due to non-payment of annual fee