CN214157343U - An X-ray machine with shielding device - Google Patents

An X-ray machine with shielding device Download PDF

Info

Publication number
CN214157343U
CN214157343U CN202022585295.7U CN202022585295U CN214157343U CN 214157343 U CN214157343 U CN 214157343U CN 202022585295 U CN202022585295 U CN 202022585295U CN 214157343 U CN214157343 U CN 214157343U
Authority
CN
China
Prior art keywords
wall
plate
ray machine
panel
fixedly connected
Prior art date
Legal status (The legal status is an assumption and is not a legal conclusion. Google has not performed a legal analysis and makes no representation as to the accuracy of the status listed.)
Expired - Fee Related
Application number
CN202022585295.7U
Other languages
Chinese (zh)
Inventor
陈军
Current Assignee (The listed assignees may be inaccurate. Google has not performed a legal analysis and makes no representation or warranty as to the accuracy of the list.)
Hubei Weilun Technology Co ltd
Original Assignee
Hubei Weilun Technology Co ltd
Priority date (The priority date is an assumption and is not a legal conclusion. Google has not performed a legal analysis and makes no representation as to the accuracy of the date listed.)
Filing date
Publication date
Application filed by Hubei Weilun Technology Co ltd filed Critical Hubei Weilun Technology Co ltd
Priority to CN202022585295.7U priority Critical patent/CN214157343U/en
Application granted granted Critical
Publication of CN214157343U publication Critical patent/CN214157343U/en
Expired - Fee Related legal-status Critical Current
Anticipated expiration legal-status Critical

Links

Images

Landscapes

  • Apparatus For Radiation Diagnosis (AREA)

Abstract

本实用新型公开了一种带屏蔽装置的X光机,包括底板、墙板、顶板、第一连接件、第二连接件和第三连接件。该带屏蔽装置的X光机,使用时,首先需要对装置进行组装,将底板放置在地面上,然后将X光机放置在底板的顶面中部,然后依次拿取墙板,将墙板插入插槽内,同时通过第一连接件将墙板与底板相互固定,然后拿取第二连接件将相邻墙板依次固定,然后拿取顶板放置在墙板的顶部,同时通过第三连接件将顶板与墙板固定,此时底板、墙板和顶板组成工作区间,然后通过开关控制风扇开始工作,风扇将工作区间内的空气通过出气法兰管吹出,同时外部空气通过透气孔进入到工作区间内,对工作区间进行换气,保障工作区间的良好环境。

Figure 202022585295

The utility model discloses an X-ray machine with a shielding device, which comprises a bottom plate, a wall plate, a top plate, a first connecting piece, a second connecting piece and a third connecting piece. When using the X-ray machine with shielding device, the device needs to be assembled first, the bottom plate is placed on the ground, and then the X-ray machine is placed in the middle of the top surface of the bottom plate, and then the wall panels are taken in turn, and the wall panels are inserted into In the slot, at the same time, the wall panel and the bottom plate are fixed to each other through the first connector, then the second connector is taken to fix the adjacent wall panels in turn, and then the top panel is taken and placed on the top of the wall panel, while the third connector is used to fix the adjacent wall panels in turn. Fix the top plate and the wall plate. At this time, the bottom plate, the wall plate and the top plate form a working area, and then the fan is controlled by the switch to start working. In the area, the working area is ventilated to ensure a good environment in the working area.

Figure 202022585295

Description

X-ray machine with shielding device
Technical Field
The utility model relates to a X-ray machine field specifically is a take shield assembly's X-ray machine.
Background
The X-ray machine is a device for generating X-ray, mainly comprising an X-ray bulb tube, an X-ray machine power supply, a control circuit and the like, wherein the X-ray bulb tube comprises a cathode filament, an anode target and a vacuum glass tube, the X-ray machine power supply can be divided into a high-voltage power supply and a filament power supply, the filament power supply is used for heating the filament, the high-voltage output end of the high-voltage power supply is respectively clamped at two ends of the cathode filament and the anode target, a high-voltage electric field is provided to accelerate active electrons on the filament to flow to the anode target, a high-speed electron current is formed, 99% of the electrons are converted into heat after bombarding the anode target surface, and 1% of the X-ray is generated due to bremsstrahlung radiation.
The X-ray machine is usually used for carrying out X-ray detection on a patient, but the X-ray machine is usually installed in a building, and when the X-ray machine equipment needs to be added in an emergency, a using room of the X-ray machine needs to be newly built, so that the purpose of quickly adding the equipment cannot be achieved.
SUMMERY OF THE UTILITY MODEL
An object of the utility model is to provide a take shield assembly's X-ray machine to solve the problem that proposes among the above-mentioned background art.
In order to achieve the above object, the utility model provides a following technical scheme: an X-ray machine with a shielding device comprises a bottom plate, wherein the top surface of the bottom plate is provided with a slot, a wall plate matched with the slot is arranged in the slot, the top surface of the wall plate is provided with a top plate, an inlet and an outlet are formed in one wall plate, the outer side of the inlet and the outlet is provided with a door body matched with the inlet and the outlet, the two sides of the top bottom of the door body are symmetrically provided with sliding chutes matched with the door body, the door body is in sliding connection with the sliding chutes, the sliding chutes are fixedly connected to the outer wall of the wall plate, the outer side of the sliding chutes is provided with a moving mechanism, the moving mechanism comprises a motor, a screw rod and a connecting block, a first connecting piece is arranged between the bottom plate and the wall plate and is fixedly connected with the bottom plate and the wall plate through bolts, a second connecting piece is arranged between the adjacent wall plates and is fixedly connected with the adjacent wall plates through bolts, a third connecting piece is arranged between the wall plate and the top plate through bolts, the top surface middle part of roof is equipped with exhaust mechanism, and exhaust mechanism includes outlet flange pipe, fan and ceiling, and the bleeder vent has been seted up to the bottom of wallboard, and the middle part outer wall fixed mounting of wallboard has the switch.
As a further aspect of the present invention: the wallboard is equipped with four, and bottom plate, wallboard, roof and the door body are all leaded panel, and bottom plate, wallboard and roof are inside to be equipped with the X-ray machine.
As a further aspect of the present invention: the motor is fixedly connected to the outer wall of the wallboard, the screw rod is rotatably connected with the wallboard, and one side of the connecting block is fixedly connected with the outer wall of the door body.
As a further aspect of the present invention: the connecting block sleeve is arranged on the outer side of the screw rod and is in threaded connection with the screw rod, and one end of the screw rod is fixedly connected with the output end of the motor through the coupler.
As a further aspect of the present invention: the air outlet flange pipe is fixedly installed on the top surface of the top plate through bolts and communicated with the inner side of the top plate, the fan is fixedly installed on the inner wall of the air outlet flange pipe, the ceiling is arranged above the air outlet flange pipe, and the ceiling is fixedly connected with the top surface of the top plate.
As a further aspect of the present invention: the motor and the fan are electrically connected with the switch through wires, and the switch is externally connected with a power supply.
Compared with the prior art, the beneficial effects of the utility model are that:
1. the utility model discloses a cooperation use between bottom plate, slot, wallboard, roof, first connecting piece, second connecting piece and the third connecting piece for detachable connects between bottom plate, wallboard and the roof, thereby makes this X-ray machine of taking shield assembly be assembled structure, can realize quick assembly when promptly using, adds to X-ray machine detection room, makes things convenient for medical personnel to use;
2. the utility model discloses a wallboard, import and export, the door body, the spout, including a motor, an end cap, a controller, and a cover plate, the lead screw, the cooperation is used between connecting block and the switch for can drive the door body through moving mechanism, convenient quick opening and sealing the business turn over, use through the cooperation between the flange pipe of giving vent to anger, fan, ceiling, bleeder vent and the switch, make and to carry out the air exchange in inboard and the outside through exhaust mechanism and bleeder vent, conveniently maintain the clean of inside air, thereby make this take shield assembly's X ray machine's use more convenient.
Drawings
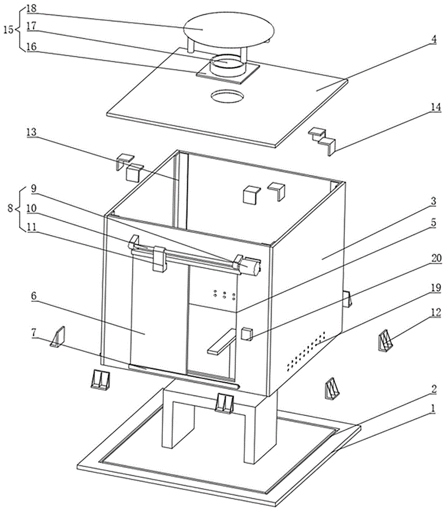
Fig. 1 is a schematic structural diagram of an X-ray machine with a shielding device.
Fig. 2 is a perspective view of an X-ray machine with a shielding device.
Fig. 3 is a cross-sectional view of an X-ray machine with a shielding device.
In the figure: the air conditioner comprises a base plate 1, slots 2, wall plates 3, a top plate 4, an inlet and an outlet 5, a door body 6, a sliding chute 7, a moving mechanism 8, a motor 9, a screw rod 10, a connecting block 11, a first connecting piece 12, a second connecting piece 13, a third connecting piece 14, an exhaust mechanism 15, an exhaust flange pipe 16, a fan 17, a ceiling 18, air holes 19 and switches 20.
Detailed Description
The technical solutions in the embodiments of the present invention will be described clearly and completely with reference to the accompanying drawings in the embodiments of the present invention, and it is obvious that the described embodiments are only some embodiments of the present invention, not all embodiments. Based on the embodiments in the present invention, all other embodiments obtained by a person skilled in the art without creative work belong to the protection scope of the present invention.
Referring to fig. 1-3, in the embodiment of the present invention, an X-ray machine with a shielding device comprises a bottom plate 1, a slot 2 is formed on a top surface of the bottom plate 1, a wall plate 3 adapted to the slot 2 is disposed in the slot 2, a top surface of the wall plate 3 is provided with a top plate 4, an inlet/outlet 5 is formed on one wall plate 3, a door body 6 adapted to the inlet/outlet 5 is disposed outside the inlet/outlet 5, sliding grooves 7 adapted to the door body 6 are symmetrically disposed on both sides of a top bottom of the door body 6, the door body 6 is slidably connected to the sliding grooves 7, the sliding grooves 7 are fixedly connected to an outer wall of the wall plate 3, a moving mechanism 8 is disposed outside the sliding grooves 7, the moving mechanism 8 comprises a motor 9, a lead screw 10 and a connecting block 11, a first connecting member 12 is disposed between the bottom plate 1 and the wall plate 3, the first connecting member 12 is fixedly connected to the bottom plate 1 and the wall plate 3 respectively through bolts, a second connecting member 13 is disposed between adjacent wall plates 3, the second connecting member 13 is fixedly connected to the adjacent wall plates 3 respectively through bolts, be equipped with third connecting piece 14 between wallboard 3 and roof 4, third connecting piece 14 pass through the bolt respectively with wallboard 3 and roof 4 fixed connection, the top surface middle part of roof 4 is equipped with exhaust mechanism 15, exhaust mechanism 15 includes outlet flange pipe 16, fan 17 and ceiling 18, bleeder vent 19 has been seted up to the bottom of wallboard 3, the middle part outer wall fixed mounting of wallboard 3 has switch 20.
Wallboard 3 is equipped with four, and bottom plate 1, wallboard 3, roof 4 and the door body 6 are leaded panel to make the X-ray machine shielded, bottom plate 1, wallboard 3 and roof 4 inside are equipped with the X-ray machine.
Motor 9 fixed connection is on the outer wall of wallboard 3, and lead screw 10 rotates with wallboard 3 to be connected, one side of connecting block 11 and the outer wall fixed connection of door body 6.
The connecting block 11 is sleeved on the outer side of the screw rod 10, the connecting block 11 is in threaded connection with the screw rod 10, and one end of the screw rod 10 is fixedly connected with the output end of the motor 9 through the coupler.
The air outlet flange pipe 16 is fixedly installed on the top surface of the top plate 4 through bolts, the air outlet flange pipe 16 is communicated with the inner side of the top plate 4, the fan 17 is fixedly installed on the inner wall of the air outlet flange pipe 16, the ceiling 18 is arranged above the air outlet flange pipe 16, and the ceiling 18 is fixedly connected with the top surface of the top plate 4.
The motor 9 and the fan 17 are electrically connected with the switch 20 through wires, and the switch 20 is externally connected with a power supply.
The utility model discloses a theory of operation is: when in use, the device is firstly assembled, the bottom plate 1 is placed on the ground, then the X-ray machine is placed in the middle of the top surface of the bottom plate 1, then the wall plate 3 is taken in sequence, the wall plate 3 is inserted into the slot 2, meanwhile, the wall plate 3 and the bottom plate 1 are mutually fixed through the first connecting piece 12, then the second connecting piece 13 is taken to sequentially fix the adjacent wall plates, then the top plate 4 is taken and placed at the top of the wall plate 3, meanwhile, the top plate 4 and the wall plate 3 are fixed through the third connecting piece 14, at the moment, the bottom plate 1, the wall plate 3 and the top plate 4 form a working interval, then the fan 17 is controlled to start working through the switch 20, the fan 17 blows air in the working interval through the air outlet flange pipe 16, meanwhile, external air enters the working interval through the air vent 19, the working interval is ventilated, the good environment of the working interval is ensured, and then the ceiling 18 plays a role of protecting the opening of the flange pipe 16 in the process, avoid outside debris to see through in the flange pipe 16 that gives vent to anger drops and enters into the work interval, when the patient needs to carry out X-ray detection, this medical staff passes through switch 20 control motor 9 and begins work, motor 9 drives lead screw 10 and begins to rotate, lead screw 10 drives door body 6 through connecting block 11 and slides in spout 7, thereby make exit 5 opened, then the position that the patient walked to the X-ray machine from exit 5 is detected, outside medical staff passes through switch 20 secondary control motor 9 and rotates this moment after the patient gets into, make door body 6 seal exit 5 again, avoid the big volume of X-ray to leak in the testing process.
Although the present invention has been described in detail with reference to the foregoing embodiments, it will be apparent to those skilled in the art that modifications may be made to the embodiments or portions thereof without departing from the spirit and scope of the invention.

Claims (6)

1.一种带屏蔽装置的X光机,包括底板(1),其特征在于:所述底板(1)的顶面开设有插槽(2),插槽(2)内设有与其相适配的墙板(3),墙板(3)的顶面设有顶板(4),一墙板(3)上开设有进出口(5),进出口(5)的外侧设有与其相适配的门体(6),门体(6)的顶底两侧对称设有与其相适配的滑槽(7),门体(6)与滑槽(7)滑动连接,滑槽(7)固定连接在墙板(3)的外壁上,滑槽(7)的外侧设有移动机构(8),移动机构(8)包括电机(9)、丝杆(10)和连接块(11),底板(1)与墙板(3)之间设有第一连接件(12),第一连接件(12)通过螺栓分别与底板(1)和墙板(3)固定连接,相邻墙板(3)之间设有第二连接件(13),第二连接件(13)通过螺栓分别与相邻的墙板(3)固定连接,墙板(3)与顶板(4)之间设有第三连接件(14),第三连接件(14)通过螺栓分别与墙板(3)和顶板(4)固定连接,顶板(4)的顶面中部设有排气机构(15),排气机构(15)包括出气法兰管(16)、风扇(17)和顶棚(18),墙板(3)的底部开设有透气孔(19),墙板(3)的中部外壁固定安装有开关(20)。1. An X-ray machine with shielding device, comprising a base plate (1), characterized in that: a slot (2) is provided on the top surface of the base plate (1), and a slot (2) is provided with a slot that is suitable for it. The matching wall panel (3), the top surface of the wall panel (3) is provided with a top panel (4), a wall panel (3) is provided with an inlet and outlet (5), and the outer side of the inlet and outlet (5) is provided with a corresponding The matching door body (6), the top and bottom sides of the door body (6) are symmetrically provided with corresponding sliding grooves (7), the door body (6) is slidably connected with the sliding groove (7), and the sliding groove (7) ) is fixedly connected to the outer wall of the wall panel (3), the outer side of the chute (7) is provided with a moving mechanism (8), and the moving mechanism (8) includes a motor (9), a screw (10) and a connecting block (11) , a first connecting piece (12) is provided between the bottom plate (1) and the wall plate (3), and the first connecting piece (12) is fixedly connected with the bottom plate (1) and the wall plate (3) respectively by bolts, and the adjacent wall A second connecting piece (13) is arranged between the boards (3), and the second connecting piece (13) is respectively fixedly connected to the adjacent wall boards (3) by means of bolts, and between the wall boards (3) and the top board (4) A third connecting piece (14) is provided, and the third connecting piece (14) is respectively fixedly connected with the wall panel (3) and the top panel (4) by means of bolts, and an exhaust mechanism (15) is provided in the middle of the top surface of the top panel (4). , the exhaust mechanism (15) comprises an air outlet flange pipe (16), a fan (17) and a ceiling (18), the bottom of the wall panel (3) is provided with a ventilation hole (19), and the middle outer wall of the wall panel (3) is fixed A switch (20) is installed. 2.根据权利要求1所述的一种带屏蔽装置的X光机,其特征在于:所述墙板(3)设有四块,底板(1)、墙板(3)、顶板(4)和门体(6)均为含铅板材,底板(1)、墙板(3)和顶板(4)内部设有X光机。2. The X-ray machine with shielding device according to claim 1, characterized in that: the wall panel (3) is provided with four pieces, the bottom panel (1), the wall panel (3), the top panel (4) The door body (6) and the door body (6) are all lead-containing plates, and an X-ray machine is arranged inside the bottom plate (1), the wall plate (3) and the top plate (4). 3.根据权利要求1所述的一种带屏蔽装置的X光机,其特征在于:所述电机(9)固定连接在墙板(3)的外壁上,丝杆(10)与墙板(3)转动连接,连接块(11)的一侧与门体(6)的外壁固定连接。3. The X-ray machine with shielding device according to claim 1, wherein the motor (9) is fixedly connected to the outer wall of the wall panel (3), and the screw (10) is connected to the wall panel (3). 3) Rotating connection, one side of the connecting block (11) is fixedly connected with the outer wall of the door body (6). 4.根据权利要求1所述的一种带屏蔽装置的X光机,其特征在于:所述连接块(11)套设在丝杆(10)的外侧,连接块(11)与丝杆(10)螺纹连接,丝杆(10)的一端通过联轴器与电机(9)的输出端固定连接。4. The X-ray machine with shielding device according to claim 1, wherein the connecting block (11) is sleeved on the outer side of the screw rod (10), and the connecting block (11) is connected to the screw rod (11). 10) Threaded connection, one end of the lead screw (10) is fixedly connected with the output end of the motor (9) through a coupling. 5.根据权利要求1所述的一种带屏蔽装置的X光机,其特征在于:所述出气法兰管(16)通过螺栓固定安装在顶板(4)的顶面,且出气法兰管(16)与顶板(4)的内侧连通,风扇(17)固定安装在出气法兰管(16)的内壁上,顶棚(18)设在出气法兰管(16)的上方,且顶棚(18)与顶板(4)的顶面固定连接。5. The X-ray machine with shielding device according to claim 1, characterized in that: the air outlet flange pipe (16) is fixedly installed on the top surface of the top plate (4) by bolts, and the air outlet flange pipe (16) communicates with the inner side of the top plate (4), the fan (17) is fixedly installed on the inner wall of the air outlet flange pipe (16), the ceiling (18) is arranged above the air outlet flange pipe (16), and the ceiling (18) ) is fixedly connected to the top surface of the top plate (4). 6.根据权利要求1所述的一种带屏蔽装置的X光机,其特征在于:所述电机(9)、风扇(17)通过电线与开关(20)电性连接,开关(20)外接有电源。6. An X-ray machine with a shielding device according to claim 1, characterized in that: the motor (9) and the fan (17) are electrically connected to the switch (20) through wires, and the switch (20) is externally connected There is power.
CN202022585295.7U 2020-11-10 2020-11-10 An X-ray machine with shielding device Expired - Fee Related CN214157343U (en)

Priority Applications (1)

Application Number Priority Date Filing Date Title
CN202022585295.7U CN214157343U (en) 2020-11-10 2020-11-10 An X-ray machine with shielding device

Applications Claiming Priority (1)

Application Number Priority Date Filing Date Title
CN202022585295.7U CN214157343U (en) 2020-11-10 2020-11-10 An X-ray machine with shielding device

Publications (1)

Publication Number Publication Date
CN214157343U true CN214157343U (en) 2021-09-10

Family

ID=77599730

Family Applications (1)

Application Number Title Priority Date Filing Date
CN202022585295.7U Expired - Fee Related CN214157343U (en) 2020-11-10 2020-11-10 An X-ray machine with shielding device

Country Status (1)

Country Link
CN (1) CN214157343U (en)

Cited By (2)

* Cited by examiner, † Cited by third party
Publication number Priority date Publication date Assignee Title
CN114109097A (en) * 2021-11-22 2022-03-01 安徽富煌钢构股份有限公司 Environment-friendly energy-saving assembly type steel structure factory building structure
CN115424758A (en) * 2022-09-30 2022-12-02 中广核戈瑞(深圳)科技有限公司 Radiation shielding mechanism of electron irradiation accelerator and method thereof

Cited By (2)

* Cited by examiner, † Cited by third party
Publication number Priority date Publication date Assignee Title
CN114109097A (en) * 2021-11-22 2022-03-01 安徽富煌钢构股份有限公司 Environment-friendly energy-saving assembly type steel structure factory building structure
CN115424758A (en) * 2022-09-30 2022-12-02 中广核戈瑞(深圳)科技有限公司 Radiation shielding mechanism of electron irradiation accelerator and method thereof

Similar Documents

Publication Publication Date Title
CN214157343U (en) An X-ray machine with shielding device
CN214227559U (en) Heat dissipation structure of power distribution equipment
CN105870809A (en) Fire-proof precision power distribution cabinet for large electrical equipment
CN211239029U (en) Dampproofing antistatic cabinet
CN212874074U (en) Industrial cone beam CT radiation-proof shielding system
CN210578221U (en) Outdoor waterproof dustproof converter switch board
CN211047697U (en) Protection testing device for intelligent substation
CN215499697U (en) Novel portable X ray device
CN216251837U (en) Assembled high-voltage distribution cabinet
CN216413562U (en) Switch cabinet convenient for dehumidification
CN212160890U (en) Fire alarm interlocking control device for irradiation chamber of electron accelerator
CN216928177U (en) Environment-friendly cable irradiation electron accelerator
CN211208940U (en) Dampproofing safety switch cabinet
CN111048378B (en) Rotatable splicing type high-current diode anode target
CN206292189U (en) High frequency grenz ray defectoscope
CN206697769U (en) A kind of Moisture-proof switch cabinet of no operating barrier
CN210723938U (en) Use solid insulation looped netowrk cabinet under adverse circumstances
CN220172684U (en) Integrated power distribution cabinet mechanism
CN211019797U (en) Ventilation and heat dissipation structure of positive-pressure explosion-proof cabinet
CN221467181U (en) Portable wireless monitoring intelligent type modularization high-low voltage switchgear
CN214556121U (en) Novel ozone discharging device
CN219484489U (en) Argon arc welding machine convenient to heat dissipation
CN221080748U (en) Dustproof control box adopting flowing air wall
CN114421394B (en) Anti-creeping shell for copper-clad aluminum busbar
CN207639064U (en) Active cool type shields by force cabinet

Legal Events

Date Code Title Description
GR01 Patent grant
GR01 Patent grant
CF01 Termination of patent right due to non-payment of annual fee

Granted publication date: 20210910

CF01 Termination of patent right due to non-payment of annual fee