CN214147783U - Oral lamp for oral medical treatment - Google Patents

Oral lamp for oral medical treatment Download PDF

Info

Publication number
CN214147783U
CN214147783U CN202120327667.8U CN202120327667U CN214147783U CN 214147783 U CN214147783 U CN 214147783U CN 202120327667 U CN202120327667 U CN 202120327667U CN 214147783 U CN214147783 U CN 214147783U
Authority
CN
China
Prior art keywords
fixedly connected
oral
wall
medical treatment
rod
Prior art date
Legal status (The legal status is an assumption and is not a legal conclusion. Google has not performed a legal analysis and makes no representation as to the accuracy of the status listed.)
Expired - Fee Related
Application number
CN202120327667.8U
Other languages
Chinese (zh)
Inventor
雷蕾
Current Assignee (The listed assignees may be inaccurate. Google has not performed a legal analysis and makes no representation or warranty as to the accuracy of the list.)
Individual
Original Assignee
Individual
Priority date (The priority date is an assumption and is not a legal conclusion. Google has not performed a legal analysis and makes no representation as to the accuracy of the date listed.)
Filing date
Publication date
Application filed by Individual filed Critical Individual
Priority to CN202120327667.8U priority Critical patent/CN214147783U/en
Application granted granted Critical
Publication of CN214147783U publication Critical patent/CN214147783U/en
Expired - Fee Related legal-status Critical Current
Anticipated expiration legal-status Critical

Links

Images

Landscapes

  • Dental Tools And Instruments Or Auxiliary Dental Instruments (AREA)

Abstract

本实用新型公开了一种口腔医疗用口腔灯,包括底座,所述底座的上表面设置有放置腔,所述放置腔的内壁固定连接有微型电机,所述微型电机的一端延伸设置有转轴,所述转轴的上端固定连接有伸缩杆,所述伸缩杆的上端固定连接有放置块,所述放置块的内壁固定连接有电动推杆,所述电动推杆的一端固定连接有连接块,所述连接块的一侧设置有灯柱,所述连接块的内壁固定连接有弹簧,所述弹簧的一端固定连接有限位板,所述连接块的上表面固定连接有信号处理器,所述信号处理器的一侧固定连接有连接管,所述连接管的一端固定连接有监测器。本实用新型中,便于医护人员对患者的口腔内部情况进行观察以及灯柱的拆卸更换。

Figure 202120327667

The utility model discloses an oral lamp for oral medical treatment, comprising a base, a placement cavity is arranged on the upper surface of the base, a micro-motor is fixedly connected to the inner wall of the placement cavity, and one end of the micro-motor is extended with a rotating shaft, The upper end of the rotating shaft is fixedly connected with a telescopic rod, the upper end of the telescopic rod is fixedly connected with a placing block, the inner wall of the placing block is fixedly connected with an electric push rod, and one end of the electric push rod is fixedly connected with a connecting block, so One side of the connecting block is provided with a lamp post, the inner wall of the connecting block is fixedly connected with a spring, one end of the spring is fixedly connected to the limit plate, the upper surface of the connecting block is fixedly connected with a signal processor, the signal One side of the processor is fixedly connected with a connecting pipe, and one end of the connecting pipe is fixedly connected with a monitor. In the utility model, it is convenient for medical staff to observe the internal conditions of the patient's oral cavity and to disassemble and replace the lamp post.

Figure 202120327667

Description

Oral lamp for oral medical treatment
Technical Field
The utility model relates to the technical field of medical appliances, especially, relate to an oral cavity lamp for oral medical treatment.
Background
The department of stomatology is one of the medical discipline categories, and the major diseases of the department of stomatology include: oral cavity maxillofacial skin appearance, epidermis submaxillary space infection, maxillofacial lymphangioma, dentate process development deformity, maxillary sinus malignant tumor, jaw glost cell tumor, chronic ethmoid sinusitis, mandibular retraction, four-ring plain teeth, tongue leukoplakia and other diseases, and when oral cavity treatment and examination are carried out, an oral cavity lamp is needed, and the oral cavity lamp is a product for providing illumination during oral cavity surgery and diagnosis.
Present oral cavity lamp is mostly directly placed and is used on the platform, receives external collision like this when oral cavity lamp, will take place to empty the phenomenon to influence the normal use of oral cavity lamp, the lamp pole on it is not convenient for dismantle in addition present oral cavity lamp, and finally, long-time observation patient's oral cavity, under the highlight of oral cavity lamp is amazing, can cause medical personnel's eyestrain, like this medical personnel just can't real-time observation patient oral cavity's internal condition.
SUMMERY OF THE UTILITY MODEL
The utility model aims at solving the defects existing in the prior art and providing an oral lamp for oral medical treatment.
In order to achieve the above purpose, the utility model adopts the following technical scheme: an oral cavity lamp for oral cavity medical treatment comprises a base, wherein a placing cavity is formed in the upper surface of the base, a micro motor is fixedly connected to the inner wall of the placing cavity, a rotating shaft extends from one end of the micro motor, a telescopic rod is fixedly connected to the upper end of the rotating shaft, a placing block is fixedly connected to the upper end of the telescopic rod, an electric push rod is fixedly connected to the inner wall of the placing block, a connecting block is fixedly connected to one end of the electric push rod, and a lamp post is arranged on one side of the connecting block;
the spring is fixedly connected to the inner wall of the connecting block, one end of the spring is fixedly connected with the limiting plate, the upper surface of the connecting block is fixedly connected with the signal processor, one side of the signal processor is fixedly connected with the connecting pipe, one end of the connecting pipe is fixedly connected with the monitor, and one side of the monitor is fixedly connected with the monitoring probe;
the side fixedly connected with fixed block of base, one side fixedly connected with connecting rod of fixed block, the outer wall of connecting rod rotates and is connected with the sleeve, telescopic outer wall fixedly connected with connecting band.
As a further description of the above technical solution:
the number of connecting bands is two sets of, and two sets of connecting bands are axisymmetric distribution about the base.
As a further description of the above technical solution:
the upper surface of base is provided with the spout, the inner wall of spout is provided with the gyro wheel.
As a further description of the above technical solution:
the outer wall of the roller is provided with a supporting rod, and the supporting rod is fixedly connected with the telescopic rod.
As a further description of the above technical solution:
the front of the telescopic rod is provided with a fixing hole, and the back of the telescopic rod is provided with a control switch.
As a further description of the above technical solution:
the outer wall fixedly connected with fixing base of lamp pole, the last fixed surface fixedly connected with dead lever of fixing base.
As a further description of the above technical solution:
the upper end fixedly connected with of dead lever is solid fixed ring, gu fixed ring and connecting pipe fixed connection are in the same place.
As a further description of the above technical solution:
one end fixedly connected with card key of a set of connecting band, a set of the one end fixedly connected with draw-in groove of connecting band.
The utility model discloses following beneficial effect has:
1. the utility model discloses in, through the block of card key and draw-in groove, can carry out the centre gripping to the mouth cavity lamp and fix, can avoid the mouth cavity lamp directly to place and use on the platform, the bump leads to the lamp pole to take place to empty the phenomenon, has improved the stability when the mouth cavity lamp uses.
2. The utility model discloses in, it rotates to drive the lamp pole telescopic link through micro motor to drive the lamp pole and rotate, can carry out accurate regulation to the angle of lamp pole, thereby make the lamp pole be in a suitable use position.
3. The utility model discloses in, the telescopic link can be adjusted the position that the lamp pole was located, and then makes the oral cavity lamp be applicable to different patients, has improved its suitability, and electric putter can highly adjust the lamp pole in addition, makes the lamp pole be close to patient's oral cavity more, and the medical personnel of being convenient for observe the patient oral cavity condition.
4. The utility model discloses in, monitor can be real-time feeds back patient oral cavity condition to medical personnel, avoids medical personnel long-time staring patient oral cavity and takes place eyestrain to influence going on of medical treatment, the spring drives the limiting plate and fixes the lamp pole in addition, is convenient for dismantle the change to the lamp pole.
Drawings
Fig. 1 is a schematic structural view of an oral lamp for oral medical treatment according to the present invention;
FIG. 2 is an enlarged view taken at A in FIG. 1;
FIG. 3 is an enlarged view at B of FIG. 1;
fig. 4 is a perspective view of an oral lamp for oral medical treatment according to the present invention.
Illustration of the drawings:
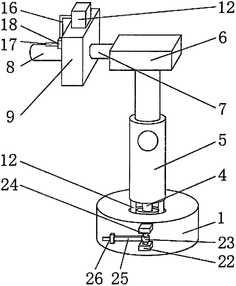
1. a base; 2. a placement chamber; 3. a micro motor; 4. a rotating shaft; 5. a telescopic rod; 6. placing the blocks; 7. an electric push rod; 8. a lamp post; 9. connecting blocks; 10. a roller; 11. a chute; 12. a support bar; 13. a fixed seat; 14. fixing the rod; 15. a fixing ring; 16. a connecting pipe; 17. monitoring the probe; 18. a monitor; 19. a limiting plate; 20. a spring; 21. a signal processor; 22. a fixed block; 23. a sleeve; 24. a connecting rod; 25. a connecting belt; 26. and (6) a card key.
Detailed Description
The technical solutions in the embodiments of the present invention will be described clearly and completely with reference to the accompanying drawings in the embodiments of the present invention, and it is obvious that the described embodiments are only some embodiments of the present invention, not all embodiments. Based on the embodiments in the present invention, all other embodiments obtained by a person skilled in the art without creative work belong to the protection scope of the present invention.
In the description of the present invention, it should be noted that the terms "center", "upper", "lower", "left", "right", "vertical", "horizontal", "inner", "outer", and the like indicate orientations or positional relationships based on the orientations or positional relationships shown in the drawings, and are only for convenience of description and simplification of description, but do not indicate or imply that the device or element referred to must have a specific orientation, be constructed and operated in a specific orientation, and thus, should not be construed as limiting the present invention; the terms "first," "second," and "third" are used for descriptive purposes only and are not to be construed as indicating or implying relative importance, and furthermore, unless otherwise explicitly stated or limited, the terms "mounted," "connected," and "connected" are to be construed broadly and may be, for example, fixedly connected, detachably connected, or integrally connected; can be mechanically or electrically connected; they may be connected directly or indirectly through intervening media, or they may be interconnected between two elements. The specific meaning of the above terms in the present invention can be understood in specific cases to those skilled in the art.
Referring to fig. 1-4, the present invention provides an embodiment: an oral cavity lamp for oral cavity medical treatment comprises a base 1, wherein a placing cavity 2 is arranged on the upper surface of the base 1, a micro motor 3 is fixedly connected to the inner wall of the placing cavity 2, the micro motor 3 drives a telescopic rod 5 to rotate, so that accurate angle adjustment of a lamp post 8 can be realized, the lamp post 8 is positioned at a proper using position, a rotating shaft 4 is arranged at one end of the micro motor 3 in an extending manner, the upper end of the rotating shaft 4 is fixedly connected with the telescopic rod 5, the telescopic rod 5 can adjust the position of the lamp post 8, the application range of the oral cavity lamp is improved, a fixing hole is formed in the front of the telescopic rod 5, a control switch is arranged on the reverse side of the telescopic rod 5, a placing block 6 is fixedly connected to the upper end of the telescopic rod 5, an electric push rod 7 is fixedly connected to the inner wall of the placing block 6, the electric push rod 7 can adjust the height of the lamp post 8, so that the lamp post 8 can illuminate the oral cavity of a patient more comprehensively, therefore, medical staff can conveniently observe the medical staff, one end of the electric push rod 7 is fixedly connected with the connecting block 9, one side of the connecting block 9 is provided with the lamp post 8, the upper surface of the base 1 is provided with the sliding groove 11, the inner wall of the sliding groove 11 is provided with the roller 10, the outer wall of the roller 10 is provided with the supporting rod 12, and the supporting rod 12 and the telescopic rod 5 are fixedly connected together;
the inner wall of the connecting block 9 is fixedly connected with a spring 20, the spring 20 drives a limiting plate 19 to move, clamping and fixing of the lamp post 8 can be achieved, the lamp post 8 is convenient to replace, one end of the spring 20 is fixedly connected with the limiting plate 19, the upper surface of the connecting block 9 is fixedly connected with a signal processor 21, one side of the signal processor 21 is fixedly connected with a connecting pipe 16, one end of the connecting pipe 16 is fixedly connected with a monitor 18, one side of the monitor 18 is fixedly connected with a monitoring probe 17, the monitoring probe 17 can monitor the interior of the oral cavity of a patient in real time, and is convenient for medical staff to treat the patient, the outer wall of the lamp post 8 is fixedly connected with a fixing seat 13, the upper surface of the fixing seat 13 is fixedly connected with a fixing rod 14, the upper end of the fixing rod 14 is fixedly connected with a fixing ring 15, and the fixing ring 15 and the connecting pipe 16 are fixedly connected together;
base 1's side fixedly connected with fixed block 22, one side fixedly connected with connecting rod 24 of fixed block 22, the outer wall of connecting rod 24 rotates and is connected with sleeve 23, sleeve 23's outer wall fixedly connected with connecting band 25, the quantity of connecting band 25 is two sets of, and two sets of connecting bands 25 are axisymmetric distribution about base 1, the one end fixedly connected with card key 26 of a set of connecting band 25, the one end fixedly connected with draw-in groove of a set of connecting band 25, the block of card key 26 and draw-in groove, it is fixed to be convenient for carry out the centre gripping with the oral cavity lamp, it leads to the oral cavity lamp to take place to rock to avoid directly placing the use, thereby influence the illumination effect of oral cavity lamp.
The working principle is as follows: firstly, a clamping key 26 at one end of one connecting band 25 is clamped with a clamping groove at one end of the other connecting band 25 to fix the oral cavity lamp, after the oral cavity lamp is fixed, the telescopic rod 5 is operated to adjust the position of the lamp post 8, after the lamp post 8 is adjusted to a proper position, the micro motor 3 is operated by a control switch to drive the lamp post 8 to rotate so as to enable the lamp post 8 to face the oral cavity of a patient, after the lamp post 8 faces the oral cavity of the patient, the electric push rod 7 is operated to drive the connecting block 9 and the lamp post 8 thereon to move up and down, so that the height of the lamp post 8 is adjusted, the lamp post 8 is enabled to be close to the oral cavity of the patient to facilitate observation of medical personnel, then, after the height adjustment of the lamp post 8 is completed, the monitoring probe 17 is operated by the control switch to feed back the monitored internal conditions of the oral cavity to the monitoring device 18, monitor 18 again gives signal processor 21 with signal transmission later, and later signal processor 21 shows received signal through the display screen to the condition of medical personnel real-time observation oral cavity inside, finally, use the completion back when the oral cavity lamp, take lamp pole 8 out from the inside of connecting block 9, and disinfect it, then untie card key 26 and draw-in groove, take off the oral cavity lamp from fixed position, accomplish collecting of oral cavity lamp.
Finally, it should be noted that: although the present invention has been described in detail with reference to the foregoing embodiments, it will be apparent to those skilled in the art that modifications and variations can be made in the embodiments or in part of the technical features of the embodiments without departing from the spirit and the scope of the invention.

Claims (8)

1.一种口腔医疗用口腔灯,包括底座(1),其特征在于:所述底座(1)的上表面设置有放置腔(2),所述放置腔(2)的内壁固定连接有微型电机(3),所述微型电机(3)的一端延伸设置有转轴(4),所述转轴(4)的上端固定连接有伸缩杆(5),所述伸缩杆(5)的上端固定连接有放置块(6),所述放置块(6)的内壁固定连接有电动推杆(7),所述电动推杆(7)的一端固定连接有连接块(9),所述连接块(9)的一侧设置有灯柱(8);1. An oral light for oral medical treatment, comprising a base (1), characterized in that: the upper surface of the base (1) is provided with a placement cavity (2), and the inner wall of the placement cavity (2) is fixedly connected with a micro A motor (3), one end of the micro motor (3) is extended with a rotating shaft (4), the upper end of the rotating shaft (4) is fixedly connected with a telescopic rod (5), and the upper end of the telescopic rod (5) is fixedly connected There is a placing block (6), the inner wall of the placing block (6) is fixedly connected with an electric push rod (7), and one end of the electric push rod (7) is fixedly connected with a connecting block (9), and the connecting block ( One side of 9) is provided with a lamp post (8); 所述连接块(9)的内壁固定连接有弹簧(20),所述弹簧(20)的一端固定连接有限位板(19),所述连接块(9)的上表面固定连接有信号处理器(21),所述信号处理器(21)的一侧固定连接有连接管(16),所述连接管(16)的一端固定连接有监测器(18),所述监测器(18)的一侧固定连接有监测探头(17);A spring (20) is fixedly connected to the inner wall of the connecting block (9), one end of the spring (20) is fixedly connected to a limiting plate (19), and a signal processor is fixedly connected to the upper surface of the connecting block (9). (21), a connecting pipe (16) is fixedly connected to one side of the signal processor (21), and a monitor (18) is fixedly connected to one end of the connecting pipe (16). A monitoring probe (17) is fixedly connected on one side; 所述底座(1)的侧面固定连接有固定块(22),所述固定块(22)的一侧固定连接有连接杆(24),所述连接杆(24)的外壁转动连接有套筒(23),所述套筒(23)的外壁固定连接有连接带(25)。A fixing block (22) is fixedly connected to the side of the base (1), a connecting rod (24) is fixedly connected to one side of the fixing block (22), and a sleeve is rotatably connected to the outer wall of the connecting rod (24). (23), the outer wall of the sleeve (23) is fixedly connected with a connecting band (25). 2.根据权利要求1所述的一种口腔医疗用口腔灯,其特征在于:所述连接带(25)的数量为两组,且两组所述连接带(25)关于底座(1)呈轴对称分布。2. An oral light for oral medical treatment according to claim 1, characterized in that: the number of the connecting belts (25) is two groups, and the two groups of the connecting belts (25) are arranged in a shape with respect to the base (1). Axisymmetric distribution. 3.根据权利要求1所述的一种口腔医疗用口腔灯,其特征在于:所述底座(1)的上表面设置有滑槽(11),所述滑槽(11)的内壁设置有滚轮(10)。3. An oral light for oral medical treatment according to claim 1, characterized in that: the upper surface of the base (1) is provided with a chute (11), and the inner wall of the chute (11) is provided with a roller (10). 4.根据权利要求3所述的一种口腔医疗用口腔灯,其特征在于:所述滚轮(10)的外壁设置有支撑杆(12),所述支撑杆(12)和伸缩杆(5)固定连接在一起。4. The dental light for oral medical treatment according to claim 3, characterized in that: the outer wall of the roller (10) is provided with a support rod (12), the support rod (12) and the telescopic rod (5) fixed together. 5.根据权利要求1所述的一种口腔医疗用口腔灯,其特征在于:所述伸缩杆(5)的正面设置有固定孔,所述伸缩杆(5)的反面设置有控制开关。5 . The dental light for oral medical treatment according to claim 1 , wherein a fixing hole is provided on the front side of the telescopic rod ( 5 ), and a control switch is provided on the back side of the telescopic rod ( 5 ). 6 . 6.根据权利要求1所述的一种口腔医疗用口腔灯,其特征在于:所述灯柱(8)的外壁固定连接有固定座(13),所述固定座(13)的上表面固定连接有固定杆(14)。6 . The dental light for oral medical treatment according to claim 1 , wherein a fixing seat ( 13 ) is fixedly connected to the outer wall of the lamp post ( 8 ), and the upper surface of the fixing seat ( 13 ) is fixed on the upper surface. 7 . A fixing rod (14) is connected. 7.根据权利要求6所述的一种口腔医疗用口腔灯,其特征在于:所述固定杆(14)的上端固定连接有固定环(15),所述固定环(15)和连接管(16)固定连接在一起。7 . The dental light for oral medical treatment according to claim 6 , wherein a fixing ring ( 15 ) is fixedly connected to the upper end of the fixing rod ( 14 ), and the fixing ring ( 15 ) and the connecting pipe ( 16) Fixed connection together. 8.根据权利要求2所述的一种口腔医疗用口腔灯,其特征在于:一组所述连接带(25)的一端固定连接有卡键(26),一组所述连接带(25)的一端固定连接有卡槽。8. The dental light for oral medical treatment according to claim 2, characterized in that: one end of a set of said connecting strips (25) is fixedly connected with a latch (26), and one set of said connecting strips (25) One end is fixedly connected with a card slot.
CN202120327667.8U 2021-02-01 2021-02-01 Oral lamp for oral medical treatment Expired - Fee Related CN214147783U (en)

Priority Applications (1)

Application Number Priority Date Filing Date Title
CN202120327667.8U CN214147783U (en) 2021-02-01 2021-02-01 Oral lamp for oral medical treatment

Applications Claiming Priority (1)

Application Number Priority Date Filing Date Title
CN202120327667.8U CN214147783U (en) 2021-02-01 2021-02-01 Oral lamp for oral medical treatment

Publications (1)

Publication Number Publication Date
CN214147783U true CN214147783U (en) 2021-09-07

Family

ID=77553601

Family Applications (1)

Application Number Title Priority Date Filing Date
CN202120327667.8U Expired - Fee Related CN214147783U (en) 2021-02-01 2021-02-01 Oral lamp for oral medical treatment

Country Status (1)

Country Link
CN (1) CN214147783U (en)

Similar Documents

Publication Publication Date Title
CN111956174A (en) Oral cavity examination device for department of stomatology
CN215993909U (en) Department of stomatology uses oral cavity distraction device
CN201558191U (en) Dental therapeutic equipment
CN210300931U (en) A stomatology detector
CN214147783U (en) Oral lamp for oral medical treatment
CN214966881U (en) Traditional chinese medical science clinical examination device
CN211270647U (en) Oral cavity inspector for oral cavity department
CN111035527A (en) A micro-dental comprehensive treatment machine
CN211633210U (en) Tongue depressor for pediatric examination
CN111481160A (en) Children's dentistry inspection system
CN119423666A (en) An oral opening device suitable for clinical use in stomatology
CN215191399U (en) A lighting device for oral medicine treatment
CN207708014U (en) A kind of laparoscope fixed frame
CN209464284U (en) A kind of modified dental care apparatus
CN213097779U (en) Multifunctional oral cavity peep mirror
CN213030615U (en) Department of gastroenterology scope props a mouthful fixing device
CN214511110U (en) Department of stomatology is with having portable adjustable oral cavity fixing device
CN114176494A (en) Oral cavity pathological change tissue observation apparatus
CN212438550U (en) Oral cavity supporting device for children breath examination
CN209966418U (en) Wireless probe type ultrasonic diagnostic apparatus
CN210810916U (en) Hand-operated tongue pressing device for pediatric oral cavity
CN109008923B (en) Adjustable mouth opener for assisting imaging equipment in observing oral soft tissues
CN223054574U (en) Auxiliary tool for removing and wearing removable false teeth
CN221671634U (en) A tongue tissue safety isolation device used in conjunction with a children's dental mouth mirror
CN216777044U (en) Clinical diagnostic device of department of stomatology

Legal Events

Date Code Title Description
GR01 Patent grant
GR01 Patent grant
CF01 Termination of patent right due to non-payment of annual fee

Granted publication date: 20210907

CF01 Termination of patent right due to non-payment of annual fee