CN214118975U - Anti-icing valve tap - Google Patents

Anti-icing valve tap Download PDF

Info

Publication number
CN214118975U
CN214118975U CN202023131344.6U CN202023131344U CN214118975U CN 214118975 U CN214118975 U CN 214118975U CN 202023131344 U CN202023131344 U CN 202023131344U CN 214118975 U CN214118975 U CN 214118975U
Authority
CN
China
Prior art keywords
inlet tube
wall
water
pipe
water inlet
Prior art date
Legal status (The legal status is an assumption and is not a legal conclusion. Google has not performed a legal analysis and makes no representation as to the accuracy of the status listed.)
Expired - Fee Related
Application number
CN202023131344.6U
Other languages
Chinese (zh)
Inventor
刘勇
Current Assignee (The listed assignees may be inaccurate. Google has not performed a legal analysis and makes no representation or warranty as to the accuracy of the list.)
Chengdu Rijin Metallurgical Forging Co ltd
Original Assignee
Chengdu Rijin Metallurgical Forging Co ltd
Priority date (The priority date is an assumption and is not a legal conclusion. Google has not performed a legal analysis and makes no representation as to the accuracy of the date listed.)
Filing date
Publication date
Application filed by Chengdu Rijin Metallurgical Forging Co ltd filed Critical Chengdu Rijin Metallurgical Forging Co ltd
Priority to CN202023131344.6U priority Critical patent/CN214118975U/en
Application granted granted Critical
Publication of CN214118975U publication Critical patent/CN214118975U/en
Expired - Fee Related legal-status Critical Current
Anticipated expiration legal-status Critical

Links

Images

Landscapes

  • Water Treatment By Sorption (AREA)

Abstract

本实用新型公开了一种防结冰的阀门龙头,包括进水管、与进水管的顶端固定安装的出水管和套设固定在出水管内壁的内嵌管,所述内嵌管的出水口开设在其远离进水管一侧的底壁,所述出水管顶壁远离出水口的一侧安装有衔接头,并在衔接头内螺纹套有伸入进水管内腔中的升降杆,所述进水管内腔中设有竖直剖面呈梯形的第一封闭塞和第二封闭塞,所述进水管外壁套设焊接有保护套,且进水管内还设有除味组件,所述升降杆上设有两个清理组件,所述进水管外壁安装有法兰盘。该防结冰的阀门龙头,卸下两个弧形盖板上的螺丝后即可取出封块、外框架和活性炭板,并对活性炭板进行更换,使其可长时间进行水中异味和固体悬浮物的吸收,保证了水的品质。

Figure 202023131344

The utility model discloses an anti-icing valve faucet, which comprises a water inlet pipe, a water outlet pipe fixedly installed with the top of the water inlet pipe, and an inlaid pipe sleeved and fixed on the inner wall of the water outlet pipe, and the water outlet of the inlaid pipe is provided with On the bottom wall of the side away from the water inlet pipe, the side of the top wall of the water outlet pipe away from the water outlet is installed with a joint, and the inner thread of the joint is sleeved with a lifting rod extending into the inner cavity of the water inlet. The inner cavity of the water pipe is provided with a first sealing plug and a second sealing plug with a trapezoidal vertical section, a protective sleeve is sleeved and welded on the outer wall of the water inlet pipe, and a deodorant component is also arranged in the water inlet pipe, and the lifting rod is mounted on the There are two cleaning assemblies, and the outer wall of the water inlet pipe is provided with a flange plate. For the anti-icing valve faucet, after removing the screws on the two arc-shaped cover plates, the sealing block, the outer frame and the activated carbon plate can be taken out, and the activated carbon plate can be replaced, so that it can be used for odor and solid suspension in water for a long time. The absorption of substances ensures the quality of water.

Figure 202023131344

Description

Anti-icing valve tap
Technical Field
The utility model belongs to the technical field of the valve tap, concretely relates to anti-icing valve tap.
Background
The valve tap is a popular name of a water valve, is used for controlling the size of water flow to be switched on and off, and has the effect of saving water. The valve faucet has a very fast updating speed, and develops from an old cast iron process to an electroplating knob type, and also develops to a stainless steel single-temperature single-control valve faucet, a stainless steel double-temperature double-control valve faucet and a kitchen semi-automatic valve faucet. The current consumers purchase valve faucets, and the valve faucets are comprehensively considered from the aspects of materials, functions, shapes and the like.
The prior valve faucet can not treat water in a water inlet pipe, so that peculiar smell and suspended solids in the water can not be treated, and the water quality is general; after the valve faucet is used for a long time, solid sundries can be condensed at an overflow position sealed by the sealing plug inside the valve faucet, and the sealing plug cannot completely seal the overflow position, so that the valve faucet leaks water.
SUMMERY OF THE UTILITY MODEL
An object of the utility model is to provide an anti-icing valve tap to solve the problem that proposes among the above-mentioned background art.
In order to achieve the above object, the utility model provides a following technical scheme: the utility model provides an anti-icing valve tap, includes the inlet tube, establishes the embedded pipe of fixing at the outlet tube inner wall with the outlet pipe and the cover of the top fixed mounting of inlet tube, the diapire of embedded pipe is seted up at it and is kept away from inlet tube one side, the outlet pipe roof is kept away from one side of delivery port and is installed the adapter to at the adapter thread bush have the lifter that stretches into in the inlet tube inner chamber, be equipped with vertical section in the inlet tube inner chamber and be trapezoidal first closed stopper and second closed stopper, the welding has been established to the outer wall cover of inlet tube, and still is equipped with in the inlet tube and removes the flavor subassembly, be equipped with two clearance subassemblies on the lifter, the ring flange is installed to the inlet tube outer wall.
Preferably, the first sealing plug and the second sealing plug are coaxially welded with the lifting rod and are clamped and sealed with the openings of the two trapezoidal overflow positions in the inner cavity of the water inlet pipe respectively, and the top end of the lifting rod is provided with a hand-screwed cover.
Preferably, be equipped with the vacuum layer that encircles the inlet tube in the protective sheath, and vacuum layer is embedded to bond towards one side of inlet tube has and is the asbestos board that leaks hopper-shaped.
Preferably, remove the flavor subassembly and include that two symmetries are established at the activated carbon plate of lifter both sides and respectively with two outer frames of two activated carbon plate outer wall welded fastening, and two a terminal surface that the lifter was kept away from to outer frame all fixed welding has the sealing block.
Preferably, two all the welding has the arc apron of inlaying installation on inlet tube outer wall surface, every on the arc apron equal symmetry is equipped with two screws that pass its both sides and penetrate the inside of inlet tube, and the rubber sleeve that bonding has with the inseparable laminating of inlet tube is established to the cover of seal block outer wall, vacuum layer and asbestos board are all divided into two parts by seal block and outer frame.
Preferably, the cleaning assembly comprises two extension rods symmetrically welded on two sides of the outer wall of the lifting rod, positioning blocks respectively welded on two extension rods far away from one end face of each extension rod, and wiping rings welded with the two positioning blocks, wherein the wiping rings are attached to the inner wall of the water inlet pipe, and the wiping rings are respectively positioned under the first sealing plug and the second sealing plug.
The utility model discloses a technological effect and advantage: according to the anti-icing valve faucet, the peculiar smell and the solid suspended matters in water in the water inlet pipe are absorbed by the two activated carbon plates, so that the water quality of the water entering the water outlet pipe from the water inlet pipe and used by people is higher, the texture is better, the sealing block, the outer frame and the activated carbon plates can be taken out after the screws on the two arc-shaped cover plates are dismounted, the activated carbon plates are replaced, the peculiar smell and the solid suspended matters in the water can be absorbed for a long time, and the water quality is ensured; when people use water, the manual screw cover is screwed, the lifting rod rotates along with the manual screw cover and drives the extension rods of the two cleaning components to rotate, the two cleaning rings rotate along with the manual screw cover and clean the inner walls of the two trapezoidal overflow parts in the inner cavity of the water inlet pipe in real time, and water leakage caused by the fact that the two sealing plugs cannot completely seal the overflow parts due to the fact that solid impurities are condensed on the inner walls of the overflow parts of the water inlet pipe is avoided; through having set up protective sheath, vacuum layer and asbestos board, because vacuum environment and asbestos all have good thermal-insulated effect for water in the inlet pipe is difficult to freeze, also can guarantee user's water supply winter.
Drawings
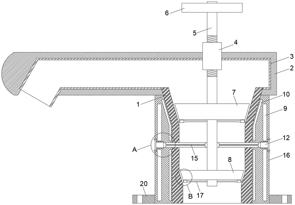
Fig. 1 is a vertical cross-sectional view of the present invention;
fig. 2 is an enlarged schematic view of the structure at a in fig. 1 according to the present invention;
fig. 3 is an enlarged schematic view of the structure at B in fig. 1 according to the present invention.
In the figure: 1. a water inlet pipe; 2. a water outlet pipe; 3. embedding a tube; 4. an adaptor head; 5. a lifting rod; 6. manually screwing the cover; 7. a first closing plug; 8. a second closure plug; 9. a vacuum layer; 10. an asbestos sheet; 11. an arc-shaped cover plate; 12. sealing blocks; 13. a rubber sleeve; 14. an outer frame; 15. an activated carbon plate; 16. a protective sleeve; 17. an extension bar; 18. positioning blocks; 19. a wiping ring; 20. a flange plate.
Detailed Description
The technical solutions in the embodiments of the present invention will be described clearly and completely with reference to the accompanying drawings in the embodiments of the present invention, and it is obvious that the described embodiments are only some embodiments of the present invention, not all embodiments. Based on the embodiments in the present invention, all other embodiments obtained by a person skilled in the art without creative work belong to the protection scope of the present invention.
The utility model provides an anti-icing valve tap as shown in figures 1-3, which comprises a water inlet pipe 1, a water outlet pipe 2 fixedly arranged on the top end of the water inlet pipe 1, and an embedded pipe 3 sleeved on the inner wall of the water outlet pipe 2, wherein the water outlet of the embedded pipe 3 is arranged on the bottom wall of the water outlet pipe which is far away from one side of the water inlet pipe 1, one side of the top wall of the water outlet pipe 2 which is far away from the water outlet is provided with an adapter 4, a lifting rod 5 extending into the inner cavity of the water inlet pipe 1 is sleeved in the adapter 4, a first sealing plug 7 and a second sealing plug 8 which are trapezoidal in vertical section are arranged in the inner cavity of the water inlet pipe 1, a protective sleeve 16 is welded on the outer wall of the water inlet pipe 1, a deodorizing component is also arranged in the water inlet pipe 1, two cleaning components are arranged on the lifting rod 5, a flange 20 is arranged on the outer wall of the water inlet pipe 1, and a plurality of screw holes distributed along the vertical central line of the screw holes in a circumferential array are arranged on the flange 20, for connecting the water inlet pipe 1 with a tap water pipe.
Specifically, first closing plug 7 and second closing plug 8 all with lifter 5 coaxial welding to it is sealed with two trapezoidal overflow department openings block in the inlet tube 1 inner chamber respectively, hand screw cap 6 is installed on lifter 5 top.
Specifically, be equipped with in the protective sheath 16 and encircle the vacuum layer 9 of inlet tube 1, and vacuum layer 9 is embedded to bond towards one side of inlet tube 1 has and is hopper-shaped asbestos board 10, and vacuum layer 9 and asbestos board 10 all play thermal-insulated effect, consequently make the water in the outlet pipe 1 hardly freeze.
Specifically, remove the flavor subassembly and include that two symmetries are established at the activated carbon plate 15 of lifter 5 both sides and respectively with two outer frame 14 of two activated carbon plate 15 outer wall welded fastening, and two outer frame 14 keeps away from a terminal surface of lifter 5 and all fixedly welded has a sealing block 12, but activated carbon plate 15 absorbs the peculiar smell and the suspended solid of water for water quality is higher.
It is specific, two equal welding has the arc apron 11 of inlaying installation on 1 outer wall surface of inlet tube on the seal block 12, and arc apron 11 is around inlet tube 1's outer wall, and cover 11 through the arc and can make seal block 12, outer frame 14 and activated carbon plate 15 install and dismantle, every equal symmetry is equipped with two screws that pass its both sides and penetrate 1 inside of inlet tube on the arc apron 11, and seal block 12 outer wall cover is established to bond and is had the rubber sleeve 13 of closely laminating with inlet tube 1, vacuum layer 9 and asbestos board 10 are all divided into two parts by seal block 12 and outer frame 14.
Specifically, the cleaning assembly comprises two extension bars 17 symmetrically welded on two sides of the outer wall of the lifting rod 5, positioning blocks 18 respectively welded on two extension bars 17 and a wiping ring 19 welded with the two positioning blocks 18, wherein the two positioning blocks 18 are far away from one end face of each extension bar 17, the two wiping rings 19 are respectively attached to the inner wall of the water inlet pipe 1, the two wiping rings 19 are respectively positioned under the first sealing plug 7 and the second sealing plug 8, and when the two sealing plugs respectively seal two overflow positions, the two wiping rings 19 are just attached to the inner wall of the water inlet pipe 1, so that solid sundries are prevented from being condensed at the attaching positions.
The using method comprises the following steps: when the anti-icing valve faucet is used, a person holds the hand screw cover 6 and rotates the hand screw cover, so that the lifting rod 5 rotates along with the hand screw cover in the adaptor 4, the first sealing plug 7 and the second sealing plug 8 can rotate along with the hand screw cover and open two overflow positions, and water passes through the water outlet pipe 2 and is discharged from the water outlet on the bottom wall of the embedded pipe 3 to be used by people; when the lifting rod 5 rotates, the lifting rod drives the extension rods 17 (four in total) of the two cleaning components to rotate, so that the two wiping rings 19 perform certain rotary wiping at two overflow positions on the inner wall of the water inlet pipe 1, and the overflow positions cannot be sealed by the first sealing plug 7 and the second sealing plug 8 due to the fact that solid impurities cannot be condensed at the two overflow positions; the water in the water inlet pipe 1 is treated under the action of the two activated carbon plates 15, peculiar smell in the water is absorbed, suspended solids are also absorbed, personnel also need to close a main valve of the water regularly to cut off the water in the water inlet pipe 1, remove screws on the two arc-shaped cover plates 11, take out the two sealing blocks 12, the outer frame 14 and the activated carbon plates 15, and replace the two activated carbon plates 15; in winter, the vacuum layer 9 and the asbestos plate 10 both have a heat insulation effect, so that external low temperature hardly enters the inner cavity of the water inlet pipe 1 through the protective sleeve 16 and the water inlet pipe 1 to freeze water.
Finally, it should be noted that: although the present invention has been described in detail with reference to the foregoing embodiments, it will be apparent to those skilled in the art that modifications and variations can be made in the embodiments or in part of the technical features of the embodiments without departing from the spirit and the scope of the invention.

Claims (6)

1. The utility model provides an anti-icing valve tap, includes inlet tube (1), establishes embedded pipe (3) fixed at outlet tube (2) inner wall with outlet tube (2) and the cover of the top fixed mounting of inlet tube (1), the diapire of keeping away from inlet tube (1) one side at it is seted up to the delivery port of embedded pipe (3), its characterized in that: one side that the delivery port was kept away from to outlet pipe (2) roof is installed adapter (4) to at adapter (4) internal thread bush have lifter (5) that stretch into in inlet tube (1) inner chamber, it is trapezoidal first closed stopper (7) and second closed stopper (8) to be equipped with vertical section in inlet tube (1) inner chamber, the welding is established to inlet tube (1) outer wall cover has protective sheath (16), and still is equipped with in inlet tube (1) and removes the flavor subassembly, be equipped with two clearance subassemblies on lifter (5), ring flange (20) are installed to inlet tube (1) outer wall.
2. An anti-icing valve faucet as claimed in claim 1, wherein: first closed stopper (7) and second closed stopper (8) all with lifter (5) coaxial welding to it is sealed with two trapezoidal overflow department openings block in inlet tube (1) inner chamber respectively, hand twist cap (6) are installed on lifter (5) top.
3. An anti-icing valve faucet as claimed in claim 1, wherein: be equipped with in protective sheath (16) and encircle vacuum layer (9) of inlet tube (1), and vacuum layer (9) are towards embedded bonding of one side of inlet tube (1) have and are hopper-shaped asbestos board (10).
4. An anti-icing valve faucet as claimed in claim 3, wherein: remove the flavor subassembly and include that two symmetries are established at activated carbon plate (15) of lifter (5) both sides and respectively with two outer frame (14) of two activated carbon plate (15) outer wall welded fastening, and two the equal fixed welding of a terminal surface that lifter (5) were kept away from in outer frame (14) has a sealing block (12).
5. An anti-icing valve faucet as claimed in claim 4, wherein: two it inlays and installs arc apron (11) at inlet tube (1) outer wall surface, every all to weld on seal block (12) equal symmetry is equipped with two screws that pass its both sides and penetrate inlet tube (1) inside on arc apron (11), and seal block (12) outer wall cover is established and is bonded rubber sleeve (13) that have and closely laminate with inlet tube (1), vacuum layer (9) and asbestos board (10) are all divided into two parts by seal block (12) and outer frame (14).
6. An anti-icing valve faucet as claimed in claim 1, wherein: the cleaning assembly comprises two extension rods (17) symmetrically welded on two sides of the outer wall of the lifting rod (5), positioning blocks (18) respectively welded on two extension rods (17) and wiping rings (19) welded with the two positioning blocks (18), wherein the two extension rods are far away from one end face of each other, the wiping rings (19) are attached to the inner wall of the water inlet pipe (1), and the two wiping rings (19) are respectively located under the first sealing plug (7) and the second sealing plug (8).
CN202023131344.6U 2020-12-23 2020-12-23 Anti-icing valve tap Expired - Fee Related CN214118975U (en)

Priority Applications (1)

Application Number Priority Date Filing Date Title
CN202023131344.6U CN214118975U (en) 2020-12-23 2020-12-23 Anti-icing valve tap

Applications Claiming Priority (1)

Application Number Priority Date Filing Date Title
CN202023131344.6U CN214118975U (en) 2020-12-23 2020-12-23 Anti-icing valve tap

Publications (1)

Publication Number Publication Date
CN214118975U true CN214118975U (en) 2021-09-03

Family

ID=77513859

Family Applications (1)

Application Number Title Priority Date Filing Date
CN202023131344.6U Expired - Fee Related CN214118975U (en) 2020-12-23 2020-12-23 Anti-icing valve tap

Country Status (1)

Country Link
CN (1) CN214118975U (en)

Similar Documents

Publication Publication Date Title
CN103871715B (en) transformer oil circulation purifier
CN214118975U (en) Anti-icing valve tap
CN222772853U (en) A quick-release bathroom faucet
CN110762269B (en) A mechanical hydraulic valve that is easy to clean and disassemble
CN204961959U (en) Water route change -over valve and water purifier that has water route change -over valve
CN202813789U (en) Drainage device and electric water heater
CN216112212U (en) Higher multi-functional tap of feature of environmental protection
CN218326432U (en) Take temperature display's filtration tap
CN215763618U (en) Valve self-cleaning device convenient for cleaning impurities
CN203839166U (en) Circulatory purifier for transformer oil
CN217698114U (en) Heat preservation water tank with filtering component
CN219209188U (en) Water purification filter element and water purification device thereof
CN118771531B (en) Direct drinking water purifying and sterilizing equipment and sterilizing method
CN208684585U (en) A sewage treatment device for water recycling
CN216158406U (en) Heightening basin faucet with stainless steel gland
CN205164283U (en) Easily clean formula tap's filter unit
CN220142804U (en) Interception and filtration device for improving water quality
CN223747097U (en) A biochemical wastewater pretreatment equipment
CN219461017U (en) Intelligent closestool
CN221348171U (en) Bath tap capable of controlling water temperature
CN216242323U (en) Faucet with good sealing performance
CN217526522U (en) An industrial sewage treatment device with self-cleaning function
CN211501708U (en) A new type of silk gate valve
CN216379848U (en) Municipal drainage pipeline with prevent stifled function
CN223622350U (en) Novel faucet

Legal Events

Date Code Title Description
GR01 Patent grant
GR01 Patent grant
CF01 Termination of patent right due to non-payment of annual fee
CF01 Termination of patent right due to non-payment of annual fee

Granted publication date: 20210903