CN214114347U - PET sheet winding device - Google Patents

PET sheet winding device Download PDF

Info

Publication number
CN214114347U
CN214114347U CN202023310189.4U CN202023310189U CN214114347U CN 214114347 U CN214114347 U CN 214114347U CN 202023310189 U CN202023310189 U CN 202023310189U CN 214114347 U CN214114347 U CN 214114347U
Authority
CN
China
Prior art keywords
fixedly connected
pet sheet
folding rod
shell
rod
Prior art date
Legal status (The legal status is an assumption and is not a legal conclusion. Google has not performed a legal analysis and makes no representation as to the accuracy of the status listed.)
Expired - Fee Related
Application number
CN202023310189.4U
Other languages
Chinese (zh)
Inventor
周志恒
Current Assignee (The listed assignees may be inaccurate. Google has not performed a legal analysis and makes no representation or warranty as to the accuracy of the list.)
Chongqing Hengyuanrui Plastic Products Co ltd
Original Assignee
Chongqing Hengyuanrui Plastic Products Co ltd
Priority date (The priority date is an assumption and is not a legal conclusion. Google has not performed a legal analysis and makes no representation as to the accuracy of the date listed.)
Filing date
Publication date
Application filed by Chongqing Hengyuanrui Plastic Products Co ltd filed Critical Chongqing Hengyuanrui Plastic Products Co ltd
Priority to CN202023310189.4U priority Critical patent/CN214114347U/en
Application granted granted Critical
Publication of CN214114347U publication Critical patent/CN214114347U/en
Expired - Fee Related legal-status Critical Current
Anticipated expiration legal-status Critical

Links

Images

Landscapes

  • Housing For Livestock And Birds (AREA)

Abstract

本实用新型公开了PET片材收卷装置,涉及PET片材收卷技术领域,包括底座,所述底座顶部固定连接有壳体,所述壳体中间位置一侧转动连接有收卷辊,所述壳体顶部靠收卷辊上方固定连接有限位板,所述限位板沿竖直方向滑动连接有连接折杆,所述连接折杆底部固定连接有弧形夹板,所述连接折杆顶部一侧固定连接有右从动杆。本实用新型壳体于沿限位板竖直方向通过连接折杆滑动连接有弧形夹板,收卷辊在收卷PET卷材时端面直径不断变大不断推动弧形夹板向上移动,当弧形夹板上移所预设的位置时,连接折杆通过右驱动杆底部的右齿杆、换向齿轮以及左齿杆相互配合带动主切刃对PET板材进行切断,从而保证了单次绕卷在收卷辊上的PET板材为定量。

Figure 202023310189

The utility model discloses a PET sheet winding device, which relates to the technical field of PET sheet winding. The top of the casing is fixedly connected with a limit plate above the winding roller, the limit plate is slidably connected with a connecting folding rod in the vertical direction, the bottom of the connecting folding rod is fixedly connected with an arc-shaped splint, and the top of the connecting folding rod is connected A right driven rod is fixedly connected on one side. The casing of the utility model is slidably connected with an arc-shaped splint along the vertical direction of the limiting plate through a connecting folding rod, and the diameter of the end face of the winding roller continuously increases when winding the PET coil, and continuously pushes the arc-shaped splint to move upward. When the splint moves to the preset position, the connecting and folding rod drives the main cutting edge to cut the PET sheet through the cooperation of the right toothed rod, the reversing gear and the left toothed rod at the bottom of the right driving rod, thus ensuring a single winding in the PET sheet. The PET sheet on the take-up roll is quantitative.

Figure 202023310189

Description

PET sheet winding device
Technical Field
The utility model relates to a PET sheet rolling technical field especially relates to PET sheet coiling mechanism.
Background
PET sheet is a new plastic product newly developed in recent years, produced by a series of compression polymerization processes using high precision machinery, whose transparency can be changed in real time according to its specific requirements, and can be also put as a decoration in our home or office due to its good ductility and plasticity.
The existing PET winding device lacks a quantitative cutting structure for winding a certain required amount of the winding roller, and when the winding roller in the PET winding device winds a certain amount, the amount of the PET plates wound on the winding roller is observed only by manpower and then the PET plate winding roller is stopped, so that the PET plate amount wound at a single time is very easily different.
SUMMERY OF THE UTILITY MODEL
The utility model aims at solving and lacking the structure of cutting off after the ration to the take-up roll certain required amount among the current PET coiling mechanism among the prior art, when the rolling of the take-up roll among the PET coiling mechanism was a certain amount, only through the PET panel volume of rolling on the artifical observation take-up roll then stop PET panel take-up roll, very easily lead to the different problem of the PET panel volume of single rolling, and the PET sheet coiling mechanism who provides.
In order to achieve the above purpose, the utility model adopts the following technical scheme:
PET sheet coiling mechanism, the on-line screen storage device comprises a base, base top fixedly connected with casing, casing intermediate position one side is rotated and is connected with the wind-up roll, the casing top leans on wind-up roll top fixedly connected with limiting plate, the limiting plate has the connection folding rod along vertical direction sliding connection, connect folding rod bottom fixedly connected with arc splint, connect folding rod top one side fixedly connected with right driven lever, the casing leans on right driven lever bottom one side to rotate and is connected with reversing gear, the casing leans on reversing gear one side to have the drive block along vertical direction sliding connection, the main sword of cutting of drive block bottom fixedly connected with, the casing bottom leans on main sword below fixedly connected with lower shoe of cutting, the supplementary sword of cutting of lower shoe top fixedly connected with.
Optionally, a right rack bar is fixedly connected to one side, close to the reversing gear, of the right driven bar, and the length of the right rack bar is one fifth of the length of the right driven bar.
Optionally, a driving motor is fixedly connected to one side of the bottom of the shell, a belt transmission mechanism is connected to the output end of the driving motor, and the top of the belt transmission mechanism is fixedly connected to the rotating shaft of the winding roller.
Optionally, the housing is rotatably connected with guide wheels near the bottom of the main cutting edge, and the number of the guide wheels is four.
Optionally, connect the flexible cover of folding rod bottom by arc splint top and be equipped with the tight spring in top, tight spring top fixed connection in limiting plate bottom in top.
Optionally, one side of the driving block close to the reversing gear is fixedly connected with a left toothed bar, and the length of the left toothed bar is set to be two thirds of that of the driving block.
Compared with the prior art, the utility model discloses possess following advantage:
1. the utility model discloses the casing is in along the vertical direction of limiting plate through connecting a folding rod sliding connection with arc splint, and the continuous grow of terminal surface diameter constantly promotes arc splint rebound when rolling PET coiled material of wind-up roller, when arc splint shift up the position of predetermineeing, connects a right ratch, reversing gear and a left ratch that the folding rod passes through right actuating lever bottom and mutually supports and drive main cutting edge and cut off PET panel to it is the ration to have guaranteed that the single is around the PET panel of book on the wind-up roller.
2. Four guide wheels are rotatably arranged on one side of the middle position of the shell, the guide wheels which are symmetrically arranged in pairs guide the PET plates entering the device to be in a horizontal state, and the main cutting edge and the auxiliary cutting edge can conveniently cut the PET plates.
Drawings
FIG. 1 is a schematic view of the overall structure of the present invention;
fig. 2 is a partial structural view at a in fig. 1.
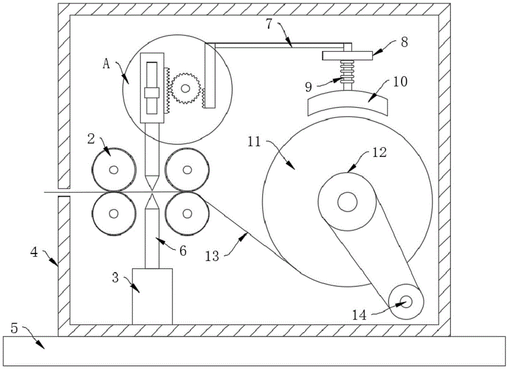
In the figure: the automatic winding machine comprises a right driven rod 1, a guide wheel 2, a lower supporting block 3, a shell 4, a base 5, an auxiliary cutting edge 6, a connecting folding rod 7, a limiting plate 8, a jacking spring 9, an arc-shaped clamping plate 10, a winding roller 11, a belt transmission mechanism 12, a PET sheet 13, a driving motor 14, a driving block 15, a main cutting edge 16, a reversing gear 17, a left toothed bar 18 and a right toothed bar 19.
Detailed Description
The technical solutions in the embodiments of the present invention will be described clearly and completely with reference to the accompanying drawings in the embodiments of the present invention, and it is obvious that the described embodiments are only some embodiments of the present invention, not all embodiments.
Referring to fig. 1-2, the PET sheet winding device comprises a base 5, a housing 4 is fixedly connected to the top of the base 5, a winding roller 11 is rotatably connected to one side of the middle position of the housing 4, a driving motor 14 is fixedly connected to one side of the bottom of the housing 4, the type of the driving motor 14 is selected to be Y80M1-1, the output end of the driving motor 14 is connected with a belt transmission mechanism 12, the top of the belt transmission mechanism 12 is fixedly connected to the rotating shaft of the winding roller 11, a limiting plate 8 is fixedly connected to the top of the housing 4 above the winding roller 11, the limiting plate 8 is slidably connected with a connecting folding rod 7 along the vertical direction, an arc-shaped clamping plate 10 is fixedly connected to the bottom of the connecting folding rod 7, a jacking spring 9 is movably sleeved at the bottom of the connecting folding rod 7 above the arc-shaped clamping plate 10, the top of the jacking spring 9 is fixedly connected to the bottom of the limiting plate 8, and a right rod 1 is fixedly connected to one side of the top of the connecting folding rod 7, a right toothed bar 19 is fixedly connected to one side, close to the reversing gear 17, of the right driven bar 1, the length of the right toothed bar 19 is one fifth of the length of the right driven bar 1, the reversing gear 17 is rotatably connected to one side, close to the bottom of the right driven bar 1, of the shell 4, and the reversing gear 17 is used for enabling the main cutting edge 16 to move downwards when the connecting folding bar 7 moves upwards; casing 4 leans on reversing gear 17 one side to have drive block 15 along vertical direction sliding connection, drive block 15 leans on reversing gear 17 one side fixedly connected with left rack bar 18, the length of left rack bar 18 sets up to two-thirds of drive block 15, drive block bottom fixedly connected with owner cuts sword 16, casing 4 leans on owner to cut sword 16 bottom and rotates and be connected with leading wheel 2, the quantity of leading wheel 2 sets up to four, casing 4 bottom leans on owner to cut sword 16 below fixedly connected with lower shoe 3, the supplementary sword 6 of cutting of 3 top fixedly connected with of lower shoe.
The working principle is as follows:
this device is when using, initial condition is with PET panel on wind-up roll 11 through 2 final windings of leading wheel, start driving motor 14 and drive wind-up roll 11 rotation through belt drive mechanism 12 and carry out the rolling to PET panel, wind-up roll 11 constantly promotes arc splint 10 and upwards removes in the grow of terminal surface diameter when the rolling PET coiled material, when arc splint 10 shifts up the position of predetermineeing, connect the right rack bar 19 of folding rod 7 through right actuating lever 1 bottom and drive reversing gear 17 counter-clockwise turning as the picture, reversing gear 17 drives left rack bar 18 and mutually supports and drive main cutting edge 15 and move down and mutually support 16 mutually to cooperate and cut off PET panel.
The above, only be the concrete implementation of the preferred embodiment of the present invention, but the protection scope of the present invention is not limited thereto, and any person skilled in the art is in the technical scope of the present invention, according to the technical solution of the present invention and the utility model, the concept of which is equivalent to replace or change, should be covered within the protection scope of the present invention.

Claims (6)

  1. The PET sheet winding device comprises a base (5) and is characterized in that a shell (4) is fixedly connected to the top of the base (5), a winding roller (11) is connected to one side of the middle of the shell (4) in a rotating mode, a limiting plate (8) is fixedly connected to the top of the shell (4) close to the upper portion of the winding roller (11), a connecting folding rod (7) is connected to the limiting plate (8) in a sliding mode along the vertical direction, an arc-shaped clamping plate (10) is fixedly connected to the bottom of the connecting folding rod (7), a right driven rod (1) is fixedly connected to one side of the top of the connecting folding rod (7), a reversing gear (17) is connected to the shell (4) close to one side of the right driven rod (1) in a rotating mode, a driving block (15) is connected to one side of the shell (4) close to the reversing gear (17) in a sliding mode along the vertical direction, and a main cutting edge (16) is fixedly connected to the bottom of the driving block, the bottom of the shell (4) is fixedly connected with a lower supporting block (3) close to the lower part of the main cutting edge (16), and the top of the lower supporting block (3) is fixedly connected with an auxiliary cutting edge (6).
  2. 2. The PET sheet rolling device according to claim 1, wherein a right toothed bar (19) is fixedly connected to the right driven bar (1) close to the reversing gear (17), and the length of the right toothed bar (19) is one fifth of the length of the right driven bar (1).
  3. 3. The PET sheet winding device according to claim 1, wherein a driving motor (14) is fixedly connected to one side of the bottom of the shell (4), a belt transmission mechanism (12) is connected to an output end of the driving motor (14), and the top of the belt transmission mechanism (12) is fixedly connected to a rotating shaft of the winding roller (11).
  4. 4. The PET sheet rolling device according to claim 1, characterized in that the housing (4) is rotatably connected with guide wheels (2) near the bottom of the main cutting edge (16), and the number of the guide wheels (2) is four.
  5. 5. The PET sheet rolling device according to claim 1, wherein a jacking spring (9) is movably sleeved at the bottom of the connecting folding rod (7) above the arc-shaped clamping plate (10), and the top of the jacking spring (9) is fixedly connected to the bottom of the limiting plate (8).
  6. 6. The PET sheet rolling device according to claim 1, wherein a left rack bar (18) is fixedly connected to the driving block (15) near the reversing gear (17), and the length of the left rack bar (18) is two thirds of the length of the driving block (15).
CN202023310189.4U 2020-12-30 2020-12-30 PET sheet winding device Expired - Fee Related CN214114347U (en)

Priority Applications (1)

Application Number Priority Date Filing Date Title
CN202023310189.4U CN214114347U (en) 2020-12-30 2020-12-30 PET sheet winding device

Applications Claiming Priority (1)

Application Number Priority Date Filing Date Title
CN202023310189.4U CN214114347U (en) 2020-12-30 2020-12-30 PET sheet winding device

Publications (1)

Publication Number Publication Date
CN214114347U true CN214114347U (en) 2021-09-03

Family

ID=77486813

Family Applications (1)

Application Number Title Priority Date Filing Date
CN202023310189.4U Expired - Fee Related CN214114347U (en) 2020-12-30 2020-12-30 PET sheet winding device

Country Status (1)

Country Link
CN (1) CN214114347U (en)

Cited By (3)

* Cited by examiner, † Cited by third party
Publication number Priority date Publication date Assignee Title
CN115490055A (en) * 2022-10-19 2022-12-20 陶曙 Full-automatic integrated PET sheet production line
CN115893101A (en) * 2022-11-15 2023-04-04 安徽通利预应力科技有限公司 A kind of steel strand take-up and packaging equipment
CN119190914A (en) * 2024-11-26 2024-12-27 武汉市天虹纸塑彩印有限公司 A packaging bag film roll winding device

Cited By (4)

* Cited by examiner, † Cited by third party
Publication number Priority date Publication date Assignee Title
CN115490055A (en) * 2022-10-19 2022-12-20 陶曙 Full-automatic integrated PET sheet production line
CN115893101A (en) * 2022-11-15 2023-04-04 安徽通利预应力科技有限公司 A kind of steel strand take-up and packaging equipment
CN119190914A (en) * 2024-11-26 2024-12-27 武汉市天虹纸塑彩印有限公司 A packaging bag film roll winding device
CN119190914B (en) * 2024-11-26 2025-02-25 武汉市天虹纸塑彩印有限公司 A packaging bag film roll winding device

Similar Documents

Publication Publication Date Title
CN214114347U (en) PET sheet winding device
CN105035812B (en) Multi-station full-automatic central surface coiling machine
CN207108087U (en) Finished cable coiled body
CN211224100U (en) Automatic film winding device for paperboard stacking
CN209835154U (en) Automatic slitting and roll changing device for slit rolls
CN109436950A (en) Cable processing device based on simultaneous winding and cutting
CN210884473U (en) Efficient blowing machine winding device
CN218699343U (en) Slitting device for waterproof coiled material
CN209411465U (en) A kind of face PVC pad coiled strip disconnecting device
CN220744793U (en) High efficiency winding film machine
CN113547789B (en) Bag making machine for plastic bag production
CN213968804U (en) Spring coiling equipment for spring production
CN210634121U (en) C-shaped conductive fabric wrapping machine
CN212711882U (en) Non-asphalt base waterproof coiled material's lap former
CN211971167U (en) Waterproofing membrane automatic winding device
CN116638572B (en) PVC hose fixed length cutting device
CN222006700U (en) Fiberglass cloth conveying device
CN222252116U (en) A geomembrane laying device
CN207792224U (en) Plastic foil production rolling-up mechanism
CN219469169U (en) Winding device for waterproof coiled material production
CN207943658U (en) A kind of waste and old cable line winder of band lifting
CN217201133U (en) Automatic switching double-shaft winding mechanism
CN213325864U (en) Hydraulic winding device for diving material
CN216763841U (en) Steel wire winding device
CN217148013U (en) Coiling mechanism is used in film production

Legal Events

Date Code Title Description
GR01 Patent grant
GR01 Patent grant
CF01 Termination of patent right due to non-payment of annual fee
CF01 Termination of patent right due to non-payment of annual fee

Granted publication date: 20210903