CN214098628U - A monitoring device with fire detection function - Google Patents

A monitoring device with fire detection function Download PDF

Info

Publication number
CN214098628U
CN214098628U CN202023323996.XU CN202023323996U CN214098628U CN 214098628 U CN214098628 U CN 214098628U CN 202023323996 U CN202023323996 U CN 202023323996U CN 214098628 U CN214098628 U CN 214098628U
Authority
CN
China
Prior art keywords
electric telescopic
sun visor
detection function
fire detection
probe
Prior art date
Legal status (The legal status is an assumption and is not a legal conclusion. Google has not performed a legal analysis and makes no representation as to the accuracy of the status listed.)
Expired - Fee Related
Application number
CN202023323996.XU
Other languages
Chinese (zh)
Inventor
马德华
Current Assignee (The listed assignees may be inaccurate. Google has not performed a legal analysis and makes no representation or warranty as to the accuracy of the list.)
Lingshan Zhensheng Electronic Technology Co ltd
Original Assignee
Lingshan Zhensheng Electronic Technology Co ltd
Priority date (The priority date is an assumption and is not a legal conclusion. Google has not performed a legal analysis and makes no representation as to the accuracy of the date listed.)
Filing date
Publication date
Application filed by Lingshan Zhensheng Electronic Technology Co ltd filed Critical Lingshan Zhensheng Electronic Technology Co ltd
Priority to CN202023323996.XU priority Critical patent/CN214098628U/en
Application granted granted Critical
Publication of CN214098628U publication Critical patent/CN214098628U/en
Expired - Fee Related legal-status Critical Current
Anticipated expiration legal-status Critical

Links

Images

Classifications

    • YGENERAL TAGGING OF NEW TECHNOLOGICAL DEVELOPMENTS; GENERAL TAGGING OF CROSS-SECTIONAL TECHNOLOGIES SPANNING OVER SEVERAL SECTIONS OF THE IPC; TECHNICAL SUBJECTS COVERED BY FORMER USPC CROSS-REFERENCE ART COLLECTIONS [XRACs] AND DIGESTS
    • Y02TECHNOLOGIES OR APPLICATIONS FOR MITIGATION OR ADAPTATION AGAINST CLIMATE CHANGE
    • Y02EREDUCTION OF GREENHOUSE GAS [GHG] EMISSIONS, RELATED TO ENERGY GENERATION, TRANSMISSION OR DISTRIBUTION
    • Y02E10/00Energy generation through renewable energy sources
    • Y02E10/50Photovoltaic [PV] energy
    • Y02E10/56Power conversion systems, e.g. maximum power point trackers

Landscapes

  • Fire-Detection Mechanisms (AREA)
  • Fire Alarms (AREA)

Abstract

本实用新型公开了一种具有火灾检测功能的监控设备,包括遮阳板和监控探头,所述遮阳板右侧连接有连接座,且连接座上对称设置有连接件,所述遮阳板的顶部设置有太阳能光伏板,且遮阳板的内开设有置物槽,同时置物槽内设置有控制器和电池组,所述监控探头设置在遮阳板的下方,且监控探头顶部设置有防尘盖,所述防尘盖顶部对称设置有第一电动伸缩杆和第二电动伸缩杆,所述监控探头的左侧设置有蜂鸣器。该具有火灾检测功能的监控设备,设置有烟雾传感器,当烟雾传感器检测到装置周围有火灾发生时,烟雾传感器将会把这一信息传递给控制器,控制器将控制蜂鸣器发出声音对周围的人进行示警,从而便于及时对火灾进行抑制,进而便于丰富装置的功能性。

Figure 202023323996

The utility model discloses a monitoring device with a fire detection function, which comprises a sun visor and a monitoring probe. A connecting seat is connected on the right side of the sun visor, and connecting pieces are symmetrically arranged on the connecting seat, and the top of the sun visor is provided with a connecting seat. There is a solar photovoltaic panel, and a storage slot is opened in the sun visor, and a controller and a battery pack are arranged in the storage slot. The monitoring probe is arranged under the sun visor, and the top of the monitoring probe is provided with a dust cover. A first electric telescopic rod and a second electric telescopic rod are symmetrically arranged on the top of the dust cover, and a buzzer is arranged on the left side of the monitoring probe. The monitoring device with fire detection function is equipped with a smoke sensor. When the smoke sensor detects that there is a fire around the device, the smoke sensor will transmit this information to the controller, and the controller will control the buzzer to emit sound to the surrounding area. It is convenient to suppress the fire in time, thereby enriching the functionality of the device.

Figure 202023323996

Description

Monitoring equipment with fire detection function
Technical Field
The utility model relates to a supervisory equipment technical field specifically is a supervisory equipment with conflagration detects function.
Background
The typical monitoring system mainly comprises two parts, namely front-end equipment and rear-end equipment, wherein the front-end equipment generally comprises a camera, a manual or electric lens, a tripod head, a protective cover, a monitor, an alarm detector, a multifunctional decoder and the like, the front-end equipment respectively plays the roles of establishing corresponding relation with various equipment of a central control system through wired, wireless or optical fiber transmission media, and finding that the monitoring equipment in the prior art is typical like a publication number CN107995816A through mass retrieval, the monitoring probe protection device comprises a fixed shell, a front protective cover, a heat dissipation device and a fixed support mechanism, the fixed shell is a cuboid shell matched with a monitoring probe, an opening for a monitoring probe support frame to pass through is formed in the bottom shell of the fixed shell, the front shell is a transparent protective plate, the front protective cover is fixed on the upper side of the front end of the fixed shell, open on the rear portion casing of fixed shell has a plurality of louvres, and heat abstractor arranges fixed shell in and its thermovent towards otter board structure setting, fixed supporting mechanism includes deep floor and connecting rod, and the one end of connecting rod is passed through screw hole and is fixed with the end hinge of deep floor, the other end and the side wall fixed connection of connecting rod. The monitoring probe protection device is mainly characterized in that the overall structure is simple, the structural stability and the structural strength are high, the influence of the external environment on the service life is avoided, the damage to the monitoring probe protection device caused by human intention is effectively avoided, and the practicability is high.
In conclusion, the most function singleness of current supervisory equipment does not possess the function that the conflagration detected to easily delay the condition of a fire, and then cause great economic loss because of the conflagration easily, to above-mentioned problem, need improve current equipment.
SUMMERY OF THE UTILITY MODEL
An object of the utility model is to provide a supervisory equipment with fire detection function to solve the function that the current supervisory equipment most function singleness that proposes in the above-mentioned background art does not possess the fire detection, thereby easily delay the condition of a fire, and then cause great economic loss's problem because of the conflagration easily.
In order to achieve the above object, the utility model provides a following technical scheme: a monitoring device with fire detection function comprises a sun shield and a monitoring probe,
the solar photovoltaic sunshade comprises a sunshade plate, wherein the right side of the sunshade plate is connected with a connecting seat, connecting pieces are symmetrically arranged on the connecting seat, a solar photovoltaic plate is arranged at the top of the sunshade plate, a storage groove is formed in the sunshade plate, and a controller and a battery pack are arranged in the storage groove;
monitor, monitor sets up the below at the sunshading board, and the monitor top is provided with the shield, and the shield passes through the second connecting piece and is connected with monitor simultaneously, shield top symmetry is provided with first electric telescopic handle and second electric telescopic handle, and the one end that shield was kept away from to first electric telescopic handle and second electric telescopic handle and the bottom fixed connection of sunshading board, monitor's left side is provided with bee calling organ, and monitor's right side is provided with smoke transducer, simultaneously smoke transducer and bee calling organ all with the bottom fixed connection of sunshading board.
Preferably, the front side of the storage groove is provided with a baffle, and the baffle is connected with the sun shield through a screw.
Preferably, the smoke sensor, the controller and the buzzer are electrically connected.
Preferably, the first electric telescopic rod and the second electric telescopic rod are both rotatably connected with the dust cover.
Preferably, a light supplement lamp is arranged above the monitoring probe and is fixedly connected with the inner top of the dustproof cover.
Preferably, the left side and the right side of the monitoring probe are symmetrically provided with heat dissipation holes, the outer sides of the heat dissipation holes are provided with dust screens, and the dust screens are connected with the monitoring probe through screws.
Compared with the prior art, the beneficial effects of the utility model are that: the monitoring device with the fire detection function is provided with a fire detection function,
(1) the smoke sensor is arranged, when the smoke sensor detects that a fire disaster happens around the device, the smoke sensor transmits the information to the controller, and the controller controls the buzzer to make a sound to warn people around, so that the fire disaster can be restrained in time, and the functionality of the device can be enriched;
(2) be provided with first electric telescopic handle and second electric telescopic handle, staff's accessible control first electric telescopic handle and second electric telescopic handle's extension length comes to adjust monitor's monitoring range, and then is convenient for improve monitor's flexibility, is provided with the light filling lamp simultaneously, and the light filling lamp is convenient for provide the illumination for monitor's shooting work to be convenient for guarantee monitor's shooting quality.
Drawings
FIG. 1 is a schematic view of the structure of the present invention;
FIG. 2 is a schematic left-side sectional view of the present invention;
fig. 3 is the schematic view of the work flow structure of the present invention.
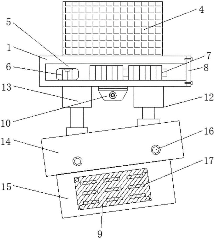
In the figure: 1. sunshading board, 2, connecting seat, 3, first connecting piece, 4, solar photovoltaic board, 5, put the thing groove, 6, controller, 7, group battery, 8, baffle, 9, dust screen, 10, smoke transducer, 11, bee calling organ, 12, first electric telescopic handle, 13, second electric telescopic handle, 14, shield, 15, monitor, 16, second connecting piece, 17, louvre, 18, light filling lamp.
Detailed Description
The technical solutions in the embodiments of the present invention will be described clearly and completely with reference to the accompanying drawings in the embodiments of the present invention, and it is obvious that the described embodiments are only some embodiments of the present invention, not all embodiments. Based on the embodiments in the present invention, all other embodiments obtained by a person skilled in the art without creative work belong to the protection scope of the present invention.
Referring to fig. 1-3, the present invention provides a technical solution: a monitoring device with fire detection function is disclosed, as shown in fig. 1 and fig. 2, a connecting seat 2 is connected to the right side of a sun shield 1, connecting pieces 3 are symmetrically arranged on the connecting seat 2, a solar photovoltaic panel 4 is arranged on the top of the sun shield 1, a storage groove 5 is arranged in the sun shield 1, a controller 6 and a battery pack 7 are arranged in the storage groove 5, a baffle 8 is arranged at the front side of the storage groove 5, the baffle 8 is connected with the sun shield 1 through screws, when the controller 6 fails, a worker can take the baffle 8 off the sun shield 1 through the dismounting screws, so that the controller 6 in the storage groove 5 can be overhauled and maintained, a monitoring probe 15 is arranged below the sun shield 1, the sun shield 1 can effectively prevent the monitoring probe 15 from failing due to insolation, a dust cover 14 is arranged on the top of the monitoring probe 15, and the dust cover 14 is connected with the monitoring probe 15 through a second connecting piece 16, the light filling lamp 18 is arranged above the monitoring probe 15, the light filling lamp 18 is fixedly connected with the inner top of the dustproof cover 14, and the light filling lamp 18 can provide illumination for shooting work of the monitoring probe 15 when light is dark.
As shown in fig. 1, 2 and 3, a first electric telescopic rod 12 and a second electric telescopic rod 13 are symmetrically arranged on the top of a dust cover 14, and one ends of the first electric telescopic rod 12 and the second electric telescopic rod 13, which are far away from the dust cover 14, are fixedly connected with the bottom of a sun visor 1, the first electric telescopic rod 12 and the second electric telescopic rod 13 are both rotatably connected with the dust cover 14, so that a worker can adjust the monitoring range of a monitoring probe 15, a buzzer 11 is arranged on the left side of the monitoring probe 15, heat dissipation holes 17 are symmetrically arranged on the left side and the right side of the monitoring probe 15, a dust screen 9 is arranged on the outer side of each heat dissipation hole 17, the dust screen 9 is connected with the monitoring probe 15 through screws, the worker can detach the dust screen 9 through detaching screws for cleaning, the detaching process is simple, a smoke sensor 10 is arranged on the right side of the monitoring probe 15, and both the smoke sensor 10 and the buzzer 11 are fixedly connected with the bottom of the sun visor 1, the smoke sensor 10 is electrically connected with the controller 6 and the buzzer 11, so that people around the device can be warned when a fire disaster happens, and the economic loss of the fire disaster to the surroundings can be reduced to a certain extent.
The working principle is as follows: the model of the controller 6 is RPCF-6, the model of the smoke sensor 10 is SS-668 BTR01009, when the monitoring device with the fire detection function is used, the device is connected with an external support frame by the first connecting piece 3, then a worker can adjust the monitoring range of the monitoring probe 15 by controlling the extending lengths of the first electric telescopic rod 12 and the second electric telescopic rod 13 according to needs, a power supply starting device is connected, when the smoke sensor 10 detects that a fire happens around the device, the smoke sensor 10 transmits the detected information to the controller 6, the controller 6 starts the buzzer 11 to give out sound for warning, meanwhile, the heat dissipation holes 17 are convenient for helping the monitoring probe 15 to dissipate heat quickly, thereby being convenient for preventing the monitoring probe 15 from being damaged accidentally due to overhigh temperature, the dust screen 9 is convenient for preventing dust from entering the monitoring probe 15 through the heat dissipation holes 17, the solar photovoltaic panel 4 converts solar energy into electrical energy and stores the electrical energy in the battery pack 7, so that the device can be powered when the device is powered off accidentally, which completes the entire work and is not described in detail in the present specification, which belongs to the prior art well known to those skilled in the art.
The terms "central," "longitudinal," "lateral," "front," "rear," "left," "right," "vertical," "horizontal," "top," "bottom," "inner," "outer," and the like are used in the orientation or positional relationship indicated in the drawings for ease of description, but are not intended to indicate or imply that the device or element so referred to must have a particular orientation, be constructed and operated in a particular orientation, and are not to be considered limiting of the scope of the invention.
Although the present invention has been described in detail with reference to the foregoing embodiments, it will be apparent to those skilled in the art that modifications may be made to the embodiments or portions thereof without departing from the spirit and scope of the invention.

Claims (6)

1. A monitoring device with fire detection function, comprising a sun visor (1) and a monitoring probe (15), characterized in that:
the solar energy collecting sun visor comprises a sun visor (1), wherein the right side of the sun visor (1) is connected with a connecting seat (2), connecting pieces (3) are symmetrically arranged on the connecting seat (2), a solar photovoltaic panel (4) is arranged at the top of the sun visor (1), a storage groove (5) is formed in the sun visor (1), and a controller (6) and a battery pack (7) are arranged in the storage groove (5);
monitor probe (15), monitor probe (15) set up the below in sunshading board (1), and monitor probe (15) top is provided with shield (14), and shield (14) are connected with monitor probe (15) through second connecting piece (16) simultaneously, shield (14) top symmetry is provided with first electric telescopic handle (12) and second electric telescopic handle (13), and the one end of shield (14) and the bottom fixed connection of sunshading board (1) are kept away from in first electric telescopic handle (12) and second electric telescopic handle (13), the left side of monitor probe (15) is provided with bee calling organ (11), and the right side of monitor probe (15) is provided with smoke transducer (10), smoke transducer (10) and bee calling organ (11) all with the bottom fixed connection of sunshading board (1) simultaneously.
2. A monitoring device with fire detection function according to claim 1, characterized in that: the front side of the article holding groove (5) is provided with a baffle (8), and the baffle (8) is connected with the sun shield (1) through a screw.
3. A monitoring device with fire detection function according to claim 1, characterized in that: the smoke sensor (10) is electrically connected with the controller (6) and the buzzer (11).
4. A monitoring device with fire detection function according to claim 1, characterized in that: the first electric telescopic rod (12) and the second electric telescopic rod (13) are rotatably connected with the dust cover (14).
5. A monitoring device with fire detection function according to claim 1, characterized in that: and a light supplement lamp (18) is arranged above the monitoring probe (15), and the light supplement lamp (18) is fixedly connected with the inner top of the dustproof cover (14).
6. A monitoring device with fire detection function according to claim 1, characterized in that: the monitoring probe is characterized in that the left side and the right side of the monitoring probe (15) are symmetrically provided with radiating holes (17), a dustproof net (9) is arranged on the outer side of each radiating hole (17), and the dustproof net (9) is connected with the monitoring probe (15) through screws.
CN202023323996.XU 2020-12-31 2020-12-31 A monitoring device with fire detection function Expired - Fee Related CN214098628U (en)

Priority Applications (1)

Application Number Priority Date Filing Date Title
CN202023323996.XU CN214098628U (en) 2020-12-31 2020-12-31 A monitoring device with fire detection function

Applications Claiming Priority (1)

Application Number Priority Date Filing Date Title
CN202023323996.XU CN214098628U (en) 2020-12-31 2020-12-31 A monitoring device with fire detection function

Publications (1)

Publication Number Publication Date
CN214098628U true CN214098628U (en) 2021-08-31

Family

ID=77436543

Family Applications (1)

Application Number Title Priority Date Filing Date
CN202023323996.XU Expired - Fee Related CN214098628U (en) 2020-12-31 2020-12-31 A monitoring device with fire detection function

Country Status (1)

Country Link
CN (1) CN214098628U (en)

Cited By (1)

* Cited by examiner, † Cited by third party
Publication number Priority date Publication date Assignee Title
CN113766102A (en) * 2021-07-20 2021-12-07 劳伟佳 Internet of things remote monitoring equipment connected with automatic fire alarm control system

Cited By (1)

* Cited by examiner, † Cited by third party
Publication number Priority date Publication date Assignee Title
CN113766102A (en) * 2021-07-20 2021-12-07 劳伟佳 Internet of things remote monitoring equipment connected with automatic fire alarm control system

Similar Documents

Publication Publication Date Title
CN214098628U (en) A monitoring device with fire detection function
CN212032317U (en) Alarm device for forest fire prevention
CN213276876U (en) A visual electronic fence
CN210865010U (en) Fire early warning system based on Internet of things
CN213241402U (en) Multifunctional automatic smoke alarm system equipment convenient to fix
CN211529279U (en) Forest fire prevention early warning device
CN215265020U (en) Monitoring equipment with fire alarm function
CN214172097U (en) High-sensitivity rescue emergency lamp based on multi-dimensional perception
CN212873690U (en) Smoke alarm with emergency lighting
CN211203862U (en) Fire-fighting emergency lamp
CN212659160U (en) Automatic fire-fighting alarm communication equipment for outbreak of dangerous case
CN220754900U (en) Early warning evidence obtaining equipment of outdoor low-power consumption
CN222506980U (en) Building site fire prevention alarm device
CN216161181U (en) Novel help calling device with expansion function
CN219285805U (en) Safety alarm device
CN217305956U (en) Intelligent security and fire-fighting linkage control device
CN204806097U (en) A kind of LED emergency light for shopping malls
CN210971470U (en) Fire early warning device for cargo ship based on Internet of things
CN219304273U (en) High dynamic box of factor of safety
CN212435791U (en) Monitor probe with alarm function
CN216249475U (en) Wisdom fire control is with intelligent smoke detector who has alarming function
CN215068546U (en) Hotel is fire detection device for room
CN106259033B (en) A kind of animal living environment intelligent monitor system
CN215025602U (en) Fire-fighting equipment for intelligent building engineering
CN215990953U (en) A protective cover for monitoring equipment

Legal Events

Date Code Title Description
GR01 Patent grant
GR01 Patent grant
CF01 Termination of patent right due to non-payment of annual fee

Granted publication date: 20210831