CN214087028U - Full-automatic mesh belt folding machine for post-printing process - Google Patents

Full-automatic mesh belt folding machine for post-printing process Download PDF

Info

Publication number
CN214087028U
CN214087028U CN202022205586.9U CN202022205586U CN214087028U CN 214087028 U CN214087028 U CN 214087028U CN 202022205586 U CN202022205586 U CN 202022205586U CN 214087028 U CN214087028 U CN 214087028U
Authority
CN
China
Prior art keywords
webbing
sleeve
bottom plate
hot knife
plastic box
Prior art date
Legal status (The legal status is an assumption and is not a legal conclusion. Google has not performed a legal analysis and makes no representation as to the accuracy of the status listed.)
Active
Application number
CN202022205586.9U
Other languages
Chinese (zh)
Inventor
邹云雷
Current Assignee (The listed assignees may be inaccurate. Google has not performed a legal analysis and makes no representation or warranty as to the accuracy of the list.)
Dongguan Xianjunlong Packaging Technology Co ltd
Original Assignee
Shenzhen Xianjunlong Color Printing Co ltd
Priority date (The priority date is an assumption and is not a legal conclusion. Google has not performed a legal analysis and makes no representation as to the accuracy of the date listed.)
Filing date
Publication date
Application filed by Shenzhen Xianjunlong Color Printing Co ltd filed Critical Shenzhen Xianjunlong Color Printing Co ltd
Priority to CN202022205586.9U priority Critical patent/CN214087028U/en
Application granted granted Critical
Publication of CN214087028U publication Critical patent/CN214087028U/en
Active legal-status Critical Current
Anticipated expiration legal-status Critical

Links

Images

Landscapes

  • Treatment Of Fiber Materials (AREA)

Abstract

本实用新型公开了一种用于印刷后工序的全自动织带对折机,其特征在于:包括依次水平设置的织带底板A和织带底板B,织带底板A和织带底板B之间设有缝隙,所述缝隙的正上方设有折刀,折刀的两端固定有折刀气缸;织带底板A的上方设有织带放卷部,织带放卷部上设有织带,织带底板A上沿纵向等距平行分布着若干织带挡板,织带沿着织带挡板的长度方向铺设;织带底板A上设有热刀,热刀上安装有热刀气缸,横梁上还安装有热刀导向机构,织带底板B上安装有胶盒移动平台,胶盒移动平台上设有胶盒;胶盒上连接有胶合驱动机构,胶盒移动平台的底部安装有胶盒丝杆。本实用新型解决了目前采用人工方式进行织带对折存在的费时费力、劳动强度大的问题。

Figure 202022205586

The utility model discloses a fully automatic webbing half-folding machine used for the post-printing process. A folding knife is provided just above the gap, and a folding knife cylinder is fixed at both ends of the folding knife; a webbing unwinding part is provided above the webbing bottom plate A, and the webbing unwinding part is provided with webbing, and the webbing bottom plate A is equidistant along the longitudinal direction. Several webbing baffles are distributed in parallel, and the webbing is laid along the length of the webbing baffle; the webbing bottom plate A is provided with a hot knife, the hot knife is installed with a hot knife cylinder, the beam is also installed with a hot knife guiding mechanism, and the webbing bottom plate B A plastic box moving platform is installed on the plastic box moving platform, and a plastic box is arranged on the plastic box moving platform; the plastic box is connected with a gluing driving mechanism, and a plastic box screw rod is installed on the bottom of the plastic box moving platform. The utility model solves the problems of time-consuming, labor-intensive and labor-intensive existing in manual mode for folding the webbing in half.

Figure 202022205586

Description

Full-automatic mesh belt folding machine for post-printing process
Technical Field
The utility model belongs to the technical field of equipment for packing, a full-automatic meshbelt rigging machine for process after the printing is related to.
Background
When some hardcover boxes are made, workers are required to manually fold the mesh belt in half, two ends of the mesh belt are bonded by double-faced adhesive tape or glue, and finally the folded mesh belt is attached to some positions of the hardcover boxes to serve as a handle belt. This work of pasting both ends after the meshbelt fifty percent discount is generally pasted one by the manual work, and when meetting big batch order, the work of gluing the meshbelt can consume a large amount of time and manual work, leads to personnel tension, does not have the equipment that can accomplish the meshbelt fifty percent discount automatically in the market at present moreover, leads to the enterprise when meetting big order, can only follow the production efficiency that other post adjustment people improved the meshbelt fifty percent discount.
SUMMERY OF THE UTILITY MODEL
The utility model aims at providing a full-automatic meshbelt rigging machine for process after the printing has solved and has adopted the manual mode to carry out the problem that the meshbelt fifty percent discount exists wastes time and energy, intensity of labour is big at present.
The utility model discloses the technical scheme who adopts is, a full-automatic meshbelt rigging machine for process after the printing, its characterized in that: the weaving machine comprises a weaving belt bottom plate A and a weaving belt bottom plate B which are sequentially and horizontally arranged, a gap is arranged between the weaving belt bottom plate A and the weaving belt bottom plate B, a folding knife is arranged right above the gap, and folding knife cylinders are fixed at two ends of the folding knife; two opposite sides under the gap are respectively and symmetrically provided with a pinch roller device A and a pinch roller device B;
a braid unwinding part is arranged above the braid bottom plate A, a braid is arranged on the braid unwinding part, a plurality of braid baffles are longitudinally equidistantly and parallelly distributed on the braid bottom plate A, and the braid is laid along the length direction of the braid baffles;
the ribbon bottom plate A is provided with a hot knife, and the hot knife is arranged close to a gap between the ribbon bottom plate A and the ribbon bottom plate B; a hot knife cylinder is arranged on the hot knife, the fixed end of the hot knife cylinder is arranged on a cross beam, a hot knife guide mechanism is also arranged on the cross beam, and a feeding wheel is arranged on one side of the advancing direction of the hot knife;
a rubber box moving platform is arranged on the mesh belt bottom plate B, and a rubber box is arranged on the rubber box moving platform; the glue box is connected with a gluing driving mechanism, and a glue box screw rod is installed at the bottom of the glue box moving platform.
The utility model is also characterized in that,
the pressing wheel device A comprises a pressing wheel sleeve A, a pressing wheel A is coaxially installed on the pressing wheel sleeve A, the pressing wheel A can rotate on the pressing wheel sleeve A under the driving of a motor, one end of a rod sleeve A is connected to the pressing wheel sleeve roller A, the other end of the rod sleeve A penetrates through a fixed plate sleeve A, threads are arranged at the other end of the rod sleeve A, and the other end of the rod sleeve A is locked on the fixed plate sleeve A through a nut A; a spring A is coaxially arranged on the rod sleeve A, and the spring A is arranged between the compression roller sleeve A and the fixed plate sleeve A in a compressed mode.
The pressing wheel device B comprises a pressing wheel sleeve B, a pressing wheel B is coaxially installed on the pressing wheel sleeve B, the pressing wheel B can rotate on the pressing wheel sleeve B under the driving of a motor, one end of a rod sleeve B is connected to the pressing wheel sleeve roller B, the other end of the rod sleeve B penetrates through a fixed plate sleeve B, threads are arranged at the other end of the rod sleeve B, and the other end of the rod sleeve B is locked on the fixed plate sleeve B through a nut B; and a spring B is coaxially arranged on the rod sleeve B, and is arranged between the compression roller sleeve B and the fixed plate sleeve B in a compressed mode.
The hot knife guide mechanism comprises a pair of hot knife guide rods arranged along the horizontal direction, a hot knife screw rod is arranged between the two hot knife guide rods, and the hot knife screw rod and the pair of hot knife guide rods simultaneously penetrate through the cross beam; and the hot knife screw rod and the two ends of the pair of hot knife guide rods are respectively supported by the wall plate.
The glue box driving mechanism comprises a glue box cylinder arranged along the vertical direction, and an air push rod of the glue box cylinder is connected with the glue box.
The bottom of the rubber box is provided with porous and compact sponge.
The beneficial effects of the utility model are that, through the utility model provides a pair of a full-automatic meshbelt rigging machine for process after the printing has accomplished the rubberizing of meshbelt, cuts and final fifty percent discount. The problem of in the past accomplish the work of fifty percent discount meshbelt by the manual work to make production efficiency promote, for the enterprise reduces labour cost and time cost.
Drawings
FIG. 1 is a front view of a full-automatic webbing folder for a post-printing process of the present invention;
FIG. 2 is a schematic perspective view of a full-automatic ribbon folding machine for post-printing processes according to the present invention;
fig. 3 is a schematic view of the pressing wheel structure of the full-automatic webbing folding machine for the post-printing process of the present invention.
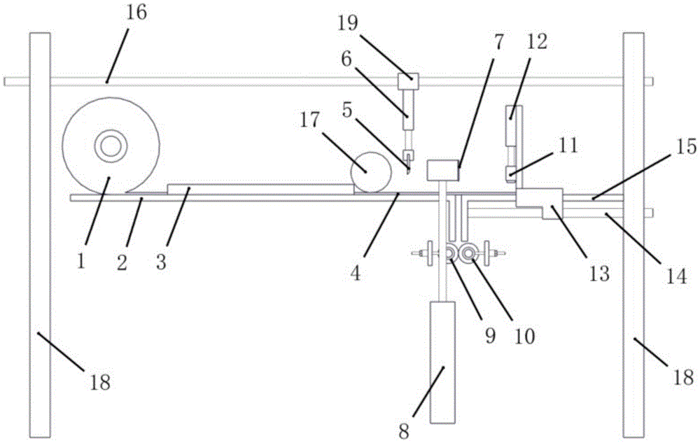
In the figure, 1, a mesh belt unwinding part, 2, a mesh belt bottom plate A, 3, a mesh belt baffle, 4, a mesh belt, 5, a hot knife, 6, a hot knife cylinder, 7, a folding knife and 8, a folding knife cylinder are arranged;
9. the device comprises a pinch roller device A, 9-1, a pinch roller A, 9-2, a pinch roller sleeve A, 9-3, a fixed plate sleeve A, 9-4, a nut A, 9-5 and a rod sleeve A;
10. the device comprises a pinch roller device B, a pinch roller sleeve 10-3, a fixed plate sleeve B, a fixed plate sleeve 10-4, a nut B, a fixed rod sleeve 10-5 and a rod sleeve B.
11. 12 parts of a rubber box, 12 parts of a rubber box cylinder, 13 parts of a rubber box moving platform, 14 parts of a rubber box screw rod, 15 parts of a mesh belt bottom plate B; 16. 16-1 parts of a hot knife guide mechanism, 16-2 parts of a hot knife screw rod and 16-2 parts of a hot knife guide rod;
17. feeding wheel, 18, wall plate, 19, cross beam.
Detailed Description
The present invention will be described in detail with reference to the accompanying drawings and specific embodiments.
The utility model relates to a full-automatic meshbelt rigging machine for process after printing, the structure is shown as figure 1, 2, including meshbelt bottom plate A2 and meshbelt bottom plate B15 that the level set up in proper order, meshbelt bottom plate A2 and meshbelt bottom plate B15 are L shaped steel board, leave 2-4 mm's gap between meshbelt bottom plate A2 and the meshbelt bottom plate B15. The mesh belt bottom plate A2 and the mesh belt bottom plate B15 are positioned on the same horizontal plane;
be equipped with the meshbelt in meshbelt bottom plate A2's top and put book portion 1, rolled meshbelt 4 cover is put the axle of book portion 1 at the meshbelt, and the meshbelt is put the axle of book portion 1 and can be overlapped a plurality of meshbelts 4, and the meshbelt is put the rotation that book portion 1 can be free, is following a plurality of meshbelt baffles 3 of vertical equidistance parallel distribution on the meshbelt bottom plate A2, and meshbelt baffle 3 forward motion can be followed to meshbelt 4.
The hot knife 5 is located on the webbing floor a2, and the hot knife 5 is located proximate to the gap between the webbing floor a2 and the webbing floor B15.
The hot knife 5 is driven by the hot knife cylinder 6, the hot knife cylinder 6 drives the hot knife 5 to move up and down, a piston rod of the hot knife cylinder 6 is connected to the hot knife 5, and the number of the hot knife cylinders 6 is related to the length of the hot knife 5.
The hot knife cylinder 6 is fixed on a beam 19, and a hot knife guide mechanism 16 is also arranged on the beam 19;
the hot knife guide mechanism 16 comprises a pair of hot knife guide rods 16-2 arranged along the horizontal direction, a hot knife screw rod 16-1 is arranged between the two hot knife guide rods 16-2, and the hot knife screw rod 16-1 and the pair of hot knife guide rods 16-2 simultaneously penetrate through the cross beam 19; the two ends of the hot knife guide rod 16-1 and the pair of hot knife guide rods 16-2 are respectively supported by the wall plate 18, and the hot knife guide rod 16-1 can drive the cross beam 19 to move along the length direction of the hot knife guide rod 16-2; when the hot knife screw rod 16-1 is driven by the motor, the hot knife 5 can move along the moving direction of the 4 woven belts.
On the left side of the hot knife 5, a feeding wheel 17 is arranged, the feeding wheel 17 presses on the mesh belt 4, the feeding wheel 17 is driven by a motor to rotate, and when the feeding wheel 17 rotates, the mesh belt 4 is pushed to move forwards.
The box moving platform 13 is equipped with to be equipped with on meshbelt bottom plate B15, glues box moving platform 13 and goes up to install along vertical direction and glue box cylinder 12, glues box 11 of fixedly connected with on the air push rod of box cylinder 12, and the bottom of gluing box 11 is equipped with porous fine and close sponge, and the sponge is crossed in the glue permeability of gluing box 11 to the dress, nevertheless can not drip.
A glue box screw rod 14 is installed below the glue box moving platform 13, the bottom of the glue box moving platform 13 is sleeved on the glue box screw rod 14 in a penetrating mode, and when the glue box screw rod 14 rotates, the glue box moving platform 13 can move along the horizontal direction along with the glue box screw rod 14.
A folding knife 7 is arranged right above a gap between the mesh belt bottom plate A2 and the mesh belt bottom plate B15, folding knife cylinders 8 are fixed at two ends of the folding knife 7, and the folding knife cylinders 8 can stretch and retract to drive the folding knife 7 to be inserted into the gap between the mesh belt bottom plate A2 and the mesh belt bottom plate B15.
A pinch roller device a9 and a pinch roller device B10 are also symmetrically mounted directly below the gap between the webbing base plate a2 and the webbing base plate B15.
As shown in fig. 3, the pinch roller device a9 includes a pinch roller sleeve a9-2, the pinch roller sleeve a9-2 is arranged in parallel with the gap between the mesh belt bottom plate a2 and the mesh belt bottom plate B15; a pinch roller A9-1 is coaxially installed on the pinch roller sleeve A9-2, the pinch roller A9-1 can rotate on the pinch roller sleeve A9-2 under the driving of a motor, one end of a rod sleeve A9-5 is connected to a pinch roller sleeve roller A9-2, the other end of the rod sleeve A9-5 penetrates through a fixed plate sleeve A9-3, the other end of the rod sleeve A9-5 is provided with threads, and the other end of the rod sleeve A9-5 is locked on the fixed plate sleeve A9-3 through a nut A9-4; a spring A is coaxially arranged on the rod sleeve A9-5 and is arranged between the compression roller sleeve A9-2 and the fixed plate sleeve A9-3 in a compressed mode; rotating nut A9-4 may drive pinch roller sleeve A9-2 to move in the axial direction of pinch roller sleeve A9-2.
The pinch roller device B10 comprises a pinch roller sleeve B10-2, a pinch roller sleeve B10-2 is arranged in parallel with a gap between a woven belt bottom plate A2 and a woven belt bottom plate B15, a pinch roller B10-1 is coaxially arranged on the pinch roller sleeve B10-2, the pinch roller B10-1 can rotate on the pinch roller sleeve B10-2 under the drive of a motor, one end of a rod sleeve B10-5 is connected to the pinch roller sleeve roller B10-2, the other end of the rod sleeve B10-5 penetrates through a fixed plate sleeve B10-3, the other end of the rod sleeve B10-5 is provided with threads, and the other end of the rod sleeve B10-5 is locked on the fixed plate sleeve B10-3 through a nut B10-4; a spring B is coaxially arranged on the rod sleeve B10-5 and is arranged between the compression roller sleeve B10-2 and the fixed plate sleeve B10-3 in a compressed mode; rotating nut B10-4 may drive pinch roller sleeve B10-2 in a direction axial to pinch roller sleeve B10-2.
The utility model relates to a theory of operation that is used for full-automatic meshbelt rigging machine of process after the printing to be: a plurality of package woven belts 4 are uniformly distributed on the woven belt unwinding part 1, the woven belts 4 are flatly laid in guide grooves formed by the woven belt baffles 3, and the woven belts 4 penetrate through the feeding wheels 17.
The length L of the folded braid is input into the control interface of the utility model, at the moment, the hot knife 5 is driven by the hot knife lead screw 16-1 to move, and the glue box moving platform 13 is driven by the glue box lead screw 14 to move;
when the distance from the hot knife 5 to the gap between the webbing bottom plate a2 and the webbing bottom plate B15 is L and the distance from the glue box moving platform 13 to the gap between the webbing bottom plate a2 and the webbing bottom plate B15 is L, the hot knife 5 and the glue box moving platform 13 stop moving.
When the full-automatic mesh belt folding machine works, the feeding wheel 17 rotates to drive the mesh belt 4 to move forwards, when the end part of the mesh belt 4 contacts the bottom of the rubber box moving platform 13, the feeding wheel 17 stops rotating, the rubber box cylinder 12 and the hot knife cylinder 6 stretch out and draw back simultaneously, the rubber box 11 paints glue on the mesh belt 4, and the hot knife 5 cuts off the mesh belt 4. The tucker blade 7 is then driven by the tucker blade cylinder 8 to tuck the webbing 4 into the gap between the webbing base panel a2 and the webbing base panel B15. Because pinch roller A9-1 and pinch roller B10-1 are always rotating toward each other, when the webbing 4 contacts both pinch roller A9-1 and pinch roller B10-1, the webbing 4 will be pressed between pinch roller A9-1 and pinch roller B10-1. Under the action of the pressure roller A9-1 and the pressure roller B10-1, one end of the woven tape 4 adhered with the glue is adhered with one end cut by the hot knife 5.
Then the feeding wheel 17 continues to rotate to drive the mesh belt 4 to move forwards until the end part of the mesh belt 4 is contacted with the glue box moving platform 13, the glue box 11 paints glue on the mesh belt 4, the hot knife 5 cuts off the mesh belt 4, and then the folding knife 7 pokes the mesh belt 4 into a gap between the mesh belt bottom plate A2 and the mesh belt bottom plate B15. The operation of folding the mesh belt is continuously completed by the circulation.

Claims (6)

1.一种用于印刷后工序的全自动织带对折机,其特征在于:包括依次水平设置的织带底板A和织带底板B,织带底板A和织带底板B之间设有缝隙,所述缝隙的正上方设有折刀,折刀的两端固定有折刀气缸;所述缝隙的正下方相对两侧分别对称设有压轮装置A和压轮装置B;1. a fully automatic webbing folding machine for post-printing operation, is characterized in that: comprise webbing bottom plate A and webbing bottom plate B arranged horizontally successively, be provided with a gap between the webbing bottom plate A and the webbing bottom plate B, the gap of the gap is A folding knife is arranged directly above, and a folding knife cylinder is fixed at both ends of the folding knife; a pressing wheel device A and a pressing wheel device B are symmetrically arranged on opposite sides directly below the gap; 织带底板A的上方设有织带放卷部,织带放卷部上设有织带,织带底板A上沿纵向等距平行分布着若干织带挡板,织带沿着织带挡板的长度方向铺设;A webbing unwinding part is arranged above the webbing bottom plate A, and a webbing is arranged on the webbing unwinding part, and several webbing baffles are distributed in parallel and equidistantly along the longitudinal direction on the webbing bottom plate A, and the webbing is laid along the length direction of the webbing baffle; 织带底板A上设有热刀,且热刀靠近织带底板A和织带底板B之间的缝隙设置;热刀上安装有热刀气缸,热刀气缸的固定端安装在横梁上,横梁上还安装有热刀导向机构,热刀的前进方向一侧设有送料轮;There is a hot knife on the webbing bottom plate A, and the hot knife is set close to the gap between the webbing bottom plate A and the webbing bottom plate B; a hot knife cylinder is installed on the hot knife, the fixed end of the hot knife cylinder is installed on the beam, and the beam is also installed There is a hot-knife guiding mechanism, and a feeding wheel is provided on one side of the hot-knife's advancing direction; 织带底板B上安装有胶盒移动平台,胶盒移动平台上设有胶盒;胶盒上连接有胶合驱动机构,胶盒移动平台的底部安装有胶盒丝杆。A plastic box moving platform is installed on the webbing bottom plate B, and the plastic box moving platform is provided with a plastic box; the plastic box is connected with a gluing driving mechanism, and a plastic box screw rod is installed on the bottom of the plastic box moving platform. 2.根据权利要求1所述的一种用于印刷后工序的全自动织带对折机,其特征在于:所述压轮装置A包括压轮套筒A,压轮套筒A上同轴安装有压轮A,压轮A可在电机的带动下在压轮套筒A上转动,杆套A的一端连接在压轮套滚A上,杆套A的另一端穿过固定板套A,且杆套A的另一端设有螺纹,杆套A的另一端通过螺母A锁紧在固定板套A上;杆套A上同轴安装有弹簧A,且弹簧A被压缩安装在压辊套筒A与固定板套A之间。2. The fully automatic webbing half-folding machine for post-printing process according to claim 1, characterized in that: the pressing roller device A comprises a pressing roller sleeve A, and the pressing roller sleeve A is coaxially mounted with a The pressure roller A, the pressure roller A can rotate on the pressure roller sleeve A under the drive of the motor, one end of the rod sleeve A is connected to the pressure roller sleeve A, the other end of the rod sleeve A passes through the fixed plate sleeve A, and The other end of the rod sleeve A is provided with threads, and the other end of the rod sleeve A is locked on the fixed plate sleeve A through the nut A; the rod sleeve A is coaxially installed with a spring A, and the spring A is compressed and installed on the roller sleeve Between A and the fixed plate cover A. 3.根据权利要求1所述的一种用于印刷后工序的全自动织带对折机,其特征在于:所述压轮装置B包括压轮套筒B,压轮套筒B上同轴安装有压轮B,压轮B可在电机的带动下在压轮套筒B上转动,杆套B的一端连接在压轮套滚B上,杆套B的另一端穿过固定板套B,且杆套B的另一端设有螺纹,杆套B的另一端通过螺母B锁紧在固定板套B上;杆套B上同轴安装有弹簧B,且弹簧B被压缩安装在压辊套筒B与固定板套B之间。3. The fully automatic webbing half-folding machine for post-printing process according to claim 1, wherein the pressing roller device B comprises a pressing roller sleeve B, and the pressing roller sleeve B is coaxially mounted with a The pressure roller B, the pressure roller B can be rotated on the pressure roller sleeve B under the drive of the motor, one end of the rod sleeve B is connected to the pressure roller sleeve B, the other end of the rod sleeve B passes through the fixed plate sleeve B, and The other end of the rod sleeve B is provided with a thread, and the other end of the rod sleeve B is locked on the fixed plate sleeve B through the nut B; the rod sleeve B is coaxially installed with a spring B, and the spring B is compressed and installed on the roller sleeve between B and the fixed plate cover B. 4.根据权利要求1所述的一种用于印刷后工序的全自动织带对折机,其特征在于:所述热刀导向机构包括一对沿水平方向设置的热刀导杆,两个热刀导杆之间设有热刀丝杆,热刀丝杆与一对热刀导杆同时穿过横梁;且热刀丝杆与一对热刀导杆的两端分别通过墙板支撑。4. The fully automatic webbing half-folding machine used for the post-printing process according to claim 1, wherein the hot knife guide mechanism comprises a pair of hot knife guide bars arranged along the horizontal direction, two hot knife guide rods A hot knife screw rod is arranged between the guide rods, and the hot knife screw rod and a pair of hot knife guide rods pass through the beam at the same time; and both ends of the hot knife screw rod and the pair of hot knife guide rods are respectively supported by the wall plates. 5.根据权利要求1所述的一种用于印刷后工序的全自动织带对折机,其特征在于:所述胶盒驱动机构包括沿竖直方向设置的胶盒气缸,胶盒气缸的气推杆与胶盒连接。5. The fully automatic webbing half-folding machine for post-printing process according to claim 1, characterized in that: the plastic box driving mechanism comprises a plastic box cylinder arranged in a vertical direction, and the air pusher of the plastic box cylinder The rod is connected with the plastic box. 6.根据权利要求1所述的一种用于印刷后工序的全自动织带对折机,其特征在于:所述胶盒的底部设有多孔致密的海绵。6 . The fully automatic webbing folding machine for post-printing process according to claim 1 , wherein the bottom of the plastic box is provided with a porous and dense sponge. 7 .
CN202022205586.9U 2020-09-30 2020-09-30 Full-automatic mesh belt folding machine for post-printing process Active CN214087028U (en)

Priority Applications (1)

Application Number Priority Date Filing Date Title
CN202022205586.9U CN214087028U (en) 2020-09-30 2020-09-30 Full-automatic mesh belt folding machine for post-printing process

Applications Claiming Priority (1)

Application Number Priority Date Filing Date Title
CN202022205586.9U CN214087028U (en) 2020-09-30 2020-09-30 Full-automatic mesh belt folding machine for post-printing process

Publications (1)

Publication Number Publication Date
CN214087028U true CN214087028U (en) 2021-08-31

Family

ID=77442612

Family Applications (1)

Application Number Title Priority Date Filing Date
CN202022205586.9U Active CN214087028U (en) 2020-09-30 2020-09-30 Full-automatic mesh belt folding machine for post-printing process

Country Status (1)

Country Link
CN (1) CN214087028U (en)

Cited By (1)

* Cited by examiner, † Cited by third party
Publication number Priority date Publication date Assignee Title
CN114277566A (en) * 2021-12-31 2022-04-05 博罗县常美印刷有限公司 Mark cutting device with folding function

Cited By (1)

* Cited by examiner, † Cited by third party
Publication number Priority date Publication date Assignee Title
CN114277566A (en) * 2021-12-31 2022-04-05 博罗县常美印刷有限公司 Mark cutting device with folding function

Similar Documents

Publication Publication Date Title
CN104986610B (en) A kind of non-woven fabrics cuts folding machine
CN205889982U (en) Full -automatic carton plastic handle splicing machine
CN201685296U (en) Automatic fixed-length punching machine
CN105836220B (en) Single automatic packaging machine is pasted in a kind of sealing
CN203372894U (en) Double-roll cloth spreading machine
CN103318691A (en) Double-roll cloth spreading machine
CN108943851B (en) Paperboard rubberizing mechanism
CN214087028U (en) Full-automatic mesh belt folding machine for post-printing process
CN105645150B (en) A kind of full-automatic clot packaging facilities of pyrocondensation sheet material
CN205526835U (en) Full -automatic book equipment for packing that beats of pyrocondensation sheet
CN102501539B (en) Packaging equipment for heat-insulation board
CN205929732U (en) A conductive cloth hot-melt wrapping machine
CN205512493U (en) Mask Body Making Machine
CN201203385Y (en) Digital control automatic firecrackers barrel roll red paper apparatus pasting waxy light
CN216708678U (en) Corrugated paper composite slitting equipment
CN113401709B (en) Cutting device convenient to adjust braided bag raw materials
CN206166566U (en) Honeycomb blind integrated into one piece machine
CN108656636A (en) It is a kind of repeatedly to fold the portable molding machine of papery and portable forming method
CN110499588B (en) Ultrasonic quilt machine
CN221187690U (en) Automatic flat rope threading machine for paper bag sheet materials
CN219132433U (en) Shearing mechanism is used in production of non-setting adhesive label
CN110641144A (en) Double-sided printing folding device for hand bag
CN113290830B (en) Continuous folding method and folding device for shutter door curtain
CN216378866U (en) Cloth cutting device for roller shutter production
CN106315284B (en) One kind takes paper machine automatically

Legal Events

Date Code Title Description
GR01 Patent grant
GR01 Patent grant
TR01 Transfer of patent right
TR01 Transfer of patent right

Effective date of registration: 20250424

Address after: No. 8 Hengtong Road, Houjie Town, Dongguan City, Guangdong Province 523000

Patentee after: Dongguan Xianjunlong Packaging Technology Co.,Ltd.

Country or region after: China

Address before: 518108 56 Shilong Avenue, Shitan community, Shiyan street, Baoan District, Shenzhen, Guangdong

Patentee before: SHENZHEN XIANJUNLONG COLOR PRINTING CO.,LTD.

Country or region before: China