CN214050845U - Automatic tin soldering machine - Google Patents

Automatic tin soldering machine Download PDF

Info

Publication number
CN214050845U
CN214050845U CN202022632065.1U CN202022632065U CN214050845U CN 214050845 U CN214050845 U CN 214050845U CN 202022632065 U CN202022632065 U CN 202022632065U CN 214050845 U CN214050845 U CN 214050845U
Authority
CN
China
Prior art keywords
box
air
fixed
purification
purification box
Prior art date
Legal status (The legal status is an assumption and is not a legal conclusion. Google has not performed a legal analysis and makes no representation as to the accuracy of the status listed.)
Expired - Fee Related
Application number
CN202022632065.1U
Other languages
Chinese (zh)
Inventor
周兴华
Current Assignee (The listed assignees may be inaccurate. Google has not performed a legal analysis and makes no representation or warranty as to the accuracy of the list.)
Jiahe Xingyu Electronic Processing Co ltd
Original Assignee
Jiahe Xingyu Electronic Processing Co ltd
Priority date (The priority date is an assumption and is not a legal conclusion. Google has not performed a legal analysis and makes no representation as to the accuracy of the date listed.)
Filing date
Publication date
Application filed by Jiahe Xingyu Electronic Processing Co ltd filed Critical Jiahe Xingyu Electronic Processing Co ltd
Priority to CN202022632065.1U priority Critical patent/CN214050845U/en
Application granted granted Critical
Publication of CN214050845U publication Critical patent/CN214050845U/en
Expired - Fee Related legal-status Critical Current
Anticipated expiration legal-status Critical

Links

Images

Landscapes

  • Electric Connection Of Electric Components To Printed Circuits (AREA)

Abstract

本实用新型公开了一种自动焊锡机,属于焊锡技术领域,该焊锡机包括焊台、支撑架、置物板、焊接头、固定箱、气缸和X轴驱动机构,支撑架固定在焊台上,X轴驱动机构位于支撑架上,气缸安装在固定箱内,置物板位于焊接头下方,还包括空气净化机构;空气净化机构包括净化箱、风机、排气管、进气软管和进气罩,焊台内部中空且顶部开设有槽孔,进气罩位于置物板一侧,进气软管一端与进气罩连接,另一端穿过槽孔且插设在净化箱内;净化箱位于焊台内,风机位于净化箱内,焊台侧部开设有排气口,排气管连接在风机出气口和排气口之间,净化箱内设置有活性炭过滤网。可将自动焊锡机工作中产生的刺激性气味和灰尘进行收集、净化,改善工作环境。

Figure 202022632065

The utility model discloses an automatic soldering machine, which belongs to the technical field of soldering. The soldering machine comprises a soldering station, a support frame, an object storage board, a welding head, a fixing box, an air cylinder and an X-axis driving mechanism, and the supporting frame is fixed on the soldering station. The X-axis drive mechanism is located on the support frame, the cylinder is installed in the fixed box, the storage board is located under the welding head, and also includes an air purification mechanism; the air purification mechanism includes a purification box, a fan, an exhaust pipe, an intake hose and an intake hood , the soldering station is hollow inside and has a slot hole on the top. The air inlet cover is located on one side of the storage board. One end of the air inlet hose is connected to the air inlet cover, and the other end passes through the slot hole and is inserted into the purification box; the purification box is located in the welding box. In the table, the fan is located in the purification box, the side of the soldering station is provided with an exhaust port, the exhaust pipe is connected between the fan outlet and the exhaust port, and an activated carbon filter is arranged in the purification box. It can collect and purify the irritating odor and dust generated during the work of the automatic soldering machine to improve the working environment.

Figure 202022632065

Description

Automatic tin soldering machine
Technical Field
The utility model relates to a soldering tin technical field, in particular to automatic soldering tin machine.
Background
An automatic tin soldering machine is an automatic tin soldering device, and mainly completes tin soldering operation by using the motion function of a manipulator. The core part of the automatic soldering machine is a soldering system. The tin soldering system mainly comprises an automatic tin feeding mechanism, a temperature control heating body and a soldering iron head. The full-automatic soldering machine can adjust three-dimensional space in all directions, so that the soldering iron/UL welding table, the soldering tin nozzle and the tin wire do not need to be manually adjusted by operators, and the soldering iron/UL welding table, the soldering tin nozzle and the tin wire can be conveniently adjusted to any soldering position.
Chinese patent with an authorization notice number of CN211219058U and an authorization notice date of 2020, 08 and 11 discloses a temperature control automatic tin soldering machine for electronic production and processing, which comprises a workbench, wherein a first electric telescopic rod is fixedly installed on one side of the top end of the workbench, the output end of the first electric telescopic rod is fixedly connected with the middle part of one side of a convex sliding block, and the convex sliding block is slidably connected with a convex sliding groove formed in the middle part of the top end of a fixed plate.
The defects of the prior art are that pungent smell, dust and the like are generated in the working process of the automatic tin soldering machine, the electronic element can be insufficiently welded if the dust falls into the electronic element, the product quality is affected, and the pungent smell such as metal peculiar smell can cause harm to the body of an operator.
SUMMERY OF THE UTILITY MODEL
The utility model aims at providing an automatic soldering tin machine can collect, purify the pungent smell and the dust that produce in the work of automatic soldering tin machine to improve staff's operational environment.
The above technical purpose of the present invention can be achieved by the following technical solutions:
an automatic tin soldering machine comprises a welding table, a support frame, a storage plate, a welding head, a fixed box, an air cylinder, an X-axis driving mechanism and an air purification mechanism, wherein the support frame is fixed on the welding table;
the air purification mechanism comprises a purification box, a fan, an exhaust pipe, an air inlet hose and an air inlet cover, wherein the welding table is hollow, the top of the welding table is provided with a slotted hole, the slotted hole is positioned on one side of the object placing plate, the air inlet cover is positioned on one side of the object placing plate, one end of the air inlet hose is connected with the air inlet cover, and the other end of the air inlet hose penetrates through the slotted hole and is inserted into the purification box;
the purifying box is located in the welding table, the fan is located in the purifying box, the gas vent has been seted up to the welding table lateral part, the blast pipe is connected the fan gas outlet with between the gas vent, be provided with the active carbon filter screen in the purifying box, the active carbon filter screen is located the fan air inlet with between the air intake hose air outlet.
Adopt above-mentioned structure, when the fan started, peculiar smell, the dust that the welding produced will be through the cover that admits air, admit air hose and follow the air admission purifying box, owing to be provided with the active carbon filter screen in the purifying box, consequently harmful gas, dust impurity etc. in the absorption air current that can be better to play the air purification effect, and the gas after the purification will outwards discharge through blast pipe and gas vent. The pungent smell and dust generated in the operation of the automatic soldering machine can be collected and purified, so that the working environment of workers is improved.
The method is further optimized as follows: the purifying box is internally provided with a photocatalyst filter screen, an air inlet hose air outlet, an active carbon filter screen, the photocatalyst filter screen and a fan air inlet are sequentially distributed in the purifying box, and the active carbon filter screen and the photocatalyst filter screen are arranged at intervals.
By adopting the structure, the photocatalyst filter screen can oxidize and decompose formaldehyde, methylamine, benzene, dimethylbenzene, harmful organic matters, pollutants, odor, bacteria and the like into harmless carbon dioxide and water, thereby achieving the purposes of purifying air and decomposing the harmful organic matters. Has better air purification effect.
The method is further optimized as follows: be provided with the slot in the purifying box, the active carbon filter screen with the photocatalyst filter screen is all inserted and is established in the slot.
By adopting the structure, the active carbon filter screen and the photocatalyst filter screen are convenient to install and disassemble, and the use is flexible and convenient.
The method is further optimized as follows: the Y-axis driving mechanism is used for driving the object placing plate to move on the welding table along the Y-axis direction.
The method is further optimized as follows: the Y-axis driving mechanism comprises a first motor, a gear and a rotating shaft;
the top of the welding table is provided with a through hole, the first motor is installed in the welding table, one end of the rotating shaft is fixed on an output shaft of the first motor, the other end of the rotating shaft penetrates through the center of the gear and is inserted into the inner wall of the welding table, and the gear is fixed on the rotating shaft;
the gear upwards passes through the through hole, a rack is arranged on the bottom surface of the object placing plate, and the rack is meshed with the gear.
By adopting the structure, when the first motor is started, the rotating shaft drives the gear to rotate, and because the gear is meshed with the rack, the object placing plate can move in the Y-axis direction during the gear rotation, so that the use is flexible and convenient, and the accurate welding is convenient.
The method is further optimized as follows: the article placing plate comprises a bottom plate and side plates fixed on two opposite sides of the bottom plate, a groove is formed in the bottom surface of the bottom plate, the rack is arranged at the bottom of the groove, and the air inlet cover is fixed to the tops of the side plates;
the bottom plate bottom has seted up the spout, the spout is located the relative both sides of recess, the welding bench top surface has seted up the draw runner that sets up along Y axle direction, the draw runner with spout looks adaptation, the draw runner insert in the spout and with spout sliding fit.
Adopt above-mentioned structure to make and put the thing board and slide along the spout steadily on the welding bench, improve and wait the welded component welded precision.
The method is further optimized as follows: the X-axis driving mechanism comprises a shell, a lead screw, a second motor and a mobile platform;
the shell is fixed on the support frame, the second motor is installed outside the shell, the axial direction of the screw rod is the same as the X-axis direction, one end of the screw rod penetrates through the shell and is fixed with the output shaft of the second motor, and the other end of the screw rod is inserted on the inner wall of the shell;
the movable table is sleeved on the axial direction of the screw rod and is in threaded fit with the screw rod, and the fixed box is fixed on the movable table.
By adopting the structure, when the second motor is started, the screw rod rotates in the shell, and the fixed box drives the welding head to move in the X-axis direction due to the threaded fit of the moving platform and the screw rod.
To sum up, the utility model discloses following beneficial effect has: when the fan started, peculiar smell, dust etc. that the welding produced will be through the cover that admits air, admit air hose and follow the air admission purifying box, because be provided with active carbon filter screen and photocatalyst filter screen in the purifying box, consequently harmful gas, dust impurity etc. in the absorption air current that can be better to play the air purification effect, and the gas after the purification will outwards discharge through blast pipe and gas vent. The pungent smell and dust generated in the operation of the automatic soldering machine can be collected and purified, so that the working environment of workers is improved.
Drawings
FIG. 1 is a schematic structural diagram of an embodiment, which is mainly used for embodying the overall structure of an automatic soldering machine;
FIG. 2 is a schematic structural diagram of an embodiment, which is mainly used for embodying the structure of a welding table;
FIG. 3 is a schematic structural diagram of the embodiment, which is mainly used for showing the matching structure of the Y-axis driving mechanism and the object placing plate;
FIG. 4 is a schematic structural diagram of the embodiment, which is mainly used for embodying the internal structure of the purification box;
fig. 5 is a schematic structural diagram of the embodiment, which is mainly used for embodying the internal structure of the fixed box.
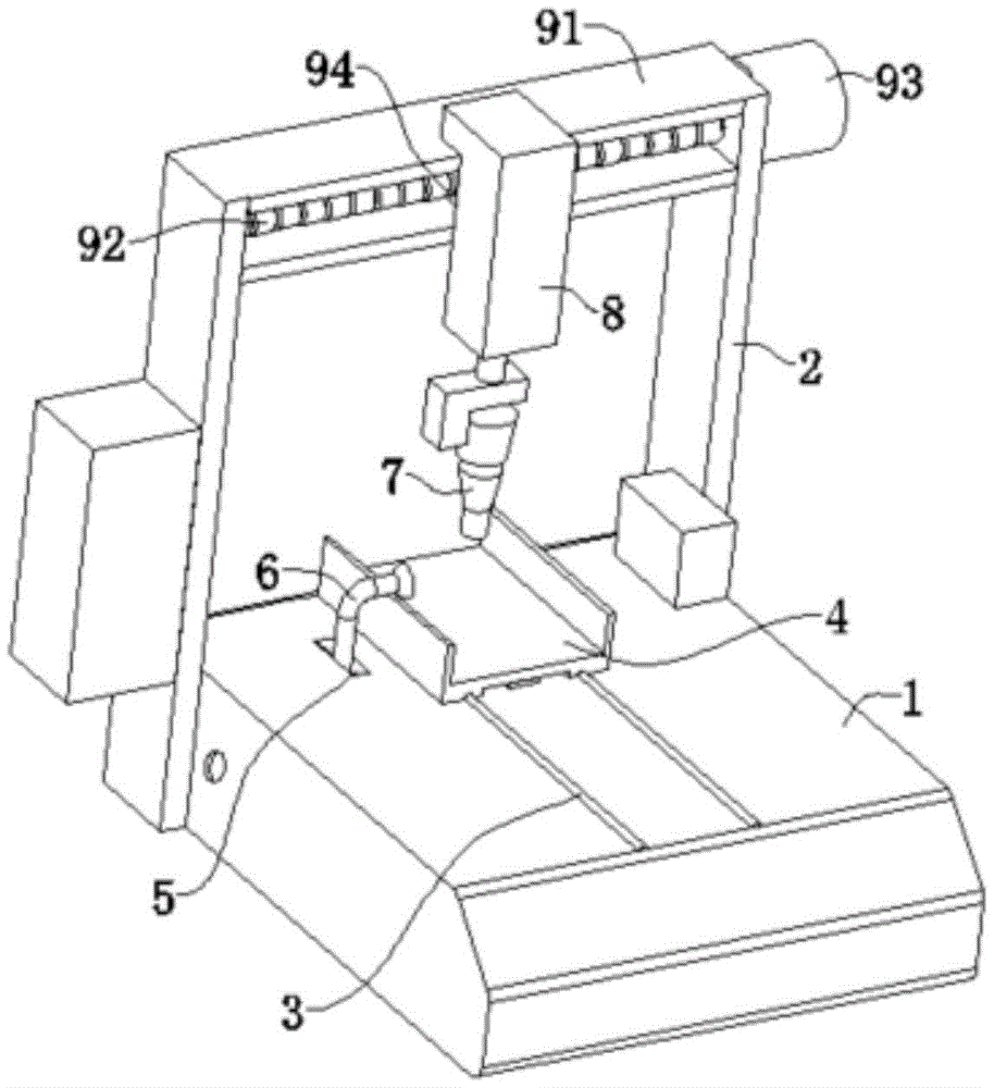
In the figure, 1, a welding table; 2. a support frame; 3. a slide bar; 4. a storage plate; 41. a base plate; 42. a side plate; 43. a chute; 44. a rack; 5. a slot; 6. an air purification mechanism; 61. an exhaust port; 62. a purification box; 63. an active carbon filter screen; 64. a photocatalyst filter screen; 65. a fan; 66. an exhaust pipe; 67. an air intake hose; 68. an air intake hood; 69. a slot; 7. welding a head; 8. a fixed box; 91. a housing; 92. a lead screw; 93. a second motor; 94. a mobile station; 10. a through hole; 11. a Y-axis drive mechanism; 111. a first motor; 112. a gear; 113. a rotating shaft; 12. and a cylinder.
Detailed Description
The present invention will be described in further detail with reference to the accompanying drawings.
Example (b): an automatic tin soldering machine, as shown in fig. 1-5, comprises a welding table 1, a support frame 2, a storage plate 4, a welding head 7, a fixed box 8, a cylinder 12, an X-axis driving mechanism, an air purifying mechanism 6 and a Y-axis driving mechanism 11. The support frame 2 is fixed on the welding table 1, and the X-axis driving mechanism is located on the support frame 2 and used for driving the fixing box 8 to move along the X-axis direction. The cylinder 12 is installed in the fixed box 8 and is used for driving the welding head 7 to move along the Z-axis direction. Specifically, the X-axis drive mechanism includes a housing 91, a lead screw 92, a second motor 93, and a moving stage 94. The casing 91 is located the welding bench 1 top and fixes on support frame 2, and the outside one end of casing 91 is installed to the second motor 93. The axial direction of the screw 92 is the same as the X-axis direction, the screw 92 is located in the housing 91, one end of the screw passes through the housing 91 and is fixed with the output shaft of the second motor 93, and the other end of the screw is inserted into the inner wall of the housing 91. The movable table 94 is sleeved on the axial direction of the lead screw 92 and is in threaded fit with the lead screw 92. In order to make the movable stage 94 move smoothly in the housing 91 along the length direction of the lead screw 92, it is preferable that a protrusion is fixed on the movable stage 94, a guide groove matched with the protrusion is formed on the inner wall of the housing 91 along the length direction of the lead screw 92, and the protrusion is embedded in the guide groove and is in sliding fit with the guide groove.
Referring to fig. 1 to 5, the fixed box 8 is fixed to the moving table 94, the fixed box 8 is hollow inside, the cylinder 12 is accommodated in the fixed box 8, the cylinder 12 includes a piston rod, and the lower end of the piston rod of the cylinder 12 passes through the fixed box 8 and is connected to the welding head 7. The fixed box 8 is located on one side of the housing 91, and the housing 91 is provided with an opening on one side close to the fixed box 8. The object placing plate 4 is located below the welding head 7 and is used for placing elements to be welded. The Y-axis driving mechanism 11 is used for driving the object placing plate 4 to move on the welding table 1 along the Y-axis direction. The Y-axis drive mechanism 11 includes a first motor 111, a gear 112, and a rotation shaft 113. The welding table 1 is hollow inside, the top of the welding table 1 is provided with a through hole 10, the first motor 111 is installed in the welding table 1, one end of the rotating shaft 113 is fixed on an output shaft of the first motor 111, and the other end of the rotating shaft passes through the center of the gear 112 and is inserted into the inner wall of the welding table 1. The gear 112 is fixed on the rotating shaft 113, the gear 112 upwards passes through the through hole 10, the axial direction of the gear 112 is arranged along the X-axis direction, the rack 44 is arranged on the bottom surface of the object placing plate 4, and the rack 44 is meshed with the gear 112.
Referring to fig. 1 to 5, the air cleaning mechanism 6 includes a cleaning tank 62, a blower 65, an exhaust pipe 66, an intake hose 67, and an intake cover 68. The top of the welding table 1 is provided with a slotted hole 5, the slotted hole 5 is positioned on one side of the object placing plate 4, the air inlet cover 68 is fixed on one side of the object placing plate 4, one end of the air inlet hose 67 is connected with the air inlet cover 68, and the other end of the air inlet hose passes through the slotted hole 5 and is inserted in the purifying box 62. The purifying box 62 is located in the welding table 1, the fan 65 is located in the purifying box 62, the exhaust port 61 is formed in the side portion of the welding table 1, and the exhaust pipe 66 is connected between the air outlet of the fan 65 and the exhaust port 61. An active carbon filter screen 63 and a photocatalyst filter screen 64 are arranged in the purification box 62, and the active carbon filter screen 63 is positioned between an air inlet of the fan 65 and an air outlet of the air inlet hose 67. Specifically, the air outlet of the air inlet hose 67, the air inlets of the activated carbon filter screen 63, the photocatalyst filter screen 64 and the fan 65 are sequentially distributed in the purifying box 62, and a space is arranged between the activated carbon filter screen 63 and the photocatalyst filter screen 64.
Referring to fig. 1 to 5, in order to detach and mount the activated carbon filter mesh 63 and the photocatalyst filter mesh 64, it is preferable that a slot 69 is provided in the purification box 62, and the slot 69 is located at the top and bottom of the purification box 62. The activated carbon filter screen 63 and the photocatalyst filter screen 64 are inserted into the insertion groove 69. The object placing plate 4 comprises a bottom plate 41 and side plates 42 fixed on two opposite sides of the bottom plate 41, a groove is arranged on the bottom surface of the bottom plate 41, a rack 44 is arranged at the bottom of the groove, and an air inlet cover 68 is fixed on the top of the side plates 42. The bottom of the bottom plate 41 is provided with a sliding groove 43, the sliding groove 43 is positioned on two opposite sides of the groove, the top surface of the welding table 1 is provided with a sliding strip 3 arranged along the Y-axis direction, the sliding strip 3 is matched with the sliding groove 43, and the sliding strip 3 is inserted into the sliding groove 43 and is in sliding fit with the sliding groove 43.
When the fan 65 starts, peculiar smell, dust and the like generated by welding enter the purifying box 62 along with the air through the air inlet cover 68 and the air inlet hose 67, and because the activated carbon filter screen 63 and the photocatalyst filter screen 64 are arranged in the purifying box 62, harmful gas, dust impurities and the like in the air flow can be better adsorbed, so that the air purifying effect is achieved, and the purified gas is discharged outwards through the exhaust pipe 66 and the exhaust port 61.
In the present embodiment, the Z-axis direction is the vertical direction in fig. 4, the Y-axis direction is the front-rear direction in fig. 4, and the X-axis direction is the horizontal direction in fig. 4.
The present embodiment is only for explaining the present invention, and it is not limited to the present invention, and those skilled in the art can make modifications to the present embodiment without inventive contribution as required after reading the present specification, but all of them are protected by patent laws within the scope of the claims of the present invention.

Claims (7)

1.一种自动焊锡机,包括焊台(1)、支撑架(2)、置物板(4)、焊接头(7)、固定箱(8)、气缸(12)和X轴驱动机构,所述支撑架(2)固定在所述焊台(1)上,所述X轴驱动机构位于所述支撑架(2)上且用于带动所述固定箱(8)沿X轴方向移动,所述气缸(12)安装在所述固定箱(8)内且用于带动所述焊接头(7)沿Z轴方向移动,所述置物板(4)位于所述焊接头(7)下方且用于放置待焊接元件,其特征是:还包括空气净化机构(6);1. An automatic soldering machine, comprising a soldering station (1), a support frame (2), a storage board (4), a welding head (7), a fixing box (8), a cylinder (12) and an X-axis drive mechanism, so The support frame (2) is fixed on the welding station (1), and the X-axis drive mechanism is located on the support frame (2) and is used to drive the fixed box (8) to move along the X-axis direction, so The air cylinder (12) is installed in the fixing box (8) and is used to drive the welding head (7) to move along the Z-axis direction, and the storage board (4) is located under the welding head (7) and is used for For placing the components to be welded, it is characterized in that: it also includes an air purification mechanism (6); 所述空气净化机构(6)包括净化箱(62)、风机(65)、排气管(66)、进气软管(67)和进气罩(68),所述焊台(1)内部中空且顶部开设有槽孔(5),所述槽孔(5)位于所述置物板(4)一侧,所述进气罩(68)位于所述置物板(4)一侧,所述进气软管(67)一端与所述进气罩(68)连接,另一端穿过所述槽孔(5)且插设在所述净化箱(62)内;The air purification mechanism (6) includes a purification box (62), a fan (65), an exhaust pipe (66), an air intake hose (67) and an air intake cover (68). It is hollow and is provided with a slot hole (5) on the top, the slot hole (5) is located on one side of the storage board (4), the air inlet cover (68) is located on the side of the storage board (4), and the One end of the air intake hose (67) is connected to the air intake cover (68), and the other end passes through the slot hole (5) and is inserted into the purification box (62); 所述净化箱(62)位于所述焊台(1)内,所述风机(65)位于所述净化箱(62)内,所述焊台(1)侧部开设有排气口(61),所述排气管(66)连接在所述风机(65)出气口和所述排气口(61)之间,所述净化箱(62)内设置有活性炭过滤网(63),所述活性炭过滤网(63)位于所述风机(65)进气口和所述进气软管(67)出风口之间。The purification box (62) is located in the welding station (1), the fan (65) is located in the purification box (62), and an exhaust port (61) is opened on the side of the welding station (1). , the exhaust pipe (66) is connected between the air outlet of the fan (65) and the exhaust port (61), the purification box (62) is provided with an activated carbon filter (63), the The activated carbon filter screen (63) is located between the air inlet of the fan (65) and the air outlet of the air inlet hose (67). 2.根据权利要求1所述的一种自动焊锡机,其特征是:所述净化箱(62)内设置有光触媒过滤网(64),所述进气软管(67)出风口、活性炭过滤网(63)、光触媒过滤网(64)和所述风机(65)进气口依次分布在所述净化箱(62)内,且所述活性炭过滤网(63)与所述光触媒过滤网(64)之间设有间距。2. An automatic soldering machine according to claim 1, characterized in that: a photocatalyst filter screen (64) is arranged in the purification box (62), the air outlet of the air intake hose (67), the activated carbon filter The net (63), the photocatalyst filter (64) and the air inlet of the fan (65) are sequentially distributed in the purification box (62), and the activated carbon filter (63) and the photocatalyst filter (64) ) with a space between them. 3.根据权利要求2所述的一种自动焊锡机,其特征是:所述净化箱(62)内设置有插槽(69),所述活性炭过滤网(63)和所述光触媒过滤网(64)均插设在所述插槽(69)内。3. An automatic soldering machine according to claim 2, characterized in that: a slot (69) is provided in the purification box (62), the activated carbon filter screen (63) and the photocatalyst filter screen ( 64) are inserted into the slot (69). 4.根据权利要求1所述的一种自动焊锡机,其特征是:还包括Y轴驱动机构(11),所述Y轴驱动机构(11)用于带动所述置物板(4)在所述焊台(1)上沿Y轴方向移动。4. An automatic soldering machine according to claim 1, characterized in that: it further comprises a Y-axis drive mechanism (11), and the Y-axis drive mechanism (11) is used to drive the storage board (4) in the The soldering station (1) moves along the Y-axis direction. 5.根据权利要求4所述的一种自动焊锡机,其特征是:所述Y轴驱动机构(11)包括第一电机(111)、齿轮(112)和转轴(113);5. An automatic soldering machine according to claim 4, characterized in that: the Y-axis drive mechanism (11) comprises a first motor (111), a gear (112) and a rotating shaft (113); 所述焊台(1)顶部开设有通孔(10),所述第一电机(111)安装在所述焊台(1)内,所述转轴(113)一端固定在所述第一电机(111)输出轴上,另一端穿过所述齿轮(112)中心且插设在所述焊台(1)内壁,所述齿轮(112)固定在所述转轴(113)上;The top of the soldering station (1) is provided with a through hole (10), the first motor (111) is installed in the soldering station (1), and one end of the rotating shaft (113) is fixed to the first motor (111). 111) On the output shaft, the other end passes through the center of the gear (112) and is inserted into the inner wall of the welding station (1), and the gear (112) is fixed on the rotating shaft (113); 所述齿轮(112)向上穿过所述通孔(10),所述置物板(4)底面设置有齿条(44),所述齿条(44)与所述齿轮(112)啮合设置。The gear (112) passes upward through the through hole (10), and a rack (44) is provided on the bottom surface of the storage board (4), and the rack (44) is meshed with the gear (112). 6.根据权利要求5所述的一种自动焊锡机,其特征是:所述置物板(4)包括底板(41)和固定在所述底板(41)相对两侧的侧板(42),所述底板(41)底面设置有凹槽,所述齿条(44)设置在所述凹槽底部,所述进气罩(68)固定在所述侧板(42)顶部;6. An automatic soldering machine according to claim 5, characterized in that: the storage board (4) comprises a bottom plate (41) and side plates (42) fixed on opposite sides of the bottom plate (41), The bottom surface of the bottom plate (41) is provided with a groove, the rack (44) is provided at the bottom of the groove, and the air intake cover (68) is fixed on the top of the side plate (42); 所述底板(41)底部开设有滑槽(43),所述滑槽(43)位于所述凹槽的相对两侧,所述焊台(1)顶面开设有沿Y轴方向设置的滑条(3),所述滑条(3)与所述滑槽(43)相适配,所述滑条(3)插在所述滑槽(43)内且与所述滑槽(43)滑动配合。The bottom plate (41) is provided with sliding grooves (43), the sliding grooves (43) are located on opposite sides of the groove, and the top surface of the soldering station (1) is provided with sliding grooves (43) arranged along the Y-axis direction. bar (3), the slide bar (3) is adapted to the chute (43), the slide bar (3) is inserted in the chute (43) and is connected with the chute (43) Slip fit. 7.根据权利要求1所述的一种自动焊锡机,其特征是:所述X轴驱动机构包括壳体(91)、丝杠(92)、第二电机(93)和移动台(94);7. An automatic soldering machine according to claim 1, wherein the X-axis drive mechanism comprises a casing (91), a lead screw (92), a second motor (93) and a moving table (94) ; 所述壳体(91)固定在所述支撑架(2)上,所述第二电机(93)安装在所述壳体(91)外部,所述丝杠(92)轴向方向与X轴方向相同,所述丝杠(92)一端穿过所述壳体(91)且与所述第二电机(93)输出轴固定,另一端插设在所述壳体(91)内壁上;The housing (91) is fixed on the support frame (2), the second motor (93) is installed outside the housing (91), and the axial direction of the lead screw (92) is the same as the X axis In the same direction, one end of the lead screw (92) passes through the housing (91) and is fixed to the output shaft of the second motor (93), and the other end is inserted into the inner wall of the housing (91); 所述移动台(94)套设在所述丝杠(92)轴向上且与所述丝杠(92)螺纹配合,所述固定箱(8)固定在所述移动台(94)上。The moving table (94) is sleeved on the axial direction of the lead screw (92) and is screwed with the lead screw (92), and the fixing box (8) is fixed on the moving table (94).
CN202022632065.1U 2020-11-15 2020-11-15 Automatic tin soldering machine Expired - Fee Related CN214050845U (en)

Priority Applications (1)

Application Number Priority Date Filing Date Title
CN202022632065.1U CN214050845U (en) 2020-11-15 2020-11-15 Automatic tin soldering machine

Applications Claiming Priority (1)

Application Number Priority Date Filing Date Title
CN202022632065.1U CN214050845U (en) 2020-11-15 2020-11-15 Automatic tin soldering machine

Publications (1)

Publication Number Publication Date
CN214050845U true CN214050845U (en) 2021-08-27

Family

ID=77401255

Family Applications (1)

Application Number Title Priority Date Filing Date
CN202022632065.1U Expired - Fee Related CN214050845U (en) 2020-11-15 2020-11-15 Automatic tin soldering machine

Country Status (1)

Country Link
CN (1) CN214050845U (en)

Similar Documents

Publication Publication Date Title
CN115673538A (en) A multi-station welding workbench for a laser welding machine
CN214050845U (en) Automatic tin soldering machine
CN216882360U (en) Welding positioning device for manufacturing metallurgical machinery
CN214019795U (en) Air purification device for purification workshop
CN210886180U (en) Galvanized device is used in processing of iron artware
CN219786953U (en) Smoking and dust removing integrated laser code spraying machine
CN118720497A (en) A new energy vehicle chassis parts auxiliary welding device
CN114952036B (en) Full-automatic laser cutting die based on multidirectional function
CN111136500A (en) CNC for processing die
CN215237763U (en) Sand casting is with vibrations knockout device
CN115041749A (en) Cutting device is used in production of railway accessories
CN203141317U (en) Dust collection device for grinding machine
CN115122019A (en) Automatic welding equipment for mechanical manufacturing
CN217452661U (en) Welding equipment for frame manufacturing
CN219561843U (en) Small purifier and laser engraving machine using same
CN221454767U (en) Welding device for electrical engineering
CN219722308U (en) Exhaust gas eliminator
CN220880980U (en) Waste material removing device
CN220761360U (en) Laser engraving machine for processing parts
RU236241U1 (en) Unit for removing smoke from the cutting zone of material with a laser head on a coordinate machine
CN219117770U (en) Shaping mechanism for producing dedusting filter bag
CN220006500U (en) Steel springboard welding machine with safeguard function
CN220113702U (en) Cylindrical crucible processingequipment
CN220031282U (en) Oscillating punch press with dust removal structure
CN217701834U (en) Laser welding machine with smoke exhaust pipe

Legal Events

Date Code Title Description
GR01 Patent grant
GR01 Patent grant
CF01 Termination of patent right due to non-payment of annual fee
CF01 Termination of patent right due to non-payment of annual fee

Granted publication date: 20210827