CN213965335U - Prevent blockking up sewage treatment plant - Google Patents

Prevent blockking up sewage treatment plant Download PDF

Info

Publication number
CN213965335U
CN213965335U CN202022172275.7U CN202022172275U CN213965335U CN 213965335 U CN213965335 U CN 213965335U CN 202022172275 U CN202022172275 U CN 202022172275U CN 213965335 U CN213965335 U CN 213965335U
Authority
CN
China
Prior art keywords
fixedly connected
box
sewage treatment
filter screen
filter
Prior art date
Legal status (The legal status is an assumption and is not a legal conclusion. Google has not performed a legal analysis and makes no representation as to the accuracy of the status listed.)
Expired - Fee Related
Application number
CN202022172275.7U
Other languages
Chinese (zh)
Inventor
谷昕澜
宋艳
谷寒
Current Assignee (The listed assignees may be inaccurate. Google has not performed a legal analysis and makes no representation or warranty as to the accuracy of the list.)
Shanghai Dakang Environmental Technology Co ltd
Original Assignee
Shanghai Dakang Environmental Technology Co ltd
Priority date (The priority date is an assumption and is not a legal conclusion. Google has not performed a legal analysis and makes no representation as to the accuracy of the date listed.)
Filing date
Publication date
Application filed by Shanghai Dakang Environmental Technology Co ltd filed Critical Shanghai Dakang Environmental Technology Co ltd
Priority to CN202022172275.7U priority Critical patent/CN213965335U/en
Application granted granted Critical
Publication of CN213965335U publication Critical patent/CN213965335U/en
Expired - Fee Related legal-status Critical Current
Anticipated expiration legal-status Critical

Links

Images

Landscapes

  • Filtration Of Liquid (AREA)

Abstract

本实用新型提供一种防堵塞污水处理装置,属于污水处理技术领域,该防堵塞污水处理装置包括处理箱体,所述处理箱体的背面固定连接有第一伺服电机,所述第一伺服电机的输出端固定连接有固定架,所述固定架的内部活动连接有滤网盒。该防堵塞污水处理装置,当污水从进水管进入处理箱体内部时,会先经过滤网盒进行过滤,此时滤网盒会过滤掉一部分杂物,降低后续过滤压力,并且第一伺服电机的启动会带动滤网盒发生位置移动,则滤网盒移动至吸尘罩下方时,在吸尘风机的作用下,会将滤网盒内部的杂物通过导管吸入杂物箱内,使滤网盒可继续进行过滤,不仅提高了过滤效果,降低堵塞概率,而且杂物易收集,节省工作时间。

Figure 202022172275

The utility model provides an anti-clogging sewage treatment device, belonging to the technical field of sewage treatment. The anti-clogging sewage treatment device comprises a treatment box body, the back of the treatment box body is fixedly connected with a first servo motor, and the first servo motor A fixing frame is fixedly connected to the output end of the fixing frame, and a filter screen box is movably connected inside the fixing frame. In the anti-clogging sewage treatment device, when sewage enters the treatment box from the water inlet pipe, it will first be filtered through the filter box. The activation of the filter box will drive the position of the filter box to move, and when the filter box moves to the bottom of the vacuum hood, under the action of the vacuum fan, the debris inside the filter box will be sucked into the debris box through the duct, so that the filter The mesh box can continue to filter, which not only improves the filtering effect and reduces the probability of clogging, but also easy to collect debris, saving working time.

Figure 202022172275

Description

Prevent blockking up sewage treatment plant
Technical Field
The utility model belongs to the technical field of sewage treatment, concretely relates to prevent blockking up sewage treatment plant.
Background
The sewage is the water pollution caused by the industrial process, which is the general term of the water discharged in the production and living activities and is similar to the water pollution caused by the production activities. For example, industrial wastewater contains many pollutants and complex components, and is not only difficult to purify in water, but also difficult to treat. Industrial wastewater is the most important cause of water body pollution caused by industrial pollution. It accounts for a large portion of the pollutants discharged by industry. The pollutants contained in the industrial wastewater vary widely according to different types of plants, and even if the same type of plants have different production processes, the quality and the quantity of the pollutants contained in the industrial wastewater are different. In addition to the pollution caused by the direct injection of the discharged wastewater into the water body, the industry also pollutes the water body by solid waste and waste gas.
Because the impurity is more in the sewage, when carrying out sewage treatment, the filter screen jam easily takes place to influence the filter effect.
SUMMERY OF THE UTILITY MODEL
An object of the utility model is to provide a prevent blockking up sewage treatment plant aims at solving among the prior art impurity in the sewage more, when carrying out sewage treatment, easily takes place the filter screen jam to influence the problem of filter effect.
In order to achieve the above object, the utility model provides a following technical scheme: the utility model provides a prevent blockking up sewage treatment plant, includes the processing box, the first servo motor of back fixedly connected with of processing box, first servo motor's output fixedly connected with mount, the inside swing joint of mount has the filter screen box, one side of processing box is from last to fixedly connected with inlet tube and supporting spring down in proper order, the one end fixedly connected with push pedal of processing box is kept away from to supporting spring, one side swing joint of push pedal has the eccentric wheel, the back fixedly connected with second servo motor of eccentric wheel, the opposite side fixedly connected with push rod of push pedal, the one end fixedly connected with cleaning brush of push pedal is kept away from to the push rod.
In order to make this prevent blockking up sewage treatment plant reach the purpose that the inside debris of filter screen box were easily collected, as the utility model relates to an it is preferred, the inner wall fixedly connected with suction hood of handling the box, the last fixed surface of suction hood is connected with the pipe, the one end fixedly connected with dust absorption fan of suction hood is kept away from to the pipe, dust absorption fan's lower fixed surface is connected with the glove box.
In order to make this prevent blockking up sewage treatment plant reach the more convenient purpose of filter screen installation, conduct the utility model relates to an it is preferred, the inner wall fixedly connected with slide of handling the box, the inside swing joint of slide has the filter screen.
In order to make this prevent blockking up sewage treatment plant reach the controllable purpose of drainage flow rate, conduct the utility model relates to an it is preferred, the middle part fixedly connected with drain pipe of handling the box lower surface, the inside swing joint of drain pipe has the control valve.
In order to make this prevent blockking up sewage treatment plant reach and place more stable purpose, conduct the utility model relates to an it is preferred, the equal fixedly connected with supporting leg in four corners of handling the box lower surface, the supporting leg is kept away from the one end fixedly connected with PMKD who handles the box.
In order to make this prevent blockking up sewage treatment plant reach the purpose of being convenient for take out the filter screen, conduct the utility model relates to an it is preferred, there is the chamber door positive through hinge swing joint of handling the box, one side fixedly connected with handle of chamber door upper surface.
Compared with the prior art, the beneficial effects of the utility model are that:
1. this prevent blockking up sewage treatment plant, through handling the box, the inlet tube, first servo motor, the mount, the filter screen box, the suction hood, the pipe, cooperation setting between dust absorption fan and the glove compartment, when sewage gets into from the inlet tube and handles the box inside, can filter through the filter screen box earlier, filter screen box can filter a part debris this moment, reduce follow-up filter pressure, and first servo motor's start-up can drive filter screen box emergence position and remove, then when filter screen box removes to the suction hood below, under the effect of dust absorption fan, can pass through the pipe with the inside debris of filter screen box and inhale the glove compartment in, make the filter screen box can continue to filter, not only improve the filter effect, reduce and block up the probability, and debris are easily collected, and save operating time.
2. This prevent blockking up sewage treatment plant, through the slide, the filter screen, second servo motor, supporting spring, the push pedal, the eccentric wheel, cooperation setting between push rod and the cleaning brush, start second servo motor, then second servo motor can drive the eccentric wheel and rotate, make the push rod drive the cleaning brush and carry out reciprocating motion on the filter screen, then can push away debris on the filter screen to one side, and clear up the filter screen, not only improved the sewage filter effect, avoid the filter screen to take place to block up moreover, make sewage treatment work go on in order.
Drawings
The accompanying drawings are included to provide a further understanding of the invention, and are incorporated in and constitute a part of this specification, illustrate embodiments of the invention, and together with the description serve to explain the invention and not to limit the invention. In the drawings:
fig. 1 is a schematic view of an axial measurement structure of the present invention;
fig. 2 is a schematic rear view of the present invention;
fig. 3 is a schematic front view of the cross-sectional structure of the present invention;
FIG. 4 is a schematic axial view of the cleaning brush of the present invention;
fig. 5 is a schematic view of an axial structure of the middle fixing frame of the present invention;
fig. 6 is a schematic view of the axial measurement structure of the middle filter screen of the present invention.
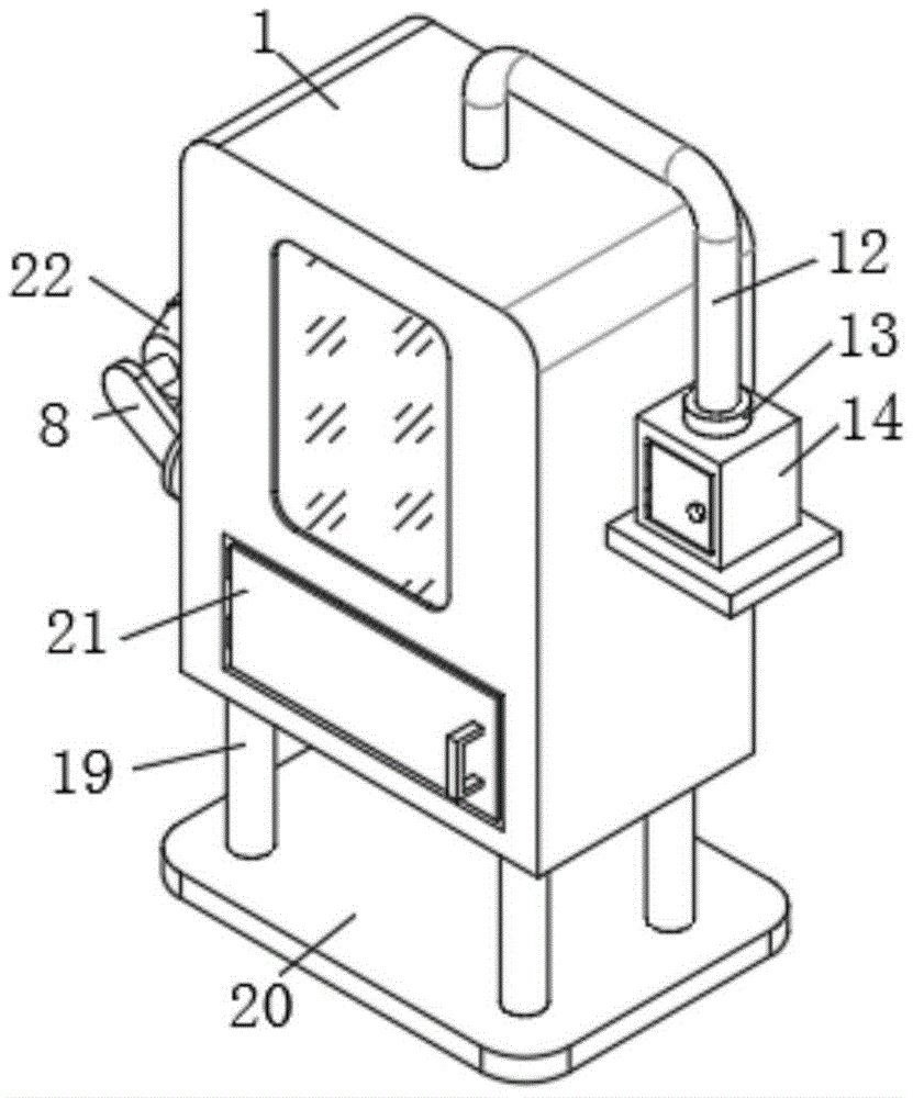
In the figure: 1. a treatment box body; 2. a first servo motor; 3. a fixed mount; 4. a filter screen box; 5. a water inlet pipe; 6. a support spring; 7. pushing the plate; 8. an eccentric wheel; 9. a push rod; 10. cleaning brushes; 11. a dust hood; 12. a conduit; 13. a dust collection fan; 14. a glove box; 15. a slideway; 16. a filter screen; 17. a drain pipe; 18. a control valve; 19. supporting legs; 20. fixing the bottom plate; 21. a box door; 22. a second servo motor.
Detailed Description
The technical solutions in the embodiments of the present invention will be described clearly and completely with reference to the accompanying drawings in the embodiments of the present invention, and it is obvious that the described embodiments are only some embodiments of the present invention, not all embodiments. Based on the embodiments in the present invention, all other embodiments obtained by a person skilled in the art without creative work belong to the protection scope of the present invention.
Examples
Referring to fig. 1-6, the present invention provides the following technical solutions: the utility model provides a prevent blockking up sewage treatment plant, including handling box 1, handle the first servo motor 2 of the back fixedly connected with of box 1, the output fixedly connected with mount 3 of first servo motor 2, the inside swing joint of mount 3 has filter screen box 4, handle one side of box 1 from last fixedly connected with inlet tube 5 and supporting spring 6 down in proper order, supporting spring 6 keeps away from the one end fixedly connected with push pedal 7 of handling box 1, one side swing joint of push pedal 7 has eccentric wheel 8, the back fixedly connected with second servo motor 22 of eccentric wheel 8, the opposite side fixedly connected with push rod 9 of push pedal 7, the one end fixedly connected with cleaning brush 10 of push pedal 7 is kept away from to push rod 9.
In the embodiment of the utility model, through the processing box 1, the inlet tube 5, the first servo motor 2, the mount 3, the filter screen box 4, the suction hood 11, the pipe 12, cooperation setting between dust absorption fan 13 and the glove compartment 14, when sewage gets into the processing box 1 inside from the inlet tube 5, can filter through the filter screen box 4 earlier, filter screen box 4 can filter some debris this moment, reduce follow-up filtration pressure, and the start-up of first servo motor 2 can drive filter screen box 4 and take place the position and move, then when filter screen box 4 moves to the suction hood 11 below, under the effect of dust absorption fan 13, can be with the inside debris of filter screen box 4 through pipe 12 suction glove compartment 14 in, make filter screen box 4 can continue to filter, not only improve the filter effect, reduce the jam probability, and debris are easily collected, save operating time, through slide 15, Filter screen 16, second servo motor 22, supporting spring 6, push pedal 7, eccentric wheel 8, the cooperation setting between push rod 9 and the cleaning brush 10, start second servo motor 22, then second servo motor 22 can drive eccentric wheel 8 and rotate, make push rod 9 drive cleaning brush 10 carry out reciprocating motion on filter screen 16, then can push away debris on the filter screen 16 to one side, and clear up filter screen 16, not only improved the sewage filter effect, and avoid filter screen 16 to take place the jam, make sewage treatment work go on in order.
Specifically, the inner wall of the treatment box body 1 is fixedly connected with a dust hood 11, the upper surface of the dust hood 11 is fixedly connected with a guide pipe 12, one end of the guide pipe 12 far away from the dust hood 11 is fixedly connected with a dust collection fan 13, and the lower surface of the dust collection fan 13 is fixedly connected with a glove box 14.
In this embodiment: through the arrangement of the dust hood 11, the guide pipe 12, the dust collection fan 13 and the sundries box 14, sundries in the filter screen box 4 can be collected more conveniently and rapidly.
Specifically, the inner wall of the treatment box body 1 is fixedly connected with a slide way 15, and the inside of the slide way 15 is movably connected with a filter screen 16.
In this embodiment: by arranging the slide way 15, the filter screen 16 can be more conveniently installed.
Specifically, the middle part of the lower surface of the treatment box body 1 is fixedly connected with a drain pipe 17, and the inside of the drain pipe 17 is movably connected with a control valve 18.
In this embodiment: by the arrangement of the drain pipe 17 and the control valve 18, the flow rate of the drain water can be controlled.
Specifically, the four corners of the lower surface of the treatment box body 1 are fixedly connected with supporting legs 19, and the supporting legs 19 are far away from one end fixedly connected with a fixed bottom plate 20 of the treatment box body 1.
In this embodiment: the device can be placed more stably by the arrangement of the supporting legs 19 and the fixed bottom plate 20.
Specifically, the front surface of the treatment box body 1 is movably connected with a box door 21 through a hinge, and one side of the upper surface of the box door 21 is fixedly connected with a handle.
In this embodiment: by arranging the box door 21, the filter screen 16 can be taken out conveniently.
The electrical components presented in the document are all electrically connected with an external master controller and 220V mains, and the master controller can be a conventional known device controlled by a computer or the like.
The utility model discloses a theory of operation and use flow: when the anti-blocking sewage treatment device is used, when sewage enters the treatment box body 1 from the water inlet pipe 5, the sewage is firstly filtered by the filter screen box 4, at the moment, the filter screen box 4 can filter a part of impurities to reduce the subsequent filtering pressure, and the first servo motor 2 is started to drive the filter screen box 4 to move, so that when the filter screen box 4 moves to the lower part of the dust hood 11, under the action of the dust suction fan 13, the impurities in the filter screen box 4 are sucked into the impurity box 14 through the guide pipe 12, so that the filter screen box 4 can be continuously filtered, the filtering effect is improved, the blocking probability is reduced, the impurities are easy to collect, the working time is saved, the second servo motor 22 is started through the matching arrangement between the slide way 15, the filter screen 16, the second servo motor 22, the supporting spring 6, the push plate 7, the eccentric wheel 8, the push rod 9 and the cleaning brush 10, and the second servo motor 22 drives the eccentric wheel 8 to rotate, make push rod 9 drive cleaning brush 10 and carry out reciprocating motion on filter screen 16, then can push away debris on filter screen 16 to one side, and clear up filter screen 16, not only improved sewage filter effect, avoid filter screen 16 to take place the jam moreover, make sewage treatment work go on in order. Finally, it should be noted that: although the present invention has been described in detail with reference to the foregoing embodiments, it will be apparent to those skilled in the art that modifications may be made to the embodiments described in the foregoing embodiments, or equivalents may be substituted for elements thereof. Any modification, equivalent replacement, or improvement made within the spirit and principle of the present invention should be included in the protection scope of the present invention.

Claims (6)

1. The utility model provides a prevent blockking up sewage treatment plant, is including handling box (1), its characterized in that: handle first servo motor (2) of the back fixedly connected with of box (1), output fixedly connected with mount (3) of first servo motor (2), the inside swing joint of mount (3) has filter screen box (4), handle one side of box (1) from last fixedly connected with inlet tube (5) and supporting spring (6) down in proper order, the one end fixedly connected with push pedal (7) of handling box (1) are kept away from in supporting spring (6), one side swing joint of push pedal (7) has eccentric wheel (8), the back fixedly connected with second servo motor (22) of eccentric wheel (8), opposite side fixedly connected with push rod (9) of push pedal (7), the one end fixedly connected with cleaning brush (10) of push pedal (7) are kept away from in push rod (9).
2. The anti-clogging sewage treatment device according to claim 1, wherein: the inner wall fixedly connected with dust hood (11) of handling box (1), the last fixed surface of dust hood (11) is connected with pipe (12), the one end fixedly connected with dust absorption fan (13) of dust hood (11) are kept away from in pipe (12), the lower fixed surface of dust absorption fan (13) is connected with glove compartment (14).
3. The anti-clogging sewage treatment device according to claim 1, wherein: the inner wall of the treatment box body (1) is fixedly connected with a slide way (15), and a filter screen (16) is movably connected inside the slide way (15).
4. The anti-clogging sewage treatment device according to claim 1, wherein: the middle part of the lower surface of the treatment box body (1) is fixedly connected with a drain pipe (17), and the inside of the drain pipe (17) is movably connected with a control valve (18).
5. The anti-clogging sewage treatment device according to claim 1, wherein: the four corners of the lower surface of the treatment box body (1) are fixedly connected with supporting legs (19), and one end of the supporting legs (19) far away from the treatment box body (1) is fixedly connected with a fixed bottom plate (20).
6. The anti-clogging sewage treatment device according to claim 1, wherein: the front surface of the treatment box body (1) is movably connected with a box door (21) through a hinge, and one side of the upper surface of the box door (21) is fixedly connected with a handle.
CN202022172275.7U 2020-09-28 2020-09-28 Prevent blockking up sewage treatment plant Expired - Fee Related CN213965335U (en)

Priority Applications (1)

Application Number Priority Date Filing Date Title
CN202022172275.7U CN213965335U (en) 2020-09-28 2020-09-28 Prevent blockking up sewage treatment plant

Applications Claiming Priority (1)

Application Number Priority Date Filing Date Title
CN202022172275.7U CN213965335U (en) 2020-09-28 2020-09-28 Prevent blockking up sewage treatment plant

Publications (1)

Publication Number Publication Date
CN213965335U true CN213965335U (en) 2021-08-17

Family

ID=77255000

Family Applications (1)

Application Number Title Priority Date Filing Date
CN202022172275.7U Expired - Fee Related CN213965335U (en) 2020-09-28 2020-09-28 Prevent blockking up sewage treatment plant

Country Status (1)

Country Link
CN (1) CN213965335U (en)

Cited By (4)

* Cited by examiner, † Cited by third party
Publication number Priority date Publication date Assignee Title
CN114470903A (en) * 2022-01-11 2022-05-13 刘历颂 Preliminary purifier of sewage for production
CN114669101A (en) * 2022-04-20 2022-06-28 应急管理部天津消防研究所 Automatic dredging device at water suction end of large-flow remote water delivery pipe for emergency rescue
CN117139325A (en) * 2023-10-30 2023-12-01 哈尔滨超锐机械设备有限公司 Chip winding device of machine tool for machining
CN118321810A (en) * 2024-04-08 2024-07-12 杭州康特尔电梯部件有限公司 A bracket welding device for elevator processing

Cited By (5)

* Cited by examiner, † Cited by third party
Publication number Priority date Publication date Assignee Title
CN114470903A (en) * 2022-01-11 2022-05-13 刘历颂 Preliminary purifier of sewage for production
CN114470903B (en) * 2022-01-11 2024-03-29 刘历颂 Primary purifier of sewage is used in production
CN114669101A (en) * 2022-04-20 2022-06-28 应急管理部天津消防研究所 Automatic dredging device at water suction end of large-flow remote water delivery pipe for emergency rescue
CN117139325A (en) * 2023-10-30 2023-12-01 哈尔滨超锐机械设备有限公司 Chip winding device of machine tool for machining
CN118321810A (en) * 2024-04-08 2024-07-12 杭州康特尔电梯部件有限公司 A bracket welding device for elevator processing

Similar Documents

Publication Publication Date Title
CN213965335U (en) Prevent blockking up sewage treatment plant
CN212308969U (en) Industrial automation sewage filter equipment
CN201664881U (en) Collection device for polishing dust
CN213790457U (en) Reciprocating type circulation self-cleaning's oil mist purifier
CN219149582U (en) Waste gas dust collector of convenient clearance
CN218458949U (en) An air purification device with a self-cleaning system
CN215372402U (en) Automatic control system of steam boiler
CN221333251U (en) Efficient automatic waste gas removing device for paint production
CN211486857U (en) A self-adjusting intelligent air dust removal equipment
CN211676730U (en) An air purifier composite filter material
CN220443406U (en) A kind of smoke purification mechanism for wire processing
CN219399395U (en) Novel semiconductor equipment exhaust-gas treatment environmental protection device
CN221771890U (en) Waste gas absorption and treatment device
CN223393206U (en) Water purification material reation kettle that possesses waste gas and collects function
CN221999363U (en) Dust processing apparatus is used in construction of based on municipal road bridge tunnel
CN221471846U (en) Efficient activated carbon adsorption catalytic regeneration device
CN221333411U (en) Smoking dust collector for cutting machine
CN221933418U (en) Energy-saving environment-friendly atmospheric pollution treatment device
CN221867823U (en) Furniture processing dust collector
CN220899919U (en) A stable exhaust gas processor
CN215232927U (en) Dust collector for hardware processing
CN222445749U (en) Anti-clogging waste gas treatment equipment
CN220918606U (en) Combined laboratory waste gas treatment device
CN221208622U (en) Spraying device for processing aluminum profile doors and windows
CN223499735U (en) A household adjustable air purifier

Legal Events

Date Code Title Description
GR01 Patent grant
GR01 Patent grant
CF01 Termination of patent right due to non-payment of annual fee
CF01 Termination of patent right due to non-payment of annual fee

Granted publication date: 20210817