CN213946660U - Slitting machine equipment with automatic knife sharpening function - Google Patents

Slitting machine equipment with automatic knife sharpening function Download PDF

Info

Publication number
CN213946660U
CN213946660U CN202022677622.1U CN202022677622U CN213946660U CN 213946660 U CN213946660 U CN 213946660U CN 202022677622 U CN202022677622 U CN 202022677622U CN 213946660 U CN213946660 U CN 213946660U
Authority
CN
China
Prior art keywords
slitting
blade
machine
slitting machine
knife
Prior art date
Legal status (The legal status is an assumption and is not a legal conclusion. Google has not performed a legal analysis and makes no representation as to the accuracy of the status listed.)
Expired - Fee Related
Application number
CN202022677622.1U
Other languages
Chinese (zh)
Inventor
王烨
Current Assignee (The listed assignees may be inaccurate. Google has not performed a legal analysis and makes no representation or warranty as to the accuracy of the list.)
Yizimi Wuxi Nano Material Technology Co ltd
Original Assignee
Yizimi Wuxi Nano Material Technology Co ltd
Priority date (The priority date is an assumption and is not a legal conclusion. Google has not performed a legal analysis and makes no representation as to the accuracy of the date listed.)
Filing date
Publication date
Application filed by Yizimi Wuxi Nano Material Technology Co ltd filed Critical Yizimi Wuxi Nano Material Technology Co ltd
Priority to CN202022677622.1U priority Critical patent/CN213946660U/en
Application granted granted Critical
Publication of CN213946660U publication Critical patent/CN213946660U/en
Expired - Fee Related legal-status Critical Current
Anticipated expiration legal-status Critical

Links

Images

Landscapes

  • Finish Polishing, Edge Sharpening, And Grinding By Specific Grinding Devices (AREA)

Abstract

本实用新型属于分切机领域,具体涉及一种具有自动磨刀功能分切机设备,包括分切机,所述分切机的两端对称安装有机架,两个所述机架之间夹持安装有工作台,且两个所述工作台的顶部对称安装有竖板;所述工作台的上方设置有移动装置,所述移动装置包括夹持在两个所述竖板之间的横轨,所述横轨上滑动安装有电动滑台,所述电动滑台的底部安装有气缸,所述气缸的输出端连接有活塞杆,所述活塞杆另一端连接有分切刀台;在现有的分切机设备基础上,增加由打磨架和刀片磨具制成的磨刀设施,设备改进后,可在生产后移动分切刀台对分切刀片自动磨刀,有效降低该岗位对员工的专业能力需求,缩短产品生产工时,达到节约生产成本目的。

Figure 202022677622

The utility model belongs to the field of slitting machines, in particular to a slitting machine device with an automatic knife sharpening function, comprising a slitting machine, and two ends of the slitting machine are symmetrically installed with racks, and between the two racks A worktable is clamped and installed, and a vertical plate is symmetrically installed on the top of the two worktables; a moving device is arranged above the worktable, and the moving device includes a vertical plate clamped between the two vertical plates. a horizontal rail, an electric sliding table is slidably installed on the horizontal rail, a cylinder is installed at the bottom of the electric sliding table, a piston rod is connected to the output end of the cylinder, and the other end of the piston rod is connected to a slitting knife table; On the basis of the existing slitting machine equipment, a sharpening facility made of grinding racks and blade sharpeners is added. After the equipment is improved, the slitting knife table can be moved to automatically sharpen the slitting blades after production, which can effectively reduce the The job requires the professional ability of employees, shortens the production time of products, and achieves the purpose of saving production costs.

Figure 202022677622

Description

Slitting machine equipment with automatic knife sharpening function
Technical Field
The utility model relates to a cutting machine field, concretely relates to have automatic function cutting machine equipment of whetting a knife.
Background
A splitting machine is a mechanical device for splitting wide paper, mica tapes or films into a plurality of narrow materials, and is commonly used for paper making machinery, wire and cable mica tapes and printing and packaging machinery. The slitting machine mainly applies to: non-woven fabrics; the cutting of mica tapes, papers, insulating materials and various film materials is particularly suitable for the cutting of narrow tapes (non-woven fabrics, papers, insulating materials, mica tapes, films and the like).
The prior art has the following problems:
in the production process of the existing splitting machine equipment, the splitting cutter needs to be disassembled for replacement or offline for sharpening after being worn, so that the labor and the production time are wasted, and the requirement on the professional ability of a sharpener is high; after the sharpening is finished, the sharpening device is installed on a splitting machine, the requirement on installation precision is high, and inconvenience is caused.
In order to solve the problems, the application provides a splitting machine equipment with an automatic knife sharpening function.
SUMMERY OF THE UTILITY MODEL
Objects of the invention
For solving the technical problem who exists among the background art, the utility model provides a have automatic function cutting machine equipment of whetting a knife can whet a knife after production automatically, effectively reduces to dismantle the professional ability demand of whetting a knife to the staff after, shortens product production man-hour, reaches saving manufacturing cost purpose.
(II) technical scheme
In order to solve the technical problem, the utility model provides a splitting machine device with an automatic knife sharpening function, which comprises a splitting machine, wherein two ends of the splitting machine are symmetrically provided with a frame, a workbench is clamped between the two frames, and the tops of the two workbenches are symmetrically provided with a vertical plate;
a moving device is arranged above the workbench and comprises a transverse rail clamped between the two vertical plates, an electric sliding table is slidably mounted on the transverse rail, an air cylinder is mounted at the bottom of the electric sliding table, the output end of the air cylinder is connected with a piston rod, and the other end of the piston rod is connected with a slitting knife table;
the cutting knife table is internally provided with a motor, a motor output shaft penetrates through the outer wall of one end of the cutting knife table and is fixedly provided with a cutting blade, one end of the workbench is provided with a polishing frame, and the top of the polishing frame is fixedly provided with a raised blade grinding tool.
Preferably, the slitting blade is rotatably connected with an output shaft of the motor.
Preferably, the slitting blade is of a circular structure, and the blade edge of the outer wall is pointed.
Preferably, the blade grinding tool is internally provided with a grinding groove matched with the specification of the slitting blade.
Preferably, the blade grinder is mounted on the grinding frame at an inclined angle of 30 °.
Preferably, the cylinder and the transverse rail slide left and right through the electric sliding table.
Preferably, the slitting knife table and the air cylinder are lifted up and down through the piston rod.
The above technical scheme of the utility model has following profitable technological effect: on current cutting machine equipment basis, increase the facility of whetting a knife of making by frame and blade grinding apparatus of polishing, after the equipment modification, can move the branch cutter platform after production and whet a knife to the branch blade automation, effectively reduce this post to staff's professional ability demand, shorten product production man-hour, reach saving manufacturing cost purpose.
Drawings
Fig. 1 is a schematic front view of the present invention;
FIG. 2 is a schematic view of the displacement device of the present invention;
FIG. 3 is a schematic view of the polishing structure of the slitting blade of the present invention;
fig. 4 is the perspective view of the slicing blade of the present invention.
Reference numerals:
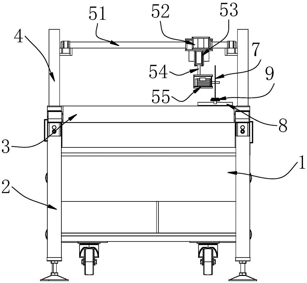
1. splitting machine; 2. a frame; 3. a work table; 4. a vertical plate; 5. a mobile device; 51. a transverse rail; 52. an electric sliding table; 53. a cylinder; 54. a piston rod; 55. a slitting knife table; 6. a motor; 7. a slitting blade; 8. a polishing frame; 9. a blade grinder.
Detailed Description
In order to make the objects, technical solutions and advantages of the present invention more apparent, the present invention will be described in detail with reference to the accompanying drawings. It should be understood that the description is intended to be illustrative only and is not intended to limit the scope of the present invention. Moreover, in the following description, descriptions of well-known structures and techniques are omitted so as to not unnecessarily obscure the concepts of the present invention.
As shown in fig. 1-4, the slitting machine with automatic sharpening function provided by the utility model comprises a slitting machine 1, wherein two ends of the slitting machine 1 are symmetrically provided with frames 2, a workbench 3 is clamped between the two frames 2, and the tops of the two workbenches 3 are symmetrically provided with a vertical plate 4;
a moving device 5 is arranged above the workbench 3, the moving device 5 comprises a transverse rail 51 clamped between two vertical plates 4, an electric sliding table 52 is slidably mounted on the transverse rail 51, an air cylinder 53 is mounted at the bottom of the electric sliding table 52, the output end of the air cylinder 53 is connected with a piston rod 54, and the other end of the piston rod 54 is connected with a slitting knife table 55;
the motor 6 is arranged in the slitting knife table 55, a slitting blade 7 is fixed on the outer wall of one end, penetrating through the slitting knife table 55, of an output shaft of the motor 6, a polishing frame 8 is installed at one end of the workbench 3, and a protruding blade grinding tool 9 is fixed at the top of the polishing frame 8.
It should be noted that:
1. the cylinder 53 and the transverse rail 51 slide left and right through the electric sliding table 52; the air cylinder 53 is installed at the bottom of the electric slide table 52, and the lateral position is adjusted by sliding the electric slide table 52 on the transverse rail 51 in the left-right direction.
2. The slitting knife table 55 and the air cylinder 53 are lifted up and down through a piston rod 54; the piston rod 54 at the output end of the air cylinder 53 is extended or reset to control the adjustment of the longitudinal position of the slitting cutter table 55.
3. The slitting blade 7 is rotationally connected with an output shaft of the motor 6; the motor 6 drives the slitting blade 7 connected with the output shaft to rotate, and the material is cut.
In this embodiment, the adjustment on the position is carried out to the electronic slip table 52 cooperation cylinder 53 of slitting knife platform 55 accessible, accomplish appointed cut task back at slitting blade 7, remove slitting blade 7 to the blade grinding apparatus 9 position department at 8 tops of polishing frame, use low rotational speed to rotate slitting blade 7, blade grinding apparatus 9 and 7 outer wall cutting edges of slitting blade frictional contact, reach the purpose of whetting a knife, after finishing whetting a knife, can reset slitting knife platform 55, need not to dismantle slitting blade 7 and can accomplish the operation of polishing, whole convenient to use.
As shown in fig. 3 and 4, the slitting blade 7 has a circular structure, the cutting edge of the outer wall has a sharp corner shape, and the blade grinding tool 9 is provided with a grinding groove with a specification matched with that of the slitting blade 7.
It should be noted that the blade grinding tool 9 is installed on the grinding frame 8 at an inclined angle of 30 degrees; the blade grinding tool 9 is obliquely arranged, so that the contact area between the slitting blade 7 and the grinding groove in the blade grinding tool 9 is increased, and the time consumed by blade grinding can be reduced.
In this embodiment, the cutting edge of the outer wall of the slitting blade 7 contacts the grinding groove in the blade grinding tool 9, and the two rub against each other to grind the foreign matter on the slitting blade 7, thereby keeping the sharpness of the cutting edge of the grinding slitting blade 7.
The utility model discloses a theory of operation and use flow: the slitting blade 7 of the slitting machine 1 performs sizing and slitting according to a programmed program, after the slitting blade 7 completes a specified slitting task, the slitting blade 7 is moved to the position of a blade grinding tool 9 at the top of a grinding frame 8, a motor 6 drives the slitting blade 7 to rotate at a low rotating speed, and a grinding groove of the blade grinding tool 9 is in frictional contact with a cutting edge on the outer wall of the slitting blade 7 to perform grinding operation.
It is to be understood that the above-described embodiments of the present invention are merely illustrative of or explaining the principles of the invention and are not to be construed as limiting the invention. Therefore, any modification, equivalent replacement, improvement and the like made without departing from the spirit and scope of the present invention should be included in the protection scope of the present invention. Further, it is intended that the appended claims cover all such variations and modifications as fall within the scope and boundaries of the appended claims or the equivalents of such scope and boundaries.

Claims (7)

1. A splitting machine device with an automatic knife sharpening function is characterized by comprising a splitting machine (1), wherein two ends of the splitting machine (1) are symmetrically provided with racks (2), a workbench (3) is clamped between the two racks (2), and the tops of the two workbenches (3) are symmetrically provided with vertical plates (4);
a moving device (5) is arranged above the workbench (3), the moving device (5) comprises a transverse rail (51) clamped between two vertical plates (4), an electric sliding table (52) is slidably mounted on the transverse rail (51), an air cylinder (53) is mounted at the bottom of the electric sliding table (52), the output end of the air cylinder (53) is connected with a piston rod (54), and the other end of the piston rod (54) is connected with a slitting knife table (55);
the cutting knife table is characterized in that a motor (6) is arranged in the cutting knife table (55), an output shaft of the motor (6) penetrates through the outer wall of one end of the cutting knife table (55) and is fixedly provided with a cutting blade (7), a polishing frame (8) is installed at one end of the workbench (3), and a raised blade grinding tool (9) is fixed at the top of the polishing frame (8).
2. The slitting machine with automatic sharpening function according to claim 1, characterized in that said slitting blade (7) is rotatably connected to the output shaft of said motor (6).
3. The slitting machine with automatic sharpening function according to claim 1, characterized in that said slitting blades (7) are of circular configuration, the edge of the external wall being pointed.
4. The slitting machine with automatic sharpening function according to claim 3, characterized in that the blade sharpener (9) has a sharpening slot inside to match the size of the slitting blade (7).
5. The slitting machine with automatic sharpening function according to claim 1, characterized in that said blade sharpeners (9) are mounted on said sharpening frame (8) at an inclination of 30 °.
6. The slitting machine with automatic sharpening function according to claim 1, characterized in that the air cylinder (53) and the cross rail (51) slide left and right through the electric sliding table (52).
7. The slitting machine with the automatic sharpening function according to claim 1, wherein the slitting knife table (55) and the air cylinder (53) are lifted up and down through the piston rod (54).
CN202022677622.1U 2020-11-18 2020-11-18 Slitting machine equipment with automatic knife sharpening function Expired - Fee Related CN213946660U (en)

Priority Applications (1)

Application Number Priority Date Filing Date Title
CN202022677622.1U CN213946660U (en) 2020-11-18 2020-11-18 Slitting machine equipment with automatic knife sharpening function

Applications Claiming Priority (1)

Application Number Priority Date Filing Date Title
CN202022677622.1U CN213946660U (en) 2020-11-18 2020-11-18 Slitting machine equipment with automatic knife sharpening function

Publications (1)

Publication Number Publication Date
CN213946660U true CN213946660U (en) 2021-08-13

Family

ID=77210236

Family Applications (1)

Application Number Title Priority Date Filing Date
CN202022677622.1U Expired - Fee Related CN213946660U (en) 2020-11-18 2020-11-18 Slitting machine equipment with automatic knife sharpening function

Country Status (1)

Country Link
CN (1) CN213946660U (en)

Cited By (2)

* Cited by examiner, † Cited by third party
Publication number Priority date Publication date Assignee Title
CN115157366A (en) * 2022-08-26 2022-10-11 国风塑业科技宿迁有限公司 Cutting device is used in plastic products production
CN117262857A (en) * 2023-09-20 2023-12-22 广东欣美新材料科技有限公司 An intelligent tape cutting device

Cited By (2)

* Cited by examiner, † Cited by third party
Publication number Priority date Publication date Assignee Title
CN115157366A (en) * 2022-08-26 2022-10-11 国风塑业科技宿迁有限公司 Cutting device is used in plastic products production
CN117262857A (en) * 2023-09-20 2023-12-22 广东欣美新材料科技有限公司 An intelligent tape cutting device

Similar Documents

Publication Publication Date Title
CN210262447U (en) Novel edge cutting mechanism for spray painting cloth
CN213946660U (en) Slitting machine equipment with automatic knife sharpening function
CN106142171A (en) A kind of paper cutter
CN206543908U (en) An ultra-precision cutting and slitting machine
CN204800390U (en) a sharpener
CN210766102U (en) Knitted fabric processing device convenient to cut
CN203510290U (en) Rubber belt cutting machine with cutting disc
CN211941332U (en) A finishing mechanism of an edge banding machine
CN211729307U (en) A kind of emery cloth machine processing and cutting equipment
CN104209976A (en) Automatic knife grinding device
CN110815455A (en) A device for chamfering and polishing a bamboo plate
CN206544074U (en) A small edging machine
CN104626247B (en) Device for chamfering the edges of insulating cardboard rings
CN221391368U (en) Film cutting machine width adjustment mechanism
CN213197707U (en) A tape slitting machine
CN207757465U (en) Wheel dress device
CN203804684U (en) a sharpener
CN207577872U (en) A kind of Novel middle machine
CN204195814U (en) The power set of polytetrafluoroethylene (PTFE) sheet material trimmer
CN206677709U (en) Furniture trimmer
CN208196378U (en) Four-shaft numerically controlled straight knife knife sharpener
CN220279729U (en) Cutting machine is used in cotton processing of bubble
CN218875072U (en) Tool rest base structure for knife sharpener
CN211841584U (en) A kind of emery cloth cutting equipment
CN216543590U (en) Workpiece fixing device of splitting machine

Legal Events

Date Code Title Description
GR01 Patent grant
GR01 Patent grant
CF01 Termination of patent right due to non-payment of annual fee
CF01 Termination of patent right due to non-payment of annual fee

Granted publication date: 20210813