CN213904244U - Heat abstractor is used in computer software development - Google Patents

Heat abstractor is used in computer software development Download PDF

Info

Publication number
CN213904244U
CN213904244U CN202120130840.5U CN202120130840U CN213904244U CN 213904244 U CN213904244 U CN 213904244U CN 202120130840 U CN202120130840 U CN 202120130840U CN 213904244 U CN213904244 U CN 213904244U
Authority
CN
China
Prior art keywords
box
dust
rotating rod
box body
software development
Prior art date
Legal status (The legal status is an assumption and is not a legal conclusion. Google has not performed a legal analysis and makes no representation as to the accuracy of the status listed.)
Expired - Fee Related
Application number
CN202120130840.5U
Other languages
Chinese (zh)
Inventor
蒲肖
Current Assignee (The listed assignees may be inaccurate. Google has not performed a legal analysis and makes no representation or warranty as to the accuracy of the list.)
Chongqing Licheng Technology Co ltd
Original Assignee
Chongqing Licheng Technology Co ltd
Priority date (The priority date is an assumption and is not a legal conclusion. Google has not performed a legal analysis and makes no representation as to the accuracy of the date listed.)
Filing date
Publication date
Application filed by Chongqing Licheng Technology Co ltd filed Critical Chongqing Licheng Technology Co ltd
Priority to CN202120130840.5U priority Critical patent/CN213904244U/en
Application granted granted Critical
Publication of CN213904244U publication Critical patent/CN213904244U/en
Expired - Fee Related legal-status Critical Current
Anticipated expiration legal-status Critical

Links

Images

Landscapes

  • Cooling Or The Like Of Electrical Apparatus (AREA)

Abstract

本实用新型公开了一种计算机软件开发用散热装置,涉及软件开发技术领域。该计算机软件开发用散热装置,包括箱体,所述箱体的相邻内壁连接有安装板,安装板上设置有孔洞,箱体的一侧外壁连接有防护壳,箱体的内部设置有散热降温机构,箱体的内部设置有U型箱,U型箱的顶部和安装板的底部相连接,U型箱的内部设置有除尘过滤收集机构,箱体的底部固定安装有橡胶垫,箱体的前侧铰接安装有玻璃门。本实用新型能够箱体内的电子元件进行快速散热,同时对箱体内的灰尘进行清理过滤处理,避免灰尘对箱体内的电子元件造成的损坏,从而增加了电子元件的使用寿命,有效满足了使用需求,便与推广使用。

Figure 202120130840

The utility model discloses a heat dissipation device for computer software development, which relates to the technical field of software development. The heat dissipation device for computer software development includes a box body, adjacent inner walls of the box body are connected with a mounting plate, holes are arranged on the mounting plate, a protective shell is connected to an outer wall of one side of the box body, and a heat sink is arranged inside the box body Cooling mechanism, the inside of the box is provided with a U-shaped box, the top of the U-shaped box is connected with the bottom of the mounting plate, the inside of the U-shaped box is provided with a dust removal filter collection mechanism, the bottom of the box body is fixedly installed with a rubber pad, the box body The front side is hingedly mounted with a glass door. The utility model can quickly dissipate heat from the electronic components in the box, and at the same time clean and filter the dust in the box, so as to avoid the damage to the electronic components in the box caused by the dust, thereby increasing the service life of the electronic components and effectively meeting the use requirements. , it will be used with promotion.

Figure 202120130840

Description

Heat abstractor is used in computer software development
Technical Field
The utility model relates to a software development technical field specifically is a heat abstractor for computer software development.
Background
At present, a computer used for software development can generate a large amount of heat energy when working, and the machine body can be damaged by untimely heat dissipation, so that the unstable operation of a system can be caused, and the service life of the computer is shortened. The computer uses can the silting a large amount of dusts for a long time, and the dust can enter into inside along with the gap of computer to the phenomenon of computer inner member damage can appear, be unfavorable for using widely.
SUMMERY OF THE UTILITY MODEL
An object of the utility model is to provide a heat abstractor is used in computer software development to solve at least one problem that proposes in the above-mentioned background art.
In order to achieve the above object, the utility model provides a following technical scheme: the utility model provides a heat abstractor for computer software development, includes the box, the adjacent inner wall connection of box has the mounting panel, is provided with the hole on the mounting panel, and one side outer wall connection of box has the protecting crust, and the inside of box is provided with heat dissipation cooling mechanism, and the inside of box is provided with U type case, and the top of U type case and the bottom of mounting panel are connected, and the inside of U type case is provided with dust removal filtration and collects the mechanism, and the bottom fixed mounting of box has the rubber pad, and the articulated glass door that installs in front side of box.
Preferably, the inner wall of the box body is fixedly provided with a silencing cotton layer.
Preferably, a cooling plate is arranged on the mounting plate.
Preferably, heat dissipation cooling mechanism includes the motor, first dwang, drive pulley, the second dwang, driven pulley, belt and flabellum, one side inner wall fixed mounting of protecting crust has the motor, one side inner wall of box rotates and installs first dwang, the output shaft of motor passes through the shaft coupling and is connected with first dwang, the surface of first dwang is connected with drive pulley, one side inner wall of protecting crust rotates and installs the second dwang, first dwang and second dwang are parallel arrangement, the surface of second dwang is connected with driven pulley, the cover is equipped with the belt on drive pulley and the driven pulley, the free end of first dwang and second dwang is connected with the flabellum.
Preferably, the dust removal filters and collects the mechanism and includes the slide bar, hollow sliding block, the brush, the dust absorption fill, electric putter, the dust catcher, the dust absorption pipeline, go out the dirt pipeline, rose box and filter screen, the adjacent inner wall of U type case is connected with the slide bar, the inside of U type case is provided with hollow sliding block, the slide bar transversely runs through hollow sliding block and cooperates hollow sliding block sliding connection setting, brush and dust absorption fill are installed at the top of hollow sliding block, one side inner wall fixed mounting of U type case has electric putter, electric putter's free end and one side outer wall connection of hollow sliding block, the inboard bottom fixed mounting of box has the dust catcher, the dust absorption pipeline is installed to the end of induced drafting of dust catcher, the free end and the dust absorption fill fixed connection of dust absorption pipeline, the play dirt pipeline is installed to the air-out end of dust catcher.
Preferably, the outer wall of one side of box is connected with the rose box, and the rose box is established ties in a dirt pipeline, and the filter screen is installed to the inboard top and the inboard bottom joint of rose box.
Compared with the prior art, the beneficial effects of the utility model are that:
(1) this heat abstractor for computer software development uses through the cooperation of cooling panel, can give out air conditioning to the box in to electronic component to in the box cools down, uses through the cooperation of motor, first dwang, drive pulley, second dwang, driven pulley, belt and flabellum, thereby dispels the heat fast to electronic component in the box, makes air conditioning flow simultaneously, has improved the radiating effect.
(2) This heat abstractor is used in computer software development uses through the cooperation of electric putter, hollow sliding block and brush, can effectively clean the dust on the mounting panel, prevents that the dust from piling up.
(3) This heat abstractor is used in computer software development, through the cooperation of dust catcher, dust absorption fill, dust absorption pipeline and play dirt pipeline, can take out from the dust after cleaning, avoid the dust to the damage that the electronic component in the box caused to increased electronic component's life, effectively satisfied the user demand, use through the cooperation of rose box and filter screen, filter the dust of taking out from, conveniently handle.
Drawings
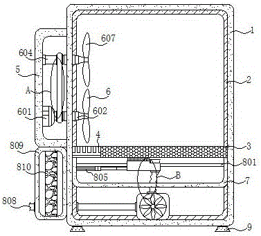
Fig. 1 is a cross-sectional view of the present invention;
FIG. 2 is an enlarged view of part A of the present invention;
FIG. 3 is an enlarged view of the portion B of the present invention;
fig. 4 is a front view of the present invention.
In the figure: the device comprises a box body 1, a noise reduction cotton layer 2, a mounting plate 3, a cooling plate 4, a protective shell 5, a heat dissipation and cooling mechanism 6, a motor 601, a first rotating rod 602, a driving belt pulley 603, a second rotating rod 604, a driven belt pulley 605, a belt 606, fan blades 607, a 7U-shaped box, a dust removal and filtration and collection mechanism 8, a sliding rod 801, a hollow sliding block 802, a hairbrush 803, a dust suction hopper 804, an electric push rod 805, a dust suction machine 806, a dust suction pipeline 807, a dust outlet pipeline 808, a 809 filtration box 810, a filtration screen 810, a rubber pad 9 and a glass door 10.
Detailed Description
The technical solutions in the embodiments of the present invention will be described clearly and completely with reference to the accompanying drawings in the embodiments of the present invention, and it is obvious that the described embodiments are only some embodiments of the present invention, not all embodiments. Based on the embodiments in the present invention, all other embodiments obtained by a person skilled in the art without creative work belong to the protection scope of the present invention.
Referring to fig. 1-4, the present invention provides a technical solution: the utility model provides a heat abstractor for computer software development, includes box 1, and the inner wall fixed mounting of box 1 has cotton layer 2 of amortization, and the adjacent inner wall of box 1 is connected with mounting panel 3, is provided with the hole on the mounting panel 3, is provided with cooling plate 4 on the mounting panel 3, and the bottom fixed mounting of box 1 has rubber pad 9, and the articulated glass door 10 that installs in front side of box 1. .
The outer wall of one side of the box body 1 is connected with a protective shell 5, the interior of the box body 1 is provided with a heat dissipation and cooling mechanism 6, the heat dissipation and cooling mechanism 6 comprises a motor 601, a first rotating rod 602, a driving belt pulley 603, a second rotating rod 604, a driven belt pulley 605, a belt 606 and fan blades 607, the inner wall of one side of the protective shell 5 is fixedly provided with the motor 601, the inner wall of one side of the box body 1 is rotatably provided with the first rotating rod 602, the output shaft of the motor 601 is connected with the first rotating rod 602 through a coupler, the outer surface of the first rotating rod 602 is connected with the driving belt pulley 603, the inner wall of one side of the protective shell 5 is rotatably provided with the second rotating rod 604, the first rotating rod 602 and the second rotating rod 604 are arranged in parallel, the outer surface of the second rotating rod 604 is connected with the driven belt pulley 605, the driving belt 603 and the driven belt pulley 605 are sleeved with the belt 606, so that the driving pulley 603 and the driven pulley 605 are drivingly connected by a belt 606. The free ends of the first rotating rod 602 and the second rotating rod 604 are connected with fan blades 607.
The inside of box 1 is provided with U type case 7, and the bottom of the top of U type case 7 and mounting panel 3 is connected, and the inside of U type case 7 is provided with dust removal filtration collection mechanism 8.
Specifically, the dust removing, filtering and collecting mechanism 8 comprises a sliding rod 801, a hollow sliding block 802, a brush 803, a dust collecting hopper 804, an electric push rod 805, a dust collector 806, a dust collecting pipeline 807, a dust outlet pipeline 808, a filter box 809 and a filter screen 810, the adjacent inner walls of the U-shaped box 7 are connected with the sliding rod 801, the hollow sliding block 802 is arranged inside the U-shaped box 7, and the sliding rod 801 transversely penetrates through the hollow sliding block 802 and is matched with the hollow sliding block 802 to be slidably connected. The top of the hollow sliding block 802 is provided with a brush 803 and a dust collection hopper 804, the inner wall of one side of the U-shaped box 7 is fixedly provided with an electric push rod 805, and the free end of the electric push rod 805 is connected with the outer wall of one side of the hollow sliding block 802. A dust suction pipeline 807 is installed at the air suction end of the dust collector 806, the free end of the dust suction pipeline 807 is fixedly connected with the dust suction hopper 804, and a dust outlet pipeline 808 is installed at the air outlet end of the dust collector 806.
The outer wall of one side of box 1 is connected with filter box 809, and filter box 809 is connected in series in a dirt pipeline 808, and specifically, dirt pipeline 808 includes two tube segments, and filter box 809 and dust catcher 806 are connected respectively to one of them tube segment, and filter box 809 is connected to another tube segment, and two tube segments are located the both sides of filter box 809 respectively. Filter screen 810 is installed to the inboard top of filter box 809 and inboard bottom joint, uses through the cooperation of filter box 809 and filter screen 810, filters the dust of taking out, conveniently handles.
When in use, through the cooperation of the cooling plate 4, cold air can be emitted from the box body 1, so as to cool the electronic components in the box body 1, the motor 601 is driven, the motor 601 drives the first rotating rod 602 to rotate, the first rotating rod 602 rotates to drive the driving pulley 603, the driving pulley 603 drives the driven pulley 605 to rotate through the belt 606, the driven pulley 605 rotates to drive the second rotating rod 604 to rotate, the first rotating rod 602 and the second rotating rod 604 rotate simultaneously to drive the fan 607 to rotate, so as to rapidly dissipate heat of the electronic components in the box body 1, and at the same time, the cold air flows, so as to drive the electric push rod 805, the electric push rod 805 drives the hollow sliding block 802 to transversely move, the hollow sliding block 802 longitudinally moves to drive the brush 803 to transversely move, so as to effectively clean dust on the mounting plate 3, and drive the dust collector 806, through the cooperation of dust absorption fill 804, dust absorption pipeline 807 and play dirt pipeline 808, can take out the dust after cleaning, through the cooperation of rose box 809 and filter screen 810, filter the dust of taking out.
Although embodiments of the present invention have been shown and described, it will be appreciated by those skilled in the art that changes, modifications, substitutions and alterations can be made in these embodiments without departing from the principles and spirit of the invention, the scope of which is defined in the appended claims and their equivalents.

Claims (6)

1.一种计算机软件开发用散热装置,包括箱体(1),其特征在于:所述箱体(1)的相邻内壁连接有安装板(3),安装板(3)上设置有孔洞,箱体(1)的一侧外壁连接有防护壳(5),箱体(1)的内部设置有散热降温机构(6),箱体(1)的内部设置有U型箱(7),U型箱(7)的顶部和安装板(3)的底部相连接,U型箱(7)的内部设置有除尘过滤收集机构(8),箱体(1)的底部固定安装有橡胶垫(9),箱体(1)的前侧铰接安装有玻璃门(10)。1. A heat sink for computer software development, comprising a box (1), characterized in that: a mounting plate (3) is connected to the adjacent inner walls of the box (1), and a hole is provided on the mounting plate (3). A protective shell (5) is connected to one outer wall of the box body (1), a heat dissipation and cooling mechanism (6) is arranged inside the box body (1), and a U-shaped box (7) is arranged inside the box body (1), The top of the U-shaped box (7) is connected to the bottom of the mounting plate (3), the inside of the U-shaped box (7) is provided with a dust filter and collection mechanism (8), and the bottom of the box body (1) is fixedly installed with a rubber pad ( 9), a glass door (10) is hingedly installed on the front side of the box body (1). 2.根据权利要求1所述的一种计算机软件开发用散热装置,其特征在于:所述箱体(1)的内壁固定安装有消音棉层(2)。2 . The heat dissipation device for computer software development according to claim 1 , wherein a sound-absorbing cotton layer ( 2 ) is fixedly installed on the inner wall of the box body ( 1 ). 3 . 3.根据权利要求1所述的一种计算机软件开发用散热装置,其特征在于:所述安装板(3)上设置有冷却板(4)。3 . The heat dissipation device for computer software development according to claim 1 , wherein a cooling plate ( 4 ) is arranged on the mounting plate ( 3 ). 4 . 4.根据权利要求3所述的一种计算机软件开发用散热装置,其特征在于:所述散热降温机构(6)包括电机(601)、第一转动杆(602)、主动皮带轮(603)、第二转动杆(604)、从动皮带轮(605)、皮带(606)和扇叶(607),防护壳(5)的一侧内壁固定安装有电机(601),箱体(1)的一侧内壁转动安装有第一转动杆(602),电机(601)的输出轴通过联轴器和第一转动杆(602)连接,第一转动杆(602)的外表面连接有主动皮带轮(603),防护壳(5)的一侧内壁转动安装有第二转动杆(604),第一转动杆(602)和第二转动杆(604)为平行设置,第二转动杆(604)的外表面连接有从动皮带轮(605),主动皮带轮(603)和从动皮带轮(605)上套设有皮带(606),第一转动杆(602)和第二转动杆(604)的自由端连接有扇叶(607)。4. A heat dissipation device for computer software development according to claim 3, characterized in that: the heat dissipation and cooling mechanism (6) comprises a motor (601), a first rotating rod (602), a driving pulley (603), The second rotating rod (604), the driven pulley (605), the belt (606) and the fan blade (607), the motor (601) is fixedly installed on one inner wall of the protective case (5), and a A first rotating rod (602) is rotatably installed on the inner wall of the side, the output shaft of the motor (601) is connected with the first rotating rod (602) through a coupling, and the outer surface of the first rotating rod (602) is connected with a driving pulley (603) ), a second rotating rod (604) is rotatably installed on the inner wall of one side of the protective shell (5), the first rotating rod (602) and the second rotating rod (604) are arranged in parallel, and the outside of the second rotating rod (604) A driven pulley (605) is connected on the surface, a belt (606) is sleeved on the driving pulley (603) and the driven pulley (605), and the free ends of the first rotating rod (602) and the second rotating rod (604) are connected With fan blades (607). 5.根据权利要求1所述的一种计算机软件开发用散热装置,其特征在于:所述除尘过滤收集机构(8)包括滑动杆(801)、空心滑动块(802)、毛刷(803)、吸尘斗(804)、电动推杆(805)、吸尘机(806)、吸尘管道(807)、出尘管道(808)、过滤箱(809)和过滤网(810),U型箱(7)的相邻内壁连接有滑动杆(801),U型箱(7)的内部设置有空心滑动块(802),滑动杆(801)横向贯穿空心滑动块(802)并配合空心滑动块(802)滑动连接设置,空心滑动块(802)的顶部安装有毛刷(803)和吸尘斗(804),U型箱(7)的一侧内壁固定安装有电动推杆(805),电动推杆(805)的自由端和空心滑动块(802)的一侧外壁连接,箱体(1)的内侧底部固定安装有吸尘机(806),吸尘机(806)的吸风端安装有吸尘管道(807),吸尘管道(807)的自由端与吸尘斗(804)固定连接,吸尘机(806)的出风端安装有出尘管道(808)。5. A heat sink for computer software development according to claim 1, characterized in that: the dust removal filter collection mechanism (8) comprises a sliding rod (801), a hollow sliding block (802), and a brush (803) , vacuum bucket (804), electric push rod (805), vacuum cleaner (806), dust suction pipe (807), dust discharge pipe (808), filter box (809) and filter screen (810), U-shaped A sliding rod (801) is connected to the adjacent inner walls of the box (7), a hollow sliding block (802) is arranged inside the U-shaped box (7), and the sliding rod (801) transversely penetrates the hollow sliding block (802) and slides with the hollow The block (802) is slidably connected, a brush (803) and a dust bucket (804) are installed on the top of the hollow sliding block (802), and an electric push rod (805) is fixedly installed on one inner wall of the U-shaped box (7). , the free end of the electric push rod (805) is connected to one side outer wall of the hollow sliding block (802), the inner bottom of the box (1) is fixedly installed with a vacuum cleaner (806), and the suction air A dust suction pipe (807) is installed at the end, the free end of the dust suction pipe (807) is fixedly connected with the dust suction bucket (804), and a dust discharge pipe (808) is installed at the air outlet end of the vacuum cleaner (806). 6.根据权利要求5所述的一种计算机软件开发用散热装置,其特征在于:所述箱体(1)的一侧外壁连接有过滤箱(809),过滤箱(809)串联于出尘管道(808),过滤箱(809)的内侧顶部和内侧底部卡接安装有过滤网(810)。6. A heat sink for computer software development according to claim 5, characterized in that a filter box (809) is connected to one outer wall of the box body (1), and the filter box (809) is connected in series with the dust outlet The pipe (808), the inner top and the inner bottom of the filter box (809) are snap-fitted with a filter screen (810).
CN202120130840.5U 2021-01-19 2021-01-19 Heat abstractor is used in computer software development Expired - Fee Related CN213904244U (en)

Priority Applications (1)

Application Number Priority Date Filing Date Title
CN202120130840.5U CN213904244U (en) 2021-01-19 2021-01-19 Heat abstractor is used in computer software development

Applications Claiming Priority (1)

Application Number Priority Date Filing Date Title
CN202120130840.5U CN213904244U (en) 2021-01-19 2021-01-19 Heat abstractor is used in computer software development

Publications (1)

Publication Number Publication Date
CN213904244U true CN213904244U (en) 2021-08-06

Family

ID=77107605

Family Applications (1)

Application Number Title Priority Date Filing Date
CN202120130840.5U Expired - Fee Related CN213904244U (en) 2021-01-19 2021-01-19 Heat abstractor is used in computer software development

Country Status (1)

Country Link
CN (1) CN213904244U (en)

Cited By (2)

* Cited by examiner, † Cited by third party
Publication number Priority date Publication date Assignee Title
CN112814774A (en) * 2021-03-21 2021-05-18 重庆峰聂机械有限公司 Disconnect-type engine housing with high-efficient heat dissipation function
WO2023039998A1 (en) * 2021-09-17 2023-03-23 南京轩世琪源软件科技有限公司 Microcomputer software protection device capable of effectively avoiding external threats

Cited By (3)

* Cited by examiner, † Cited by third party
Publication number Priority date Publication date Assignee Title
CN112814774A (en) * 2021-03-21 2021-05-18 重庆峰聂机械有限公司 Disconnect-type engine housing with high-efficient heat dissipation function
CN112814774B (en) * 2021-03-21 2022-08-19 重庆峰聂机械有限公司 Disconnect-type engine housing with high-efficient heat dissipation function
WO2023039998A1 (en) * 2021-09-17 2023-03-23 南京轩世琪源软件科技有限公司 Microcomputer software protection device capable of effectively avoiding external threats

Similar Documents

Publication Publication Date Title
CN213904244U (en) Heat abstractor is used in computer software development
WO2018000979A1 (en) Integral dust-collecting motor and miter saw
CN214918795U (en) Knot clearing device for chip
CN220699201U (en) Cavity filter outer shell polishing equipment
CN217804043U (en) A computerized dust removal device
CN119246694A (en) Ultrasonic scanning test device and method
CN110883013A (en) Cleaning mechanism for cooling net of computer
CN116470405A (en) A self-dusting high and low voltage power distribution cabinet and dust removal method
CN218011664U (en) filter dust remover
CN214132935U (en) A vibrating and beating rotary silicone brush
CN215036398U (en) Chain surface polishing device
CN217085657U (en) Computer air guide cover
CN212991740U (en) High-efficient heat abstractor is used to block terminal
CN219815736U (en) Dust collection device for coal mine
CN214799198U (en) A kind of artificial quartz stone press vibration motor cooling device
CN221791246U (en) Electric saw with dust collection function
CN217608172U (en) Novel dustproof and ventilated frequency converter
CN213591190U (en) A dust removal tool for computer assembly
CN223012047U (en) Automatic pipe cutting machine capable of removing slag and dust
CN212515552U (en) A computer dust collector
CN220635438U (en) A kind of motor processing dust removal device
CN221664953U (en) Exhaust fan for tunnel ventilation
CN213429882U (en) A heat dissipation structure for a vacuum cleaner
CN217610768U (en) Handheld groove gap dust collector
CN210835918U (en) Computer is with mainframe box that possesses dustproof function

Legal Events

Date Code Title Description
GR01 Patent grant
GR01 Patent grant
CP02 Change in the address of a patent holder

Address after: 400010 No. 7-2, building 1, No. 333 Jingwei Avenue, Yuzhong District, Chongqing

Patentee after: Chongqing Licheng Technology Co.,Ltd.

Address before: 401120 7-2, building 1, No. 333 Jingwei Avenue, Yubei District, Chongqing

Patentee before: Chongqing Licheng Technology Co.,Ltd.

CP02 Change in the address of a patent holder
CF01 Termination of patent right due to non-payment of annual fee

Granted publication date: 20210806

CF01 Termination of patent right due to non-payment of annual fee