CN213815460U - Visual transmission exhibition board capable of being displayed in three-dimensional mode - Google Patents

Visual transmission exhibition board capable of being displayed in three-dimensional mode Download PDF

Info

Publication number
CN213815460U
CN213815460U CN202022997536.9U CN202022997536U CN213815460U CN 213815460 U CN213815460 U CN 213815460U CN 202022997536 U CN202022997536 U CN 202022997536U CN 213815460 U CN213815460 U CN 213815460U
Authority
CN
China
Prior art keywords
protective shell
motor
base
gear
protective
Prior art date
Legal status (The legal status is an assumption and is not a legal conclusion. Google has not performed a legal analysis and makes no representation as to the accuracy of the status listed.)
Expired - Fee Related
Application number
CN202022997536.9U
Other languages
Chinese (zh)
Inventor
任家萱
陈红艳
Current Assignee (The listed assignees may be inaccurate. Google has not performed a legal analysis and makes no representation or warranty as to the accuracy of the list.)
Shanghai University of Engineering Science
Original Assignee
Shanghai University of Engineering Science
Priority date (The priority date is an assumption and is not a legal conclusion. Google has not performed a legal analysis and makes no representation as to the accuracy of the date listed.)
Filing date
Publication date
Application filed by Shanghai University of Engineering Science filed Critical Shanghai University of Engineering Science
Priority to CN202022997536.9U priority Critical patent/CN213815460U/en
Application granted granted Critical
Publication of CN213815460U publication Critical patent/CN213815460U/en
Expired - Fee Related legal-status Critical Current
Anticipated expiration legal-status Critical

Links

Images

Landscapes

  • Displays For Variable Information Using Movable Means (AREA)

Abstract

本实用新型公开了一种可立体展现的视觉传达展牌,属于视觉传达技术领域。一种可立体展现的视觉传达展牌,包括底座,所述底座的内部设有电机,所述电机的右侧设有蓄电池,所述底座的上端设有转盘,转盘与底座转动连接。本实用新型,展示结束后关闭电机,将固定杆与连接槽分离,通过转动盘按压防护壳,使防护壳压缩弹性伸缩柱,让防护壳向转盘靠近,使连接柱插入转动杆下端的连接孔内,然后继续下压防护壳让连接柱将转动杆向上顶,从而使转动杆上的第二齿轮与收卷辊上的第一齿轮啮合,然后打开电机通过连接柱带动第二齿轮转动,第二齿轮通过第一齿轮带动收卷辊转动,从而将固定带收卷到防护壳内,从而减少展牌的体积,使展牌更加便于存放和运输。

Figure 202022997536

The utility model discloses a visual communication display board capable of three-dimensional display, belonging to the technical field of visual communication. A visual communication display board that can be displayed in three dimensions includes a base, a motor is arranged inside the base, a battery is arranged on the right side of the motor, a turntable is arranged on the upper end of the base, and the turntable is rotatably connected to the base. In the utility model, after the display is completed, the motor is turned off, the fixing rod is separated from the connecting groove, the protective casing is pressed by the rotating disk, the protective casing compresses the elastic telescopic column, the protective casing is approached to the rotating disk, and the connecting rod is inserted into the connecting hole at the lower end of the rotating rod. Then continue to press down the protective shell to let the connecting column push the rotating rod upward, so that the second gear on the rotating rod meshes with the first gear on the winding roller, and then turn on the motor to drive the second gear to rotate through the connecting column, and the first gear rotates. The second gear drives the winding roller to rotate through the first gear, so that the fixing belt is wound into the protective shell, thereby reducing the volume of the display card and making the display card more convenient for storage and transportation.

Figure 202022997536

Description

Visual transmission exhibition board capable of being displayed in three-dimensional mode
Technical Field
The utility model relates to a vision conveys technical field, specifically is a vision conveying exhibition tablet that can three-dimensionally show.
Background
The visual transmission design is a design which is expressed and transmitted to audiences through visual media, and represents the design of the times characteristic graph of the design and rich connotation. The appearance of digital multimedia is continuously challenged and fills the traditional visual transmission mode, the extension of the current visual transmission design is expanded, the visual transmission gradually changes from the flattening and the staticizing of the former form to the dynamic and comprehensive directions, spans from a single medium to multimedia, extends from a two-dimensional plane to a three-dimensional stereo and space, and more changes from the traditional printing design product to the transmission of virtual information images.
The existing visual transmission display board is simple in structure, large in size and inconvenient to transport and poor in storage practicability. Therefore, the utility model provides a visual transmission exhibition tablet that can three-dimensionally exhibit to solve the above-mentioned problem that proposes.
SUMMERY OF THE UTILITY MODEL
An object of the utility model is to provide a visual transmission exhibition tablet that can three-dimensionally exhibit to solve the problem that proposes among the above-mentioned background art.
In order to achieve the above object, the utility model provides a following technical scheme:
a visual transmission display board capable of being displayed in a three-dimensional mode comprises a base, wherein a motor is arranged inside the base, a storage battery is arranged on the right side of the motor, a rotary disc is arranged at the upper end of the base and is rotatably connected with the base, the motor is connected with the rotary disc, a motor shaft of the motor penetrates through the rotary disc, a connecting column is arranged on the motor shaft of the motor and is positioned above the rotary disc, a protective shell is arranged above the base, a hole is formed in the middle of the lower end of the protective shell, a plurality of elastic telescopic columns are arranged at the lower end of the protective shell, one ends of the elastic telescopic columns are connected with the protective shell, the other ends of the elastic telescopic columns are connected with the rotary disc, the rotary disc is arranged at the upper end of the protective shell and is rotatably connected with the protective shell, windows are arranged at the front end and the rear end of the protective shell, windows are arranged at the left end and the right end of the protective shell, connecting grooves are arranged on the protective shell and are arranged above the windows, one end of the window, which is far away from the protective shell, is provided with a supporting rod;
the wind-up roll comprises a protective shell, a plurality of wind-up rolls are arranged in the protective shell, the upper end and the lower end of each wind-up roll are connected with the protective shell through bearings, a fixing band is wound on each wind-up roll, one end of each fixing band is connected with each wind-up roll, the other end of each fixing band penetrates through the protective shell through a window to be connected with a supporting rod, one end of each supporting rod, far away from the protective shell, is provided with a groove, the length of each groove is equal to that of each supporting rod, fixing rods are symmetrically arranged in the grooves, the mutually far away ends of the fixing rods are connected with the supporting rods in a damping rotation mode, the length of each fixing rod is equal to that of each fixing band, a first gear is sleeved on each wind-up roll, a fixing plate is arranged above the bottom end inside the protective shell, the fixing plate is arranged to be rectangular, four corners of the fixing plate are all connected with the bearings at the lower end of each wind-up roll, a round hole is arranged in a rotating rod in a penetrating manner, the dwang is rotated with the fixed plate and is connected, and the lower extreme of dwang is equipped with the connecting hole, the below cover that lies in the fixed plate on the dwang is equipped with the spring, the upper end and the fixed plate of spring are connected, the top that lies in the fixed plate on the dwang is equipped with the second gear.
As a further aspect of the present invention, the lower end of the base is provided with a protective sliding pad, and the left end of the base is provided with a control panel.
As the utility model discloses further scheme again, the spliced pole sets up to the polygon, and the external diameter of spliced pole is less than the internal diameter in protecting crust lower extreme hole.
As the utility model discloses scheme further again, the protecting crust sets up to square, and four corners of protecting crust all are equipped with the lamp area, and the lamp area embedding is installed on the protecting crust.
As the utility model discloses further scheme again, the one end symmetry that the bracing piece is close to the protecting crust is equipped with magnet, and the bracing piece passes through magnet and is connected with the protecting crust.
As the utility model discloses further scheme again, the quantity of wind-up roll sets up to four, and the wind-up roll arranges in the protecting crust with the mode of rectangle.
Compared with the prior art, the beneficial effects of the utility model are that:
1. the utility model discloses during the use, through the fixed band on the bracing piece pulling wind-up roll, pull out the fixed band from the protecting crust in, then rotate the dead lever, insert the spread groove with the one end that the dead lever is not connected with the bracing piece in to support the fixed band, then fix the poster that will demonstrate on the fixed band, then open lamp area and motor, the motor drives the carousel and rotates, the carousel passes through the flexible post of elasticity and drives the protecting crust and rotate, thereby make the poster can rotate the show.
2. The utility model discloses during the use, after the show, close the motor, separate dead lever and spread groove, press the protecting crust through the rolling disc, make the flexible post of protecting crust compression elasticity, the lower extreme that lets the protecting crust is close to the carousel, make the spliced pole insert in the connecting hole of dwang lower extreme, then continue to push down the protecting crust and let the spliced pole push up the dwang upwards, thereby make the first gear engagement on second gear on the dwang and the wind-up roll, then open the motor and pass through the spliced pole and drive second gear rotation, the second gear drives the wind-up roll through first gear and rotates, thereby in rolling the protecting crust with the fixed band, thereby reduce the volume of exhibition tablet, make the exhibition tablet be convenient for more deposit and transport.
Drawings
Fig. 1 is a schematic structural view of a visual display board capable of being displayed in a three-dimensional manner.
Fig. 2 is a state diagram of a visual display board capable of being displayed in a three-dimensional mode.
Fig. 3 is an exploded view of a visually conveyed display card that may be displayed in a three-dimensional manner.
Fig. 4 is a schematic view of an internal structure of a visual display board capable of being stereoscopically displayed.
Fig. 5 is an enlarged schematic view of fig. 4A of a visually conveying display board capable of three-dimensionally showing.
Fig. 6 is a schematic structural view of a support rod in a visual display board capable of being displayed in a three-dimensional manner.
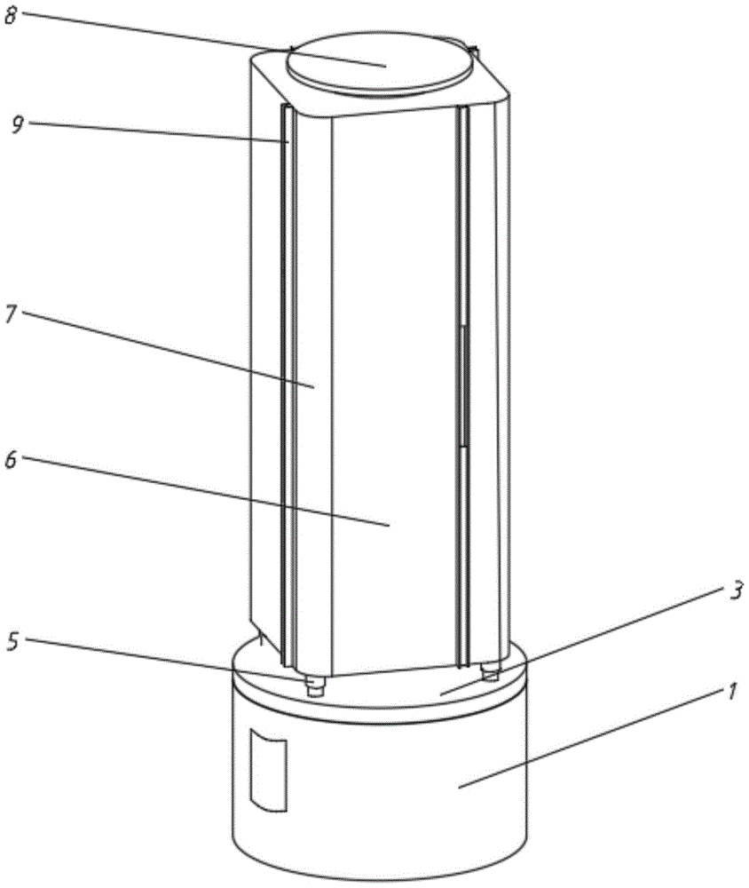
In the figure: 1. a base; 2. a motor; 3. a turntable; 4. connecting columns; 5. an elastic telescopic column; 6. a protective shell; 7. a light strip; 8. rotating the disc; 9. a support bar; 10. fixing the rod; 11. fixing belts; 12. connecting grooves; 600. a wind-up roll; 601. a first gear; 602. a fixing plate; 603. rotating the rod; 604. a second gear; 605. a spring.
Detailed Description
The technical solutions in the embodiments of the present invention will be described clearly and completely with reference to the accompanying drawings in the embodiments of the present invention, and it is obvious that the described embodiments are only some embodiments of the present invention, not all embodiments. Based on the embodiments in the present invention, all other embodiments obtained by a person skilled in the art without creative work belong to the protection scope of the present invention.
Referring to fig. 1 to 6, in an embodiment of the present invention, a visual display board capable of three-dimensionally displaying includes a base 1, a motor 2 is disposed inside the base 1, a storage battery is disposed on the right side of the motor 2, a turntable 3 is disposed on the upper end of the base 1, the turntable 3 is rotatably connected to the base 1, the motor 2 is connected to the turntable 3, a motor shaft of the motor 2 penetrates through the turntable 3, a connection column 4 is disposed on the motor shaft of the motor 2 above the turntable 3, a protective shell 6 is disposed above the base 1, a hole is disposed in the middle of the lower end of the protective shell 6, a plurality of elastic telescopic columns 5 are disposed at the lower end of the protective shell 6, one end of each elastic telescopic column 5 is connected to the protective shell 6, the other end of each elastic telescopic column is connected to the turntable 3, a rotation disc 8 is disposed at the upper end of the protective shell 6, the rotation disc 8 is rotatably connected to the protective shell 6, windows are disposed at the front and rear ends of the protective shell 6, the left end and the right end of the protective shell 6 are both provided with windows, connecting grooves 12 are arranged above the windows on the protective shell 6, and supporting rods 9 are arranged at the ends, far away from the protective shell 6, of the windows;
a plurality of winding rollers 600 are arranged in the protective shell 6, the upper end and the lower end of each winding roller 600 are connected with the protective shell 6 through bearings, a fixing belt 11 is wound on each winding roller 600, one end of each fixing belt 11 is connected with each winding roller 600, the other end of each fixing belt passes through the protective shell 6 through a window and is connected with a supporting rod 9, one end, far away from the protective shell 6, of each supporting rod 9 is provided with a groove, the length of each groove is equal to that of each supporting rod 9, fixing rods 10 are symmetrically arranged in the grooves, one ends, far away from each other, of the fixing rods 10 are connected with the supporting rods 9 in a damping rotation mode, the length of each fixing rod 10 is equal to that of each fixing belt 11, a first gear 601 is sleeved on each winding roller 600, a fixing plate 602 is arranged above the bottom end inside the protective shell 6, each fixing plate 602 is rectangular, and four corners of each fixing plate 602 are connected with bearings at the lower end of each winding roller 600, the middle part of fixed plate 602 runs through and is equipped with the round hole, be equipped with dwang 603 in the round hole, dwang 603 rotates with fixed plate 602 to be connected, and the lower extreme of dwang 603 is equipped with the connecting hole, the below cover that lies in fixed plate 602 on the dwang 603 is equipped with spring 605, the upper end and the fixed plate 602 of spring 605 are connected, the top that lies in fixed plate 602 on the dwang 603 is equipped with second gear 604.
Wherein, the lower extreme of base 1 is equipped with the protection sliding pad, and the left end of base 1 is equipped with the control panel, through the steerable motor 2 of control panel.
The connecting column 4 is polygonal, and the outer diameter of the connecting column 4 is smaller than the inner diameter of the hole at the lower end of the protective shell 6.
Wherein, protective housing 6 sets up to squarely, and four corners of protective housing 6 all are equipped with lamp area 7, and the embedding of lamp area 7 is installed on protective housing 6, can make protective housing 6 more striking through lamp area 7, can attract more passerby's eyeball.
Wherein, the bracing piece 9 is close to the one end symmetry of protecting crust 6 and is equipped with magnet, and bracing piece 9 passes through magnet and is connected with protecting crust 6.
Wherein, the quantity of wind-up roll 600 sets up to four, and wind-up roll 600 arranges in protecting crust 6 with the mode of rectangle, and wind-up roll 600 can reduce the volume of exhibition tablet with the fixed band 11 rolling in protecting crust 6, lets the exhibition tablet deposit more easily.
The utility model discloses a theory of operation is:
when the utility model is used, the fixing belt 11 on the winding roller 600 is pulled through the supporting rod 9, the fixing belt 11 is pulled out from the protective shell 6, then the fixing rod 10 is rotated, the end of the fixing rod 10 which is not connected with the supporting rod 9 is inserted into the connecting groove 12, thereby the fixing belt 11 is supported, then a poster to be displayed is fixed on the fixing belt 11, then the lamp belt 7 and the motor 2 are opened, the motor 2 drives the turntable 3 to rotate, the turntable 3 drives the protective shell 6 to rotate through the elastic telescopic column 5, thereby the poster can be rotatably displayed, and the protective shell 6 can be more striking by the lamp belt 7, more eyeballs can be attracted, the practicability of the device is further increased, after the display is finished, the motor 2 is closed, the fixing rod 10 is separated from the connecting groove 12, the fixing rod 10 is placed in the groove on the supporting rod 9, the protective shell 6 is pressed through the rotating disc 8, the protective shell 6 is compressed by the elastic telescopic column 5, let the lower extreme of protecting crust 6 be close to carousel 3, make spliced pole 4 insert in the connecting hole of dwang 603 lower extreme, then continue to push down protecting crust 6 and let spliced pole 4 push up dwang 603 upwards, thereby make the second gear 604 on the dwang 603 and the meshing of the first gear 601 on the wind-up roll 600, then open motor 2 and drive second gear 604 through spliced pole 4 and rotate, second gear 604 drives wind-up roll 600 through first gear 601 and rotates, thereby in rolling fixed band 11 to protecting crust 6, thereby reduce the volume of exhibition tablet, make the exhibition tablet be convenient for deposit and transport more.
The above, only be the concrete implementation of the preferred embodiment of the present invention, but the protection scope of the present invention is not limited thereto, and any person skilled in the art is in the technical scope of the present invention, according to the technical solution of the present invention and the utility model, the concept of which is equivalent to replace or change, should be covered within the protection scope of the present invention.

Claims (6)

1. A visual transmission exhibition board capable of being stereoscopically displayed comprises a base (1) and is characterized in that a motor (2) is arranged inside the base (1), a storage battery is arranged on the right side of the motor (2), a rotary disc (3) is arranged at the upper end of the base (1), the rotary disc (3) is rotatably connected with the base (1), the motor (2) is connected with the rotary disc (3), a motor shaft of the motor (2) penetrates through the rotary disc (3), a connecting column (4) is arranged above the rotary disc (3) on the motor shaft of the motor (2), a protective shell (6) is arranged above the base (1), a hole is formed in the middle of the lower end of the protective shell (6), a plurality of elastic telescopic columns (5) are arranged at the lower end of the protective shell (6), one end of each elastic telescopic column (5) is connected with the protective shell (6), and the other end of each elastic telescopic column is connected with the rotary disc (3), a rotating disc (8) is arranged at the upper end of the protective shell (6), the rotating disc (8) is rotatably connected with the protective shell (6), windows are arranged at the front end and the rear end of the protective shell (6), windows are arranged at the left end and the right end of the protective shell (6), connecting grooves (12) are arranged above the windows on the protective shell (6), and a supporting rod (9) is arranged at one end of each window, which is far away from the protective shell (6);
a plurality of winding rollers (600) are arranged in the protective shell (6), the upper end and the lower end of each winding roller (600) are connected with the protective shell (6) through bearings, a fixing belt (11) is wound on each winding roller (600), one end of each fixing belt (11) is connected with each winding roller (600), the other end of each fixing belt passes through the protective shell (6) through a window to be connected with a supporting rod (9), one end, far away from the protective shell (6), of each supporting rod (9) is provided with a groove, the length of each groove is the same as that of each supporting rod (9), fixing rods (10) are symmetrically arranged in the grooves, one ends, far away from each other, of the fixing rods (10) are connected with the supporting rods (9) in a damping rotation mode, the length of each fixing rod (10) is the same as that of each fixing belt (11), each winding roller (600) is sleeved with a first gear (601), and a fixing plate (602) is arranged above the inner bottom end of the protective shell (6), fixed plate (602) sets up to the rectangle, and four turnings of fixed plate (602) all are connected with the bearing of wind-up roll (600) lower extreme, the middle part of fixed plate (602) is run through and is equipped with the round hole, be equipped with dwang (603) in the round hole, dwang (603) are rotated with fixed plate (602) and are connected, and the lower extreme of dwang (603) is equipped with the connecting hole, the below cover that lies in fixed plate (602) on dwang (603) is equipped with spring (605), the upper end and the fixed plate (602) of spring (605) are connected, the top that lies in fixed plate (602) on dwang (603) is equipped with second gear (604).
2. The visual transmission exhibition board capable of being stereoscopically displayed according to claim 1, wherein the lower end of the base (1) is provided with a protective sliding pad, and the left end of the base (1) is provided with a control panel.
3. The visual transmission exhibition board capable of being stereoscopically displayed according to claim 1, wherein the connecting column (4) is arranged in a polygon shape, and the outer diameter of the connecting column (4) is smaller than the inner diameter of the hole at the lower end of the protective shell (6).
4. The visual transmission exhibition board capable of being stereoscopically displayed according to claim 1, wherein the protective shell (6) is square, and light strips (7) are arranged at four corners of the protective shell (6), and the light strips (7) are embedded in the protective shell (6).
5. The visual transmission exhibition board capable of being stereoscopically displayed according to claim 1, wherein the supporting rods (9) are symmetrically provided with magnets at one ends close to the protective shells (6), and the supporting rods (9) are connected with the protective shells (6) through the magnets.
6. The visually conveyed signboard of claim 1, wherein the number of the wind-up rolls (600) is four, and the wind-up rolls (600) are arranged in a rectangular manner in the protective case (6).
CN202022997536.9U 2020-12-11 2020-12-11 Visual transmission exhibition board capable of being displayed in three-dimensional mode Expired - Fee Related CN213815460U (en)

Priority Applications (1)

Application Number Priority Date Filing Date Title
CN202022997536.9U CN213815460U (en) 2020-12-11 2020-12-11 Visual transmission exhibition board capable of being displayed in three-dimensional mode

Applications Claiming Priority (1)

Application Number Priority Date Filing Date Title
CN202022997536.9U CN213815460U (en) 2020-12-11 2020-12-11 Visual transmission exhibition board capable of being displayed in three-dimensional mode

Publications (1)

Publication Number Publication Date
CN213815460U true CN213815460U (en) 2021-07-27

Family

ID=76945992

Family Applications (1)

Application Number Title Priority Date Filing Date
CN202022997536.9U Expired - Fee Related CN213815460U (en) 2020-12-11 2020-12-11 Visual transmission exhibition board capable of being displayed in three-dimensional mode

Country Status (1)

Country Link
CN (1) CN213815460U (en)

Cited By (1)

* Cited by examiner, † Cited by third party
Publication number Priority date Publication date Assignee Title
CN114648928A (en) * 2022-04-08 2022-06-21 上海工程技术大学 Visual design device for brand image

Cited By (1)

* Cited by examiner, † Cited by third party
Publication number Priority date Publication date Assignee Title
CN114648928A (en) * 2022-04-08 2022-06-21 上海工程技术大学 Visual design device for brand image

Similar Documents

Publication Publication Date Title
CN103177670B (en) A kind of display device realizing picture and switch
CN213815460U (en) Visual transmission exhibition board capable of being displayed in three-dimensional mode
CN207378429U (en) A kind of show stand
CN205665972U (en) Display device
CN215577560U (en) Color printing display board with multiple display effects
CN206414075U (en) Interactive device showing stand is used in one kind exhibition
JP3107980U (en) Advertising billboard with multiple faces and movable advertisement
CN201328592Y (en) Picture frame
CN208388308U (en) A kind of national culture data displaying turntable
CN216316823U (en) Interactive display equipment for cultural and creative product
CN214624305U (en) A new type of billboard with diverse display functions
CN210200250U (en) Exhibition display equipment poster magnetism inhales fixed knot and constructs
CN211748401U (en) A display device for industrial design
CN219246324U (en) A switchable information signage
CN203102808U (en) Advertisement electronic calendar
CN208376393U (en) The interchangeable shooting spray-drawing of picture is drawn
CN217013399U (en) An all-round display of industrial design machinery display platform
CN2147618Y (en) Electric driving stereo advertisement device
CN113223423B (en) Advertisement design display device capable of displaying advertisement effects in multiple ways
CN222762640U (en) An interactive display device
CN219285987U (en) Portable easy-to-draw precious show shelf
CN220607956U (en) A model exhibition stand
CN221083256U (en) LED transparent display cabinet with module backlight device
CN217008579U (en) Multimedia advertisement information display device
CN220097100U (en) Dynamic display packaging box

Legal Events

Date Code Title Description
GR01 Patent grant
GR01 Patent grant
CF01 Termination of patent right due to non-payment of annual fee

Granted publication date: 20210727

CF01 Termination of patent right due to non-payment of annual fee