CN213810377U - Solar street lamp capable of adjusting light source position - Google Patents

Solar street lamp capable of adjusting light source position Download PDF

Info

Publication number
CN213810377U
CN213810377U CN202022505229.4U CN202022505229U CN213810377U CN 213810377 U CN213810377 U CN 213810377U CN 202022505229 U CN202022505229 U CN 202022505229U CN 213810377 U CN213810377 U CN 213810377U
Authority
CN
China
Prior art keywords
light source
fixedly installed
solar street
lifting
source position
Prior art date
Legal status (The legal status is an assumption and is not a legal conclusion. Google has not performed a legal analysis and makes no representation as to the accuracy of the status listed.)
Expired - Fee Related
Application number
CN202022505229.4U
Other languages
Chinese (zh)
Inventor
张彦奇
Current Assignee (The listed assignees may be inaccurate. Google has not performed a legal analysis and makes no representation or warranty as to the accuracy of the list.)
Suqian Dongming Photovoltaic Technology Co ltd
Original Assignee
Suqian Dongming Photovoltaic Technology Co ltd
Priority date (The priority date is an assumption and is not a legal conclusion. Google has not performed a legal analysis and makes no representation as to the accuracy of the date listed.)
Filing date
Publication date
Application filed by Suqian Dongming Photovoltaic Technology Co ltd filed Critical Suqian Dongming Photovoltaic Technology Co ltd
Priority to CN202022505229.4U priority Critical patent/CN213810377U/en
Application granted granted Critical
Publication of CN213810377U publication Critical patent/CN213810377U/en
Expired - Fee Related legal-status Critical Current
Anticipated expiration legal-status Critical

Links

Images

Classifications

    • YGENERAL TAGGING OF NEW TECHNOLOGICAL DEVELOPMENTS; GENERAL TAGGING OF CROSS-SECTIONAL TECHNOLOGIES SPANNING OVER SEVERAL SECTIONS OF THE IPC; TECHNICAL SUBJECTS COVERED BY FORMER USPC CROSS-REFERENCE ART COLLECTIONS [XRACs] AND DIGESTS
    • Y02TECHNOLOGIES OR APPLICATIONS FOR MITIGATION OR ADAPTATION AGAINST CLIMATE CHANGE
    • Y02BCLIMATE CHANGE MITIGATION TECHNOLOGIES RELATED TO BUILDINGS, e.g. HOUSING, HOUSE APPLIANCES OR RELATED END-USER APPLICATIONS
    • Y02B20/00Energy efficient lighting technologies, e.g. halogen lamps or gas discharge lamps
    • Y02B20/72Energy efficient lighting technologies, e.g. halogen lamps or gas discharge lamps in street lighting

Landscapes

  • Non-Portable Lighting Devices Or Systems Thereof (AREA)

Abstract

本实用新型公开了一种可调节光源位置的太阳能路灯,包括套杆,所述套杆的内部设置升降腔室,所述升降腔室的内侧通过转轴转动安装有主动齿轮,所述主动齿轮的一侧啮合转动安装有从动齿轮,所述套杆的一侧内壁设置有导向滑槽。本实用新型可调节光源位置的太阳能路灯在使用过程中,可通过启动升降电机带动主动齿轮进行实时转动,通过主动齿轮带动从动齿轮进行实时转动,通过从动齿轮驱动传动齿条在导向滑槽内侧进行上下往复移动,从而实现对升降杆和灯体的高度进行实时调节,使灯体在安装和维护过程中无需工作人员攀爬或者将灯杆放倒进行施工,降低了施工的整体难度,使路灯安装和维护起来更加方便高效。

Figure 202022505229

The utility model discloses a solar street lamp capable of adjusting the position of a light source, comprising a sleeve rod, a lifting chamber is arranged inside the sleeve rod, and a driving gear is rotatably installed on the inner side of the lifting chamber through a rotating shaft. A driven gear is meshed and rotated on one side, and a guide chute is arranged on one inner wall of the sleeve rod. During the use process of the solar street lamp with adjustable light source position of the utility model, the driving gear can be driven to rotate in real time by starting the lifting motor, the driven gear can be driven to rotate in real time by the driving gear, and the driving rack can be driven by the driven gear in the guide chute. The inner side reciprocates up and down, so that the height of the lifting rod and the lamp body can be adjusted in real time, so that the lamp body does not need to be climbed or put down the lamp pole during the installation and maintenance process, which reduces the overall difficulty of construction. It makes the installation and maintenance of street lamps more convenient and efficient.

Figure 202022505229

Description

Solar street lamp capable of adjusting light source position
Technical Field
The utility model relates to a street lamp technical field specifically is a solar street lamp of adjustable light source position.
Background
The solar street lamp is powered by a crystalline silicon solar cell, a maintenance-free valve-controlled sealed storage battery (a colloid battery) stores electric energy, and the ultra-bright LED lamp is used as a light source and is controlled by an intelligent charging and discharging controller, so that the solar street lamp is used for replacing the traditional public power lighting street lamp, and is free from cable laying, alternating current power supply and electricity charge generation; DC power supply and photosensitive control are adopted; the LED street lamp has the advantages of good stability, long service life, high luminous efficiency, simple and convenient installation and maintenance, high safety performance, energy conservation, environmental protection, economy, practicability and the like, and can be widely applied to places such as city main roads, secondary roads, districts, factories, tourist attractions, parking lots and the like.
Current solar street lamp is generally fixed in installation and use structure, dismantles the inconvenience very with the maintenance in-process in the installation, needs the manual work to climb the eminence or fall whole lamp pole and install and maintain, has increased staff's the construction degree of difficulty, simultaneously in the use because the lamp pole is higher can't adjust solar street lamp light source in real time, the limitation of use is great.
SUMMERY OF THE UTILITY MODEL
An object of the utility model is to provide a solar street lamp of adjustable light source position to solve the problem that proposes among the above-mentioned background art.
In order to achieve the above object, the utility model provides a following technical scheme:
the utility model provides a solar street lamp of adjustable light source position, includes the loop bar, the inside of loop bar sets up the lift cavity, the inboard of lift cavity is rotated through the pivot and is installed the driving gear, one side meshing of driving gear is rotated and is installed driven gear, one side inner wall of loop bar is provided with the direction spout, the inboard slidable mounting of direction spout has the driving rack, driving rack and driven gear meshing, the top fixed mounting of driving rack has the lifter, the spread groove has been seted up at the top of lifter, the spread groove inboard is rotated through the bearing and is installed the connecting rod, there is the protecting crust in the outside of connecting rod through connecting block fixed mounting, there is the lamp body in the inside of protecting crust through baffle fixed mounting.
As a further aspect of the present invention: a side surface of the lifting rod is fixedly provided with a steering motor through a bottom plate, a side surface of the sleeve rod is fixedly provided with a lifting motor through a bottom plate, and the output ends of the lifting motor and the steering motor are respectively connected with a rotating shaft on the driving gear and the outer end of the connecting rod.
As a further aspect of the present invention: the bottom of loop bar is fixed with the positioning seat, and the both sides surface of positioning seat all runs through movable mounting and has the gim peg.
As a further aspect of the present invention: the rear side surface of the protective shell is provided with a heat conduction hole, the inner sides of the heat conduction hole are fixedly provided with dust screens, and the front side of the protective shell is fixedly provided with protective glasses.
As a further aspect of the present invention: the solar energy lamp is characterized in that a storage battery is fixedly mounted inside a protective shell on one side of the lamp body, a solar cell panel is fixedly mounted on the rear side surface of the protective shell, and the output end and the input end of the storage battery are respectively electrically connected with the input end of the steering motor, the input end of the lifting motor and the lamp body and the output end of the solar cell panel through wires.
As a further aspect of the present invention: a control button is fixedly mounted on the surface of one side of the loop bar, and the output end of the control button is electrically connected with the input ends of the steering motor, the lifting motor and the lamp body through wires.
Compared with the prior art, the beneficial effects of the utility model are that:
1. the utility model discloses but solar street lamp of light source position regulation is in the use, the accessible starts elevator motor and drives the driving gear and rotate in real time, drive driven gear through the driving gear and rotate in real time, through driven gear drive transmission rack reciprocating motion about the inboard is carried out in the spout that leads, thereby the realization is adjusted in real time the height of lifter and lamp body, make the lamp body need not staff climbing or fall the lamp pole and be under construction with the maintenance in-process in the installation, the whole degree of difficulty of construction has been reduced, make the street lamp installation with maintain convenient more high-efficient.
2. The utility model discloses but solar street lamp of light source position regulation is in the use, and the accessible starts to turn to the motor and drives the connecting rod and rotate in real time inside the spread groove, drives connecting block and protecting crust through the connecting rod and rotates in real time, realizes adjusting in real time the angle and the position of lamp body light source, and it is higher to make the lamp body shine the flexibility of use.
Drawings
Fig. 1 is a front view of a solar street light with an adjustable light source position.
Fig. 2 is a schematic view of an internal structure of a loop bar in a solar street lamp with an adjustable light source position.
Fig. 3 is a rear view of the solar street light with an adjustable light source position.
FIG. 4 is a side view of the internal structure of the protective shell of the solar street light with the position of the light source adjustable.
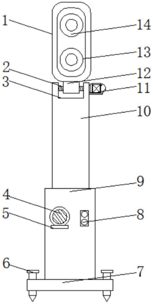
In the figure: 1. a protective shell; 2. a connecting rod; 3. connecting grooves; 4. a lifting motor; 5. a base plate; 6. positioning bolts; 7. positioning seats; 8. a control button; 9. a loop bar; 10. a lifting rod; 11. a steering motor; 12. connecting blocks; 13. protective glasses; 14. a lamp body; 15. a lifting chamber; 16. a guide chute; 17. a driven gear; 18. a driving gear; 19. a drive rack; 20. a dust screen; 21. a solar panel; 22. a heat conduction hole; 23. and (4) a storage battery.
Detailed Description
The technical solutions in the embodiments of the present invention will be described clearly and completely with reference to the accompanying drawings in the embodiments of the present invention, and it is obvious that the described embodiments are only some embodiments of the present invention, not all embodiments. Based on the embodiments in the present invention, all other embodiments obtained by a person skilled in the art without creative work belong to the protection scope of the present invention.
Referring to fig. 1 to 4, in an embodiment of the present invention, a solar street lamp capable of adjusting a light source position includes a loop bar 9, a lifting cavity 15 is disposed inside the loop bar 9, a driving gear 18 is rotatably mounted on an inner side of the lifting cavity 15 through a rotating shaft, a driven gear 17 is rotatably mounted on one side of the driving gear 18 in a meshing manner, a guide chute 16 is disposed on an inner wall of one side of the loop bar 9, a driving rack 19 is slidably mounted on an inner side of the guide chute 16, the driving rack 19 is meshed with the driven gear 17, a lifting rod 10 is fixedly mounted on a top of the driving rack 19, the driving gear 18 is driven to rotate in real time by starting a lifting motor 4, the driven gear 17 is driven to rotate in real time by the driving gear 18, the driving rack 19 is driven to reciprocate up and down inside the guide chute 16 by the driven gear 17, thereby realizing real-time adjustment of heights of the lifting rod 10 and a lamp body, make the lamp body need not the staff and scrambles or fall the lamp pole and construct with the maintenance in-process installation, the whole degree of difficulty of construction has been reduced, spread groove 3 has been seted up at the top of lifter 10, 3 inboards of spread groove are rotated through the bearing and are installed connecting rod 2, there is protecting crust 1 in the outside of connecting rod 2 through connecting block 12 fixed mounting, there is lamp body 14 in protecting crust 1's inside through baffle fixed mounting, the accessible starts to turn to motor 11 and drives connecting rod 2 and rotate in real time inside spread groove 3, drive connecting block 12 and protecting crust 1 through connecting rod 2 and rotate in real time, the realization is adjusted in real time the angle and the position of lamp body light source.
Referring to fig. 1 and 2, a turning motor 11 is fixedly mounted on one side surface of the lifting rod 10 through a bottom plate 5, a lifting motor 4 is fixedly mounted on one side surface of the loop bar 9 through the bottom plate 5, and output ends of the lifting motor 4 and the turning motor 11 are respectively connected with a rotating shaft on a driving gear 18 and an outer end of the connecting rod 2, so as to provide driving power for lifting of a street lamp and adjustment of a light source angle.
Referring to fig. 1 and 3, the positioning seat 7 is fixedly installed at the bottom of the loop bar 9, and the positioning bolts 6 are movably installed on the two side surfaces of the positioning seat 7, so that the whole street lamp can be installed and fixed on the ground, and the overall stability of the street lamp is improved.
Referring to fig. 1 and 3, a heat conduction hole 22 is formed in a rear side surface of the protective shell 1, the inner sides of the heat conduction hole 22 are fixedly provided with the dust screen 20, and the protective lens 13 is fixedly provided on a front side of the protective shell 1, so that heat generated by the operation of devices inside the protective shell 1 can be conducted out and dissipated in real time, and aging faults of the devices due to heat accumulation are avoided.
Referring to fig. 3 and 4, a storage battery 23 is fixedly installed inside the protective shell 1 on one side of the lamp body 14, a solar panel 21 is fixedly installed on the rear side surface of the protective shell 1, and an output end and an input end of the storage battery 23 are electrically connected with the input ends of the steering motor 11, the lifting motor 4 and the lamp body 14 and an output end of the solar panel 21 through wires, so that solar energy can be directly converted into electric energy to be stored for later use, and independent and sufficient electric energy can be provided for device operation.
Referring to fig. 1 and 3, a control button 8 is fixedly mounted on a surface of one side of the loop bar 9, and an output end of the control button 8 is electrically connected with an input end of the steering motor 11, the lifting motor 4 and the lamp body 14 through wires, so that the height of the lamp body 14 and the angle and position of a light source can be conveniently adjusted in real time through manual control, and the operation is simpler and more convenient.
The utility model discloses a theory of operation is: in the process of installing and using the solar street lamp, firstly, the solar street lamp can be driven into the ground through the positioning seat 7 and the positioning bolt 6, thereby fixing the whole street lamp in real time, driving the driving gear 18 to rotate in real time by starting the lifting motor 4, the driving gear 18 drives the driven gear 17 to rotate in real time, the driven gear 17 drives the transmission rack 19 to reciprocate up and down on the inner side of the guide chute 16, thereby realizing the real-time adjustment of the heights of the lifting rod 10 and the lamp body, leading the lamp body to be constructed without climbing or laying down the lamp post by workers in the installation and maintenance processes, reducing the overall construction difficulty, meanwhile, the connecting rod 2 can be driven to rotate in real time inside the connecting groove 3 by starting the steering motor 11, drive connecting block 12 and protecting crust 1 through connecting rod 2 and rotate in real time, realize adjusting the angle and the position of lamp body light source in real time.
Although the present invention has been described in detail with reference to the foregoing embodiments, it will be apparent to those skilled in the art that modifications may be made to the embodiments or portions thereof without departing from the spirit and scope of the invention.

Claims (6)

1.一种可调节光源位置的太阳能路灯,包括套杆(9),其特征在于:所述套杆(9)的内部设置升降腔室(15),所述升降腔室(15)的内侧通过转轴转动安装有主动齿轮(18),所述主动齿轮(18)的一侧啮合转动安装有从动齿轮(17),所述套杆(9)的一侧内壁设置有导向滑槽(16),所述导向滑槽(16)的内侧滑动安装有传动齿条(19),所述传动齿条(19)和从动齿轮(17)啮合,所述传动齿条(19)的顶部固定安装有升降杆(10),所述升降杆(10)的顶部开设有连接槽(3),所述连接槽(3)内侧通过轴承转动安装有连接杆(2),所述连接杆(2)的外侧通过连接块(12)固定安装有防护壳(1),所述防护壳(1)的内部通过隔板固定安装有灯体(14)。1. A solar street lamp with adjustable light source position, comprising a sleeve rod (9), characterized in that: a lifting chamber (15) is arranged inside the sleeve rod (9), and an inner side of the lifting chamber (15) is provided. A driving gear (18) is installed through the rotating shaft, and a driven gear (17) is installed on one side of the driving gear (18), and a guide chute (16) is arranged on the inner wall of one side of the sleeve rod (9). ), a drive rack (19) is slidably installed on the inner side of the guide chute (16), the drive rack (19) meshes with the driven gear (17), and the top of the drive rack (19) is fixed A lifting rod (10) is installed, a connecting groove (3) is formed on the top of the lifting rod (10), and a connecting rod (2) is installed on the inner side of the connecting groove (3) through a bearing rotation, and the connecting rod (2) A protective shell (1) is fixedly installed on the outside of the protective shell (1) through a connecting block (12), and a lamp body (14) is fixedly installed on the inside of the protective shell (1) through a partition plate. 2.根据权利要求1所述的可调节光源位置的太阳能路灯,其特征在于:所述升降杆(10)的一侧表面通过底板(5)固定安装有转向电机(11),所述套杆(9)的一侧表面通过底板(5)固定安装有升降电机(4),且升降电机(4)和转向电机(11)的输出端分别与主动齿轮(18)上的转轴以及连接杆(2)的外端连接。2. The solar street light with adjustable light source position according to claim 1, characterized in that: a steering motor (11) is fixedly installed on one side surface of the lift rod (10) through the bottom plate (5), and the sleeve rod A lifting motor (4) is fixedly installed on one side surface of the (9) through the bottom plate (5), and the output ends of the lifting motor (4) and the steering motor (11) are respectively connected with the rotating shaft on the driving gear (18) and the connecting rod ( 2) of the external connection. 3.根据权利要求1所述的可调节光源位置的太阳能路灯,其特征在于:所述套杆(9)的底部固定安装有定位座(7),且定位座(7)的两侧表面皆贯穿活动安装有定位栓(6)。3. The solar street light with adjustable light source position according to claim 1, wherein a positioning seat (7) is fixedly installed at the bottom of the sleeve rod (9), and both sides of the positioning seat (7) are A positioning bolt (6) is installed through the movement. 4.根据权利要求1所述的可调节光源位置的太阳能路灯,其特征在于:所述防护壳(1)的后侧表面开设有导热孔(22),所述导热孔(22)的内侧皆固定安装有防尘网(20),且防护壳(1)的前侧固定安装有防护镜(13)。4. The solar street light with adjustable light source position according to claim 1, characterized in that: the rear surface of the protective shell (1) is provided with a heat conduction hole (22), and the inner side of the heat conduction hole (22) is A dustproof net (20) is fixedly installed, and a protective mirror (13) is fixedly installed on the front side of the protective shell (1). 5.根据权利要求2所述的可调节光源位置的太阳能路灯,其特征在于:所述灯体(14)的一侧防护壳(1)内部固定安装有蓄电池(23),所述防护壳(1)的后侧表面固定安装有太阳能电池板(21),且蓄电池(23)的输出端和输入端分别通过导线与转向电机(11)、升降电机(4)和灯体(14)的输入端以及太阳能电池板(21)的输出端电性连接。5. The solar street light with adjustable light source position according to claim 2, characterized in that: a battery (23) is fixedly installed inside a protective shell (1) of the lamp body (14), and the protective shell ( 1) A solar panel (21) is fixedly installed on the rear surface of the battery (23), and the output end and the input end of the battery (23) are connected to the input of the steering motor (11), the lifting motor (4) and the lamp body (14) through wires respectively The terminal and the output terminal of the solar cell panel (21) are electrically connected. 6.根据权利要求2所述的可调节光源位置的太阳能路灯,其特征在于:所述套杆(9)的一侧表面固定安装有控制按钮(8),且控制按钮(8)的输出端通过导线与转向电机(11)、升降电机(4)和灯体(14)的输入端电性连接。6. The solar street lamp with adjustable light source position according to claim 2, characterized in that: a control button (8) is fixedly installed on one side surface of the sleeve rod (9), and the output end of the control button (8) It is electrically connected to the input end of the steering motor (11), the lifting motor (4) and the lamp body (14) through wires.
CN202022505229.4U 2020-11-03 2020-11-03 Solar street lamp capable of adjusting light source position Expired - Fee Related CN213810377U (en)

Priority Applications (1)

Application Number Priority Date Filing Date Title
CN202022505229.4U CN213810377U (en) 2020-11-03 2020-11-03 Solar street lamp capable of adjusting light source position

Applications Claiming Priority (1)

Application Number Priority Date Filing Date Title
CN202022505229.4U CN213810377U (en) 2020-11-03 2020-11-03 Solar street lamp capable of adjusting light source position

Publications (1)

Publication Number Publication Date
CN213810377U true CN213810377U (en) 2021-07-27

Family

ID=76964358

Family Applications (1)

Application Number Title Priority Date Filing Date
CN202022505229.4U Expired - Fee Related CN213810377U (en) 2020-11-03 2020-11-03 Solar street lamp capable of adjusting light source position

Country Status (1)

Country Link
CN (1) CN213810377U (en)

Cited By (1)

* Cited by examiner, † Cited by third party
Publication number Priority date Publication date Assignee Title
WO2023098435A1 (en) * 2021-12-03 2023-06-08 广州光联电子科技有限公司 Light source adjusting device and light source system

Cited By (1)

* Cited by examiner, † Cited by third party
Publication number Priority date Publication date Assignee Title
WO2023098435A1 (en) * 2021-12-03 2023-06-08 广州光联电子科技有限公司 Light source adjusting device and light source system

Similar Documents

Publication Publication Date Title
CN210345281U (en) Angle adjustable device of solar street lamp
CN207200645U (en) A kind of solar street light generates electricity by way of merging two or more grid systems device
CN110686205A (en) Engineering street lamp capable of automatically changing illumination intensity
CN209991388U (en) Disconnect-type integration solar street lamp
CN213810377U (en) Solar street lamp capable of adjusting light source position
CN212273879U (en) Solar street lamp convenient to maintain
CN211738703U (en) Energy-saving portable mobile lighting equipment
CN211260634U (en) An adjustable solar street light
CN210424824U (en) Solar street lamp convenient to installation
CN218895318U (en) Solar street lamp
CN212719524U (en) Solar LED street lamp with adjustable irradiation angle
CN210800992U (en) Solar street lamp capable of adjusting illumination angle
CN212226921U (en) Solar street lamp convenient to adjust light-emitting panel angle of meeting
CN211526298U (en) Lifting type solar street lamp
CN212456655U (en) Solar street lamp convenient to adjust
CN212132286U (en) A solar power circuit lamp
CN210637950U (en) Solar street lamp with sun-shading effect
CN112254085A (en) Multifunctional solar street lamp
CN220417230U (en) Solar street lamp with charging pile
CN211083881U (en) Energy-saving regulation formula solar street lamp
CN220506640U (en) Intelligent street lamp with adjustable light source position
CN218544209U (en) Wisdom street lamp convenient to adjust solar panel
CN215951291U (en) A smart photovoltaic street light
CN220540922U (en) Solar street lamp with snow prevention function
CN211738904U (en) Liftable solar street lamp

Legal Events

Date Code Title Description
GR01 Patent grant
GR01 Patent grant
CF01 Termination of patent right due to non-payment of annual fee
CF01 Termination of patent right due to non-payment of annual fee

Granted publication date: 20210727