CN213801694U - Embedded scraper conveyor with automatic cleaning function - Google Patents

Embedded scraper conveyor with automatic cleaning function Download PDF

Info

Publication number
CN213801694U
CN213801694U CN202022650436.9U CN202022650436U CN213801694U CN 213801694 U CN213801694 U CN 213801694U CN 202022650436 U CN202022650436 U CN 202022650436U CN 213801694 U CN213801694 U CN 213801694U
Authority
CN
China
Prior art keywords
scraper conveyor
gas
pressure air
support
pipe
Prior art date
Legal status (The legal status is an assumption and is not a legal conclusion. Google has not performed a legal analysis and makes no representation as to the accuracy of the status listed.)
Expired - Fee Related
Application number
CN202022650436.9U
Other languages
Chinese (zh)
Inventor
李力忠
薛电军
李雨晴
Current Assignee (The listed assignees may be inaccurate. Google has not performed a legal analysis and makes no representation or warranty as to the accuracy of the list.)
Shijiazhuang New Great Wall Conveying Machinery Manufacturing Co ltd
Original Assignee
Shijiazhuang New Great Wall Conveying Machinery Manufacturing Co ltd
Priority date (The priority date is an assumption and is not a legal conclusion. Google has not performed a legal analysis and makes no representation as to the accuracy of the date listed.)
Filing date
Publication date
Application filed by Shijiazhuang New Great Wall Conveying Machinery Manufacturing Co ltd filed Critical Shijiazhuang New Great Wall Conveying Machinery Manufacturing Co ltd
Priority to CN202022650436.9U priority Critical patent/CN213801694U/en
Application granted granted Critical
Publication of CN213801694U publication Critical patent/CN213801694U/en
Expired - Fee Related legal-status Critical Current
Anticipated expiration legal-status Critical

Links

Images

Landscapes

  • Pusher Or Impeller Conveyors (AREA)

Abstract

本实用新型提供一种具备自动清扫功能的埋刮板输送机,包括:刮板输送机支架,所述刮板输送机支架内安装有刮板输送机本体,所述刮板输送机本体外侧的刮板输送机支架上设有密封盖板,所述刮板输送机本体下端上侧设有上料口,所述刮板输送机本体上端下侧设有排料口,所述上料口上设有上料斗,所述排料口上设有排料管,所述刮板输送机本体链条回转端外侧的密封盖板上设有埋刮板输送机清洁装置,所述埋刮板输送机清洁装置包括清扫喷嘴,所述清扫喷嘴通过高压空气输送管连接于高压气泵,所述刮板输送机壳体下侧设有气粉分离滤板,本实用新型不仅可以及时清理灰尘而且,可以对灰尘进行收集利用,同时,采用循环空气清洁,可以保证灰尘不会扩散污染车间。

Figure 202022650436

The utility model provides a buried scraper conveyor with automatic cleaning function. A sealing cover is arranged on the bracket of the scraper conveyor, a feeding port is provided on the upper side of the lower end of the scraper conveyor body, a discharge port is provided on the lower side of the upper end of the scraper conveyor body, and the feeding port is provided on the upper side. There is an upper hopper, a discharge pipe is arranged on the discharge port, and a buried scraper conveyor cleaning device is provided on the sealing cover outside the rotary end of the chain of the scraper conveyor body, and the buried scraper conveyor cleaning device Including a cleaning nozzle, the cleaning nozzle is connected to a high-pressure air pump through a high-pressure air conveying pipe, and a gas-powder separation filter plate is arranged on the lower side of the scraper conveyor shell, the utility model can not only clean the dust in time, but also can clean the dust. Collection and utilization, and at the same time, the use of circulating air cleaning can ensure that dust will not spread and pollute the workshop.

Figure 202022650436

Description

Embedded scraper conveyor with automatic cleaning function
Technical Field
The utility model relates to a scraper conveyor technical field specifically is a buried scraper conveyor who possesses automatic function of cleaning.
Background
The scraper conveyer is a conveyer which is dragged by a scraper chain and transports bulk materials in a groove, and the embedded scraper conveyer is continuous transportation equipment which transports the bulk materials by means of the moving scraper chain in a closed huge section shell. The machine has simple structure, good sealing performance, convenient installation and maintenance and flexible process arrangement; the conveying device can not only convey horizontally, but also convey obliquely or vertically; can be used by a single machine or by a plurality of machines; can feed materials at multiple points and can discharge materials at multiple points. Because the shell is closed, the working environment of workers can be obviously improved and the environmental pollution can be prevented when large, toxic, explosive and high-temperature materials are conveyed. The scraper conveyor is a material conveying system device which is popular in metallurgy, mines and thermal power plants.
SUMMERY OF THE UTILITY MODEL
The technical problem solved by the utility model is to provide a buried scraper conveyor with automatic cleaning function to solve the problem of proposing in the above-mentioned background art.
The utility model provides a technical problem adopt following technical scheme to realize: an embedded scraper conveyor with an automatic cleaning function comprises: a scraper conveyor support, a scraper conveyor body is installed in the scraper conveyor support, a sealing cover plate is arranged on the scraper conveyor support outside the scraper conveyor body, a feeding hole is arranged on the upper side of the lower end of the scraper conveyor body, a discharging hole is arranged on the lower side of the upper end of the scraper conveyor body, a feeding hopper is arranged on the feeding hole, a discharging pipe is arranged on the discharging hole, a buried scraper conveyor cleaning device is arranged on the sealing cover plate outside the rotating end of a scraper conveyor body chain, the buried scraper conveyor cleaning device comprises a cleaning nozzle, the cleaning nozzle is connected to a high-pressure air pump through a high-pressure air conveying pipe, an air pump driving motor is installed on the high-pressure air pump, the high-pressure air conveying pipe is hermetically installed on an air outlet of the high-pressure air pump through a connecting flange, and an air-powder separation filter plate is arranged on the lower side of a scraper conveyor shell, the gas-powder separation filter plate is obliquely arranged and divides the lower end of the shell of the scraper conveyor into a gas circulation cavity and a dust recovery cavity.
And a gas circulating pipe is arranged on one side of the gas circulating cavity, a dust discharging pipe is arranged on one side of the dust recycling cavity, and the gas circulating pipe is connected to a gas inlet of the high-pressure gas pump through a circulating conveying pipe.
The scraper conveyor body includes the transmission conveyer belt, the transmission conveyer belt outside is equipped with a plurality of transport scrapers, the transport scraper blade is evenly fixed in the transmission conveyer belt outside, transmission conveyer belt one end is installed on the drive roller, the other end is installed on the driven voller.
The drive roller, driven voller both ends are passed through roll body installation bearing frame and are installed on scraper conveyor support, and drive roller one end is passed through coupling joint and is carried drive arrangement on.
The support guide roll is arranged between the driving roll and the driven roll, the two ends of the support guide roll are installed on the scraper conveyor support through support guide roll installation bearing seats, and the support guide roll installation bearing seats are installed on the scraper conveyor support through fixing bolts.
Compared with the prior art, the beneficial effects of the utility model are that: the utility model discloses not only can in time clear up the dust but also, can collect the dust and utilize, simultaneously, it is clean to adopt circulating air, can guarantee that the dust can not spread the pollution workshop.
Drawings
Fig. 1 is a schematic structural diagram of the present invention.
Fig. 2 is a schematic structural diagram of the scraper conveyor body of the present invention.
Fig. 3 is the structural schematic diagram of the cleaning device of the buried scraper conveyer of the present invention.
Detailed Description
In order to make the technical means, the creative features, the purpose and the efficacy of the present invention easily understood and appreciated, the present invention will be further explained with reference to the specific drawings, and in the description of the present invention, it should be noted that unless otherwise specified and limited, the terms "mounted", "connected" and "connected" should be understood broadly, for example, they may be fixed connection, detachable connection, or integrally connected, mechanically connected or electrically connected; they may be connected directly or indirectly through intervening media, or they may be interconnected between two elements.
Example 1
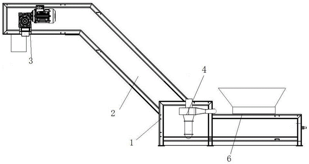
As shown in fig. 1 to 3, the embedded scraper conveyor with an automatic cleaning function includes: a scraper conveyor support 1, a scraper conveyor body 3 is installed in the scraper conveyor support 1, a sealing cover plate 2 is arranged on the scraper conveyor support 1 outside the scraper conveyor body 3, a feeding hole is arranged on the upper side of the lower end of the scraper conveyor body 3, a discharging hole is arranged on the lower side of the upper end of the scraper conveyor body 3, a feeding hopper 6 is arranged on the feeding hole, a discharging pipe is arranged on the discharging hole, a buried scraper conveyor cleaning device 4 is arranged on the sealing cover plate 2 outside the chain rotation end of the scraper conveyor body 3, the buried scraper conveyor cleaning device 4 comprises a cleaning nozzle 49, the cleaning nozzle 49 is connected to a high-pressure air pump 44 through a high-pressure air conveying pipe 43, an air pump driving motor 45 is installed on the high-pressure air pump 44, and the high-pressure air conveying pipe 43 is installed on the air outlet of the high-pressure air pump 44 through a connecting flange in a sealing manner, the lower side of the scraper conveyor shell 41 is provided with a gas-powder separation filter plate 42, the gas-powder separation filter plate 42 is obliquely arranged, and the lower end of the scraper conveyor shell 41 is divided into a gas circulation cavity and a dust recovery cavity by the gas-powder separation filter plate 42. And a gas circulating pipe 47 is arranged on one side of the gas circulating cavity, a dust discharging pipe 48 is arranged on one side of the dust recycling cavity, and the gas circulating pipe 47 is connected to the gas inlet of the high-pressure air pump 44 through a circulating conveying pipe 46.
Example 2
As shown in fig. 1 to 3, the embedded scraper conveyor with an automatic cleaning function includes: a scraper conveyor support 1, a scraper conveyor body 3 is installed in the scraper conveyor support 1, a sealing cover plate 2 is arranged on the scraper conveyor support 1 outside the scraper conveyor body 3, a feeding hole is arranged on the upper side of the lower end of the scraper conveyor body 3, a discharging hole is arranged on the lower side of the upper end of the scraper conveyor body 3, a feeding hopper 6 is arranged on the feeding hole, a discharging pipe is arranged on the discharging hole, a buried scraper conveyor cleaning device 4 is arranged on the sealing cover plate 2 outside the chain rotation end of the scraper conveyor body 3, the buried scraper conveyor cleaning device 4 comprises a cleaning nozzle 49, the cleaning nozzle 49 is connected to a high-pressure air pump 44 through a high-pressure air conveying pipe 43, an air pump driving motor 45 is installed on the high-pressure air pump 44, and the high-pressure air conveying pipe 43 is installed on the air outlet of the high-pressure air pump 44 through a connecting flange in a sealing manner, the lower side of the scraper conveyor shell 41 is provided with a gas-powder separation filter plate 42, the gas-powder separation filter plate 42 is obliquely arranged, and the lower end of the scraper conveyor shell 41 is divided into a gas circulation cavity and a dust recovery cavity by the gas-powder separation filter plate 42. The scraper conveyor body 3 comprises a transmission conveyor belt 31, a plurality of conveying scrapers 32 are arranged on the outer side of the transmission conveyor belt 31, the conveying scraper 32 is uniformly fixed on the outer side of the transmission conveyer belt 31, one end of the transmission conveyer belt 31 is arranged on the driving roller 33, the other end is arranged on the driven roller 34, the two ends of the driving roller 33 and the driven roller 34 are arranged on the scraper conveyor bracket 1 through roller body mounting bearing seats, the two ends of the driving roller 33 and the driven roller 34 are arranged on the scraper conveyor bracket 1 through roller body mounting bearing seats, one end of the driving roller 33 is connected on a conveying driving device 36 through a coupler, a supporting guide roller 35 is arranged between the driving roller 33 and the driven roller 34, two ends of the supporting guide roller 35 are arranged on the scraper conveyor bracket 1 through a supporting guide roller mounting bearing seat, and the supporting guide roller mounting bearing seat is mounted on the scraper conveyor bracket 1 through a fixing bolt.
The utility model is provided with a cleaning device 4 of the embedded scraper conveyor on the sealing cover plate 2 outside the chain rotating end of the scraper conveyor body 3, the buried scraper conveyor cleaning device 4 includes a purge nozzle 49, the purge nozzle 49 is connected to a high-pressure air pump 44 through a high-pressure air delivery pipe 43, an air pump driving motor 45 is arranged on the high-pressure air pump 44, the high-pressure air delivery pipe 43 is hermetically arranged on an air outlet of the high-pressure air pump 44 through a connecting flange, the lower side of the scraper conveyor shell 41 is provided with an air-powder separation filter plate 42, the air-powder separation filter plate 42 is obliquely arranged, the gas-powder separation filter plate 42 divides the lower end of the scraper conveyor shell 41 into a gas circulation cavity and a dust recovery cavity, so that not only can dust be cleaned in time, the dust can be collected and utilized, and meanwhile, the circulating air is adopted for cleaning, so that the dust can be prevented from diffusing to pollute a workshop.
The basic principles and the main features of the invention and the advantages of the invention have been shown and described above. It will be understood by those skilled in the art that the present invention is not limited to the above embodiments, and that the foregoing embodiments and descriptions are provided only to illustrate the principles of the present invention without departing from the spirit and scope of the present invention. The scope of the invention is defined by the appended claims and equivalents thereof.

Claims (5)

1. An embedded scraper conveyor with an automatic cleaning function comprises: scraper conveyor support (1), its characterized in that: install scraper conveyor body (3) in scraper conveyor support (1), be equipped with sealed apron (2) on scraper conveyor support (1) in the scraper conveyor body (3) outside, scraper conveyor body (3) lower extreme upside is equipped with the material loading mouth, scraper conveyor body (3) upper end downside is equipped with the bin outlet, be equipped with feeding funnel (6) on the material loading mouth, be equipped with the blow-off pipe on the bin outlet, be equipped with on scraper conveyor body (3) chain gyration end outside sealed apron (2) and bury scraper conveyor cleaning device (4), bury scraper conveyor cleaning device (4) including cleaning nozzle (49), cleaning nozzle (49) are connected in high-pressure air pump (44) through high-pressure air conveyer pipe (43), install air pump driving motor (45) on high-pressure air pump (44), high-pressure air conveyer pipe (43) are passed through flange seal and are installed on the gas outlet of high-pressure air pump (44), scraper conveyor casing body (41) downside is equipped with gas-powder separation filter plate (42), gas-powder separation filter plate (42) slope sets up, gas-powder separation filter plate (42) are separated scraper conveyor casing body (41) lower extreme for gas circulation chamber, dust recovery chamber.
2. The embedded scraper conveyor with the automatic cleaning function according to claim 1, characterized in that: and a gas circulating pipe (47) is arranged on one side of the gas circulating cavity, a dust discharging pipe (48) is arranged on one side of the dust recycling cavity, and the gas circulating pipe (47) is connected to a gas inlet of the high-pressure gas pump (44) through a circulating conveying pipe (46).
3. The embedded scraper conveyor with the automatic cleaning function according to claim 1 or 2, characterized in that: scraper conveyor body (3) are including transmission conveyer belt (31), transmission conveyer belt (31) outside is equipped with a plurality of transport scrapers (32), transport scraper (32) evenly fix in transmission conveyer belt (31) outside, install on drive roller (33) transmission conveyer belt (31) one end, the other end is installed on driven voller (34).
4. The embedded scraper conveyor with the automatic cleaning function according to claim 3, characterized in that: the two ends of the driving roller (33) and the driven roller (34) are mounted on the scraper conveyor support (1) through roller mounting bearing seats, and one end of the driving roller (33) is connected to the conveying driving device (36) through a coupler.
5. The embedded scraper conveyor with the automatic cleaning function according to claim 4, characterized in that: be equipped with between drive roller (33), driven voller (34) and support guide roll (35), support guide roll (35) both ends and install on scraper conveyor support (1) through supporting guide roll installation bearing frame, it installs on scraper conveyor support (1) through fixing bolt to support guide roll installation bearing frame.
CN202022650436.9U 2020-11-16 2020-11-16 Embedded scraper conveyor with automatic cleaning function Expired - Fee Related CN213801694U (en)

Priority Applications (1)

Application Number Priority Date Filing Date Title
CN202022650436.9U CN213801694U (en) 2020-11-16 2020-11-16 Embedded scraper conveyor with automatic cleaning function

Applications Claiming Priority (1)

Application Number Priority Date Filing Date Title
CN202022650436.9U CN213801694U (en) 2020-11-16 2020-11-16 Embedded scraper conveyor with automatic cleaning function

Publications (1)

Publication Number Publication Date
CN213801694U true CN213801694U (en) 2021-07-27

Family

ID=76934024

Family Applications (1)

Application Number Title Priority Date Filing Date
CN202022650436.9U Expired - Fee Related CN213801694U (en) 2020-11-16 2020-11-16 Embedded scraper conveyor with automatic cleaning function

Country Status (1)

Country Link
CN (1) CN213801694U (en)

Similar Documents

Publication Publication Date Title
CN114194832B (en) Negative pressure pneumatic conveying and collecting system
CN211392704U (en) An ore scraper
CN208217665U (en) Full-closed environment protection belt conveyor
CN209835119U (en) Dust removal and suppression system for raw coal crushing station
CN211563140U (en) Crushing device for coal mining
CN213801694U (en) Embedded scraper conveyor with automatic cleaning function
CN209225977U (en) Scraper plate Analytic Tower feed conveyer bulk cargo clears up structure automatically
CN221643641U (en) Material collecting and recycling device for aggregate belt
CN213706876U (en) Cleaning device for scraper conveyor
CN207759566U (en) Screw conveyor
CN217534376U (en) Device for automatically cleaning accumulated dust and accumulated material of belt conveyor
CN217101644U (en) Embedded scraper transporter
CN222598401U (en) A double-chamber vertical kiln feeding device
CN215946184U (en) Sand material conveying device
CN215796291U (en) Totally-enclosed ash removal device for belt conveyor
CN213294044U (en) Multifunctional grain scraping machine
CN220033445U (en) Electromechanical transportation transmission device for coal mine
CN210286059U (en) Leaked material recovery device of trough conveyor
CN210312269U (en) Feeding device for latex
CN213706889U (en) Ash discharge device for scraper conveyor
CN219259934U (en) Discharging device for coal feeding system
CN210333026U (en) Dust collecting and discharging device in electric dust collector
CN220244896U (en) Belt conveyor dust collector
CN220144297U (en) Broken dust collector convenient to clearance
CN219216880U (en) Mining fireproof dustproof spray conveyor belt

Legal Events

Date Code Title Description
GR01 Patent grant
GR01 Patent grant
CF01 Termination of patent right due to non-payment of annual fee

Granted publication date: 20210727

CF01 Termination of patent right due to non-payment of annual fee