CN213765342U - A high-precision four-axis polishing machine - Google Patents

A high-precision four-axis polishing machine Download PDF

Info

Publication number
CN213765342U
CN213765342U CN202022189779.XU CN202022189779U CN213765342U CN 213765342 U CN213765342 U CN 213765342U CN 202022189779 U CN202022189779 U CN 202022189779U CN 213765342 U CN213765342 U CN 213765342U
Authority
CN
China
Prior art keywords
fixedly connected
support frame
motor
precision
plate
Prior art date
Legal status (The legal status is an assumption and is not a legal conclusion. Google has not performed a legal analysis and makes no representation as to the accuracy of the status listed.)
Expired - Fee Related
Application number
CN202022189779.XU
Other languages
Chinese (zh)
Inventor
王科
钟海
Current Assignee (The listed assignees may be inaccurate. Google has not performed a legal analysis and makes no representation or warranty as to the accuracy of the list.)
Chengdu Qianghai Photoelectric Technology Co ltd
Original Assignee
Chengdu Qianghai Photoelectric Technology Co ltd
Priority date (The priority date is an assumption and is not a legal conclusion. Google has not performed a legal analysis and makes no representation as to the accuracy of the date listed.)
Filing date
Publication date
Application filed by Chengdu Qianghai Photoelectric Technology Co ltd filed Critical Chengdu Qianghai Photoelectric Technology Co ltd
Priority to CN202022189779.XU priority Critical patent/CN213765342U/en
Application granted granted Critical
Publication of CN213765342U publication Critical patent/CN213765342U/en
Expired - Fee Related legal-status Critical Current
Anticipated expiration legal-status Critical

Links

Images

Landscapes

  • Finish Polishing, Edge Sharpening, And Grinding By Specific Grinding Devices (AREA)

Abstract

本实用新型公开了一种高精度四轴抛光机,包括底板和支撑架,所述支撑架固定于底板的顶部,所述底板顶部的设置有固定平台,所述支撑架内壁顶部的两侧均固定连接有电动伸缩杆,并且电动伸缩杆的底端固定连接有升降板,所述升降板的底部设置有平面移动机构,并且平面移动机构的底部固定连接有安装板,所述安装板的底部固定连接有抛光电机,并且抛光电机的输出轴固定连接有转杆,所述转杆的底端固定连接有抛光工具,本实用新型涉及抛光设备技术领域。该高精度四轴抛光机解决了现有设备难以持续的对工件进行曲面加工,需多次的对工件进行装夹与程序设置,影响工作效率的问题。

Figure 202022189779

The utility model discloses a high-precision four-axis polishing machine, comprising a base plate and a support frame, the support frame is fixed on the top of the base plate, a fixed platform is arranged on the top of the base plate, and both sides of the top of the inner wall of the support frame are The electric telescopic rod is fixedly connected, and the bottom end of the electric telescopic rod is fixedly connected with a lifting plate, the bottom of the lifting plate is provided with a plane moving mechanism, and the bottom of the plane moving mechanism is fixedly connected with a mounting plate, and the bottom of the mounting plate is A polishing motor is fixedly connected, and an output shaft of the polishing motor is fixedly connected with a rotating rod, the bottom end of the rotating rod is fixedly connected with a polishing tool, and the utility model relates to the technical field of polishing equipment. The high-precision four-axis polishing machine solves the problem that the existing equipment is difficult to continuously process the surface of the workpiece, and the workpiece needs to be clamped and programmed many times, which affects the work efficiency.

Figure 202022189779

Description

High accuracy four-axis burnishing machine
Technical Field
The utility model relates to a polishing equipment technical field specifically is a high accuracy four-axis burnishing machine.
Background
Polishing refers to a process of reducing the roughness of a workpiece surface by mechanical, chemical, or electrochemical actions to obtain a bright, flat surface. During polishing, the polishing wheel rotating at high speed presses the workpiece to roll and cut the workpiece surface in a trace manner by the abrasive, so that a bright processed surface is obtained.
Traditional burnishing machine can not polish the different surfaces of part simultaneously because traditional burnishing machine adopts the unable continuous curved surface processing to the work piece of three axis of motion, needs a lot of to carry out clamping and procedure setting to the work piece, and is unsatisfactory in the aspect of processing, has wasted a large amount of man-hours, has influenced work efficiency.
SUMMERY OF THE UTILITY MODEL
Not enough to prior art, the utility model provides a high accuracy four-axis burnishing machine has solved that current equipment is difficult to carrying out the curved surface processing to the work piece that lasts, needs a lot of to carry out clamping and procedure setting to the work piece, influences work efficiency's problem.
In order to achieve the above purpose, the utility model discloses a following technical scheme realizes: the utility model provides a high accuracy four-axis burnishing machine, includes bottom plate and support frame, the support frame is fixed in the top of bottom plate, the bottom plate top be provided with fixed platform, the equal fixedly connected with electric telescopic handle in both sides at support frame inner wall top to electric telescopic handle's bottom fixedly connected with lifter plate, the bottom of lifter plate is provided with plane moving mechanism to plane moving mechanism's bottom fixedly connected with mounting panel, the bottom fixedly connected with polishing motor of mounting panel to polishing motor's output shaft fixedly connected with bull stick, the bottom fixedly connected with burnishing tool of bull stick.
Preferably: the plane moving mechanism comprises a mounting groove, the mounting groove is formed in the bottom of the lifting plate, a first motor is fixedly connected to one side of the inner wall of the mounting groove, and a first lead screw is fixedly connected to an output shaft of the first motor.
Preferably: the surface cover of first lead screw is equipped with first slider to the top of first slider and the top fixed connection of mounting groove inner wall, the bottom of first slider is through connecting plate fixedly connected with slide rail, the right side of slide rail bottom is through installation piece fixedly connected with second motor.
Preferably: the output shaft of the second motor is fixedly connected with a second lead screw, the left end of the second lead screw is rotatably connected with the left side of the bottom of the sliding rail through a connecting piece, a second sliding block is sleeved on the surface of the second lead screw, the top of the second sliding block is slidably connected with the sliding rail, and a mounting plate is fixedly connected with the bottom of the second sliding block.
Preferably: the both sides of lifter plate all are through the inner wall sliding connection of slider with the support frame to the perpendicular spout with slider looks adaptation is all seted up to the both sides of support frame inner wall.
Preferably: the surface of the polishing motor is provided with a hood, and the hood is fixedly connected with the bottom of the mounting plate.
Advantageous effects
The utility model provides a high accuracy four-axis burnishing machine. The method has the following beneficial effects:
(1) this high accuracy four-axis burnishing machine, in the working process can be through controlling first motor, second motor and electric telescopic handle, the position of adjustment mounting panel and polishing tool ensures to accomplish the meticulous polishing on the irregular surface of work piece, and current equipment is difficult to carry out the curved surface processing to the work piece continuously, needs a lot of to carry out clamping and procedure setting to the work piece, influences work efficiency's problem.
(2) This high accuracy four-axis burnishing machine, simple structure, convenient to use, when polishing the curved surface, need not carry out a lot of centre gripping, avoids causing the damage to the work piece.
Drawings
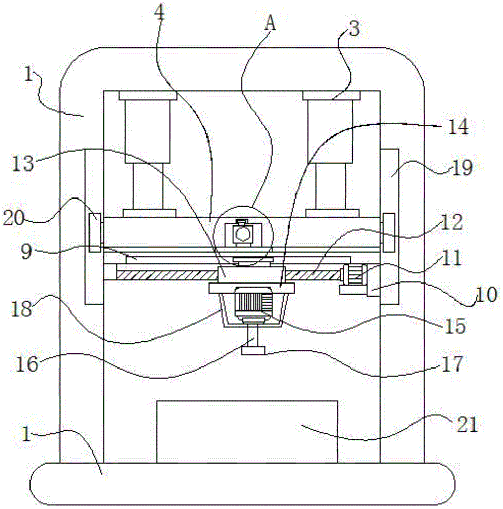
FIG. 1 is a schematic structural view of the present invention;
FIG. 2 is an enlarged view of a portion A of FIG. 1;
fig. 3 is a schematic structural view of the lifting plate and the mounting groove of the present invention.
In the figure: the polishing machine comprises a base plate 1, a supporting frame 2, an electric telescopic rod 3, a lifting plate 4, a mounting groove 5, a first motor 6, a first screw rod 7, a first sliding block 8, a sliding rail 9, a mounting block 10, a second motor 11, a second screw rod 12, a second sliding block 13, a mounting plate 14, a polishing motor 15, a rotating rod 16, a polishing tool 17, a machine cover 18, a vertical sliding groove 19, a sliding part 20 and a fixed platform 21.
Detailed Description
The technical solutions in the embodiments of the present invention will be described clearly and completely with reference to the accompanying drawings in the embodiments of the present invention, and it is obvious that the described embodiments are only some embodiments of the present invention, not all embodiments. Based on the embodiments in the present invention, all other embodiments obtained by a person skilled in the art without creative work belong to the protection scope of the present invention.
Referring to fig. 1-2, the present invention provides a technical solution: the utility model provides a high accuracy four-axis burnishing machine, including bottom plate 1 and support frame 2, support frame 2 is fixed in bottom plate 1's top, the fixed platform 21 that is provided with at 1 top of bottom plate, the equal fixedly connected with electric telescopic handle 3 in both sides at 2 inner wall tops of support frame, and the bottom fixedly connected with lifter plate 4 of electric telescopic handle 3, the bottom of lifter plate 4 is provided with plane moving mechanism, and plane moving mechanism's bottom fixedly connected with mounting panel 14, the bottom fixedly connected with polishing motor 15 of mounting panel 14, and the output shaft fixedly connected with bull stick 16 of polishing motor 15, the bottom fixedly connected with burnishing tool 17 of bull stick 16.
Further: the plane moving mechanism comprises a mounting groove 5, the mounting groove 5 is arranged at the bottom of the lifting plate 4, a first motor 6 is fixedly connected to one side of the inner wall of the mounting groove 5, and a first lead screw 7 is fixedly connected to an output shaft of the first motor 6.
Further: the surface cover of first lead screw 7 is equipped with first slider 8 to the top of first slider 8 and the top fixed connection of the 5 inner walls of mounting groove, connecting plate fixedly connected with slide rail 9 is passed through to the bottom of first slider 8, and the right side of slide rail 9 bottom is passed through installation piece 10 fixedly connected with second motor 11.
Further: the output shaft of the second motor 11 is fixedly connected with a second screw rod 12, the left end of the second screw rod 12 is rotatably connected with the left side of the bottom of the slide rail 9 through a connecting piece, a second sliding block 13 is sleeved on the surface of the second screw rod 12, the top of the second sliding block 13 is slidably connected with the slide rail 9, and a mounting plate 14 is fixedly connected with the bottom of the second sliding block 13.
Further: both sides of the lifting plate 4 are connected with the inner wall of the support frame 2 through the sliding piece 20 in a sliding manner, and the vertical sliding grooves 19 matched with the sliding piece 20 are formed in both sides of the inner wall of the support frame 2.
Further: the surface of the polishing motor 15 is provided with a hood 18, and the hood 18 is fixedly connected to the bottom of the mounting plate 14.
During the use, at first will treat that the work piece of processing is fixed in the top of fixed platform 21, then start polishing motor 15 and begin to polish the work piece, can adjust the position of mounting panel 14 and polishing tool 17 through controlling first motor 6, second motor 11 and electric telescopic handle 3 in the course of the work, ensure to accomplish the meticulous polishing of work piece irregular surface.
It is noted that, herein, relational terms such as first and second, and the like may be used solely to distinguish one entity or action from another entity or action without necessarily requiring or implying any actual such relationship or order between such entities or actions. Also, the terms "comprises," "comprising," or any other variation thereof, are intended to cover a non-exclusive inclusion, such that a process, method, article, or apparatus that comprises a list of elements does not include only those elements but may include other elements not expressly listed or inherent to such process, method, article, or apparatus.
Although embodiments of the present invention have been shown and described, it will be appreciated by those skilled in the art that changes, modifications, substitutions and alterations can be made in these embodiments without departing from the principles and spirit of the invention, the scope of which is defined in the appended claims and their equivalents.

Claims (6)

1.一种高精度四轴抛光机,包括底板(1)和支撑架(2),其特征在于:所述支撑架(2)固定于底板(1)的顶部,所述底板(1)顶部的设置有固定平台(21),所述支撑架(2)内壁顶部的两侧均固定连接有电动伸缩杆(3),并且电动伸缩杆(3)的底端固定连接有升降板(4),所述升降板(4)的底部设置有平面移动机构,并且平面移动机构的底部固定连接有安装板(14),所述安装板(14)的底部固定连接有抛光电机(15),并且抛光电机(15)的输出轴固定连接有转杆(16),所述转杆(16)的底端固定连接有抛光工具(17)。1. A high-precision four-axis polishing machine, comprising a base plate (1) and a support frame (2), characterized in that: the support frame (2) is fixed on the top of the base plate (1), and the top of the base plate (1) A fixed platform (21) is provided on the support frame (2), an electric telescopic rod (3) is fixedly connected to both sides of the top of the inner wall of the support frame (2), and a lifting plate (4) is fixedly connected to the bottom end of the electric telescopic rod (3). , the bottom of the lifting plate (4) is provided with a plane moving mechanism, and the bottom of the plane moving mechanism is fixedly connected with a mounting plate (14), and the bottom of the mounting plate (14) is fixedly connected with a polishing motor (15), and A rotating rod (16) is fixedly connected to the output shaft of the polishing motor (15), and a polishing tool (17) is fixedly connected to the bottom end of the rotating rod (16). 2.根据权利要求1所述的一种高精度四轴抛光机,其特征在于:平面移动机构包括安装槽(5),所述安装槽(5)开设于升降板(4)的底部,并且安装槽(5)内壁的一侧固定连接有第一电机(6),所述第一电机(6)的输出轴固定连接有第一丝杆(7)。2. A high-precision four-axis polishing machine according to claim 1, wherein the plane moving mechanism comprises an installation groove (5), and the installation groove (5) is opened at the bottom of the lifting plate (4), and A first motor (6) is fixedly connected to one side of the inner wall of the installation groove (5), and a first screw rod (7) is fixedly connected to the output shaft of the first motor (6). 3.根据权利要求2所述的一种高精度四轴抛光机,其特征在于:所述第一丝杆(7)的表面套设有第一滑块(8),并且第一滑块(8)的顶部与安装槽(5)内壁的顶部固定连接,所述第一滑块(8)的底部通过连接板固定连接有滑轨(9),所述滑轨(9)底部的右侧通过安装块(10)固定连接有第二电机(11)。3. A high-precision four-axis polishing machine according to claim 2, characterized in that: a first slider (8) is sleeved on the surface of the first screw (7), and the first slider ( The top of 8) is fixedly connected with the top of the inner wall of the mounting groove (5), the bottom of the first slider (8) is fixedly connected with a slide rail (9) through a connecting plate, and the right side of the bottom of the slide rail (9) A second motor (11) is fixedly connected through the mounting block (10). 4.根据权利要求3所述的一种高精度四轴抛光机,其特征在于:所述第二电机(11)的输出轴固定连接有第二丝杆(12),并且第二丝杆(12)的左端通过连接件与滑轨(9)底部的左侧转动连接,所述第二丝杆(12)的表面套设有第二滑块(13),所述第二滑块(13)的顶部与滑轨(9)滑动连接,并且第二滑块(13)的底部固定连接有安装板(14)。4. A high-precision four-axis polishing machine according to claim 3, characterized in that: the output shaft of the second motor (11) is fixedly connected with a second screw rod (12), and the second screw rod ( The left end of 12) is rotatably connected to the left side of the bottom of the slide rail (9) through a connecting piece, and a second sliding block (13) is sleeved on the surface of the second screw rod (12). The second sliding block (13) ) is slidably connected with the sliding rail (9), and the bottom of the second sliding block (13) is fixedly connected with a mounting plate (14). 5.根据权利要求1所述的一种高精度四轴抛光机,其特征在于:所述升降板(4)的两侧均通过滑动件(20)与支撑架(2)的内壁滑动连接,并且支撑架(2)内壁的两侧均开设有与滑动件(20)相适配的垂直滑槽(19)。5. A high-precision four-axis polishing machine according to claim 1, characterized in that: both sides of the lift plate (4) are slidably connected to the inner wall of the support frame (2) through the sliding member (20), And both sides of the inner wall of the support frame (2) are provided with vertical sliding grooves (19) adapted to the sliding member (20). 6.根据权利要求1所述的一种高精度四轴抛光机,其特征在于:所述抛光电机(15)的表面设置有机罩(18),并且机罩(18)与安装板(14)的底部固定连接。6. A high-precision four-axis polishing machine according to claim 1, characterized in that: the surface of the polishing motor (15) is provided with a hood (18), and the hood (18) and the mounting plate (14) bottom fixed connection.
CN202022189779.XU 2020-09-29 2020-09-29 A high-precision four-axis polishing machine Expired - Fee Related CN213765342U (en)

Priority Applications (1)

Application Number Priority Date Filing Date Title
CN202022189779.XU CN213765342U (en) 2020-09-29 2020-09-29 A high-precision four-axis polishing machine

Applications Claiming Priority (1)

Application Number Priority Date Filing Date Title
CN202022189779.XU CN213765342U (en) 2020-09-29 2020-09-29 A high-precision four-axis polishing machine

Publications (1)

Publication Number Publication Date
CN213765342U true CN213765342U (en) 2021-07-23

Family

ID=76907152

Family Applications (1)

Application Number Title Priority Date Filing Date
CN202022189779.XU Expired - Fee Related CN213765342U (en) 2020-09-29 2020-09-29 A high-precision four-axis polishing machine

Country Status (1)

Country Link
CN (1) CN213765342U (en)

Cited By (1)

* Cited by examiner, † Cited by third party
Publication number Priority date Publication date Assignee Title
CN113910092A (en) * 2021-09-06 2022-01-11 高邮市新潮自动化机械有限公司 Manual aluminum square plate outer surface polishing device

Cited By (1)

* Cited by examiner, † Cited by third party
Publication number Priority date Publication date Assignee Title
CN113910092A (en) * 2021-09-06 2022-01-11 高邮市新潮自动化机械有限公司 Manual aluminum square plate outer surface polishing device

Similar Documents

Publication Publication Date Title
CN111098217A (en) Panel polishing device for production of square reading bookshelf
CN215239923U (en) Surface grinding device for hardware fitting machining
CN213765342U (en) A high-precision four-axis polishing machine
CN217863079U (en) Adjustable metal surface treatment device
CN218397511U (en) Grinding and polishing machine
CN217317339U (en) Plant ceramic processing idiosome deburring device
CN215317889U (en) Engineering machine tool accessory burnishing device
CN215356557U (en) Gear machining clamping tool wide in application range
CN212886227U (en) Turnover structure for machining of numerical control metal cutting machine tool
CN211728632U (en) Double-sided chamfering machine
CN212421000U (en) A tooling auxiliary fixture structure for mold
CN220296680U (en) Spare part burnishing device for hardware processing
CN221270661U (en) Polisher with quick location structure
CN219234844U (en) Workpiece clamping tool for slide plate sander
CN222958300U (en) A bearing ring polishing device that is easy to clean
CN222919724U (en) Processing metal section bar positioner of engraver
CN223289490U (en) A metal surface deburring mechanism
CN214719613U (en) Clamping mechanism for numerical control bending machine
CN213647100U (en) A terminal automatic polishing equipment
CN223441871U (en) A surface burr treatment device for automobile stamping parts
CN222078929U (en) A precision structural parts polishing device
CN220197106U (en) Ring surface polishing treatment equipment
CN213592583U (en) A chrome-molybdenum steel metallographic grinding and polishing device
CN222711715U (en) Deburring device for aluminum die castings
CN220462967U (en) Aluminum alloy door and window processing positioner

Legal Events

Date Code Title Description
GR01 Patent grant
GR01 Patent grant
CF01 Termination of patent right due to non-payment of annual fee

Granted publication date: 20210723

CF01 Termination of patent right due to non-payment of annual fee