CN213649693U - Transfer device for customized furniture board - Google Patents
Transfer device for customized furniture board Download PDFInfo
- Publication number
- CN213649693U CN213649693U CN202022868707.8U CN202022868707U CN213649693U CN 213649693 U CN213649693 U CN 213649693U CN 202022868707 U CN202022868707 U CN 202022868707U CN 213649693 U CN213649693 U CN 213649693U
- Authority
- CN
- China
- Prior art keywords
- base
- plate
- plummer
- transfer device
- pressing
- Prior art date
- Legal status (The legal status is an assumption and is not a legal conclusion. Google has not performed a legal analysis and makes no representation as to the accuracy of the status listed.)
- Active
Links
- 230000007246 mechanism Effects 0.000 claims abstract description 35
- 238000003825 pressing Methods 0.000 claims abstract description 29
- 230000035939 shock Effects 0.000 claims abstract description 11
- 230000000694 effects Effects 0.000 claims description 5
- 238000013016 damping Methods 0.000 claims description 3
- 238000005096 rolling process Methods 0.000 abstract description 2
- 238000000034 method Methods 0.000 description 6
- 238000004519 manufacturing process Methods 0.000 description 3
- 238000010521 absorption reaction Methods 0.000 description 2
- 238000011065 in-situ storage Methods 0.000 description 2
- 239000000463 material Substances 0.000 description 2
- 230000021715 photosynthesis, light harvesting Effects 0.000 description 2
- 241000282414 Homo sapiens Species 0.000 description 1
- 230000009286 beneficial effect Effects 0.000 description 1
- 238000006243 chemical reaction Methods 0.000 description 1
- 210000002615 epidermis Anatomy 0.000 description 1
- 230000001681 protective effect Effects 0.000 description 1
- 238000007790 scraping Methods 0.000 description 1
Images
Landscapes
- Handcart (AREA)
Abstract
The utility model relates to a furniture customization technical field specifically is a transfer device for customization furniture board, the on-line screen storage device comprises a base, four face angles departments of downside of base are equipped with the universal wheel respectively, the downside intermediate position of base is provided with steering mechanism, the upside of base is connected with through the shock attenuation connecting piece and accepts the board, and accepts the upper end fixedly connected with plummer of board, one side fixed mounting of plummer has the baffle, and the lateral surface of baffle is provided with and pushes away the handle. The utility model discloses a downside middle part at the base is provided with and turns to the structure for this device wholly carries out the rotation in the transportation to panel, thereby is convenient for turn to the device, presses through the removal and covers the mechanism, and unilateral pressing covers the mechanism, makes this device can press to cover not equidimension panel and fix and transport, has improved the application scope of this device greatly, utilizes can rolling live-rollers, is convenient for lift panel off from the plummer.
Description
Technical Field
The utility model relates to a furniture customization technical field specifically is a customization is transfer device for furniture board.
Background
Furniture is an important foundation for establishing working and living spaces, is a large class of essential appliances and facilities for maintaining normal life, engaging in production practice and developing social activities for human beings, and is continuously developed and innovated along with the steps of the times, so that the furniture has various types, different materials, complete varieties and different purposes.
The panel is common material in the furniture production, at the in-process of furniture production, need remove panel to the assembly shop and assemble, at present, mainly rely on the shallow to transport it, many furniture panel sizes are longer, the in-process of transporting is difficult for carrying out the corner, influence panel transportation efficiency, simultaneously in the transportation, when receiving jolting, layer upon layer extruded panel can produce the epidermis and scrape the condition of flower, consequently, for solving above-mentioned problem, provide a be convenient for the corner have the customized transfer device for furniture panel of protective structure.
SUMMERY OF THE UTILITY MODEL
An object of the utility model is to provide a customization transfer device for furniture board to solve the current customization transfer device for furniture board structure that proposes in the above-mentioned background art comparatively simple, in the transportation, the corner is inconvenient, simultaneously in the transportation, the problem on easy scratch panel surface.
In order to achieve the above object, the utility model provides a following technical scheme: the utility model provides a customization is transfer device for furniture board, includes the base, four face angles departments of downside of base are equipped with the universal wheel respectively, the downside intermediate position of base is provided with steering mechanism, the upside of base is connected with through the shock attenuation connecting piece and accepts the board, and accepts the upper end fixedly connected with plummer of board, one side fixed mounting of plummer has the baffle, and the lateral surface of baffle is provided with and pushes away the handle, the fixed veneer of opposite side of baffle has first rubber pad, the side fixedly connected with fixed plate of plummer, and be provided with on the fixed plate and press and cover the mechanism.
Preferably, the steering mechanism comprises a connecting seat, a rotating block, a chassis and rollers, the rotating block is inserted into the connecting seat and is of a T-shaped structure, balls are uniformly embedded between the rotating block and the connecting seat, the chassis is fixedly connected to the lower end of the rotating block, and two sets of rollers are arranged at the lower end of the chassis.
Preferably, the shock attenuation connecting piece includes fixed axle, slip cap, bracing piece and spring, the slip cap has been cup jointed in the activity respectively at the both ends of fixed axle, and the lower extreme of every slip cap of group all articulates and is connected with the bracing piece, the cover is equipped with the spring on the fixed axle, and the both ends of spring are connected with two sets of slip caps respectively, the lower extreme of bracing piece articulates and connects on the base, fixed axle fixed mounting is accepting the downside of board, and accepts the board and set up to the arc structure.
Preferably, the upper end of plummer sets up to groove structure, and the equidistant live-rollers of installing in the recess, and every group the surface of live-rollers all wraps up there is the rubber cushion.
Preferably, the pressing mechanism comprises a connecting plate, a pressing plate, a second rubber pad, a sliding block and a locking bolt, the pressing plate is fixedly connected to the lower surface of one end of the connecting plate, the sliding block is fixedly connected to the other end of the connecting plate and is of a T-shaped structure, the locking bolt is inserted into the sliding block, a sliding groove matched with the sliding block is formed in the fixing plate, threaded holes matched with the locking bolt are formed in the bottom surface of the sliding groove at equal intervals, three groups of pressing mechanisms are arranged, and the three groups of pressing mechanisms are sequentially distributed on the fixing plate.
Preferably, a second rubber pad is fixedly glued to the lower surface of the pressing plate, and the lower surface of the second rubber pad is of a sawtooth anti-slip structure.
Compared with the prior art, the beneficial effects of the utility model are that:
(1) the utility model discloses a downside middle part at the base is provided with and turns to the structure for this device can wholly carry out the rotation through rotating-structure in the transportation to panel, thereby is convenient for turn to the device, has made things convenient for the transportation of panel greatly.
(2) The utility model discloses a be provided with the shock attenuation connecting piece, can carry out the energy dissipation shock attenuation with this device at the removal in-process through the shock attenuation connecting piece to subduct the influence of road surface factor to transporting panel, the loading board of cooperation arc structure has further improved the shock attenuation effect of this device, thereby has guaranteed the transportation safety of this device to panel greatly.
(3) The utility model discloses a be provided with and press and cover the mechanism, place panel in proper order on the plummer, press through the removal and cover the mechanism, make to press to cover the mechanism and press to cover panel, make panel fix on the plummer, the unilateral pressure that sets up covers the mechanism, make this device can press to cover fixedly and transport panel of equidimension not, improved the application scope of this device greatly, simultaneously, be provided with the live-rollers on the plummer, but utilize rolling live-rollers, be convenient for lift panel off from the plummer.
Description of the drawings:
in order to more clearly illustrate the embodiments of the present invention or the technical solutions in the prior art, the drawings used in the description of the embodiments or the prior art will be briefly described below, it is obvious that the drawings in the following description are only some embodiments of the present invention, and for those skilled in the art, other drawings can be obtained according to these drawings without creative efforts.
FIG. 1 is a schematic sectional view of the front view of the structure of the present invention;
fig. 2 is a front sectional view of the steering mechanism of the present invention;
FIG. 3 is a front view of the shock-absorbing connector structure of the present invention;
FIG. 4 is a front view of the pressing mechanism of the present invention;
fig. 5 is a schematic side view of the structure of the present invention.
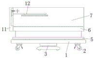
In the figure: 1. a base; 2. a universal wheel; 3. a steering mechanism; 31. a connecting seat; 32. rotating the block; 33. a chassis; 34. a roller; 4. a shock absorbing connector; 41. a fixed shaft; 42. a sliding sleeve; 43. a support bar; 44. a spring; 5. a bearing plate; 6. a bearing table; 7. a baffle plate; 8. a push handle; 9. a first rubber pad; 10. a rotating roller; 11. a fixing plate; 12. a pressing mechanism; 121. a connecting plate; 122. pressing the covering plate; 123. a second rubber pad; 124. a slider; 125. and locking the bolt.
The specific implementation mode is as follows:
the technical solutions in the embodiments of the present invention will be described clearly and completely with reference to the accompanying drawings in the embodiments of the present invention, and it is obvious that the described embodiments are only some embodiments of the present invention, not all embodiments. Based on the embodiments in the present invention, all other embodiments obtained by a person skilled in the art without creative work belong to the protection scope of the present invention.
Referring to fig. 1-5, the present invention provides an embodiment: a transfer device for customized furniture boards comprises a base 1, universal wheels 2 are respectively assembled at four corners of the lower side of the base 1, a steering mechanism 3 is arranged at the middle position of the lower side of the base 1, the steering mechanism 3 comprises a connecting seat 31, a rotating block 32, a chassis 33 and rollers 34, the rotating block 32 is inserted in the connecting seat 31, the rotating block 32 is of a T-shaped structure, balls are uniformly embedded between the rotating block 32 and the connecting seat 31, the lower end of the rotating block 32 is fixedly connected with the chassis 33, two groups of rollers 34 are arranged at the lower end of the chassis 33, the upper end of the rotating block 32 is arranged in the connecting seat 31 and can rotate through the balls, the rollers 34 under the chassis 33 can rotate in situ through the rotating block 32, so that the device can rotate in situ in the transferring process of the boards, and can be convenient for the device to turn in places with small space or in places, the transfer convenience of the device is greatly improved;
the upper side of the base 1 is connected with a bearing plate 5 through a damping connecting piece 4, the upper end of the bearing plate 5 is fixedly connected with a bearing platform 6, the damping connecting piece 4 comprises a fixed shaft 41, sliding sleeves 42, supporting rods 43 and springs 44, the two ends of the fixed shaft 41 are respectively movably sleeved with the sliding sleeves 42, the lower end of each sliding sleeve 42 is hinged with the supporting rod 43, the fixed shaft 41 is sleeved with the springs 44, the two ends of the springs 44 are respectively connected with the two groups of sliding sleeves 42, the lower end of the supporting rod 43 is hinged to the base 1, the fixed shaft 41 is fixedly arranged at the lower side of the bearing plate 5, the bearing plate 5 is of an arc structure, the elasticity of the springs 44 is utilized, the supporting rods 43 absorb force to rotate when the base 1 is subjected to impact force, at the moment, the springs 44 extrude the sliding sleeves 42 to enable the sliding sleeves 42 to drive the, the energy dissipation and shock absorption effects of the device are further improved by matching with the bearing plate 5 with an arc structure, so that the transportation safety of the plate is improved;
a baffle 7 is fixedly installed on one side of a bearing table 6, a pushing handle 8 is arranged on the outer side face of the baffle 7, a first rubber pad 9 is fixedly glued on the other side of the baffle 7, the upper end of the bearing table 6 is of a groove structure, rotating rollers 10 are installed in the grooves at equal intervals, rubber cushions wrap the outer surfaces of the rotating rollers 10 of each group, the pushing handle 8 is utilized to move the device, in addition, the rotatable rotating rollers 10 are utilized to enable plates to move through the rotating rollers 10, so that the plates can be detached from the device, and in the using process, the rubber cushions on the first rubber pads 9 and the rotating rollers 10 can protect the plates, so that the situation of scraping the plates is prevented;
the side surface of the bearing table 6 is fixedly connected with a fixed plate 11, the fixed plate 11 is provided with a pressing mechanism 12, the pressing mechanism 12 comprises a connecting plate 121, a pressing plate 122, a second rubber pad 123, a sliding block 124 and a locking bolt 125, the lower surface of one end of the connecting plate 121 is fixedly connected with the pressing plate 122, the other end of the connecting plate 121 is fixedly connected with the sliding block 124, the sliding block 124 is arranged to be a T-shaped structure, the sliding block 124 is inserted with the locking bolt 125, the fixed plate 11 is provided with a sliding chute matched with the sliding block 124, the bottom surface of the sliding chute is equidistantly provided with threaded holes matched with the locking bolt 125, the pressing mechanisms 12 are arranged in three groups, the three groups of pressing mechanisms 12 are sequentially distributed on the fixed plate 11, the lower surface of the pressing plate 122 is fixedly glued with a second rubber pad 123, the lower surface of the second rubber pad 123 is arranged to be, the pressing and covering mechanism 12 can press and cover the plates, the plates are pressed, held and fixed by matching with the bearing table 6, meanwhile, the second rubber pad 123 with the sawtooth anti-skidding structure can not scratch the plates under the condition that the plates are tightly pressed and held, and the unilateral pressing and covering mechanism 12 is arranged on the bearing table 6, so that the device can press, hold, fix and transfer the plates with different sizes, and the application range of the device is greatly enlarged;
the working principle is as follows: when in use, one side of a plate needing to rotate is stacked on the bearing table 6, and one end of the plate is kept to be abutted against the baffle 7;
when the plates are stacked to a certain height, the three sets of pressing mechanisms 12 on the fixing plate 11 are moved downwards, so that the pressing mechanisms 12 are pressed on the plates, the connecting plate 121 is moved along the sliding groove on the fixing plate 11 through the sliding block 124, the plate is moved to the pressing plate 122 to be tightly abutted against the plates, and then the locking bolt 125 is screwed into the threaded hole in the sliding groove, so that the pressing mechanisms 12 are fixed;
in the transferring process, the base 1 moves through the universal wheels 2, the received impact force is transmitted to the shock absorption connecting piece 4, at the moment, the two groups of supporting rods 43 are subjected to rotary deformation, and meanwhile, the two groups of sliding sleeves 42 are extruded under the reaction force of the springs 44, so that the impact force is reduced;
when turning, the last rotation piece 32 of steering mechanism 3 for this device can carry out the rotation around connecting seat 31, thereby is convenient for this device to carry out pivot and turns to, and the above is the utility model discloses a whole theory of operation.
It is obvious to a person skilled in the art that the invention is not restricted to details of the above-described exemplary embodiments, but that it can be implemented in other specific forms without departing from the spirit or essential characteristics of the invention. The present embodiments are therefore to be considered in all respects as illustrative and not restrictive, the scope of the invention being indicated by the appended claims rather than by the foregoing description, and all changes which come within the meaning and range of equivalency of the claims are therefore intended to be embraced therein. Any reference sign in a claim should not be construed as limiting the claim concerned.
Claims (6)
1. The utility model provides a transfer device for customized furniture board, includes base (1), its characterized in that: four face angle departments of downside of base (1) are equipped with universal wheel (2) respectively, the downside intermediate position of base (1) is provided with steering mechanism (3), the upside of base (1) is connected with through shock attenuation connecting piece (4) and accepts board (5), and accepts upper end fixedly connected with plummer (6) of board (5), one side fixed mounting of plummer (6) has baffle (7), and the lateral surface of baffle (7) is provided with and pushes away handle (8), the fixed veneer of opposite side of baffle (7) has first rubber pad (9), the side fixedly connected with fixed plate (11) of plummer (6), and be provided with on fixed plate (11) and press and cover mechanism (12).
2. The transfer device for customized furniture board according to claim 1, wherein: steering mechanism (3) are including connecting seat (31), turning block (32), chassis (33) and gyro wheel (34), the inside of connecting seat (31) is inserted and is equipped with turning block (32), and turning block (32) sets up to T shape structure, evenly inlayed the ball between turning block (32) and connecting seat (31), the lower extreme fixedly connected with chassis (33) of turning block (32), and the lower extreme of chassis (33) is provided with two sets of gyro wheels (34).
3. The transfer device for customized furniture board according to claim 1, wherein: damping connecting piece (4) are including fixed axle (41), slip cap (42), bracing piece (43) and spring (44), slip cap (42) have been cup jointed in the activity respectively at the both ends of fixed axle (41), and the lower extreme of every group slip cap (42) all articulates and is connected with bracing piece (43), the cover is equipped with spring (44) on fixed axle (41), and the both ends of spring (44) are connected with two sets of slip caps (42) respectively, the articulated connection of lower extreme of bracing piece (43) is on base (1), fixed axle (41) fixed mounting is in the downside of accepting board (5), and accepts board (5) and set up to the arc structure.
4. The transfer device for customized furniture board according to claim 1, wherein: the upper end of plummer (6) sets up to groove structure, and the equidistance installs rotor (10) in the recess, and every group the surface of rotor (10) all wraps up there is the rubber cushion.
5. The transfer device for customized furniture board according to claim 1, wherein: the pressing and covering mechanism (12) comprises a connecting plate (121), a pressing and covering plate (122), a second rubber pad (123), a sliding block (124) and a locking bolt (125), the lower surface of one end of the connecting plate (121) is fixedly connected with the pressing and covering plate (122), the other end of the connecting plate (121) is fixedly connected with the sliding block (124), the sliding block (124) is of a T-shaped structure, the locking bolt (125) is inserted into the sliding block (124), a sliding groove matched with the sliding block (124) is formed in the fixing plate (11), threaded holes matched with the locking bolt (125) are formed in the bottom surface of the sliding groove at equal intervals, three groups of the pressing and covering mechanism (12) are arranged, and the three groups of the pressing and covering mechanism (12) are sequentially distributed on the fixing plate (11.
6. The transfer device for customized furniture board according to claim 5, wherein: and a second rubber pad (123) is fixedly glued on the lower surface of the pressing plate (122), and the lower surface of the second rubber pad (123) is of a sawtooth anti-slip structure.
Priority Applications (1)
| Application Number | Priority Date | Filing Date | Title |
|---|---|---|---|
| CN202022868707.8U CN213649693U (en) | 2020-12-03 | 2020-12-03 | Transfer device for customized furniture board |
Applications Claiming Priority (1)
| Application Number | Priority Date | Filing Date | Title |
|---|---|---|---|
| CN202022868707.8U CN213649693U (en) | 2020-12-03 | 2020-12-03 | Transfer device for customized furniture board |
Publications (1)
| Publication Number | Publication Date |
|---|---|
| CN213649693U true CN213649693U (en) | 2021-07-09 |
Family
ID=76688533
Family Applications (1)
| Application Number | Title | Priority Date | Filing Date |
|---|---|---|---|
| CN202022868707.8U Active CN213649693U (en) | 2020-12-03 | 2020-12-03 | Transfer device for customized furniture board |
Country Status (1)
| Country | Link |
|---|---|
| CN (1) | CN213649693U (en) |
-
2020
- 2020-12-03 CN CN202022868707.8U patent/CN213649693U/en active Active
Similar Documents
| Publication | Publication Date | Title |
|---|---|---|
| CN213649693U (en) | Transfer device for customized furniture board | |
| CN208515636U (en) | Furniture transport vehicle for storing furniture | |
| CN205131301U (en) | Portable gardens handcart | |
| CN210941878U (en) | Transportation device for auto-parts | |
| CN211663309U (en) | Transport vechicle with furniture protect function | |
| CN210591219U (en) | A strong support polyurethane caster with shock absorption function | |
| CN209852375U (en) | Can fix shock attenuation commodity circulation car of goods | |
| CN220615380U (en) | Caster for suitcase | |
| CN213083216U (en) | Transport trolley with good stability for warehouse | |
| CN212313606U (en) | Travelling car convenient to mechanical equipment installation | |
| CN211515539U (en) | Portable soil pollution is prosthetic devices on spot | |
| CN215754551U (en) | A shock absorption device for processing bamboo and wood products | |
| CN211869442U (en) | Portable real battery rack of using of car of portable | |
| CN211083299U (en) | Mobile data acquisition equipment convenient to move | |
| CN207389275U (en) | Trolley Side-braking caster wheel with shock mitigation system | |
| CN211468523U (en) | Photoelectric sensor conveyer with protector | |
| CN220548880U (en) | Impact-resistant castor support | |
| CN216133528U (en) | Teaching device based on computer technology | |
| CN216036292U (en) | Energy storage battery production is with stabilizing effectual transfer device | |
| CN214689676U (en) | A shock-absorbing trailer for construction engineering | |
| CN211282040U (en) | Subway carbon is transportation fixing device for slide | |
| CN217243236U (en) | Book shelf | |
| CN218750107U (en) | Novel shock-absorbing caster | |
| CN220645805U (en) | Portable extension ladder | |
| CN212244822U (en) | Folding hydraulic trolley |
Legal Events
| Date | Code | Title | Description |
|---|---|---|---|
| GR01 | Patent grant | ||
| GR01 | Patent grant |