CN213472018U - Temperature control device for injection mold production - Google Patents

Temperature control device for injection mold production Download PDF

Info

Publication number
CN213472018U
CN213472018U CN202021834789.8U CN202021834789U CN213472018U CN 213472018 U CN213472018 U CN 213472018U CN 202021834789 U CN202021834789 U CN 202021834789U CN 213472018 U CN213472018 U CN 213472018U
Authority
CN
China
Prior art keywords
wall
main part
coolant liquid
control device
temperature control
Prior art date
Legal status (The legal status is an assumption and is not a legal conclusion. Google has not performed a legal analysis and makes no representation as to the accuracy of the status listed.)
Expired - Fee Related
Application number
CN202021834789.8U
Other languages
Chinese (zh)
Inventor
肖智苑
Current Assignee (The listed assignees may be inaccurate. Google has not performed a legal analysis and makes no representation or warranty as to the accuracy of the list.)
Jiangxi Pinhe Technology Co ltd
Original Assignee
Jiangxi Pinhe Technology Co ltd
Priority date (The priority date is an assumption and is not a legal conclusion. Google has not performed a legal analysis and makes no representation as to the accuracy of the date listed.)
Filing date
Publication date
Application filed by Jiangxi Pinhe Technology Co ltd filed Critical Jiangxi Pinhe Technology Co ltd
Priority to CN202021834789.8U priority Critical patent/CN213472018U/en
Application granted granted Critical
Publication of CN213472018U publication Critical patent/CN213472018U/en
Expired - Fee Related legal-status Critical Current
Anticipated expiration legal-status Critical

Links

Images

Landscapes

  • Moulds For Moulding Plastics Or The Like (AREA)

Abstract

The utility model discloses a temperature control device is used in injection mold production, including the device main part, it is provided with the mould main part to inlay on the inner wall of device main part top, fixedly connected with coolant liquid case on the inner wall of device main part bottom one side, condenser tube is at mould main part inside fixed connection all around, fixedly connected with hydraulic pump on the device main part bottom intermediate position inner wall. The utility model discloses in, the coolant liquid of coolant liquid incasement passes through the water pump and gets into the inlet tube, cool off by condenser tube to the plastics in the mould main part, the coolant liquid is collected again by the delivery port and is got back to the coolant liquid case through the outlet pipe, temperature sensor can respond to the temperature of coolant liquid in the coolant liquid case, the controller is opened the refrigerator and is cooled down to the coolant liquid when the high temperature, fall to the refrigerator and close after the appointed temperature, the water pump continues to take out liquid cooling by circulation, cooling rate is higher, the production efficiency is improved, be worth wideling popularize.

Description

Temperature control device for injection mold production
Technical Field
The utility model relates to an injection moulding production technical field especially relates to a temperature control device is used in injection mold production.
Background
Injection molding is a method for producing and molding industrial products, and the products generally adopt rubber injection molding and plastic injection molding, and the injection molding can also be divided into injection molding and die casting methods.
Need cool off plastics in the mould during production of moulding plastics to accelerate its fashioned speed, but the temperature is uncontrollable when the production cooling is moulded plastics to the tradition, can influence refrigerated speed when coolant temperature is too high, reduces production efficiency, and when the coolant temperature was crossed the end, will make plastics shrinkage influence finished product quality in the mould again.
SUMMERY OF THE UTILITY MODEL
The utility model aims at solving the defects existing in the prior art and providing a temperature control device for injection mold production.
In order to achieve the above purpose, the utility model adopts the following technical scheme: a temperature control device for injection mold production comprises a device main body, wherein a mold main body is embedded on the inner wall of the top of the device main body, the mold main body is made of hard alloy with thermal stability and is shaped like a groove, a water inlet is arranged in the center of the outer wall on one side of the mold main body, a water outlet is arranged in the center of the outer wall on the side of the mold main body opposite to the water inlet, a cooling liquid tank is fixedly connected to the inner wall on one side of the bottom of the device main body, a water pump is arranged on the outer wall on one side of the top of the cooling liquid tank, a water inlet pipe is arranged at the top of the water pump, a water outlet pipe is arranged in the outer wall on the side of the top of the cooling liquid tank opposite to the water pump, four cooling water pipes are arranged on the left side and, the cooling water pipe is fixedly connected with the inner part of the periphery of the die main body, one ends of the nine cooling water pipes are fixedly connected with the water outlet, and a hydraulic pump is fixedly connected to the inner wall of the middle position of the bottom of the die main body.
As a further description of the above technical solution:
the output end of the hydraulic pump is fixedly connected with a hydraulic rod, and the top end of the hydraulic rod penetrates through the die body and slides on the inner wall of the bottom of the die body.
As a further description of the above technical solution:
and a controller is fixedly connected to the inner wall of one side of the bottom of the device main body, which is opposite to the cooling liquid tank.
As a further description of the above technical solution:
and a temperature sensor is arranged on the inner wall of the middle position of the bottom of the cooling liquid tank.
As a further description of the above technical solution:
and the outer walls of two sides of the cooling box are provided with a refrigerator.
As a further description of the above technical solution:
the cooling water pipes are uniformly distributed inside the periphery of the die main body.
As a further description of the above technical solution:
the material of inlet tube and outlet pipe is high temperature resistant water pipe.
The utility model discloses following beneficial effect has:
1. the utility model discloses in, at first the coolant liquid of coolant liquid incasement passes through the water pump and gets into the inlet tube, cool off the plastics in the mould main part by condenser tube, the coolant liquid is collected again by the delivery port and is got back to the coolant liquid case through the outlet pipe, temperature sensor can respond to the temperature of coolant liquid in the coolant liquid case, the controller is opened the refrigerator and is cooled down to the coolant liquid when the high temperature, fall to the refrigerator and close after the appointed temperature, the water pump continues to take out liquid cooling by circulation, cooling rate is higher, the production efficiency is improved, the off-the-shelf quality of moulding plastics has been guaranteed.
2. The utility model discloses in, hydraulic pump work makes the hydraulic stem extension extend jack-up finished product of moulding plastics in the mould main part after, and the hydraulic stem gets back to primary importance, and the drawing of patterns is more convenient, is worth wideling popularize.
Drawings
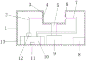
Fig. 1 is a front view of a temperature control device for injection mold production according to the present invention;
fig. 2 is the utility model provides a temperature control device's for injection mold production mould main part stereogram.
Illustration of the drawings:
1. a device main body; 2. a water inlet pipe; 3. a mold body; 4. a water inlet; 5. a hydraulic lever; 6. a water outlet; 7. a water outlet pipe; 8. a controller; 9. a hydraulic pump; 10. a coolant tank; 11. a temperature sensor; 12. a water pump; 13. a refrigerator; 14. and cooling the water pipe.
Detailed Description
The technical solutions in the embodiments of the present invention will be described clearly and completely with reference to the accompanying drawings in the embodiments of the present invention, and it is obvious that the described embodiments are only some embodiments of the present invention, not all embodiments. Based on the embodiments in the present invention, all other embodiments obtained by a person skilled in the art without creative work belong to the protection scope of the present invention.
In the description of the present invention, it should be noted that the terms "center", "upper", "lower", "left", "right", "vertical", "horizontal", "inner", "outer", and the like indicate orientations or positional relationships based on the orientations or positional relationships shown in the drawings, and are only for convenience of description and simplification of description, but do not indicate or imply that the device or element referred to must have a specific orientation, be constructed and operated in a specific orientation, and thus, should not be construed as limiting the present invention; the terms "first," "second," and "third" are used for descriptive purposes only and are not to be construed as indicating or implying relative importance, and furthermore, unless otherwise explicitly stated or limited, the terms "mounted," "connected," and "connected" are to be construed broadly and may be, for example, fixedly connected, detachably connected, or integrally connected; can be mechanically or electrically connected; they may be connected directly or indirectly through intervening media, or they may be interconnected between two elements. The specific meaning of the above terms in the present invention can be understood in specific cases to those skilled in the art.
Referring to fig. 1-2, the present invention provides an embodiment: a temperature control device for injection mold production comprises a device main body 1, a mold main body 3 is embedded on the inner wall of the top of the device main body 1, the material of the mold main body 3 is hard alloy with thermal stability and is groove-shaped, thermoplastic material is injected into the mold main body 3, a water inlet 4 is arranged at the central position of the outer wall of one side of the mold main body 3, a water outlet 6 is arranged at the central position of the outer wall of one side of the mold main body 3 opposite to the water inlet 4, a cooling liquid tank 10 is fixedly connected to the inner wall of one side of the bottom of the device main body 1, a water pump 12 is arranged on the outer wall of one side of the top of the cooling liquid tank 10, a water inlet pipe 2 is arranged at the top of the water pump 12, the top end of the water inlet pipe 2 is fixedly connected with the water inlet 4, a water outlet pipe 7 is arranged, 4 bottoms of water inlet are provided with a condenser tube 14, condenser tube 14 is at mould main part 3 inside fixed connection all around and nine condenser tubes 14's one end and 6 fixed connection of delivery port, open water pump 12 and make the coolant liquid of water pump 12 in with coolant liquid tank 10 take out to inlet tube 2 in, inlet tube 2 carries the coolant liquid in the water inlet 4, disperse by nine condenser tubes 14 again, cool down around mould main part 3, collect again by delivery port 6 and get back to in coolant liquid tank 10 through outlet pipe 7, shaping speed accelerates, fixedly connected with hydraulic pump 9 on the 1 bottom intermediate position inner wall of device main part.
The output end of the hydraulic pump 9 is fixedly connected with a hydraulic rod 5, the top end of the hydraulic rod 5 penetrates through the die main body 3 and slides on the inner wall of the bottom of the die main body 3, after cooling is completed, the hydraulic pump 9 acts to drive the hydraulic rod 5 to produce upwards, the top end of the hydraulic rod 5 jacks upwards to demold the die, the demolding is more convenient, a controller 8 is fixedly connected on the inner wall of one side of the bottom of the device main body 1, which is opposite to the cooling liquid tank 10, a temperature sensor 11 is arranged on the inner wall of the middle position of the bottom of the cooling liquid tank 10, refrigerators 13 are arranged on the outer walls of two sides of the cooling liquid tank 10, the temperature sensor 11 can detect the temperature of the cooling liquid in the cooling liquid tank 10, when the temperature is too high, the controller 8 opens the refrigerator 13 to cool the cooling liquid, the refrigerator 13 is closed after the temperature, the cooling water pipes 14 are uniformly distributed inside the periphery of the die main body 3, and the water inlet pipe 2 and the water outlet pipe 7 are made of high-temperature-resistant water pipes.
The working principle is as follows: in moulding plastics mould main part 3 with thermoplastic material, open water pump 12 simultaneously and make water pump 12 take out the coolant liquid in coolant liquid case 10 to inlet tube 2, inlet tube 2 carries the coolant liquid in water inlet 4, disperse by nine condenser tubes 14 again, cool down around mould main part 3, collect by delivery port 6 again and get back to in coolant liquid case 10 through outlet pipe 7, shaping speed with higher speed, 9 actions of hydraulic pump drive hydraulic stem 5 upward production after the cooling is accomplished, 5 tops of hydraulic stem upwards jack-up drawing of patterns, the temperature of coolant liquid in 11 detectable coolant liquid case 10 of temperature sensor, controller 8 opens refrigerator 13 when the temperature is too high and cools down the coolant liquid, fall into specified temperature after refrigerator 13 closes, water pump 12 continues to take out liquid cycle cooling.
Finally, it should be noted that: although the present invention has been described in detail with reference to the foregoing embodiments, it will be apparent to those skilled in the art that modifications and variations can be made in the embodiments or in part of the technical features of the embodiments without departing from the spirit and the scope of the invention.

Claims (7)

1. The utility model provides a temperature control device is used in injection mold production, includes device main part (1), its characterized in that: the device is characterized in that a mold body (3) is inlaid on the inner wall of the top of the device body (1), the mold body (3) is made of hard alloy with thermal stability and is groove-shaped, a water inlet (4) penetrates through and is arranged at the center of one side outer wall of the mold body (3), a water outlet (6) penetrates through and is arranged at the center of one side outer wall of the mold body (3) opposite to the water inlet (4), a cooling liquid tank (10) is fixedly connected onto the inner wall of one side of the bottom of the device body (1), a water pump (12) is arranged on the outer wall of one side of the top of the cooling liquid tank (10), a water inlet pipe (2) is arranged at the top of the water pump (12), the top end of the water inlet pipe (2) is fixedly connected with the water inlet (4), a water outlet pipe (7) penetrates through and is fixedly connected onto, the water inlet (4) left and right sides respectively is provided with four condenser tube (14), water inlet (4) bottom is provided with a condenser tube (14), condenser tube (14) are inside fixed connection and the one end and delivery port (6) fixed connection of nine condenser tubes (14) all around in mould main part (3), fixedly connected with hydraulic pump (9) on device main part (1) bottom intermediate position inner wall.
2. The temperature control device for injection mold production according to claim 1, characterized in that: the output end of the hydraulic pump (9) is fixedly connected with a hydraulic rod (5) and the top end of the hydraulic rod (5) penetrates through the die main body (3) and slides on the inner wall of the bottom of the die main body (3).
3. The temperature control device for injection mold production according to claim 1, characterized in that: the device is characterized in that a controller (8) is fixedly connected to the inner wall of one side of the bottom of the device main body (1) opposite to the cooling liquid tank (10).
4. The temperature control device for injection mold production according to claim 1, characterized in that: and a temperature sensor (11) is arranged on the inner wall of the middle position of the bottom of the cooling liquid tank (10).
5. The temperature control device for injection mold production according to claim 1, characterized in that: and the outer walls of two sides of the cooling liquid tank (10) are provided with a refrigerator (13).
6. The temperature control device for injection mold production according to claim 1, characterized in that: the cooling water pipes (14) are uniformly distributed inside the periphery of the die main body (3).
7. The temperature control device for injection mold production according to claim 1, characterized in that: the water inlet pipe (2) and the water outlet pipe (7) are made of high-temperature-resistant water pipes.
CN202021834789.8U 2020-08-28 2020-08-28 Temperature control device for injection mold production Expired - Fee Related CN213472018U (en)

Priority Applications (1)

Application Number Priority Date Filing Date Title
CN202021834789.8U CN213472018U (en) 2020-08-28 2020-08-28 Temperature control device for injection mold production

Applications Claiming Priority (1)

Application Number Priority Date Filing Date Title
CN202021834789.8U CN213472018U (en) 2020-08-28 2020-08-28 Temperature control device for injection mold production

Publications (1)

Publication Number Publication Date
CN213472018U true CN213472018U (en) 2021-06-18

Family

ID=76416440

Family Applications (1)

Application Number Title Priority Date Filing Date
CN202021834789.8U Expired - Fee Related CN213472018U (en) 2020-08-28 2020-08-28 Temperature control device for injection mold production

Country Status (1)

Country Link
CN (1) CN213472018U (en)

Cited By (2)

* Cited by examiner, † Cited by third party
Publication number Priority date Publication date Assignee Title
CN114309537A (en) * 2021-12-31 2022-04-12 厦门弘骏精密模具有限公司 Die casting die temperature regulation apparatus
CN114939973A (en) * 2021-06-28 2022-08-26 上海跃均精密模具有限公司 Plastic part mold with efficient cooling function

Cited By (3)

* Cited by examiner, † Cited by third party
Publication number Priority date Publication date Assignee Title
CN114939973A (en) * 2021-06-28 2022-08-26 上海跃均精密模具有限公司 Plastic part mold with efficient cooling function
CN114939973B (en) * 2021-06-28 2024-06-04 上海跃均精密模具有限公司 Plastic part mold with efficient cooling function
CN114309537A (en) * 2021-12-31 2022-04-12 厦门弘骏精密模具有限公司 Die casting die temperature regulation apparatus

Similar Documents

Publication Publication Date Title
CN213472018U (en) Temperature control device for injection mold production
CN213198676U (en) Take cooling device's injection mold
CN206983170U (en) A kind of injection mold with refrigerating function
CN217729510U (en) Injection mold with quick cooling function
CN114179287A (en) Quick setting device after injection molding machine product production finishes
CN217834552U (en) Injection mold with automatic demolding structure
CN218749031U (en) Injection mold
CN218196660U (en) Injection mold convenient to open and close mold
CN215703726U (en) Plastic pipe bending die
CN213733248U (en) Time-saving plastic injection mold
CN213675300U (en) Plastic molding machine for air conditioner heat-insulating pipe
CN220129404U (en) Pipe injection mold
CN218399253U (en) Injection mold with cooling function
CN210308772U (en) Injection mold with cooling function
CN222407001U (en) A door absorber hot runner injection mold
CN223720109U (en) Medical injection drip injection mold
CN219114725U (en) Plastic product forming die convenient to splice
CN221819420U (en) A washing machine base mold
CN218576875U (en) Mold with cold runner
CN219583460U (en) Novel ejection device of plastic injection mold
CN220129346U (en) Injection mold convenient to installation
CN214645408U (en) Injection mold is used in handlebar hand production
CN218985655U (en) But rapid cooling's rubber processing is with cooling forming device
CN214726069U (en) Automobile storage box production mold
CN215703662U (en) Fan impeller mould that many mouths were moulded plastics

Legal Events

Date Code Title Description
GR01 Patent grant
GR01 Patent grant
CF01 Termination of patent right due to non-payment of annual fee

Granted publication date: 20210618

CF01 Termination of patent right due to non-payment of annual fee