CN213445449U - Cloth pulling device for clothing production line - Google Patents

Cloth pulling device for clothing production line Download PDF

Info

Publication number
CN213445449U
CN213445449U CN202021767735.4U CN202021767735U CN213445449U CN 213445449 U CN213445449 U CN 213445449U CN 202021767735 U CN202021767735 U CN 202021767735U CN 213445449 U CN213445449 U CN 213445449U
Authority
CN
China
Prior art keywords
cloth
fixedly installed
support rod
production line
roller
Prior art date
Legal status (The legal status is an assumption and is not a legal conclusion. Google has not performed a legal analysis and makes no representation as to the accuracy of the status listed.)
Active
Application number
CN202021767735.4U
Other languages
Chinese (zh)
Inventor
高嘉亮
刘圆圆
Current Assignee (The listed assignees may be inaccurate. Google has not performed a legal analysis and makes no representation or warranty as to the accuracy of the list.)
Zhongshan Yuyue Clothing Co ltd
Original Assignee
Zhongshan Yuyue Clothing Co ltd
Priority date (The priority date is an assumption and is not a legal conclusion. Google has not performed a legal analysis and makes no representation as to the accuracy of the date listed.)
Filing date
Publication date
Application filed by Zhongshan Yuyue Clothing Co ltd filed Critical Zhongshan Yuyue Clothing Co ltd
Priority to CN202021767735.4U priority Critical patent/CN213445449U/en
Application granted granted Critical
Publication of CN213445449U publication Critical patent/CN213445449U/en
Active legal-status Critical Current
Anticipated expiration legal-status Critical

Links

Images

Landscapes

  • Treatment Of Fiber Materials (AREA)

Abstract

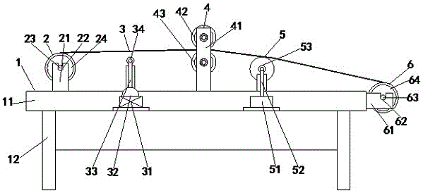
本实用新型公开了一种服装生产线用的拉布装置,包括拉布装置本体、布料安装架、布料加热装置、布料拉直装置、布料干燥装置及布料收卷装置,拉布装置本体中部固定安装有工作台,压平支撑杆顶部转动连接有上压辊,压平支撑杆底部转动连接有下压辊,工作台右侧固定安装有布料收卷装置,布料收卷装置左侧转动连接有驱动电机,驱动电机的输出端套接有传动皮带,传动皮带远离驱动电机的一端内侧套接有收卷滚筒,布料收卷装置中部固定安装有支撑块,支撑块顶部固定开设有卡槽,卡槽内侧壁卡接有收卷滚筒,所收卷滚筒外围插接有第二布筒。该服装生产线用的拉布装置通过设置避免了布料出现褶皱影响服装制作,降低了劳动强度,提高了工作效率。

Figure 202021767735

The utility model discloses a cloth pulling device for a garment production line, which comprises a cloth pulling device body, a cloth mounting frame, a cloth heating device, a cloth straightening device, a cloth drying device and a cloth winding device. The middle part of the cloth pulling device body is fixedly installed There is a worktable, the top of the flattening support rod is rotatably connected with an upper pressure roller, and the bottom of the flattening support rod is rotatably connected with a lower pressure roller. The motor, the output end of the driving motor is sleeved with a transmission belt, the inner side of the end of the transmission belt away from the driving motor is sleeved with a winding drum, a support block is fixedly installed in the middle of the cloth winding device, and a card slot is fixed on the top of the support block. The inner side wall is clamped with a rewinding drum, and the periphery of the rewinding drum is inserted with a second cloth drum. The cloth pulling device used in the clothing production line is arranged to avoid the wrinkling of the cloth to affect the clothing production, reduce the labor intensity and improve the working efficiency.

Figure 202021767735

Description

Cloth pulling device for clothing production line
Technical Field
The utility model relates to a granny rag device technical field specifically is a granny rag device that clothing production line was used.
Background
With the rapid industrial development, the garment manufacturing industry gradually develops from the traditional manpower intensive type to the industrial and automatic direction, in the process, some large-scale automatic machines and equipment are widely applied, and as common automatic equipment, a cloth spreading machine is a machine for processing cloth appearing in the early 90 th century so as to convey rolled flexible cloth and facilitate the use of subsequent cutting work.
However, the prior cloth spreading machine is not smooth enough, wrinkles often appear, and the cloth spreading machine is not automatic enough, so that the working efficiency is low, therefore, the cloth spreading device for the clothing production line needs to be provided urgently at the present stage, the labor intensity can be reduced, and the work efficiency is improved.
Disclosure of Invention
An object of the utility model is to provide a granny rag device that clothing production line was used to solve the problem that proposes among the above-mentioned background art.
In order to achieve the above object, the utility model provides a following technical scheme: a cloth spreading device for a clothing production line comprises a cloth spreading device body, a cloth mounting rack, a cloth heating device, a cloth straightening device, a cloth drying device and a cloth rolling device, wherein the middle part of the cloth spreading device body is fixedly provided with a workbench, the bottom of the cloth spreading device body is fixedly provided with a supporting leg, the supporting leg is fixedly arranged at the bottom of the workbench, the left side of the top of the workbench is fixedly provided with a cloth mounting rack, the bottom of the cloth mounting rack is fixedly provided with a cloth barrel supporting rod, the cloth mounting rack is fixedly arranged at the top of the workbench through the cloth barrel supporting rod, the top of the cloth barrel supporting rod is fixedly provided with a connecting groove, the inner side wall of the connecting groove is clamped with a cloth roller, the periphery of the cloth roller is spliced with a cloth barrel, the middle position of the top of the workbench, the top of the heater is fixedly connected with a connecting pipe, the top of the back of the connecting pipe is fixedly connected with an air injection pipe, the middle position of the top of the workbench is fixedly provided with a cloth straightening device, the bottom of the cloth straightening device is fixedly provided with a flattening support rod, the top of the flattening support rod is rotatably connected with an upper compression roller, the bottom of the flattening support rod is rotatably connected with a lower compression roller, the right end of the top of the workbench is fixedly provided with a cloth drying device, the bottom of the cloth drying device is fixedly provided with a fan, the top of the fan is fixedly connected with a ventilation pipe, the top of the back of the ventilation pipe is fixedly connected with a ventilation plate, the right side of the workbench is fixedly provided with a cloth rolling device, the left side of the cloth rolling device is, the supporting shoe top is fixed and is seted up the draw-in groove, and the draw-in groove inside wall joint has the rolling cylinder, and the rolling cylinder periphery is pegged graft and is had the second cloth section of thick bamboo.
Preferably, the cloth heating device, the cloth straightening device and the cloth drying device are all fixedly installed at the top of the workbench, and the cloth heating device, the cloth straightening device and the cloth drying device are sequentially arranged from left to right along the same horizontal line.
Preferably, go up the compression roller and rotate to be connected at the bracing piece top that flattens, the compression roller rotates to be connected in the bracing piece bottom that flattens down, and goes up the compression roller and be located directly over the compression roller down, and both flatten the bracing piece and level setting from top to bottom.
Preferably, the weight of the upper pressing roller is larger than that of the lower pressing roller, a gap is reserved between the upper pressing roller and the lower pressing roller, and the height of the gap is matched with the thickness of the cloth.
Preferably, the gas ejector pipe is fixedly connected to the top of the back of the connecting pipe, and a plurality of groups of matched through holes are formed in the surface of the top of the gas ejector pipe.
Compared with the prior art, the utility model discloses possess following beneficial effect: this granny rag device that clothing production line was used often appears the fold for solving current granny rag device and not leveling, leads to work efficiency low, the user demand's that can not satisfy problem, this granny rag device that clothing production line was used is through setting up compression roller and the cooperation of lower compression roller on using, goes up the compression roller dead weight and extrudees the cloth, presses the cloth to level, has avoided the cloth fold to appear and has influenced the clothing preparation, has reduced intensity of labour, has improved work efficiency.
Drawings
FIG. 1 is a schematic front view of the present invention;
FIG. 2 is a schematic view of the back structure of the present invention;
fig. 3 is a schematic side view of the gas lance of the present invention.
In the figure: 1 spreading device body, 11 workstations, 12 supporting legs, 2 cloth mounting racks, 21 cloth section of thick bamboo bracing pieces, 22 connecting grooves, 23 cloth rollers, 24 cloth sections of thick bamboo, 3 cloth heating device, 31 storage water tank, 32 heater, 33 connecting pipes, 34 jet pipes, 4 cloth straightening devices, 41 flattening bracing pieces, 42 upper compression roller, 43 lower compression roller, 5 cloth drying device, 51 fan, 52 ventilation pipe, 53 ventilation board, 6 cloth rolling device, 61 supporting block, 62 draw-in groove, 63 rolling roller, 64 second cloth sections of thick bamboo, 7 driving motor, 71 driving belt.
Detailed Description
The technical solutions in the embodiments of the present invention will be described clearly and completely with reference to the accompanying drawings in the embodiments of the present invention, and it is obvious that the described embodiments are only some embodiments of the present invention, not all embodiments. Based on the embodiments in the present invention, all other embodiments obtained by a person skilled in the art without creative work belong to the protection scope of the present invention.
Referring to fig. 1-3, the present invention provides a technical solution: a cloth spreading device for a clothing production line comprises a cloth spreading device body 1, a cloth mounting frame 2, a cloth heating device 3, a cloth straightening device 4, a cloth drying device 5 and a cloth rolling device 6, wherein a workbench 11 is fixedly arranged in the middle of the cloth spreading device body 1, a supporting leg 12 is fixedly arranged at the bottom of the cloth spreading device body 1, the supporting leg 12 is fixedly arranged at the bottom of the workbench 11, a cloth mounting frame 2 is fixedly arranged at the left side of the top of the workbench 11, a cloth cylinder supporting rod 21 is fixedly arranged at the bottom of the cloth mounting frame 2, the cloth mounting frame 2 is fixedly arranged at the top of the workbench 11 through the cloth cylinder supporting rod 21, a connecting groove 22 is fixedly arranged at the top end of the cloth cylinder supporting rod 21, a cloth roller 23 is clamped on the inner side wall of the connecting groove 22, a cloth cylinder 24 is spliced on the periphery of the cloth roller 23, the cloth heating device 3, the back of the water storage tank 31 is fixedly connected with a heater 32, the top of the heater 32 is fixedly connected with a connecting pipe 33, the top of the back of the connecting pipe 33 is fixedly connected with an air injection pipe 34, the air injection pipe 34 is fixedly connected with the top of the back of the connecting pipe 33, the top surface of the top of the air injection pipe 34 is provided with a plurality of groups of adaptive through holes, a cloth straightening device 4 is fixedly installed at the middle position of the top of the workbench 11, a flattening support rod 41 is fixedly installed at the bottom of the cloth straightening device 4, the top of the flattening support rod 41 is rotatably connected with an upper compression roller 42, the bottom of the flattening support rod 41 is rotatably connected with a lower compression roller 43, the weight of the upper compression roller 42 is larger than that of the lower compression roller 43, a gap is left between the upper compression roller 42 and the lower compression roller 43, the height of the gap is, the two flattening support rods 41 are arranged horizontally up and down, the right end of the top of the workbench 11 is fixedly provided with a cloth drying device 5, the cloth heating device 3, the cloth straightening device 4 and the cloth drying device 5 are all fixedly arranged at the top of the workbench 11, the cloth heating device 3, the cloth straightening device 4 and the cloth drying device 5 are sequentially arranged along the same horizontal line from left to right, the bottom of the cloth drying device 5 is fixedly provided with a fan 51, the top of the fan 51 is fixedly connected with a ventilation pipe 52, the top of the back of the ventilation pipe 52 is fixedly connected with a ventilation plate 53, the right side of the workbench 11 is fixedly provided with a cloth rolling device 6, the left side of the cloth rolling device 6 is rotatably connected with a driving motor 7, the output end of the driving motor 7 is sleeved with a driving belt 71, the inner side of one end of the driving belt 71, the top of the supporting block 61 is fixedly provided with a clamping groove 62, the inner side wall of the clamping groove 62 is clamped with a winding roller 63, and the periphery of the winding roller 63 is inserted with a second cloth cylinder 64.
The working principle is as follows: this granny rag device that clothing production line was used, in use, through setting up cloth mounting bracket 2, cup joint cloth section of thick bamboo 21 in cloth roller 23 periphery earlier, through setting up cloth heating device 3, heat into the steam state through setting up the water of heater 32 in with storage water tank 31, spout vapor dispersion through setting up jet-propelled pipe 34, flatten the cloth after will heating through last compression roller 42 and bottom roller 43 through setting up cloth leveling device 4, air-dry after passing through cloth drying device 5 through the cloth after flattening, at last carry out the rolling through the cloth coiling mechanism.
Although embodiments of the present invention have been shown and described, it will be appreciated by those skilled in the art that changes, modifications, substitutions and alterations can be made in these embodiments without departing from the principles and spirit of the invention, the scope of which is defined in the appended claims and their equivalents.

Claims (5)

1.一种服装生产线用的拉布装置,包括拉布装置本体(1)、布料安装架(2)、布料加热装置(3)、布料拉直装置(4)、布料干燥装置(5)及布料收卷装置(6),其特征在于:所述拉布装置本体(1)中部固定安装有工作台(11),所述拉布装置本体(1)底部固定安装有支撑腿(12),所述支撑腿(12)固定安装在工作台(11)底部,所述工作台(11)顶部左侧固定安装有布料安装架(2)所述布料安装架(2)底部固定安装有布筒支撑杆(21),所述布料安装架(2)通过布筒支撑杆(21)固定安装在工作台(11)的顶部,所述布筒支撑杆(21)顶端固定开设有连接槽(22),所述连接槽(22)内侧壁卡接有布料辊筒(23),所述布料辊筒(23)外围插接有布筒(24),所述工作台(11)顶部中间位置固定安装有布料加热装置(3),所述布料加热装置(3)底部固定安装有储水箱(31),所述储水箱(31)背面固定连接有加热器(32),所述加热器(32)顶部固定连接有连接管(33),所述连接管(33)背面顶部固定连接有喷气管(34),所述工作台(11)顶部中间位置固定安装有布料拉直装置(4),所述布料拉直装置(4)底部固定安装有压平支撑杆(41),所述压平支撑杆(41)顶部转动连接有上压辊(42),所述压平支撑杆(41)底部转动连接有下压辊(43),所述工作台(11)顶部右端固定设置有布料干燥装置(5),所述布料干燥装置(5)底部固定设置有风机(51),所述风机(51)顶部固定连接有通风管(52),所述通风管(52)背面顶部固定连接有通风板(53),所述工作台(11)右侧固定安装有布料收卷装置(6),所述布料收卷装置(6)左侧转动连接有驱动电机(7),所述驱动电机(7)的输出端套接有传动皮带(71),所述传动皮带(71)远离驱动电机的一端内侧套接有收卷滚筒(63),所述布料收卷装置(6)中部固定安装有支撑块(61),所述支撑块(61)顶部固定开设有卡槽(62),所述卡槽(62)内侧壁卡接有收卷滚筒(63),所收卷滚筒(63)外围插接有第二布筒(64)。1. A cloth stretching device for a garment production line, comprising a cloth stretching device body (1), a cloth mounting frame (2), a cloth heating device (3), a cloth straightening device (4), a cloth drying device (5) and The cloth winding device (6) is characterized in that a worktable (11) is fixedly installed in the middle of the cloth pulling device body (1), and a support leg (12) is fixedly installed at the bottom of the cloth pulling device body (1). The support legs (12) are fixedly installed at the bottom of the workbench (11), and a cloth mounting frame (2) is fixedly installed on the top left of the workbench (11), and a cloth drum is fixedly installed at the bottom of the cloth installation frame (2). A support rod (21), the cloth mounting frame (2) is fixedly installed on the top of the workbench (11) through a cloth cylinder support rod (21), and a connection groove (22) is fixedly opened at the top of the cloth cylinder support rod (21). ), the inner side wall of the connecting groove (22) is clamped with a cloth roller (23), the outer periphery of the cloth roller (23) is inserted with a cloth cylinder (24), and the middle position of the top of the table (11) is fixed A cloth heating device (3) is installed, a water storage tank (31) is fixedly installed at the bottom of the cloth heating device (3), a heater (32) is fixedly connected to the back of the water storage tank (31), and the heater (32) ) a connecting pipe (33) is fixedly connected to the top, a jet pipe (34) is fixedly connected to the top of the back of the connecting pipe (33), and a cloth straightening device (4) is fixedly installed in the middle of the top of the worktable (11). A flattening support rod (41) is fixedly installed at the bottom of the cloth straightening device (4), an upper pressing roller (42) is rotatably connected to the top of the flattening support rod (41), and the flattening support rod (41) A lower pressing roller (43) is rotatably connected to the bottom, a cloth drying device (5) is fixedly arranged at the top right end of the worktable (11), and a fan (51) is fixedly arranged at the bottom of the cloth drying device (5). (51) A ventilation pipe (52) is fixedly connected to the top, a ventilation plate (53) is fixedly connected to the top of the back of the ventilation pipe (52), and a cloth winding device (6) is fixedly installed on the right side of the worktable (11). The left side of the cloth winding device (6) is rotatably connected with a drive motor (7), the output end of the drive motor (7) is sleeved with a drive belt (71), and the drive belt (71) is far away from the drive motor A winding drum (63) is sleeved on the inner side of one end of the cloth winding device (6), a support block (61) is fixedly installed in the middle of the cloth winding device (6), and a card slot (62) is fixedly opened on the top of the support block (61), so A winding drum (63) is clamped on the inner side wall of the card slot (62), and a second cloth drum (64) is inserted and connected to the periphery of the winding drum (63). 2.根据权利要求1所述的一种服装生产线用的拉布装置,其特征在于:所述布料加热装置(3)、布料拉直装置(4)及布料干燥装置(5)均固定安装在工作台(11)顶部且布料加热装置(3)、布料拉直装置(4)及布料干燥装置(5)三者沿着同一水平线从左到右依次设置。2. A cloth stretching device for a garment production line according to claim 1, characterized in that: the cloth heating device (3), the cloth straightening device (4) and the cloth drying device (5) are all fixedly installed in On the top of the worktable (11), the fabric heating device (3), the fabric straightening device (4) and the fabric drying device (5) are arranged in sequence from left to right along the same horizontal line. 3.根据权利要求1所述的一种服装生产线用的拉布装置,其特征在于:所述上压辊(42)转动连接在压平支撑杆(41)顶部,所述下压辊(43)转动连接在压平支撑杆(41)底部,且上压辊(42)位于下压辊(43)正上方,两者压平支撑杆(41)上下水平设置。3. A cloth pulling device for a garment production line according to claim 1, characterized in that: the upper pressing roller (42) is rotatably connected to the top of the flattening support rod (41), and the lower pressing roller (43) ) is rotatably connected to the bottom of the flattening support rod (41), and the upper pressing roller (42) is located just above the lower pressing roller (43), and the two flattening support rods (41) are arranged horizontally up and down. 4.根据权利要求1所述的一种服装生产线用的拉布装置,其特征在于:所述上压辊(42)的重量大于下压辊(43)的重量,且上压辊(42)与下压辊(43)之间留有缝隙,缝隙高度与布料厚度大小适配。4. A cloth spreading device for a garment production line according to claim 1, characterized in that: the weight of the upper pressure roller (42) is greater than the weight of the lower pressure roller (43), and the upper pressure roller (42) There is a gap between it and the lower pressing roller (43), and the height of the gap is suitable for the thickness of the fabric. 5.根据权利要求1所述的一种服装生产线用的拉布装置,其特征在于:所述喷气管(34)固定连接在连接管(33)背面顶部,且喷气管(34)顶部表面设置有多组适配的通孔。5. A cloth spreading device for a garment production line according to claim 1, characterized in that: the jet pipe (34) is fixedly connected to the top of the back of the connecting pipe (33), and the top surface of the jet pipe (34) is provided with There are multiple sets of matching through holes.
CN202021767735.4U 2020-08-22 2020-08-22 Cloth pulling device for clothing production line Active CN213445449U (en)

Priority Applications (1)

Application Number Priority Date Filing Date Title
CN202021767735.4U CN213445449U (en) 2020-08-22 2020-08-22 Cloth pulling device for clothing production line

Applications Claiming Priority (1)

Application Number Priority Date Filing Date Title
CN202021767735.4U CN213445449U (en) 2020-08-22 2020-08-22 Cloth pulling device for clothing production line

Publications (1)

Publication Number Publication Date
CN213445449U true CN213445449U (en) 2021-06-15

Family

ID=76315229

Family Applications (1)

Application Number Title Priority Date Filing Date
CN202021767735.4U Active CN213445449U (en) 2020-08-22 2020-08-22 Cloth pulling device for clothing production line

Country Status (1)

Country Link
CN (1) CN213445449U (en)

Cited By (2)

* Cited by examiner, † Cited by third party
Publication number Priority date Publication date Assignee Title
CN113564908A (en) * 2021-08-17 2021-10-29 上海脉纯服饰有限公司 Cloth blocking device for cutting bed
CN114527063A (en) * 2022-02-14 2022-05-24 江苏欣鑫纺织科技有限公司 Fabric desizing control system for intelligent spinning

Cited By (3)

* Cited by examiner, † Cited by third party
Publication number Priority date Publication date Assignee Title
CN113564908A (en) * 2021-08-17 2021-10-29 上海脉纯服饰有限公司 Cloth blocking device for cutting bed
CN114527063A (en) * 2022-02-14 2022-05-24 江苏欣鑫纺织科技有限公司 Fabric desizing control system for intelligent spinning
CN114527063B (en) * 2022-02-14 2023-10-24 江苏欣鑫纺织科技有限公司 Fabric desizing control system for intelligent spinning

Similar Documents

Publication Publication Date Title
CN213445449U (en) Cloth pulling device for clothing production line
CN216639990U (en) Non-woven fabric production's ejection of compact ironing device
CN212404504U (en) Production facility is used in fabrics drying process
CN214168442U (en) Terylene cloth weaving is with removing wrinkle machinery
CN208038806U (en) A kind of textile cloth stamp pressuring flat device
CN114250568A (en) Rapid fabric ironing device for garment production
CN211340075U (en) Weaving cloth leveling device
CN217351914U (en) Cloth cutting and conveying device applicable to textile processing of cloth with different thicknesses
CN213925395U (en) Cloth fixing device is used in dress preparation
CN210561214U (en) Polyester staple fiber production device for anti-hair-falling clothes
CN210946129U (en) Quick ironing device of textile fabric
CN212560786U (en) A textile fabric ironing device
CN215976474U (en) A kind of cloth wrinkle removal equipment for jacket production
CN223738323U (en) A pressure-adjustable clamping device for garment processing
CN222847064U (en) A clothing ironing machine capable of preventing wrinkles
CN222975493U (en) Conveying device for production and processing of non-woven fabric products
CN222796033U (en) An ironing table for clothing processing
CN220977427U (en) A clothing flattening machine for clothing production
CN220977429U (en) Clothing surface fabric flattening device
CN216998983U (en) Ironing equipment with clamping mechanism for school uniform production
CN221094565U (en) Tentering setting device for producing wind coat fabric
CN223963695U (en) A rapid fabric dyeing and finishing device
CN222275040U (en) Automatic ironing machine for clothes
CN219690134U (en) Leveling device for clothing processing
CN214469902U (en) Drying device is used in home textile production

Legal Events

Date Code Title Description
GR01 Patent grant
GR01 Patent grant