CN213425107U - Shock-resistant high temperature resistant lead acid battery case - Google Patents

Shock-resistant high temperature resistant lead acid battery case Download PDF

Info

Publication number
CN213425107U
CN213425107U CN202022494875.5U CN202022494875U CN213425107U CN 213425107 U CN213425107 U CN 213425107U CN 202022494875 U CN202022494875 U CN 202022494875U CN 213425107 U CN213425107 U CN 213425107U
Authority
CN
China
Prior art keywords
shell
fixedly connected
battery
acid battery
high temperature
Prior art date
Legal status (The legal status is an assumption and is not a legal conclusion. Google has not performed a legal analysis and makes no representation as to the accuracy of the status listed.)
Expired - Fee Related
Application number
CN202022494875.5U
Other languages
Chinese (zh)
Inventor
汪国兵
Current Assignee (The listed assignees may be inaccurate. Google has not performed a legal analysis and makes no representation or warranty as to the accuracy of the list.)
Guangzhou Yingyeda New Energy Co ltd
Original Assignee
Guangzhou Yingyeda New Energy Co ltd
Priority date (The priority date is an assumption and is not a legal conclusion. Google has not performed a legal analysis and makes no representation as to the accuracy of the date listed.)
Filing date
Publication date
Application filed by Guangzhou Yingyeda New Energy Co ltd filed Critical Guangzhou Yingyeda New Energy Co ltd
Priority to CN202022494875.5U priority Critical patent/CN213425107U/en
Application granted granted Critical
Publication of CN213425107U publication Critical patent/CN213425107U/en
Expired - Fee Related legal-status Critical Current
Anticipated expiration legal-status Critical

Links

Images

Classifications

    • YGENERAL TAGGING OF NEW TECHNOLOGICAL DEVELOPMENTS; GENERAL TAGGING OF CROSS-SECTIONAL TECHNOLOGIES SPANNING OVER SEVERAL SECTIONS OF THE IPC; TECHNICAL SUBJECTS COVERED BY FORMER USPC CROSS-REFERENCE ART COLLECTIONS [XRACs] AND DIGESTS
    • Y02TECHNOLOGIES OR APPLICATIONS FOR MITIGATION OR ADAPTATION AGAINST CLIMATE CHANGE
    • Y02EREDUCTION OF GREENHOUSE GAS [GHG] EMISSIONS, RELATED TO ENERGY GENERATION, TRANSMISSION OR DISTRIBUTION
    • Y02E60/00Enabling technologies; Technologies with a potential or indirect contribution to GHG emissions mitigation
    • Y02E60/10Energy storage using batteries

Landscapes

  • Secondary Cells (AREA)

Abstract

本实用新型提供一种抗震耐高温铅酸蓄电池外壳,属于铅酸蓄电池技术领域,该抗震耐高温铅酸蓄电池外壳包括内壳、阻尼弹簧和散热片,所述内壳的内壁固定连接有隔板,所述内壳的外表面固定连接有外壳,所述外壳下表面的两侧均固定连接有限位杆,所述外壳的下表面固定连接有阻尼弹簧。该抗震耐高温铅酸蓄电池外壳,通过外壳、缓冲散热棉、底壳、阻尼弹簧、限位杆和限位槽的设置,蓄电池使用过程中,外壳能够有效的保护蓄电池内部结构,避免在使用时受到挤压碰撞导致的损坏,有利于提高蓄电池使用的安全性,经过缓冲散热棉的缓冲作用,能够有效的减小蓄电池受到的冲击力,有利于提高防震性能,从而减少使用时的安全隐患。

Figure 202022494875

The utility model provides an anti-seismic and high-temperature lead-acid battery casing, belonging to the technical field of lead-acid batteries. The casing of the anti-vibration and high-temperature lead-acid battery comprises an inner casing, a damping spring and a heat sink, and the inner wall of the inner casing is fixedly connected with a partition plate The outer surface of the inner shell is fixedly connected with an outer shell, both sides of the lower surface of the outer shell are fixedly connected with limit rods, and the lower surface of the outer shell is fixedly connected with a damping spring. The shell of the shock-resistant and high-temperature lead-acid battery can effectively protect the internal structure of the battery during the use of the battery through the settings of the shell, the buffer heat dissipation cotton, the bottom shell, the damping spring, the limit rod and the limit slot to avoid the use of the battery. Damage caused by squeezing and collision is conducive to improving the safety of battery use. Through the buffering effect of buffer heat-dissipating cotton, the impact force on the battery can be effectively reduced, which is conducive to improving the shockproof performance, thereby reducing the potential safety hazard during use.

Figure 202022494875

Description

Shock-resistant high temperature resistant lead acid battery case
Technical Field
The utility model belongs to the technical field of lead acid battery, concretely relates to antidetonation high temperature resistant lead acid battery shell.
Background
Since prankian of francis invented specially for 1859 years, the lead-acid battery has undergone development history of nearly 150 years, and due to the excellent cost performance of the lead-acid battery, more than 90% of the batteries in domestic and foreign markets, besides the batteries matched with portable electronic products and the batteries matched with aerospace and high-end military, are used as the lead-acid batteries for electric vehicles, USP systems, telecommunication facilities, internal combustion locomotives, automobiles, power stations, transformer substations, emergency power supplies, energy storage power supplies for ships and non-electric area photopic projects, and the like, and the lead-acid battery plays an important role in various fields.
At present lead acid battery is when using, because external environment's complicacy is changeable, can not be stable place the battery, the vibrations that suffer in the use are strikeed great, can not effectually move away to avoid possible earthquakes, cause the battery to damage easily, the inner structure part is subject to extrusion deformation easily, thereby bring the potential safety hazard when using, and greatly reduced life, it is inconvenient to change the maintenance, use cost is higher, and traditional battery can not in time dispel the heat, long-time use under high temperature environment, cause the decline of battery storage electric quantity easily, seriously influence the electric power storage capacity, reduce the result of use, and when battery service temperature is higher, easily cause incident such as explosion, greatly reduced safety in utilization, traditional battery dismantles inconveniently, can not in time overhaul, it is inconvenient to use.
SUMMERY OF THE UTILITY MODEL
An object of the utility model is to provide a high temperature resistant lead acid battery case combats earthquake, aims at solving among the prior art poor fragile and the low inconvenient problem of maintenance of heat resistance of shock absorber performance.
In order to achieve the above object, the utility model provides a following technical scheme: an anti-seismic high-temperature-resistant lead-acid storage battery shell comprises an inner shell, a damping spring and radiating fins, wherein the inner wall of the inner shell is fixedly connected with a partition plate, the outer surface of the inner shell is fixedly connected with an outer shell, both sides of the lower surface of the outer shell are fixedly connected with limiting rods, the lower surface of the shell is fixedly connected with a damping spring, one end of the damping spring is fixedly connected with a bottom shell, both sides of the inner bottom wall of the bottom shell are fixedly connected with limiting grooves, the inner walls of the limiting grooves are movably connected with limiting rods, the upper surface of the inner shell is fixedly connected with a top plate, the upper surface of the top plate is fixedly connected with a binding post, one side of the upper surface of the top plate is in threaded connection with an exhaust pin, a sealing plate is clamped at the upper part between the inner shell and the outer shell, the upper surface of closing plate fixedly connected with top shell, the upper surface of top shell has been seted up and has been placed the hole, the inner wall swing joint who places the hole has the terminal.
In order to make this antidetonation high temperature resistant lead acid battery shell reach the effect that can in time dispel the heat and reduce impact vibrations, conduct the utility model relates to an it is preferred, it has the buffering heat dissipation cotton to fill between inner shell and the shell.
In order to make this antidetonation high temperature resistant lead acid battery case reach portable and the effect of installation use, conduct the utility model relates to an it is preferred, the equal fixedly connected with handle in both sides of shell surface.
In order to make this antidetonation high temperature resistant lead acid battery case reach the effect that improves radiating efficiency and convenient to detach maintenance, as the utility model relates to an it is preferred, the louvre has been seted up to the surface of shell, the surface fixed connection that the shell is close to the louvre has the dead lever, the surface joint of dead lever has places the board, the surface fixed connection who places the board has the fin.
In order to make this antidetonation high temperature resistant lead acid battery case reach the effect of easy access and convenient renewal part, conduct the utility model relates to an it is preferred, the equal fixedly connected with handrail in both sides of top shell upper surface.
In order to make this antidetonation high temperature resistant lead acid battery case reach the effect that can dispel the heat comprehensively and improve the electric power storage capacity, conduct the utility model relates to an it is preferred, the last fixed surface of top shell is connected with heat dissipation fence.
Compared with the prior art, the beneficial effects of the utility model are that:
1. the shock-resistant high-temperature-resistant lead-acid storage battery shell comprises a shell, buffering heat-dissipation cotton, a bottom shell, a damping spring, a limiting rod and a limiting groove, wherein the shell can effectively protect the internal structure of a storage battery during the use of the storage battery, avoid the damage caused by extrusion and collision during the use of the storage battery, and is favorable for improving the use safety of the storage battery, the impact force on the storage battery can be effectively reduced under the buffering action of the buffering heat-dissipation cotton, so that the shock resistance of the storage battery is improved, the potential safety hazard during the use is reduced, the service life of the storage battery is prolonged, when the storage battery is placed in an installation mode, a handle is held to move the storage battery, the limiting rod is stably clamped in the limiting groove after the bottom shell is contacted with the ground and is buffered by the damping spring, the impact shock of the storage battery is, the service life is prolonged, the use is more convenient, and the practicability is stronger.
2. The shock-resistant high-temperature-resistant lead-acid storage battery shell is characterized in that the placing plate is clamped on the fixing rod through the heat dissipation holes, the fixing rod, the placing plate, the heat dissipation fins, the buffering heat dissipation cotton, the top shell and the heat dissipation fence are arranged, in the using process of the storage battery, the heat generated by the storage battery can be quickly dissipated through the buffering heat dissipation cotton in time and can be quickly absorbed by the heat dissipation fins through the heat dissipation holes, so that the heat can be dissipated to the outside, the heat dissipation efficiency of the storage battery can be effectively improved, the potential safety hazard of the storage battery in use is reduced, the safe use of the storage battery in a high-temperature environment is favorably ensured, the top shell is clamped on the upper part of the shell when the storage battery is installed, the heat generated by the storage battery can be dissipated in time through the heat dissipation, the storage battery service condition can be overhauled in time, parts can be replaced conveniently, and the use is more convenient and efficient.
Drawings
The accompanying drawings are included to provide a further understanding of the invention, and are incorporated in and constitute a part of this specification, illustrate embodiments of the invention, and together with the description serve to explain the invention and not to limit the invention. In the drawings:
fig. 1 is a schematic front view of the present invention;
fig. 2 is a schematic sectional view of the present invention;
fig. 3 is a schematic diagram of an explosion structure in the present invention;
fig. 4 is a schematic diagram of the top cover structure of the present invention.
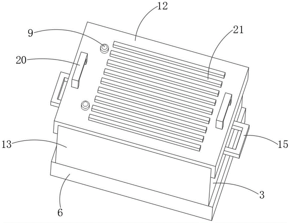
In the figure: 1. an inner shell; 2. a partition plate; 3. a housing; 4. a limiting rod; 5. a damping spring; 6. a bottom case; 7. a limiting groove; 8. a top plate; 9. a binding post; 10. an exhaust pin; 11. a sealing plate; 12. a top shell; 13. placing holes; 14. buffering heat dissipation cotton; 15. a handle; 16. heat dissipation holes; 17. fixing the rod; 18. placing the plate; 19. a heat sink; 20. a handrail; 21. heat dissipation fence.
Detailed Description
The technical solutions in the embodiments of the present invention will be described clearly and completely with reference to the accompanying drawings in the embodiments of the present invention, and it is obvious that the described embodiments are only some embodiments of the present invention, not all embodiments. Based on the embodiments in the present invention, all other embodiments obtained by a person skilled in the art without creative work belong to the protection scope of the present invention.
Examples
Referring to fig. 1-4, the present invention provides the following technical solutions: an anti-seismic high-temperature-resistant lead-acid storage battery shell comprises an inner shell 1, a damping spring 5 and radiating fins 19, wherein the inner wall of the inner shell 1 is fixedly connected with a partition plate 2, the outer surface of the inner shell 1 is fixedly connected with an outer shell 3, both sides of the lower surface of the outer shell 3 are fixedly connected with limiting rods 4, the lower surface of the outer shell 3 is fixedly connected with the damping spring 5, one end of the damping spring 5 is fixedly connected with a bottom shell 6, both sides of the inner bottom wall of the bottom shell 6 are fixedly connected with limiting grooves 7, the inner wall of each limiting groove 7 is movably connected with a limiting rod 4, the upper surface of the inner shell 1 is fixedly connected with a top plate 8, the upper surface of the top plate 8 is fixedly connected with a binding post 9, one side of the upper surface of the top plate 8 is in threaded connection with an exhaust pin 10, a sealing plate 11, the inner wall of the placing hole 13 is movably connected with a binding post 9.
In the embodiment of the utility model, in the using process of the storage battery, the storage battery is used separately through the arrangement of the inner shell 1 and the clapboard 2, the safe use of the internal structure is effectively protected, the storage capacity is favorably improved, the internal structure of the storage battery can be protected from being damaged through the arrangement of the outer shell 3, the influence caused by impact shock is reduced, the service life is favorably prolonged, through the arrangement of the limiting rod 4 and the limiting groove 7, when the storage battery is placed, the bottom shell 6 is contacted with the ground and is buffered by the damping spring 5, the limiting rod 4 is stably clamped in the limiting groove 7, the impact shock suffered by the storage battery is greatly reduced, the stability of the storage battery is effectively improved, the safe use of the storage battery in a complex environment is favorably, through the arrangement of the binding post 9, when the storage battery is installed, the top shell 12 is clamped on the outer shell 3, the binding post, can protect the power consumption safety of battery, the easy access is changed, it is more convenient to use, through the setting of exhaust round pin 10, the gas that the battery that can in time discharge produced, avoid charging the gas expansion who causes repeatedly, be favorable to improving life, it is safer to use, through the setting of closing plate 11 and top shell 12, the installation battery that can fasten, the leakproofness when guaranteeing the use, be favorable to improving the security of using, the potential safety hazard that significantly reduces, and it is more convenient to dismantle the change, and the practicality is stronger.
Specifically, a buffer heat dissipation cotton 14 is filled between the inner shell 1 and the outer shell 3.
In this embodiment: through the setting of buffering heat dissipation cotton 14, when using the battery, the heat that produces can be timely through the external world that the cotton 14 of buffering heat dissipation gived off, reduces the inside temperature of battery, guarantees the safe handling of battery, can effectually reduce the impact force moreover, avoids inside extrusion to damage, improves life.
Specifically, handles 15 are fixedly connected to both sides of the outer surface of the housing 3.
In this embodiment: through the setting of handle 15, portable handle 15 carries the removal battery, and it is more convenient to use, can guarantee placing of battery stable when installing moreover, is favorable to improving the security that the battery used.
Specifically, heat dissipation hole 16 has been seted up to the surface of shell 3, and the surface fixed connection that shell 3 is close to heat dissipation hole 16 has dead lever 17, and the surface joint of dead lever 17 has places board 18, places the surface fixed connection who board 18 and has fin 19.
In this embodiment: through louvre 16 and fin 19's setting, the heat that uses the battery to produce is absorbed by fin 19 through louvre 16 to give off to the external world, can effectual improvement battery radiating efficiency, thereby reduce the potential safety hazard that the battery used, will place 18 joints of board and fix on dead lever 17, can in time dismantle, the maintenance is changed more convenient high-efficient, and it is more convenient to use.
Specifically, handrails 20 are fixedly connected to both sides of the upper surface of the top case 12.
In this embodiment: through the setting of handrail 20, hold handrail 20 and take out top shell 12, can in time overhaul the battery part, it is more convenient to maintain and change.
Specifically, a heat dissipation fence 21 is fixedly connected to the upper surface of the top case 12.
In this embodiment: through the setting of heat dissipation fence 21, the heat that the battery produced can in time give off through heat dissipation fence 21, and the heat dissipation is more comprehensive, is favorable to improving the radiating efficiency, can improve the electric power storage capacity of battery, is favorable to increase of service life.
The electrical components presented in the document are all electrically connected with an external master controller and 220V mains, and the master controller can be a conventional known device controlled by a computer or the like.
The utility model discloses a theory of operation and use flow: when the anti-seismic high-temperature-resistant lead-acid storage battery shell is used, the shell 3 can effectively protect the internal structure of a storage battery, avoid the damage caused by extrusion collision during use, and is favorable for improving the use safety of the storage battery, when vibration collision occurs, the impact force on the storage battery can be effectively reduced through the buffer action of the buffer heat-dissipation cotton 14, and the anti-seismic performance is favorably improved, so that the potential safety hazard during use is reduced, the service life is prolonged, when the storage battery is installed and placed, the storage battery is movably placed by holding the handle 15, the bottom shell 6 is stably clamped in the limiting groove 7 after contacting the ground through the buffer of the damping spring 5, the impact shock suffered by the storage battery is greatly reduced, the stability of the storage battery is effectively improved, the safe use of the storage battery in a complex environment is facilitated, the service life is prolonged, and the use, the practicality is stronger, will place 18 chunkings of board on dead lever 17, the heat that the battery produced can be fast timely gived off through buffering heat dissipation cotton 14, 16 can be quick absorbed by fin 19 through the louvre, thereby it is external to give off, can effectual improvement battery radiating efficiency, thereby reduce the potential safety hazard that the battery used, be favorable to ensureing the safe use of battery under high temperature environment, portable handrail 20 can in time give off top shell 12 chucking on the upper portion of shell 3, the heat that the battery produced is through heat dissipation fence 21, the heat dissipation is more comprehensive, be favorable to improving the radiating efficiency, can improve the electric power storage capacity of battery, be favorable to increase of service life, and it is more convenient to dismantle, can in time overhaul the battery in service behavior, be convenient for the renewal part, it is more convenient high-.
Finally, it should be noted that: although the present invention has been described in detail with reference to the foregoing embodiments, it will be apparent to those skilled in the art that modifications may be made to the embodiments described in the foregoing embodiments, or equivalents may be substituted for elements thereof. Any modification, equivalent replacement, or improvement made within the spirit and principle of the present invention should be included in the protection scope of the present invention.

Claims (6)

1. The utility model provides a high temperature resistant lead acid battery case of antidetonation, includes inner shell (1), damping spring (5) and fin (19), its characterized in that: the inner wall of the inner shell (1) is fixedly connected with a partition plate (2), the outer surface of the inner shell (1) is fixedly connected with an outer shell (3), two sides of the lower surface of the outer shell (3) are fixedly connected with limit rods (4), the lower surface of the outer shell (3) is fixedly connected with a damping spring (5), one end of the damping spring (5) is fixedly connected with a bottom shell (6), two sides of the inner bottom wall of the bottom shell (6) are fixedly connected with limit grooves (7), the inner wall of each limit groove (7) is movably connected with a limit rod (4), the upper surface of the inner shell (1) is fixedly connected with a top plate (8), the upper surface of the top plate (8) is fixedly connected with a binding post (9), one side of the upper surface of the top plate (8) is in threaded connection with an exhaust pin (10), and a sealing plate (11) is clamped, the upper surface of the sealing plate (11) is fixedly connected with a top shell (12), the upper surface of the top shell (12) is provided with a placing hole (13), and the inner wall of the placing hole (13) is movably connected with a binding post (9).
2. The shock-resistant high temperature-resistant lead-acid battery case according to claim 1, wherein: and buffering heat-dissipating cotton (14) is filled between the inner shell (1) and the outer shell (3).
3. The shock-resistant high temperature-resistant lead-acid battery case according to claim 1, wherein: both sides of the outer surface of the shell (3) are fixedly connected with handles (15).
4. The shock-resistant high temperature-resistant lead-acid battery case according to claim 1, wherein: louvre (16) have been seted up to the surface of shell (3), the fixed surface that shell (3) are close to louvre (16) is connected with dead lever (17), the surface joint of dead lever (17) has places board (18), the fixed surface who places board (18) is connected with fin (19).
5. The shock-resistant high temperature-resistant lead-acid battery case according to claim 1, wherein: both sides of the upper surface of the top shell (12) are fixedly connected with handrails (20).
6. The shock-resistant high temperature-resistant lead-acid battery case according to claim 1, wherein: the upper surface of the top shell (12) is fixedly connected with a heat dissipation fence (21).
CN202022494875.5U 2020-11-02 2020-11-02 Shock-resistant high temperature resistant lead acid battery case Expired - Fee Related CN213425107U (en)

Priority Applications (1)

Application Number Priority Date Filing Date Title
CN202022494875.5U CN213425107U (en) 2020-11-02 2020-11-02 Shock-resistant high temperature resistant lead acid battery case

Applications Claiming Priority (1)

Application Number Priority Date Filing Date Title
CN202022494875.5U CN213425107U (en) 2020-11-02 2020-11-02 Shock-resistant high temperature resistant lead acid battery case

Publications (1)

Publication Number Publication Date
CN213425107U true CN213425107U (en) 2021-06-11

Family

ID=76249658

Family Applications (1)

Application Number Title Priority Date Filing Date
CN202022494875.5U Expired - Fee Related CN213425107U (en) 2020-11-02 2020-11-02 Shock-resistant high temperature resistant lead acid battery case

Country Status (1)

Country Link
CN (1) CN213425107U (en)

Cited By (2)

* Cited by examiner, † Cited by third party
Publication number Priority date Publication date Assignee Title
CN113613353A (en) * 2021-09-09 2021-11-05 常州机电职业技术学院 5G base station heat dissipation shell and heat dissipation method thereof
CN114050367A (en) * 2022-01-07 2022-02-15 南通快猛电源有限公司 Anti-seismic assembly for lead storage battery

Cited By (3)

* Cited by examiner, † Cited by third party
Publication number Priority date Publication date Assignee Title
CN113613353A (en) * 2021-09-09 2021-11-05 常州机电职业技术学院 5G base station heat dissipation shell and heat dissipation method thereof
CN114050367A (en) * 2022-01-07 2022-02-15 南通快猛电源有限公司 Anti-seismic assembly for lead storage battery
CN114050367B (en) * 2022-01-07 2022-03-15 南通快猛电源有限公司 Anti-seismic assembly for lead storage battery

Similar Documents

Publication Publication Date Title
CN112736345B (en) A method of operating an installation box for a battery pack of a new energy vehicle
CN204257740U (en) A kind of cylinder type lithium battery installing protective circuit additional
CN213425107U (en) Shock-resistant high temperature resistant lead acid battery case
CN102231447A (en) Coupled radiating power battery pack of PCM (phase-change material) heat pipes
CN114447513A (en) Safe explosion-proof energy storage lithium ion battery
CN115631923A (en) Energy-conserving dry-type transformer of new efficiency that protecting effect is good
CN218996876U (en) Thermal runaway blocking structure of power battery
CN209993638U (en) Pressure relief device for electric storage battery
CN216413197U (en) Safe and stable cobalt-free lithium battery
CN212113802U (en) An explosion-proof battery
CN212064092U (en) Treasured charges of treasured and cell-phone casing combination
CN209232843U (en) A kind of high-power battery group that radiating efficiency is high
CN211929670U (en) Lithium battery with high safety performance
CN210805884U (en) New energy automobile battery heat abstractor
CN211150623U (en) Low-temperature high-rate polymer lithium battery
CN210142697U (en) New energy automobile power battery tray with heat pipe heat abstractor
CN211182411U (en) Lithium battery cell structure
CN216698575U (en) Power battery's protection shield device
CN221928349U (en) Heat-insulating flame-retardant power battery pack structure
CN214672837U (en) Protective device for lithium battery pack
CN221900126U (en) A high-stability silicon-carbon negative electrode material for lithium-ion batteries
CN207834403U (en) A lithium battery shock absorber
CN215869629U (en) Lead-acid storage battery box cover for power
CN220190695U (en) Explosion-proof photovoltaic energy storage inverter
CN223583033U (en) Lithium battery for starting off-road motorcycle

Legal Events

Date Code Title Description
GR01 Patent grant
GR01 Patent grant
CF01 Termination of patent right due to non-payment of annual fee

Granted publication date: 20210611

CF01 Termination of patent right due to non-payment of annual fee