CN213387525U - A lifting device based on the production of laminated glass - Google Patents
A lifting device based on the production of laminated glass Download PDFInfo
- Publication number
- CN213387525U CN213387525U CN202022363699.1U CN202022363699U CN213387525U CN 213387525 U CN213387525 U CN 213387525U CN 202022363699 U CN202022363699 U CN 202022363699U CN 213387525 U CN213387525 U CN 213387525U
- Authority
- CN
- China
- Prior art keywords
- gear
- fixedly connected
- rotating shaft
- laminated glass
- bearing
- Prior art date
- Legal status (The legal status is an assumption and is not a legal conclusion. Google has not performed a legal analysis and makes no representation as to the accuracy of the status listed.)
- Expired - Fee Related
Links
Images
Landscapes
- Load-Engaging Elements For Cranes (AREA)
Abstract
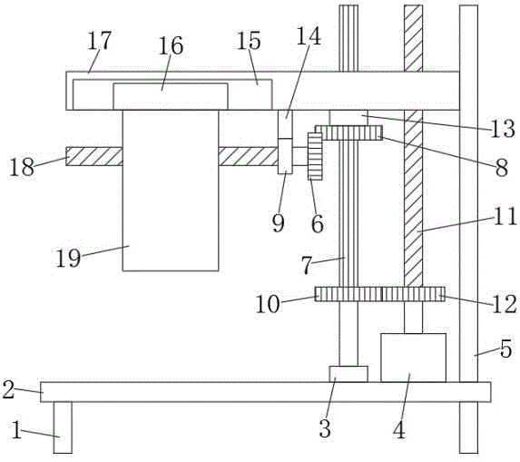
本实用新型公开了一种基于夹层玻璃生产用的吊运装置,涉及吊运装置技术领域,针对现有的吊运装置的提升和移动需要多个电机共同作用来实现,控制难度比较大,资源浪费比较严重,效率相对比较低的问题,现提出如下方案,包括放置板,所述放置板的顶部右侧固定连接有驱动电机,所述驱动电机的输出轴固定连接有第一螺杆,所述第一螺杆的外部固定套设有第四齿轮,所述放置板的顶部转动连接有转轴,所述转轴的外部固定套设有第三齿轮,所述转轴的外部滑动套设有第二齿轮,所述第三齿轮与第四齿轮啮合传动。本实用新型设计新颖,结构简单,操作方便,可以实现通过一个驱动电机来控制吊运装置的提升和移动,控制难度较低,有效节约了资源,效率相对较高。
The utility model discloses a hoisting device based on the production of laminated glass, which relates to the technical field of hoisting devices. The lifting and moving of the existing hoisting device requires the joint action of multiple motors, and the control difficulty is relatively large and the resources The waste is relatively serious and the efficiency is relatively low. The following solution is now proposed, including a placement plate, a drive motor is fixedly connected to the top right side of the placement plate, the output shaft of the drive motor is fixedly connected with a first screw, the The outer fixed sleeve of the first screw rod is provided with a fourth gear, the top of the placing plate is rotatably connected with a rotating shaft, the external fixed sleeve of the rotating shaft is provided with a third gear, and the external sliding sleeve of the rotating shaft is provided with a second gear, The third gear meshes with the fourth gear for transmission. The utility model has the advantages of novel design, simple structure and convenient operation, and can realize that the lifting and movement of the hoisting device can be controlled by a driving motor, so that the control difficulty is low, the resources are effectively saved, and the efficiency is relatively high.
Description
Claims (6)
Priority Applications (1)
| Application Number | Priority Date | Filing Date | Title |
|---|---|---|---|
| CN202022363699.1U CN213387525U (en) | 2020-10-22 | 2020-10-22 | A lifting device based on the production of laminated glass |
Applications Claiming Priority (1)
| Application Number | Priority Date | Filing Date | Title |
|---|---|---|---|
| CN202022363699.1U CN213387525U (en) | 2020-10-22 | 2020-10-22 | A lifting device based on the production of laminated glass |
Publications (1)
| Publication Number | Publication Date |
|---|---|
| CN213387525U true CN213387525U (en) | 2021-06-08 |
Family
ID=76189562
Family Applications (1)
| Application Number | Title | Priority Date | Filing Date |
|---|---|---|---|
| CN202022363699.1U Expired - Fee Related CN213387525U (en) | 2020-10-22 | 2020-10-22 | A lifting device based on the production of laminated glass |
Country Status (1)
| Country | Link |
|---|---|
| CN (1) | CN213387525U (en) |
-
2020
- 2020-10-22 CN CN202022363699.1U patent/CN213387525U/en not_active Expired - Fee Related
Similar Documents
| Publication | Publication Date | Title |
|---|---|---|
| CN106003009B (en) | A kind of separated axis synchrodrive tool hand | |
| CN213546085U (en) | Oiling device is used in transformer processing | |
| CN213387525U (en) | A lifting device based on the production of laminated glass | |
| CN207209904U (en) | A kind of portable power maintenance unit | |
| CN204075531U (en) | The rotary motion mechanism of large rotary machine people automatic welding device | |
| CN214059671U (en) | Lifting device for assembling motor shell | |
| CN211712528U (en) | Mechanical equipment leveling device | |
| CN210713967U (en) | A construction engineering sound insulation device | |
| CN209538634U (en) | A kind of mobile operating frame for architectural engineering | |
| CN215010125U (en) | An energy-saving device for industrial equipment | |
| CN117735379A (en) | Aerated concrete block lifting device capable of being lifted stably | |
| CN212388619U (en) | A monitoring device for building deep foundation pits that is easy to disassemble | |
| CN214570140U (en) | Hoisting device is used in production of aluminum alloy lift platform | |
| CN214087451U (en) | Upright post rotating mechanism for vertical crane | |
| CN216952332U (en) | Lifter module assembly bracket | |
| CN215558499U (en) | Oil top hoisting equipment for tensioning precast beam | |
| CN221590168U (en) | Liftable indoor sunshade device | |
| CN223457999U (en) | Portal frame that stability is high | |
| CN219668299U (en) | Auxiliary assembly is removed to electromechanical device | |
| CN214771569U (en) | Maintenance supporting device for loader bucket | |
| CN216078185U (en) | Continuous compound position adjusting mechanism | |
| CN216303124U (en) | High-strength tower crane base | |
| CN220791169U (en) | Annular drill rod power tongs convenient to carry | |
| CN217808452U (en) | Rotary driving mechanism of electric cantilever crane | |
| CN215987820U (en) | Multistage gear mechanical transmission structure presentation device |
Legal Events
| Date | Code | Title | Description |
|---|---|---|---|
| GR01 | Patent grant | ||
| GR01 | Patent grant | ||
| CP01 | Change in the name or title of a patent holder | ||
| CP01 | Change in the name or title of a patent holder |
Address after: 239000, No.17, Jiuhuashan Road, Chuzhou City, Anhui Province Patentee after: Anhui Tiannian Materials Co.,Ltd. Address before: 239000, No.17, Jiuhuashan Road, Chuzhou City, Anhui Province Patentee before: ANHUI TIANNIAN MATERIAL TECHNOLOGY Co.,Ltd. |
|
| CF01 | Termination of patent right due to non-payment of annual fee | ||
| CF01 | Termination of patent right due to non-payment of annual fee |
Granted publication date: 20210608 |
