CN213335895U - A detection device for thickness measurement of automobile parts - Google Patents

A detection device for thickness measurement of automobile parts Download PDF

Info

Publication number
CN213335895U
CN213335895U CN202022634897.7U CN202022634897U CN213335895U CN 213335895 U CN213335895 U CN 213335895U CN 202022634897 U CN202022634897 U CN 202022634897U CN 213335895 U CN213335895 U CN 213335895U
Authority
CN
China
Prior art keywords
fixedly connected
motor
measuring
measuring mechanism
plate
Prior art date
Legal status (The legal status is an assumption and is not a legal conclusion. Google has not performed a legal analysis and makes no representation as to the accuracy of the status listed.)
Expired - Fee Related
Application number
CN202022634897.7U
Other languages
Chinese (zh)
Inventor
邹松
Current Assignee (The listed assignees may be inaccurate. Google has not performed a legal analysis and makes no representation or warranty as to the accuracy of the list.)
Wuxi Ruigu Meter Technology Co ltd
Original Assignee
Wuxi Ruigu Meter Technology Co ltd
Priority date (The priority date is an assumption and is not a legal conclusion. Google has not performed a legal analysis and makes no representation as to the accuracy of the date listed.)
Filing date
Publication date
Application filed by Wuxi Ruigu Meter Technology Co ltd filed Critical Wuxi Ruigu Meter Technology Co ltd
Priority to CN202022634897.7U priority Critical patent/CN213335895U/en
Application granted granted Critical
Publication of CN213335895U publication Critical patent/CN213335895U/en
Expired - Fee Related legal-status Critical Current
Anticipated expiration legal-status Critical

Links

Images

Landscapes

  • A Measuring Device Byusing Mechanical Method (AREA)

Abstract

本实用新型公开了一种汽车零件厚度测量用检测装置,包括竖板,竖板的内部设有测量机构,测量机构包括第一电机,第一电机的输出端固定连接有螺纹杆,螺纹杆的表面螺纹连接有移动块,有益效果是:本装置设置有可上下升降的测量机构,零件放置在测量台上,由第一电机带动测量机构上下升降,配合竖板后的刻度线,就可以达到代替人工对零件进行精准测量的效果,且在测量机构上设有左右移动的活动板,针对一些凹凸不平的零件时可以达到精准测量的效果,不仅如此本装置的测量台由第二电机可以带动其旋转,使得本装置可以不用人工就可以使得大型零件旋转,配合测量机构达到了精准测量零件最高处与最深处的效果。

Figure 202022634897

The utility model discloses a detection device for measuring the thickness of automobile parts, which comprises a vertical plate, a measuring mechanism is arranged inside the vertical plate, the measuring mechanism comprises a first motor, an output end of the first motor is fixedly connected with a threaded rod, A moving block is threadedly connected on the surface, and the beneficial effects are: the device is provided with a measuring mechanism that can be lifted up and down, the parts are placed on the measuring table, the first motor drives the measuring mechanism to rise and fall up and down, and the scale line behind the vertical plate can be used to achieve Instead of manual accurate measurement of parts, the measuring mechanism is provided with a movable plate that moves left and right, which can achieve accurate measurement for some uneven parts. Not only that, the measuring table of this device can be driven by the second motor. Its rotation enables the device to rotate large parts without manual labor, and the effect of accurately measuring the highest part and the deepest part of the part is achieved in cooperation with the measuring mechanism.

Figure 202022634897

Description

Detection device for automobile part thickness measurement
Technical Field
The utility model relates to a part thickness measurement technical field specifically is a detection device for auto parts thickness measurement.
Background
The automobile is the most common vehicle in the current society, and the production of each automobile needs to use thousands of parts with different sizes, so the automobile parts are the most important foundation of the automobile industry and are necessary factors for supporting the continuous and healthy development of the automobile industry.
The existing automobile parts need to detect the thickness of the parts to carry out the next step of process when being maintained and processed, the existing part thickness detection method is mostly the detection of an operator holding a measuring scale manually, the method is low in measurement efficiency, particularly, the manual method is very inconvenient when large parts are measured, in addition, the hand shaking of people can influence the measurement precision, not only are the parts uneven, but also the manual measurement method can not carry out accurate measurement on the highest position and the deepest position of the manual measurement method.
SUMMERY OF THE UTILITY MODEL
An object of the utility model is to provide an auto parts is detection device for thickness measurement.
In order to achieve the above object, the utility model provides a following technical scheme: the utility model provides a detection device for auto parts thickness measurement, includes the riser, the inside of riser is equipped with measuring mechanism, measuring mechanism includes first motor, the output fixedly connected with threaded rod of first motor, the surperficial threaded connection of threaded rod has the movable block, one side fixedly connected with erection column of movable block, the one end fixedly connected with mounting panel of erection column, the fixed surface of erection column is connected with the erection rod, the one end fixedly connected with connecting block of erection rod, one side bottom fixedly connected with measuring stick of connecting block, the scale mark has been seted up on one side surface of riser, one side bottom fixedly connected with controller of riser.
Preferably, the measuring mechanism comprises a movable plate, the bottom of one side of the movable plate is fixedly connected with the extrusion rod, and the other side of the movable plate is fixedly connected with the clamping block.
Preferably, the opposite side fixedly connected with mount pad of riser, the inside fixedly connected with second motor of mount pad, the output of second motor runs through in mount pad fixedly connected with rotation axis, the top fixedly connected with measuring station of rotation axis.
Preferably, the inner bottom of the vertical plate is fixedly connected with a partition plate, the output end of the first motor penetrates through the partition plate, one side of the top of the partition plate is fixedly connected with a limit rod close to the threaded rod, and one end of the limit rod penetrates through the moving block.
Preferably, the measuring mechanism comprises a mounting plate, a clamping groove is formed in one side of the mounting plate, and the movable plate is movably connected with the clamping groove through a clamping block.
Compared with the prior art, the beneficial effects of the utility model include: this device is provided with the measuring mechanism of oscilaltion, the part is placed on the measuring station, drive the measuring mechanism oscilaltion by first motor, the scale mark behind the cooperation riser, just can reach and replace the manual work to carry out accurate measuring effect to the part, and be equipped with the fly leaf that removes about on measuring mechanism, can reach accurate measuring effect when to some unevenness's part, moreover the measuring station of this device can drive its rotation by the second motor, make this device can just can make large-scale part rotatory without the manual work, cooperation measuring mechanism has reached the effect of accurate measurement part highest point and deepest.
Drawings
Fig. 1 is a schematic structural view of the present invention;
fig. 2 is a side view of the riser of the present invention;
FIG. 3 is a partial enlarged structure at position A of the present invention;
fig. 4 is a side view of the movable plate of the present invention.
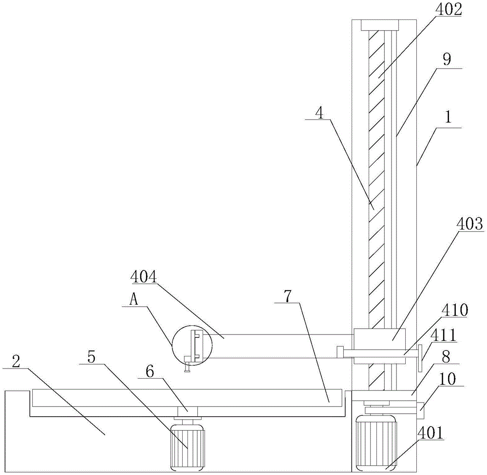
In the figure: 1. a vertical plate; 2. a mounting seat; 3. scale lines; 4. a measuring mechanism; 401. a first motor; 402. a threaded rod; 403. a moving block; 404. mounting a column; 405. mounting a plate; 406. a card slot; 407. a clamping block; 408. a movable plate; 409. an extrusion stem; 410. mounting a rod; 411. connecting blocks; 412. a measuring rod; 5. a second motor; 6. a rotating shaft; 7. a measuring table; 8. a partition plate; 9. a limiting rod; 10. and a controller.
Detailed Description
The technical solutions in the embodiments of the present invention will be described clearly and completely with reference to the accompanying drawings in the embodiments of the present invention, and it is obvious that the described embodiments are only some embodiments of the present invention, not all embodiments. Based on the embodiments in the present invention, all other embodiments obtained by a person skilled in the art without creative work belong to the protection scope of the present invention.
Referring to fig. 1-4, the present invention provides a technical solution: the detection device for measuring the thickness of the automobile part comprises a vertical plate 1, wherein a measuring mechanism 4 is arranged inside the vertical plate 1, the measuring mechanism 4 comprises a first motor 401, the output end of the first motor 401 is fixedly connected with a threaded rod 402, the surface of the threaded rod 402 is in threaded connection with a moving block 403, one side of the moving block 403 is fixedly connected with an installation column 404, one end of the installation column 404 is fixedly connected with an installation plate 405, the surface of the installation column 404 is fixedly connected with an installation rod 410, one end of the installation rod 410 is fixedly connected with a connecting block 411, the bottom of one side of the connecting block 411 is fixedly connected with a measuring rod 412, the surface of one side of the vertical plate 1 is provided with scale marks 3, the bottom of one side of the vertical plate 1 is fixedly connected with a controller 10, the controller 10 controls the first motor 401 to rotate forward and backward to drive an extrusion rod 409 to move up and down, the traditional manual measurement method is replaced, so that the measurement precision is more accurate.
The measuring mechanism 4 comprises a movable plate 408, a pressing rod 409 is fixedly connected to the bottom of one side of the movable plate 408, a clamping block 407 is fixedly connected to the other side of the movable plate 408, the measuring mechanism 4 comprises a mounting plate 405, a clamping groove 406 is formed in one side of the mounting plate 405, the movable plate 408 is movably connected with the clamping groove 406 through the clamping block 407, the movable plate 408 sliding left and right on the mounting plate 405 can enable the device to measure different parts of the same part without moving the part, the convenience of the device is improved, the mounting base 2 is fixedly connected to the other side of the vertical plate 1, a second motor 5 is fixedly connected to the inside of the mounting base 2, the output end of the second motor 5 penetrates through the mounting base 2 and is fixedly connected with a rotating shaft 6, a measuring table 7 is fixedly connected to the top of the rotating shaft 6, and the rotatable measuring table 7 is matched with the movable plate 408, make the application scope of this device wider, increased the practicality of this device, the interior bottom fixedly connected with baffle 8 of riser 1, the output of first motor 401 runs through in baffle 8, and the fixed threaded rod 402 fixedly connected with gag lever post 9 that is close to in top one side of baffle 8, and the one end of gag lever post 9 runs through in movable block 403, and the establishment of gag lever post 9 can restrict the position of movable block 403, makes its oscilaltion on threaded rod 402.
When the device is used, automobile parts are placed in a measuring table 7 of the device, the horizontal plane of the measuring table 7 and the return-to-zero line in the scale mark 3 on one side of the vertical plate 1 are in the same horizontal line, the parts are moved to enable one side of the parts to be located at the bottom of the extrusion rod 409, the first motor 401 is started to drive the threaded rod 402 to rotate, the moving block 403 is in threaded connection with the threaded rod 402, the moving block 403 can be controlled to lift up and down on the threaded rod 402 through the controller 10, when the extrusion rod 409 is in contact with the surfaces of the parts, the first motor 401 can be closed, the thickness of the parts can be read by aligning the measuring rod 412 arranged on the mounting column 404 with the scale mark 3 on one side of the vertical plate 1, if some large-size rectangular parts with unevenness need to be measured, the extrusion rod 409 can be driven to move back and forth by moving the movable plate 408 moving left and right on the mounting plate 405, and right, and left and right, if the part is when some unevenness's large-scale arc parts, it is rotatory to drive measuring table 7 through starting second motor 5, removes the highest point and the deepest of part to the extrusion pole 409 below respectively, and the measuring mechanism 4 of rethread oscilaltion can be with accurate measure the part.
In the description of the present invention, it is to be understood that the terms "coaxial", "bottom", "one end", "top", "middle", "other end", "upper", "one side", "top", "inner", "front", "center", "both ends", and the like, indicate orientations or positional relationships based on the orientations or positional relationships shown in the drawings, and are only for convenience of description and simplicity of description, and do not indicate or imply that the device or element referred to must have a particular orientation, be constructed and operated in a particular orientation, and therefore, should not be construed as limiting the present invention.
Furthermore, the terms "first", "second", "third", "fourth" are used for descriptive purposes only and are not to be construed as indicating or implying a relative importance or implicitly indicating the number of technical features indicated, whereby the features defined as "first", "second", "third", "fourth" may explicitly or implicitly include at least one such feature.
In the present invention, unless otherwise expressly stated or limited, the terms "mounted," "disposed," "connected," "fixed," "screwed" and the like are to be construed broadly, e.g., as meaning fixedly connected, detachably connected, or integrally formed; can be mechanically or electrically connected; they may be directly connected or indirectly connected through an intermediate medium, and may be connected through the inside of two elements or in an interaction relationship between two elements, unless otherwise specifically defined, and the specific meaning of the above terms in the present invention will be understood by those skilled in the art according to specific situations.
Although embodiments of the present invention have been shown and described, it will be appreciated by those skilled in the art that changes, modifications, substitutions and alterations can be made in these embodiments without departing from the principles and spirit of the invention, the scope of which is defined in the appended claims and their equivalents.

Claims (5)

1.一种汽车零件厚度测量用检测装置,其特征在于,包括竖板(1),所述竖板(1)的内部设有测量机构(4),所述测量机构(4)包括第一电机(401),所述第一电机(401)的输出端固定连接有螺纹杆(402),所述螺纹杆(402)的表面螺纹连接有移动块(403),所述移动块(403)的一侧固定连接有安装柱(404),所述安装柱(404)的一端固定连接有安装板(405),所述安装柱(404)的表面固定连接有安装杆(410),所述安装杆(410)的一端固定连接有连接块(411),所述连接块(411)的一侧底部固定连接有测量杆(412),所述竖板(1)的一侧表面开设有刻度线(3),所述竖板(1)的一侧底部固定连接有控制器(10)。1. A detection device for thickness measurement of automobile parts, characterized in that it comprises a vertical plate (1), a measuring mechanism (4) is provided inside the vertical plate (1), and the measuring mechanism (4) comprises a first A motor (401), an output end of the first motor (401) is fixedly connected with a threaded rod (402), a surface of the threaded rod (402) is threadedly connected with a moving block (403), and the moving block (403) A mounting post (404) is fixedly connected to one side of the mounting post (404), a mounting plate (405) is fixedly connected to one end of the mounting post (404), and a mounting rod (410) is fixedly connected to the surface of the mounting post (404). A connecting block (411) is fixedly connected to one end of the mounting rod (410), a measuring rod (412) is fixedly connected to the bottom of one side of the connecting block (411), and a scale is provided on one surface of the vertical plate (1). A line (3), a controller (10) is fixedly connected to the bottom of one side of the vertical plate (1). 2.根据权利要求1所述的一种汽车零件厚度测量用检测装置,其特征在于:所述测量机构(4)包括活动板(408),所述活动板(408)的一侧底部固定连接有挤压杆(409),所述活动板(408)的另一侧固定连接有卡块(407)。2. A detection device for thickness measurement of automobile parts according to claim 1, characterized in that: the measuring mechanism (4) comprises a movable plate (408), and a bottom of one side of the movable plate (408) is fixedly connected There is a pressing rod (409), and a clamping block (407) is fixedly connected to the other side of the movable plate (408). 3.根据权利要求1所述的一种汽车零件厚度测量用检测装置,其特征在于:所述竖板(1)的另一侧固定连接有安装座(2),所述安装座(2)的内部固定连接有第二电机(5),所述第二电机(5)的输出端贯穿于安装座(2)固定连接有旋转轴(6),所述旋转轴(6)的顶部固定连接有测量台(7)。3. A detection device for thickness measurement of automobile parts according to claim 1, characterized in that a mounting seat (2) is fixedly connected to the other side of the vertical plate (1), and the mounting seat (2) A second motor (5) is fixedly connected to the inside of the second motor (5), the output end of the second motor (5) is fixedly connected with a rotating shaft (6) through the mounting seat (2), and the top of the rotating shaft (6) is fixedly connected There is a measuring table (7). 4.根据权利要求1所述的一种汽车零件厚度测量用检测装置,其特征在于:所述竖板(1)的内底部固定连接有隔板(8),所述第一电机(401)的输出端贯穿于隔板(8),所述隔板(8)的顶部一侧固定靠近螺纹杆(402)固定连接有限位杆(9),所述限位杆(9)的一端贯穿于移动块(403)。4. A detection device for thickness measurement of automobile parts according to claim 1, characterized in that: a partition plate (8) is fixedly connected to the inner bottom of the vertical plate (1), and the first motor (401) The output end runs through the partition plate (8), the top side of the partition plate (8) is fixed close to the threaded rod (402) and is fixedly connected to the limit rod (9), and one end of the limit rod (9) runs through the Move block (403). 5.根据权利要求2所述的一种汽车零件厚度测量用检测装置,其特征在于:所述测量机构(4)包括安装板(405),所述安装板(405)的一侧内部开设有卡槽(406),所述活动板(408)通过卡块(407)与卡槽(406)活动连接。5. A detection device for thickness measurement of automobile parts according to claim 2, characterized in that: the measuring mechanism (4) comprises a mounting plate (405), and one side of the mounting plate (405) is provided with a A card slot (406), the movable plate (408) is movably connected to the card slot (406) through a card block (407).
CN202022634897.7U 2020-11-13 2020-11-13 A detection device for thickness measurement of automobile parts Expired - Fee Related CN213335895U (en)

Priority Applications (1)

Application Number Priority Date Filing Date Title
CN202022634897.7U CN213335895U (en) 2020-11-13 2020-11-13 A detection device for thickness measurement of automobile parts

Applications Claiming Priority (1)

Application Number Priority Date Filing Date Title
CN202022634897.7U CN213335895U (en) 2020-11-13 2020-11-13 A detection device for thickness measurement of automobile parts

Publications (1)

Publication Number Publication Date
CN213335895U true CN213335895U (en) 2021-06-01

Family

ID=76077228

Family Applications (1)

Application Number Title Priority Date Filing Date
CN202022634897.7U Expired - Fee Related CN213335895U (en) 2020-11-13 2020-11-13 A detection device for thickness measurement of automobile parts

Country Status (1)

Country Link
CN (1) CN213335895U (en)

Similar Documents

Publication Publication Date Title
CN215676838U (en) Metal casting inspection device
CN109030875B (en) Comprehensive testing device of capacitor
CN213335895U (en) A detection device for thickness measurement of automobile parts
CN115507722B (en) A device for measuring geometric dimensions of blades
CN207703121U (en) Close to switch test device
CN118533124B (en) A size measurement device for ceramic plate processing detects
CN220708294U (en) Electrode rapid detection device
CN216115831U (en) High-precision measurement auxiliary device for mechanical design
CN215003418U (en) Size detection device is used in steel construction production
CN212300299U (en) Gauge measuring device with marking function for subway construction
CN213778860U (en) A kind of concrete protective layer thickness detection device
CN211626316U (en) Gear tooth detection device suitable for semicircular gear
CN211072000U (en) Cutting equipment for production of automobile weighing apparatus
CN210128783U (en) Holding force and deflection measuring device of electroscope
CN223091201U (en) Accurate measuring device is used in industry aluminium alloy processing
CN219390808U (en) Gauge for surface profile of curved surface part
CN221505901U (en) Metal product detection device
CN222560818U (en) Glass size information detection and collection device
CN222124247U (en) Device for precise measurement
CN222895886U (en) Lens focusing point detection device
CN222652255U (en) A virtual image photoelectric measuring instrument
CN223500331U (en) A device for testing the flatness of a sample surface
CN209894154U (en) But height-adjusting's membrane thickness appearance workstation
CN221376539U (en) Tool for measuring warpage of rotary target
CN220398604U (en) A photoelectric encoder fault monitoring device

Legal Events

Date Code Title Description
GR01 Patent grant
GR01 Patent grant
CF01 Termination of patent right due to non-payment of annual fee
CF01 Termination of patent right due to non-payment of annual fee

Granted publication date: 20210601