CN213330326U - Folding structure of antirust metal supporting rod for tent - Google Patents

Folding structure of antirust metal supporting rod for tent Download PDF

Info

Publication number
CN213330326U
CN213330326U CN202022046671.5U CN202022046671U CN213330326U CN 213330326 U CN213330326 U CN 213330326U CN 202022046671 U CN202022046671 U CN 202022046671U CN 213330326 U CN213330326 U CN 213330326U
Authority
CN
China
Prior art keywords
mounting seat
support rod
folding
riser
folding structure
Prior art date
Legal status (The legal status is an assumption and is not a legal conclusion. Google has not performed a legal analysis and makes no representation as to the accuracy of the status listed.)
Expired - Fee Related
Application number
CN202022046671.5U
Other languages
Chinese (zh)
Inventor
宋立波
Current Assignee (The listed assignees may be inaccurate. Google has not performed a legal analysis and makes no representation or warranty as to the accuracy of the list.)
Ningbo Dongrun Mining Co ltd
Original Assignee
Ningbo Dongrun Mining Co ltd
Priority date (The priority date is an assumption and is not a legal conclusion. Google has not performed a legal analysis and makes no representation as to the accuracy of the date listed.)
Filing date
Publication date
Application filed by Ningbo Dongrun Mining Co ltd filed Critical Ningbo Dongrun Mining Co ltd
Priority to CN202022046671.5U priority Critical patent/CN213330326U/en
Application granted granted Critical
Publication of CN213330326U publication Critical patent/CN213330326U/en
Expired - Fee Related legal-status Critical Current
Anticipated expiration legal-status Critical

Links

Images

Landscapes

  • Tents Or Canopies (AREA)

Abstract

本实用新型公开了帐篷用防锈金属支撑杆折叠结构,包括折叠结构,折叠结构包括第一折叠件和第二折叠件,第二折叠件可相对第一折叠件折叠或展开,第一折叠件包括第一安装座及相对平行设于第一安装座上的两根外竖板,第二折叠件包括第二安装座及相对平行设于第二安装座上的两根内竖板,两根内竖板夹设于两根外竖板之间,且两根外竖板的一端、两根内竖板的一端通过转轴贯穿连接,内竖板通过转轴转动安装在外竖板上;第一安装座上可拆卸安装有下支撑杆,第二安装座上可拆卸安装有上支撑杆。相对设置的两根外竖板夹紧两根内竖板,两个相铰接的折叠件转动时在摩擦力的作用下形成阻尼,内竖板在阻尼作用下绕转轴转动,使整个折叠结构比较稳定。

Figure 202022046671

The utility model discloses a folding structure of a rust-proof metal support rod for a tent, which comprises a folding structure, the folding structure comprises a first folding part and a second folding part, the second folding part can be folded or unfolded relative to the first folding part, and the first folding part It includes a first mounting seat and two outer risers that are relatively parallel to the first mounting seat, and the second folding piece includes a second mounting seat and two inner vertical plates that are relatively parallel to the second mounting seat. The inner vertical plate is sandwiched between the two outer vertical plates, and one end of the two outer vertical plates and one end of the two inner vertical plates are connected through a rotating shaft, and the inner vertical plate is rotated and installed on the outer vertical plate through the rotating shaft; the first installation A lower support rod is detachably installed on the seat, and an upper support rod is detachably installed on the second installation seat. The two oppositely arranged outer vertical plates clamp the two inner vertical plates. When the two hinged folding parts rotate, damping is formed under the action of frictional force. Stablize.

Figure 202022046671

Description

Folding structure of antirust metal supporting rod for tent
Technical Field
The utility model relates to an outdoor tent technical field, concretely relates to tent is with rust-resistant metal support bar beta structure.
Background
The tent is a common outdoor activity sunshade article, along with the improvement of people's living standard, the recreational activities are more and more, have many people to like go out to play in idle, all can use the tent in the in-process of playing outside.
When the tent is used outdoors, the framework of the tent per se is partially broken sometimes, and the tent cloth cannot be well supported. The vertical support rod is required to be temporarily used for supporting in the tent, so that the tent can be normally used. In practice, there is currently no ready support pole type product available for temporarily supporting a tent.
SUMMERY OF THE UTILITY MODEL
In order to solve the technical defects, the utility model adopts the technical scheme that an anti-rust metal supporting rod folding structure for a tent is provided, which comprises a folding structure, wherein the folding structure comprises a first folding part and a second folding part, the second folding part can be folded or unfolded relative to the first folding part, the first folding part comprises a first mounting seat and two outer vertical plates which are relatively and parallelly arranged on the first mounting seat, the second folding part comprises a second mounting seat and two inner vertical plates which are relatively and parallelly arranged on the second mounting seat, the two inner vertical plates are clamped between the two outer vertical plates, one ends of the two outer vertical plates, which are far away from the first mounting seat, and one ends of the two inner vertical plates, which are far away from the second mounting seat, are in through connection through a rotating shaft, and the inner vertical plates are rotatably arranged on the outer vertical plates through the rotating shaft; demountable installation has the lower support rod on the first mount pad, demountable installation has the upper support rod on the second mount pad.
Furthermore, the outer vertical plate is an elastic plastic piece, and the cross sections of the outer vertical plate and the inner vertical plate are both arc-shaped; when the inner vertical plate rotates to be in an unfolded state with the outer vertical plate, the inner vertical plate is limited and clamped at the upper ends of the two outer vertical plates; when continuously rotating the interior riser and turning over downwards, when interior riser is folding to be accomodate to being close to the outer riser, the upper end of outer riser is strutted and to applying the elasticity clamp force to the interior riser.
Furthermore, the rotating shaft is a screw rod, and locking nuts used for locking the positions of the first folding part and the second folding part are respectively installed at two ends of the screw rod.
Furthermore, threaded holes are formed in the first mounting seat and the second mounting seat in a vertically penetrating mode respectively, the upper end of the lower supporting rod is in threaded connection with the first mounting seat and is inserted between the two outer vertical plates, and the lower end of the upper supporting rod is in threaded connection with the second mounting seat and is inserted between the two inner vertical plates.
Furthermore, the outer side wall of one end of the lower supporting rod, which is far away from the first mounting seat, and the outer side wall of one end of the upper supporting rod, which is far away from the second mounting seat, are provided with anti-skid convex strips.
Furthermore, one end of the lower supporting rod, which is far away from the first mounting seat, is provided with a cross ground supporting frame, and the upper end of the upper supporting rod is transversely provided with a threading hole in a penetrating manner.
Compared with the prior art the utility model discloses technical scheme's beneficial effect does:
the utility model provides a rust-resistant metal support pole beta structure is used to tent, two outer risers of relative setting press from both sides tight two interior risers, form the damping under the effect of frictional force when two looks articulated folded pieces rotate, interior riser revolutes the rotation of axes under the damping action, makes whole beta structure more stable.
Drawings
In order to more clearly illustrate the technical solutions in the embodiments of the present invention, the drawings needed to be used in the description of the embodiments will be briefly described below, and it is obvious that the drawings in the following description are only some embodiments of the present invention, and it is obvious for those skilled in the art to obtain other drawings without creative efforts.
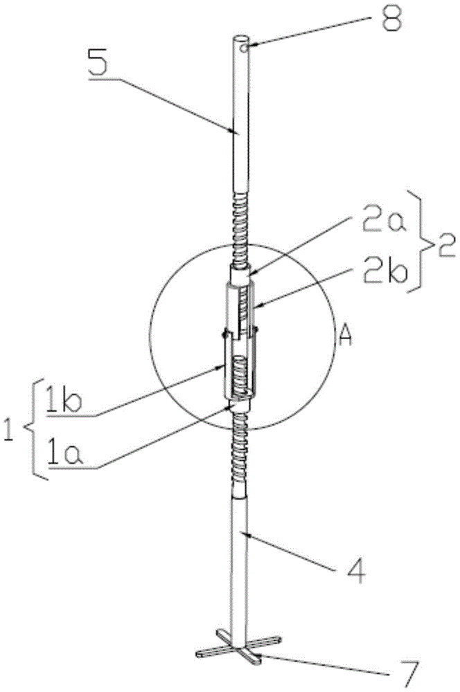
Fig. 1 is a schematic view of a folding structure of an anti-rust metal support rod for a tent according to an embodiment of the present invention;
fig. 2 is an enlarged view of a portion a of fig. 1.
The reference numbers are as follows:
1. first folded piece, 1a, first mount pad, 1b, outer riser, 2, second folded piece, 2a, second mount pad, 2b, interior riser, 3, pivot, 4, lower bracing piece, 5, go up the bracing piece, 6, lock nut, 7, cross bracing ground frame, 8, through wires hole.
Detailed Description
The invention will be further explained with reference to the drawings and the specific embodiments.
Example 1
Referring to fig. 1-2, the utility model provides an antirust metal supporting rod folding structure for tent, including folding structure, folding structure includes first folder 1 and second folder 2, second folder 2 can fold or expand relative to first folder 1, first folder 1 includes first mount pad 1a and two external risers 1b that locate on first mount pad 1a relatively parallelly, second folder 2 includes second mount pad 2a and two internal risers 2b that locate on second mount pad 2a relatively parallelly, two internal risers 2b clamp are located between two external risers 1b, and the one end of two external risers 1b that keeps away from first mount pad 1a, the one end of two internal risers 2b that keeps away from second mount pad 2a is through connection through pivot 3, internal riser 2b rotates through pivot 3 and installs on external riser 1 b; the first mounting seat 1a is detachably provided with a lower support rod 4, and the second mounting seat 2a is detachably provided with an upper support rod 5.
Specifically, the upper support rod 5 and the lower support rod 4 are rust-proof metal rods.
As one of the embodiments of the folding structure for fixing in the unfolded state, preferably, the outer vertical plate 1b is an elastic plastic piece, and the cross sections of the outer vertical plate 1b and the inner vertical plate 2b are both arc-shaped; when the inner vertical plate 2b rotates to be in an unfolded state with the outer vertical plates 1b, the inner vertical plate 2b is clamped at the upper ends of the two outer vertical plates 1b in a limiting manner; when continuously rotating interior riser 2b and rolling over downwards, interior riser 2b is folding to be accomodate to being close to when outer riser 1b, and the upper end of outer riser 1b is strutted and exerts the elasticity clamping force to interior riser 2 b.
As another embodiment for fixing the folded structure in the unfolded state, it is preferable that the rotating shaft 3 is a screw rod, and locking nuts 6 for locking the positions of the first folding member 1 and the second folding member 2 are respectively installed at both ends of the screw rod. So as to adjust the second folding member 2 to rotate along the first folding member 1 by any angle and lock the current shape, such as the folding and storage shape and the unfolding and supporting shape.
Preferably, threaded holes are respectively formed in the first mounting seat 1a and the second mounting seat 2a in a vertically penetrating manner, the upper end of the lower support rod 4 is in threaded connection with the first mounting seat 1a and is inserted between the two outer vertical plates 1b, and the lower end of the upper support rod 5 is in threaded connection with the second mounting seat 2a and is inserted between the two inner vertical plates 2 b.
In order to improve the operation feeling of the user when adjusting the lower support rod 4 and the upper support rod 5, preferably, anti-slip convex strips (not shown) are disposed on the outer side wall of the end of the lower support rod 4 far away from the first mounting seat 1a and the outer side wall of the end of the upper support rod 5 far away from the second mounting seat 2 a.
A cross ground supporting frame 7 is arranged at one end of the lower supporting rod 4 far away from the first mounting seat 1a, so that the lower supporting rod can be conveniently and stably placed on the ground; the upper end of the upper supporting rod 5 is transversely provided with a threading hole 8 in a penetrating mode, so that the upper supporting rod is conveniently connected and fixed with a framework on the tarpaulin, and the supporting stability is improved.
Above only the utility model discloses an it is preferred embodiment, the utility model discloses a scope of protection not only limits in above-mentioned embodiment, and the all belongs to the utility model discloses a technical scheme under the thinking all belongs to the utility model discloses a scope of protection. It should be noted that, for those skilled in the art, various modifications and decorations can be made without departing from the principle of the present invention, and these modifications and decorations should also be regarded as the protection scope of the present invention.

Claims (6)

1.一种帐篷用防锈金属支撑杆折叠结构,其特征在于:包括折叠结构,所述折叠结构包括第一折叠件(1)和第二折叠件(2),所述第二折叠件(2)可相对第一折叠件(1)折叠或展开,所述第一折叠件(1)包括第一安装座(1a)及相对平行设于第一安装座(1a)上的两根外竖板(1b),所述第二折叠件(2)包括第二安装座(2a)及相对平行设于第二安装座(2a)上的两根内竖板(2b),两根所述内竖板(2b)夹设于两根所述外竖板(1b)之间,且两根所述外竖板(1b)的远离第一安装座(1a)的一端、两根所述内竖板(2b)的远离第二安装座(2a)的一端通过转轴(3)贯穿连接,所述内竖板(2b)通过转轴(3)转动安装在外竖板(1b)上;所述第一安装座(1a)上可拆卸安装有下支撑杆(4),所述第二安装座(2a)上可拆卸安装有上支撑杆(5)。1. A folding structure of a rust-proof metal support rod for a tent, characterized in that: it comprises a folding structure, and the folding structure comprises a first folding part (1) and a second folding part (2), the second folding part ( 2) It can be folded or unfolded relative to the first folding member (1), the first folding member (1) includes a first mounting seat (1a) and two outer vertical Plate (1b), the second folding member (2) includes a second mounting seat (2a) and two inner risers (2b) arranged in parallel on the second mounting seat (2a), the two inner vertical plates (2b) The riser (2b) is sandwiched between the two outer risers (1b), and the ends of the two outer risers (1b) away from the first mounting seat (1a) and the two inner risers The end of the plate (2b) away from the second mounting seat (2a) is connected through the shaft (3), and the inner riser (2b) is rotatably mounted on the outer riser (1b) through the shaft (3); the first A lower support rod (4) is detachably mounted on the mounting seat (1a), and an upper support rod (5) is detachably mounted on the second mounting seat (2a). 2.如权利要求1所述的帐篷用防锈金属支撑杆折叠结构,其特征在于:所述外竖板(1b)为弹性塑料件,且所述外竖板(1b)和内竖板(2b)的横截面均为弧形;当所述内竖板(2b)转动至与外竖板(1b)呈展开状态时,所述内竖板(2b)限位夹持于两根外竖板(1b)的上端;当持续转动内竖板(2b)向下翻折时,所述内竖板(2b)折叠收纳至靠近外竖板(1b)时,所述外竖板(1b)的上端被撑开并对内竖板(2b)施加弹性夹紧力。2. The rust-proof metal support rod folding structure for tents according to claim 1, wherein the outer riser (1b) is an elastic plastic part, and the outer riser (1b) and the inner riser ( The cross section of 2b) is arc-shaped; when the inner riser (2b) is rotated to the unfolded state with the outer riser (1b), the inner riser (2b) is limited and clamped between the two outer risers. The upper end of the board (1b); when the inner riser (2b) is continuously rotated and folded downward, when the inner riser (2b) is folded and stored close to the outer riser (1b), the outer riser (1b) The upper end of the shaft is stretched and exerts elastic clamping force on the inner riser (2b). 3.如权利要求1所述的帐篷用防锈金属支撑杆折叠结构,其特征在于:所述转轴(3)为螺杆,所述螺杆的两端分别安装有用于锁紧第一折叠件(1)和第二折叠件(2)位置的锁紧螺母(6)。3. The rust-proof metal support rod folding structure for tents according to claim 1, characterized in that: the rotating shaft (3) is a screw rod, and both ends of the screw rod are respectively provided with a first folding member (1) for locking ) and the lock nut (6) at the position of the second fold (2). 4.如权利要求1所述的帐篷用防锈金属支撑杆折叠结构,其特征在于:所述第一安装座(1a)和第二安装座(2a)上分别沿竖向贯穿设有螺纹孔,所述下支撑杆(4)的上端与第一安装座(1a)螺纹连接并插入两根外竖板(1b)之间,所述上支撑杆(5)的下端与第二安装座(2a)螺纹连接并插入两根内竖板(2b)之间。4. The rust-proof metal support rod folding structure for tents according to claim 1, wherein the first mounting seat (1a) and the second mounting seat (2a) are respectively provided with threaded holes vertically extending through them. , the upper end of the lower support rod (4) is threadedly connected with the first mounting seat (1a) and inserted between the two outer vertical plates (1b), and the lower end of the upper support rod (5) is connected to the second mounting seat (1b). 2a) Thread and insert between the two inner risers (2b). 5.如权利要求4所述的帐篷用防锈金属支撑杆折叠结构,其特征在于:所述下支撑杆(4)的远离第一安装座(1a)的一端的外侧壁上、所述上支撑杆(5)的远离第二安装座(2a)的一端的外侧壁上均设有防滑凸条。5. The rust-proof metal support rod folding structure for tents according to claim 4, characterized in that: on the outer side wall of the end of the lower support rod (4) away from the first mounting seat (1a), the upper The outer side wall of the end of the support rod (5) away from the second installation seat (2a) is provided with anti-skid protruding strips. 6.如权利要求1所述的帐篷用防锈金属支撑杆折叠结构,其特征在于:所述下支撑杆(4)的远离第一安装座(1a)的一端上安装有十字撑地架(7),所述上支撑杆(5)的上端沿横向贯穿设有穿线孔(8)。6. The rust-proof metal support rod folding structure for tents according to claim 1, characterized in that: a cross support ground frame ( 7), the upper end of the upper support rod (5) is provided with a threading hole (8) in the transverse direction.
CN202022046671.5U 2020-09-17 2020-09-17 Folding structure of antirust metal supporting rod for tent Expired - Fee Related CN213330326U (en)

Priority Applications (1)

Application Number Priority Date Filing Date Title
CN202022046671.5U CN213330326U (en) 2020-09-17 2020-09-17 Folding structure of antirust metal supporting rod for tent

Applications Claiming Priority (1)

Application Number Priority Date Filing Date Title
CN202022046671.5U CN213330326U (en) 2020-09-17 2020-09-17 Folding structure of antirust metal supporting rod for tent

Publications (1)

Publication Number Publication Date
CN213330326U true CN213330326U (en) 2021-06-01

Family

ID=76064419

Family Applications (1)

Application Number Title Priority Date Filing Date
CN202022046671.5U Expired - Fee Related CN213330326U (en) 2020-09-17 2020-09-17 Folding structure of antirust metal supporting rod for tent

Country Status (1)

Country Link
CN (1) CN213330326U (en)

Similar Documents

Publication Publication Date Title
CN203828387U (en) Bar table with sunshade
CN213330326U (en) Folding structure of antirust metal supporting rod for tent
CN202830567U (en) Clothes hanger
CN210738439U (en) Easy-to-fold stage ladder
CN203860595U (en) Sunshade hanging umbrella adjustable in sunshade angles
CN211380098U (en) Extendable table for dormitory bed
WO2017211238A1 (en) Ultra-light camping expandable bed
WO2016184382A1 (en) Supporting frame for turning over and folding table
US6477726B2 (en) Mattress support and method
CN217365103U (en) Outdoor portable folding chair frame
CN208909445U (en) A kind of garden landscape chair
CN208088957U (en) A kind of break camp
CN209733190U (en) stable folding bed frame
CN211862488U (en) Shaft connection supporting foot stand and hat and coat stand
CN215970907U (en) Portable simple sketching easel
CN219214590U (en) Folding drawing frame with adjustable drawing board angle
CN221761573U (en) Roof tent with top support side eaves
CN221749539U (en) Folding tea airing rack
CN213757114U (en) Writing desk with bendable supporting legs
CN221241989U (en) Foldable hammock support and hammock
CN220135069U (en) Portable adjustable background frame
CN222184345U (en) Tent with self-adaptation eaves pole
CN110973829A (en) Telescopic table used on dormitory bed
CN217544115U (en) Propaganda moving frame device
CN221437869U (en) Folding bed tilting mechanism for motor caravan

Legal Events

Date Code Title Description
GR01 Patent grant
GR01 Patent grant
CF01 Termination of patent right due to non-payment of annual fee
CF01 Termination of patent right due to non-payment of annual fee

Granted publication date: 20210601