CN213301120U - Movable three-dimensional laser scanner - Google Patents

Movable three-dimensional laser scanner Download PDF

Info

Publication number
CN213301120U
CN213301120U CN202022646493.XU CN202022646493U CN213301120U CN 213301120 U CN213301120 U CN 213301120U CN 202022646493 U CN202022646493 U CN 202022646493U CN 213301120 U CN213301120 U CN 213301120U
Authority
CN
China
Prior art keywords
fixedly connected
cavity
scanner
dimensional laser
backup pad
Prior art date
Legal status (The legal status is an assumption and is not a legal conclusion. Google has not performed a legal analysis and makes no representation as to the accuracy of the status listed.)
Expired - Fee Related
Application number
CN202022646493.XU
Other languages
Chinese (zh)
Inventor
刘江平
薛河儒
杨彤
王玮婕
Current Assignee (The listed assignees may be inaccurate. Google has not performed a legal analysis and makes no representation or warranty as to the accuracy of the list.)
Inner Mongolia Agricultural University
Original Assignee
Inner Mongolia Agricultural University
Priority date (The priority date is an assumption and is not a legal conclusion. Google has not performed a legal analysis and makes no representation as to the accuracy of the date listed.)
Filing date
Publication date
Application filed by Inner Mongolia Agricultural University filed Critical Inner Mongolia Agricultural University
Priority to CN202022646493.XU priority Critical patent/CN213301120U/en
Application granted granted Critical
Publication of CN213301120U publication Critical patent/CN213301120U/en
Expired - Fee Related legal-status Critical Current
Anticipated expiration legal-status Critical

Links

Images

Abstract

本实用新型属于移动式三维激光扫描仪技术领域,涉及一种移动式三维激光扫描仪,其中,包括箱体,所述箱体内开设有第一腔体和第二腔体,所述第一腔体内壁顶部固定连接有回力弹簧。其有益效果是,该该移动式三维激光扫描仪,借助回力弹簧的弹性,能够带动第二连接板上下移动,从而带动海绵垫上下移动,避免在移动过程中扫描仪本体直接与第一腔体内壁接触,造成扫描仪本体损坏,从而保障了扫描仪本体的使用寿命,实现对扫描仪本体进行防护的目的,通过设置放置板,能够在放置板顶部放置扫描仪清洁工具,借助第二凹槽和放置板的滑动连接作用,能够实现对扫描仪清洁工具拿出使用,整个装置结构合理,使用方便,实用性强。

Figure 202022646493

The utility model belongs to the technical field of mobile three-dimensional laser scanners, and relates to a mobile three-dimensional laser scanner, which comprises a box, wherein a first cavity and a second cavity are opened in the box, and the first cavity is A return spring is fixedly connected to the top of the inner wall. The beneficial effect is that the mobile three-dimensional laser scanner can drive the second connecting plate to move up and down with the help of the elasticity of the return spring, thereby driving the sponge pad to move up and down, so as to avoid the scanner body being directly connected to the first cavity during the moving process. Wall contact, causing damage to the scanner body, thus ensuring the service life of the scanner body and achieving the purpose of protecting the scanner body. By setting the placement plate, the scanner cleaning tool can be placed on the top of the placement plate. With the help of the second groove The sliding connection with the placing plate can realize the use of the scanner cleaning tool, the whole device has a reasonable structure, is convenient to use and has strong practicability.

Figure 202022646493

Description

Movable three-dimensional laser scanner
Technical Field
The utility model belongs to the technical field of portable three-dimensional laser scanner, concretely relates to portable three-dimensional laser scanner.
Background
Three-dimensional laser scanners, also known as live-action replication technologies, are a technological revolution behind GPS technology in the field of mapping. The method breaks through the traditional single-point measurement method, has the unique advantages of high efficiency and high precision, and can provide three-dimensional point cloud data of the surface of a scanned object, so that the method can be used for acquiring a digital terrain model with high precision and high resolution.
Most three-dimensional laser scanner devices do not have the universal wheel at present, when removing three-dimensional laser scanner, need the staff mostly to carry with the hand, the physical power of staff has been wasted, staff's work load has been increased, waste time and energy, can not protect three-dimensional laser scanner device at the removal in-process simultaneously, cause the damage to the scanner easily, the protectiveness is poor to can't ensure the life of scanner.
SUMMERY OF THE UTILITY MODEL
To solve the problems set forth in the background art described above. The utility model provides a portable three-dimensional laser scanner, it has solved the protection nature poor and awkward technical problem.
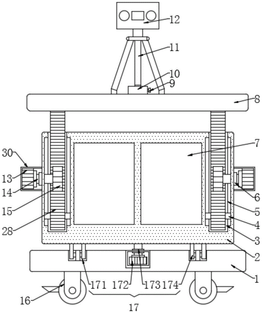
In order to achieve the above object, the utility model provides a following technical scheme: a movable three-dimensional laser scanner comprises a box body, wherein a first cavity and a second cavity are formed in the box body, a return spring is fixedly connected to the top of the inner wall of the first cavity, a second connecting plate is fixedly connected to the bottom of the return spring, second grooves are formed in two sides of the inner wall of the second cavity, a placing plate is connected in the second grooves in a sliding mode, first grooves are formed in the box body, a toothed bar is arranged in the first grooves, a gear is meshed with the front side of the toothed bar, a protective shell is fixedly connected to the side face of the box body, a first motor is fixedly connected in the protective shell, a first bearing is fixedly connected to the side face of the box body, a rotating shaft penetrates through the first bearing, one end of the rotating shaft is fixedly connected with a first motor output shaft, the other end of the rotating shaft penetrates through the first bearing and is fixedly connected with the gear, and a second supporting plate is, the utility model discloses a portable electronic device, including second backup pad, second backup pad top fixedly connected with first connecting plate, first connecting plate side threaded connection has the bolt, the bolt passes first connecting plate threaded connection and has the supporting leg, supporting leg top fixedly connected with scanner body, bottom half fixedly connected with runner assembly, the first backup pad of runner assembly bottom fixedly connected with.
As a further aspect of the present invention: the runner assembly includes the second motor, second motor fixed connection is in first backup pad, fixedly connected with second bearing in the first backup pad, the output shaft of second motor pass the second bearing and with box fixed connection, the second spout has been seted up at first backup pad top, sliding connection has the pulley in the second spout, pulley fixed connection is at the bottom half.
As a further aspect of the present invention: a first sliding groove is formed in the box body, a sliding block is connected in the first sliding groove in a sliding mode, and the sliding block is fixedly connected with the toothed bar.
As a further aspect of the present invention: the all fixedly connected with universal wheel in position that first backup pad bottom is close to the four corners, second connecting plate bottom fixedly connected with foam-rubber cushion, the equal fixedly connected with supporting pad in first cavity inner wall both sides and bottom.
As a further aspect of the present invention: the sealing door is characterized in that the front sides of the first cavity and the second cavity are movably connected with a sealing door through hinges, and the front side of the sealing door is fixedly connected with a handle.
As a further aspect of the present invention: the box front side fixedly connected with control panel, control panel passes through the wire and each uses electrical apparatus electric connection.
Compared with the prior art, the beneficial effects of the utility model are that:
1. this portable three-dimensional laser scanner, with the help of the elasticity of return spring 21, can drive second connecting plate 20 and reciprocate, thereby drive foam-rubber cushion 19 and reciprocate, avoid removing in-process scanner body 12 direct and the contact of first cavity 7 inner wall, cause scanner body 12 to damage, thereby the life of scanner body 12 has been ensured, realize carrying out the purpose of protection to scanner body 12, place the board through the setting, can place scanner burnisher at the board top of placing, with the help of the second recess and the sliding connection effect of placing the board, can realize taking out the use to scanner burnisher, thereby realize carrying out clear purpose to the scanner body.
2. This portable three-dimensional laser scanner through setting up first motor, and first motor rotates, can drive the pivot and rotate to drive gear revolve, under the meshing of gear and ratch and the sliding connection of slider and first spout, thereby drive second backup pad rebound and drive the scanner body and reciprocate, realize carrying out the purpose that goes up and down to the scanner body.
3. This portable three-dimensional laser scanner, through setting up second motor 172, second motor 172 during operation can drive box 2 and rotate to drive second backup pad 8 and rotate and drive scanner body 12 and rotate, under the sliding fit of second spout 171 and pulley 174, can make box 2 more stable rotation, through setting up the universal wheel, make things convenient for the staff to remove the scanner body, labour saving and time saving, whole device is rational in infrastructure, high durability and convenient use, the practicality is strong.
Drawings
The accompanying drawings are included to provide a further understanding of the invention, and are incorporated in and constitute a part of this specification, illustrate embodiments of the invention, and together with the description serve to explain the invention and not to limit the invention. In the drawings:
fig. 1 is a schematic structural view of a front view section of the present invention;
FIG. 2 is a front view of the present invention;
FIG. 3 is a three-dimensional structural diagram of the middle box body of the present invention;
in the figure: 1. a first support plate; 2. a box body; 3. a first groove; 4. a slider; 5. a first chute; 6. a first bearing; 7. a first cavity; 8. a second support plate; 9. a bolt; 10. a first connecting plate; 11. supporting legs; 12. a scanner body; 13. a first motor; 14. a rotating shaft; 15. a gear; 16. a universal wheel; 17. a rotating assembly; 171. a second chute; 172. a second motor; 173. a second bearing; 174. a pulley; 18. a support pad; 19. a sponge cushion; 20. a second connecting plate; 21. a return spring; 22. a second cavity; 23. a second groove; 24. placing the plate; 25. a sealing door; 26. a handle; 27. a hinge; 28. a rack bar; 29. a control panel; 30. and (4) a protective shell.
Detailed Description
The technical solutions in the embodiments of the present invention will be described clearly and completely with reference to the accompanying drawings in the embodiments of the present invention, and it is obvious that the described embodiments are only some embodiments of the present invention, not all embodiments. Based on the embodiments in the present invention, all other embodiments obtained by a person skilled in the art without creative work belong to the protection scope of the present invention.
Examples
Referring to fig. 1-3, the present invention provides the following technical solutions: a movable three-dimensional laser scanner comprises a box body 2, a first sliding chute 5 is arranged in the box body 2, a sliding block 4 is connected in the first sliding chute 5 in a sliding mode, the sliding block 4 is fixedly connected with a toothed bar 28, a first cavity 7 and a second cavity 22 are arranged in the box body 2, the front sides of the first cavity 7 and the second cavity 22 are movably connected with a sealing door 25 through a hinge 27, the front side of the sealing door 25 is fixedly connected with a handle 26, the top of the inner wall of the first cavity 7 is fixedly connected with a return spring 21, the bottom of the return spring 21 is fixedly connected with a second connecting plate 20, and the second connecting plate 20 can be driven to move up and down by means of the elasticity of the return spring 21, thereby driving the spongy cushion 19 to move up and down, avoiding the scanner body 12 from being damaged due to the fact that the scanner body 12 is directly contacted with the inner wall of the first cavity 7 in the moving process, thereby the life of scanner body 12 has been ensured, the purpose of realizing protecting scanner body 12.
Second recess 23 has been seted up to second cavity 22 inner wall both sides, and sliding connection has in second recess 23 places board 24, places board 24 through setting up, can place scanner burnisher at the board 24 top of placing, with the help of second recess 23 and the sliding connection effect of placing board 24, can realize taking out the use to scanner burnisher to the realization carries out clear purpose to scanner body 12.
First recess 3 has been seted up in the box 2, be provided with ratch 28 in the first recess 3, ratch 28 front side meshing has gear 15, box 2 side fixedly connected with protecting crust 30, the first motor 13 of fixedly connected with in the protecting crust 30, box 2 side fixedly connected with first bearing 6, wear to be equipped with pivot 14 in the first bearing 6, 14 one end of pivot and first motor 13 output shaft fixed connection, the other end of pivot 14 pass first bearing 6 and with gear 15 fixed connection, through setting up first motor 13, first motor 13 during operation, can drive pivot 14 and rotate, thereby drive gear 15 and rotate, under the meshing of gear 15 and ratch 28 and the sliding connection of slider 4 and first spout 5, thereby it moves up and drive scanner body 12 and reciprocate to drive second backup pad 8, the realization is gone up and down to scanner body 12 the mesh of going on going up and down.
28 top fixedly connected with second backup pad 8 of ratch, 8 top fixedly connected with first connecting plate 10 of second backup pad, and threaded connection has bolt 9 in the side of first connecting plate 10, and bolt 9 passes first connecting plate 10 threaded connection and has supporting leg 11, and supporting leg 11 top fixedly connected with scanner body 12, 2 bottom fixedly connected with rotating assembly 17 of box, rotating assembly 17 bottom fixedly connected with first backup pad 1.
Specifically, rotating assembly 17 includes second motor 172, second motor 172 fixed connection is in first backup pad 1, fixedly connected with second bearing 173 in first backup pad 1, the output shaft of second motor 172 pass second bearing 173 and with box 2 fixed connection, second spout 171 has been seted up at first backup pad 1 top, sliding connection has pulley 174 in second spout 171, pulley 174 fixed connection is in the box 2 bottom, through setting up second motor 172, second motor 172 during operation, can drive box 2 and rotate, thereby it rotates and drives scanner body 12 rotation to drive second backup pad 8, under the sliding fit of second spout 171 and pulley 174, can make the more stable rotation of box 2.
Specifically, 1 bottom of first backup pad is close to the equal fixedly connected with universal wheel 16 in position in four corners, through setting up universal wheel 16, make things convenient for the staff to remove scanner body 12, time saving and labor saving, second connecting plate 20 bottom fixedly connected with foam-rubber cushion 19, the equal fixedly connected with supporting pad 18 in first cavity 7 inner wall both sides and bottom, 2 front side fixedly connected with control panel 29 of box, control panel 29 passes through wire and each uses electrical apparatus electric connection, through setting up control panel 29, make things convenient for the user of service to control each operating condition with electrical apparatus.
The utility model discloses a theory of operation does:
s1, when the height adjusting device is used, the sealing door 25 on the front side of the first cavity 7 can be opened to take out the scanner body 12, then the supporting legs 11 are placed in the first connecting plate 10, then the bolts 9 are screwed down to fix the supporting legs, the first motor 13 rotates in the positive direction to drive the rotating shaft 14 to rotate along with the starting of the first motor 13, so that the gear 15 is driven to rotate, the second supporting plate 8 moves upwards to drive the scanner body 12 to move upwards under the meshing of the gear 15 and the toothed bar 28 and the sliding connection of the sliding block 4 and the first sliding groove 5, the scanner body 12 can be lifted, and after the height adjusting is finished, the first motor 13 stops rotating, so that the scanner body 12 can be operated and used;
s2, when different directions need to be measured in the using process, the second motor 172 can be turned on, the second motor 172 rotates to drive the box body 2 to rotate, the second supporting plate 8 is driven to rotate to drive the scanner body 12 to rotate, the case 2 is more stably rotated by the sliding engagement of the pulley 174 and the second chute 171, after the azimuth is adjusted, the second motor 172 is turned off, and after the use, the first motor 13 rotates reversely, so that the second supporting plate 8 descends to drive the scanner body 12 to descend, then the bolt 9 is loosened, the scanner body 12 is removed, then the second connecting plate 20 is pushed upward by the elastic force of the return spring 21 to place the scanner body 12 in the first chamber 7, then the sealing door 25 is closed, then the box body 2 can be moved under the action of the universal wheels 16, so that the physical strength of workers is saved, and time and labor are saved;
s3, can cause vibrations to box 2 at the removal in-process, thereby under the spring action of return spring 21, drive second connecting plate 20 and reciprocate and drive foam-rubber cushion 19 and reciprocate this moment, avoid at the removal in-process scanner body 12 direct and the contact of first cavity 7 inner wall, cause scanner body 12 to damage, and then protect scanner body 12 can.
In the description of the present invention, it is to be understood that the terms "first", "second" and "first" are used for descriptive purposes only and are not to be construed as indicating or implying relative importance or implying any number of technical features indicated. Thus, a feature defined as "first" or "second" may explicitly or implicitly include one or more of that feature. In the description of the present invention, "a plurality" means two or more unless specifically limited otherwise.
In the present invention, unless otherwise expressly stated or limited, the terms "mounted," "connected," and "fixed" are to be construed broadly and may, for example, be fixedly connected, detachably connected, or integrally formed; can be mechanically or electrically connected; can be directly connected or indirectly connected through an intermediate medium; either as communication within the two elements or as an interactive relationship of the two elements. The specific meaning of the above terms in the present invention can be understood according to specific situations by those skilled in the art.
In the present application, unless otherwise expressly stated or limited, a first feature may be "on" or "under" a second feature, and the first and second features may be in direct contact, or the first and second features may be in indirect contact via an intermediate. Also, a first feature "on," "above," and "over" a second feature may be directly or obliquely above the second feature, or simply mean that the first feature is at a higher level than the second feature. A first feature being "under," "below," and "beneath" a second feature may be directly under or obliquely under the second feature, or may simply mean that the first feature is at a lower level than the second feature.
In the description herein, the description of the terms "one embodiment," "some embodiments," "an embodiment," "an example," "a specific example" or "some examples" or the like, means that a particular feature, structure, material, or characteristic described in connection with the embodiment or example is included in at least one embodiment or example of the invention. In this specification, the schematic representations of the terms used above are not necessarily intended to refer to the same embodiment or example. Furthermore, the particular features, structures, materials, or characteristics described may be combined in any suitable manner in any one or more embodiments or examples. Furthermore, various embodiments or examples and features of different embodiments or examples described in this specification can be combined and combined by one skilled in the art without contradiction.
While embodiments of the present invention have been shown and described, it is to be understood that the above embodiments are exemplary and should not be construed as limiting the present invention, and that modifications, alterations, substitutions and variations may be made to the above embodiments by those of ordinary skill in the art without departing from the scope of the present invention.

Claims (6)

1. The utility model provides a portable three-dimensional laser scanner, includes box (2), its characterized in that: a first cavity (7) and a second cavity (22) are arranged in the box body (2), a return spring (21) is fixedly connected to the top of the inner wall of the first cavity (7), a second connecting plate (20) is fixedly connected to the bottom of the return spring (21), second grooves (23) are formed in two sides of the inner wall of the second cavity (22), a placing plate (24) is connected to the second grooves (23) in a sliding mode, first grooves (3) are formed in the box body (2), toothed bars (28) are arranged in the first grooves (3), gears (15) are meshed with the front sides of the toothed bars (28), a protective shell (30) is fixedly connected to the side face of the box body (2), a first motor (13) is fixedly connected to the inner side face of the protective shell (30), a first bearing (6) is fixedly connected to the side face of the box body (2), and a rotating shaft (14) penetrates through the first bearing (6), pivot (14) one end and first motor (13) output shaft fixed connection, the other end of pivot (14) pass first bearing (6) and with gear (15) fixed connection, ratch (28) top fixedly connected with second backup pad (8), first backup pad (8) top fixedly connected with first connecting plate (10), first connecting plate (10) side threaded connection has bolt (9), bolt (9) pass first connecting plate (10) threaded connection has supporting leg (11), supporting leg (11) top fixedly connected with scanner body (12), box (2) bottom fixedly connected with runner assembly (17), runner assembly (17) bottom fixedly connected with first backup pad (1).
2. The mobile three-dimensional laser scanner of claim 1, wherein: rotating assembly (17) includes second motor (172), second motor (172) fixed connection is in first backup pad (1), fixedly connected with second bearing (173) in first backup pad (1), the output shaft of second motor (172) pass second bearing (173) and with box (2) fixed connection, second spout (171) have been seted up at first backup pad (1) top, sliding connection has pulley (174) in second spout (171), pulley (174) fixed connection is in box (2) bottom.
3. The mobile three-dimensional laser scanner of claim 1, wherein: a first sliding groove (5) is formed in the box body (2), a sliding block (4) is connected in the first sliding groove (5) in a sliding mode, and the sliding block (4) is fixedly connected with a toothed bar (28).
4. The mobile three-dimensional laser scanner of claim 1, wherein: the all fixedly connected with universal wheel (16) in position that first backup pad (1) bottom is close to the four corners, second connecting plate (20) bottom fixedly connected with foam-rubber cushion (19), the equal fixedly connected with supporting pad (18) in first cavity (7) inner wall both sides and bottom.
5. The mobile three-dimensional laser scanner of claim 1, wherein: the sealing door is characterized in that the front sides of the first cavity (7) and the second cavity (22) are movably connected with a sealing door (25) through a hinge (27), and the front side of the sealing door (25) is fixedly connected with a handle (26).
6. The mobile three-dimensional laser scanner of claim 1, wherein: the front side of the box body (2) is fixedly connected with a control panel (29), and the control panel (29) is electrically connected with each electric appliance through a wire.
CN202022646493.XU 2020-11-16 2020-11-16 Movable three-dimensional laser scanner Expired - Fee Related CN213301120U (en)

Priority Applications (1)

Application Number Priority Date Filing Date Title
CN202022646493.XU CN213301120U (en) 2020-11-16 2020-11-16 Movable three-dimensional laser scanner

Applications Claiming Priority (1)

Application Number Priority Date Filing Date Title
CN202022646493.XU CN213301120U (en) 2020-11-16 2020-11-16 Movable three-dimensional laser scanner

Publications (1)

Publication Number Publication Date
CN213301120U true CN213301120U (en) 2021-05-28

Family

ID=76016826

Family Applications (1)

Application Number Title Priority Date Filing Date
CN202022646493.XU Expired - Fee Related CN213301120U (en) 2020-11-16 2020-11-16 Movable three-dimensional laser scanner

Country Status (1)

Country Link
CN (1) CN213301120U (en)

Cited By (2)

* Cited by examiner, † Cited by third party
Publication number Priority date Publication date Assignee Title
CN113465537A (en) * 2021-06-30 2021-10-01 北京几何维度科技有限公司 Three-dimensional laser scanner and system thereof
WO2023035961A1 (en) * 2021-09-09 2023-03-16 舟山市质量技术监督检测研究院 Moving device for three-dimensional scanner

Cited By (2)

* Cited by examiner, † Cited by third party
Publication number Priority date Publication date Assignee Title
CN113465537A (en) * 2021-06-30 2021-10-01 北京几何维度科技有限公司 Three-dimensional laser scanner and system thereof
WO2023035961A1 (en) * 2021-09-09 2023-03-16 舟山市质量技术监督检测研究院 Moving device for three-dimensional scanner

Similar Documents

Publication Publication Date Title
CN213301120U (en) Movable three-dimensional laser scanner
CN210255446U (en) Two-sided grinding device of new energy automobile spare part
CN112171509A (en) Two-sided grinding device of new energy automobile spare part
CN216066923U (en) Surface treatment device for processing mobile phone rear shell
CN210359580U (en) Filing plane device for die steel plate
CN216967306U (en) False tooth polishing device
CN112621475A (en) Machine parts burnishing and polishing device
CN208496640U (en) A kind of vertical grading material device for the processing of battery graphite electrode stick
CN220172648U (en) Distribution box for comprehensive monitoring
CN218801221U (en) New energy automobile battery tray processing is with inhaling bits device of polishing
CN210790292U (en) Internal combustion engine connecting rod hole rough machining device
CN211708873U (en) Spring processing grinding device
CN217344885U (en) Full-automatic polishing device for mobile phone injection mold
CN218610554U (en) Cleaning equipment
CN216383345U (en) Solar photovoltaic power generation monitoring device
CN214412665U (en) Photovoltaic board is from cleaning device mounting structure
CN213970462U (en) Furniture production is with equipment of polishing
CN211027167U (en) New energy automobile is environmental protection dust collector for casing
CN211414636U (en) Deckle edge remove device for cold rolling
CN210524788U (en) Rotor burnishing device is used in new energy automobile driving motor production
CN219633430U (en) Reversible polishing machine
CN210588715U (en) A kind of polishing machine for copper alloy preparation and production
CN217573350U (en) Photovoltaic base pouring mold
CN218556355U (en) Tool closing device is used in mould processing
CN222831578U (en) Segment sand device of grinding apparatus abrasive material

Legal Events

Date Code Title Description
GR01 Patent grant
GR01 Patent grant
CF01 Termination of patent right due to non-payment of annual fee
CF01 Termination of patent right due to non-payment of annual fee

Granted publication date: 20210528

Termination date: 20211116