CN213144696U - Energy-saving air compressor with high-efficient heat dissipation function - Google Patents
Energy-saving air compressor with high-efficient heat dissipation function Download PDFInfo
- Publication number
- CN213144696U CN213144696U CN202021070260.3U CN202021070260U CN213144696U CN 213144696 U CN213144696 U CN 213144696U CN 202021070260 U CN202021070260 U CN 202021070260U CN 213144696 U CN213144696 U CN 213144696U
- Authority
- CN
- China
- Prior art keywords
- air compressor
- heat dissipation
- energy
- fixedly connected
- casing
- Prior art date
- Legal status (The legal status is an assumption and is not a legal conclusion. Google has not performed a legal analysis and makes no representation as to the accuracy of the status listed.)
- Expired - Fee Related
Links
- 230000017525 heat dissipation Effects 0.000 title claims abstract description 22
- 239000000428 dust Substances 0.000 claims abstract description 49
- 238000010521 absorption reaction Methods 0.000 claims abstract description 25
- 241000883990 Flabellum Species 0.000 claims description 4
- 230000000694 effects Effects 0.000 abstract description 5
- 238000000034 method Methods 0.000 abstract description 4
- 238000004140 cleaning Methods 0.000 description 4
- 230000007613 environmental effect Effects 0.000 description 3
- 230000006978 adaptation Effects 0.000 description 1
- 230000002411 adverse Effects 0.000 description 1
- 230000009286 beneficial effect Effects 0.000 description 1
- 238000001816 cooling Methods 0.000 description 1
- 230000007547 defect Effects 0.000 description 1
- 238000010586 diagram Methods 0.000 description 1
- 238000012986 modification Methods 0.000 description 1
- 230000004048 modification Effects 0.000 description 1
- 239000002699 waste material Substances 0.000 description 1
Images
Landscapes
- Structures Of Non-Positive Displacement Pumps (AREA)
Abstract
The utility model discloses an energy-saving air compressor machine with high-efficient heat dissipation function belongs to air compressor machine technical field, and it includes the casing, the equal joint in upper and lower two surfaces of casing has dust absorption board, two the back of the body of dust absorption board is linked together through the front of connecting pipe with the dust catcher, dust catcher fixed connection is in the front of bottom plate, bottom plate fixed connection is at the back of casing, the equal fixedly connected with a plurality of fin in upper and lower both sides at the shells inner wall back, the surface of fin is provided with the brush. This energy-saving air compressor machine with high-efficient heat dissipation function through the dust catcher, connecting pipe, dust absorption board, dust absorption head, draw mutually supporting between handle, slide bar, spring and the brush, has not only made things convenient for the work that the staff cleared up the fin, has still guaranteed the good radiating effect of fin, and the clearance process of this device is comparatively convenient moreover, and labour saving and time saving to staff's use work has been made things convenient for.
Description
Technical Field
The utility model belongs to the technical field of the air compressor machine, specifically be an energy-saving air compressor machine with high-efficient heat dissipation function.
Background
From the development of the green environmental protection industry advocated by the nation, the energy-saving modification of the air compressor is imperative, the traditional air compressor of the old technology will be more and more unsuitable for the energy-saving and environmental protection requirements of enterprises, and the energy-saving air compressor is more and more favored by numerous enterprises due to the high efficiency, low consumption and environmental protection.
In the using process of the energy-saving air compressor, in order to reduce adverse effects of heat generated by the air compressor during working on the air compressor, a plurality of radiating fins are often arranged for radiating, and due to the influence of dust, after the air compressor runs for a period of time, the dust is easily accumulated on the surfaces of the radiating fins, so that the radiating fins must be cleaned, otherwise, the radiating effect of the radiating fins is increasingly poor, but when the radiating fins are required to be cleaned, workers are often required to disassemble the machine case and manually clean the machine case, so that the normal use of the air compressor is influenced, long time can be wasted, the labor intensity is high, and the air compressor is not convenient for people to use, and therefore, the energy-saving air compressor which is convenient for cleaning the radiating fins and has a high-efficiency radiating function is required to solve the problems.
SUMMERY OF THE UTILITY MODEL
Technical problem to be solved
In order to overcome the above defect of prior art, the utility model provides an energy-saving air compressor machine with high-efficient heat dissipation function has solved when needs clear up the fin, often just needs the staff to unpack the machine case apart the back and manually clear up, not only can influence the normal use of air compressor machine, can waste longer time moreover, and intensity of labour is also bigger to the problem that people used not convenient for.
(II) technical scheme
In order to achieve the above object, the utility model provides a following technical scheme: the utility model provides an energy-saving air compressor machine with high-efficient heat dissipation function, includes the casing, the equal joint in upper and lower two surfaces of casing has dust absorption board, two the back of the body of dust absorption board is linked together through the front of connecting pipe with the dust catcher, dust catcher fixed connection is in the front of bottom plate, bottom plate fixed connection is at the back of casing, the equal fixedly connected with a plurality of fin in upper and lower both sides at the shells inner wall back, the surface of fin is provided with the brush, the brush joint is in the front of connecting plate.
The improved air compressor comprises a connecting plate, and is characterized in that two sliders are fixedly connected to the upper surface of the connecting plate, the sliders are connected to the inside of the sliding grooves in a sliding mode, the sliding grooves are formed in the upper surface of the inner wall of the shell, the back of the inner wall of the sliding grooves is fixedly connected with the back of the sliders through springs, two sliding rods are fixedly connected to the front of the connecting plate, the sliding rods are connected to the sliding sleeves in a sleeved mode, the sliding sleeves are connected to the front of the shell in a clamped mode, an air compressor body is fixedly connected to the.
As a further aspect of the present invention: the slider shape sets up to the T shape, the shape of spout and the shape looks adaptation of slider.
As a further aspect of the present invention: the slide bar fixed connection is at the back of connecting rod, two the equal joint of connecting rod is in same pull.
As a further aspect of the present invention: the lower surface of dust absorption board is provided with the dust absorption head, the quantity of dust absorption head sets up to a plurality of.
As a further aspect of the present invention: the heat dissipation device comprises a motor, the motor is fixedly connected to the right side face of the air compressor body, and an output shaft of the motor is clamped in the fan blades.
As a further aspect of the present invention: the equal joint of the left and right sides face of casing has the filter screen, the connecting tube shape sets up to the Y shape.
(III) advantageous effects
Compared with the prior art, the beneficial effects of the utility model reside in that:
1. this energy-saving air compressor machine with high-efficient heat dissipation function, through the suction cleaner, the connecting pipe, the dust absorption board, the dust absorption head, draw the handle, the slide bar, mutually support between spring and the brush, when needs use, through drawing the cooperation of handle and spring, make it can control slide bar reciprocating motion all around, make the brush clear up the fin around can, the simultaneous control suction cleaner is taken the dust out through the dust absorption head, not only made things convenient for the staff to carry out the work of clearing up to the fin, the good radiating effect of fin has still been guaranteed, and the clearance process of this device is comparatively convenient, and labour saving and time saving, thereby staff's use work has been made things convenient for.
2. This energy-saving air compressor machine with high-efficient heat dissipation function, through setting up motor and flabellum, and drive the high-speed rotation of flabellum through the control motor for the flabellum can be with the air quick discharge of casing, thereby conveniently carries out radiating work to the air compressor machine body.
3. This energy-saving air compressor machine with high-efficient heat dissipation function through setting up the filter screen, and the filter screen can guarantee the circulation of the inside air of casing and external air to can guarantee the normal clear of this device heat dissipation work.
Drawings
Fig. 1 is a schematic front view of a cross-sectional structure of the present invention;
FIG. 2 is a schematic diagram of the right-side cross-sectional structure of the present invention;
fig. 3 is an enlarged schematic structural view at a position a of the present invention;
FIG. 4 is a front view of the pull handle of the present invention;
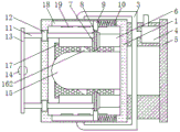
in the figure: the dust collector comprises a shell 1, a dust collection plate 2, a connecting pipe 3, a dust collector 4, a bottom plate 5, a heat radiating fin 6, a hairbrush 7, a connecting plate 8, a sliding block 9, a spring 10, a sliding rod 11, a sliding sleeve 12, a connecting rod 13, a pull handle 14, an air compressor body 15, a heat radiating device 16, a motor 161, fan blades 162, a filter screen 17, a sliding chute 18 and a dust collection head 19.
Detailed Description
The technical solution of the present patent will be described in further detail with reference to the following embodiments.
As shown in fig. 1-4, the utility model provides a technical solution: an energy-saving air compressor with high-efficient heat dissipation function, including the body 1, the left and right sides of the body 1 has the joint of the filter screen 17, through setting up the filter screen 17, and the filter screen 17 can guarantee the circulation of air inside the body 1 and air of the external world, thus can guarantee the normal operation of the heat dissipation work of the apparatus, the upper and lower surfaces of the body 1 have joint of the dust absorption board 2, the lower surface of the dust absorption board 2 has dust absorption heads 19, the quantity of the dust absorption head 19 sets up to several, through setting up the dust absorption head 19, and the quantity of the dust absorption head 19 sets up to several, make it not only facilitate the dust absorption work of the dust collector 4, have increased the dust absorption area, the back of two dust absorption boards 2 is linked together through the connecting pipe 3 and the front of the dust collector 4, the shape of the connecting pipe 3 sets up to Y, through setting up the connecting pipe 3, and the shape of the connecting pipe 3 sets up to Y, further made things convenient for the dust absorption work of dust catcher 4, 4 fixed connection of dust catcher are in the front of bottom plate 5, and 5 fixed connection of bottom plate are at the back of casing 1, the equal fixedly connected with a plurality of fin 6 in upper and lower both sides at the casing 1 inner wall back, and the surface of fin 6 is provided with brush 7, through setting up brush 7 to the work of clearing up is carried out on the surface to fin 6 to the convenience, and the joint of brush 7 is in the front of connecting plate 8.
The upper surface of the connecting plate 8 is fixedly connected with two sliding blocks 9, the sliding blocks 9 are connected in the sliding grooves 18 in a sliding mode, the shapes of the sliding blocks 9 are T-shaped, the shapes of the sliding grooves 18 are matched with the shapes of the sliding blocks 9, the sliding blocks 9 and the sliding grooves 18 are arranged, the sliding blocks 9 can slide more stably in the sliding grooves 18 by arranging the sliding blocks 9 and the sliding grooves 18, the sliding stability of the connecting plate 8 can be ensured, the sliding blocks 9 can provide supporting points for the springs 10 to ensure the normal work of the springs 10, the sliding grooves 18 are formed in the upper surface of the inner wall of the shell 1, the back surface of the inner wall of the sliding grooves 18 is fixedly connected with the back surface of the sliding blocks 9 through the springs 10, the springs 10 are arranged, the springs 10 can drive the brush 7 to move backwards by utilizing the pulling force of the springs 10, the work of cleaning the heat dissipation fins 6 backwards by the brush 7 is facilitated, the front of the connecting plate 8 is fixedly connected with two sliding rods 11, the sliding rods 11 are fixedly connected with the back of the connecting rods 13, the two connecting rods 13 are all clamped in the same pull handle 14, the pull handle 14 is arranged, and the pull handle 14 can connect the four sliding rods 11 through the two connecting rods 13, so that workers can conveniently control the work of cleaning the radiating fins 6 from the front to the back of the upper brush 7 and the lower brush 7, the sliding rods 11 are sleeved in the sliding sleeves 12, the sliding sleeves 12 are arranged, so that the stable sliding work of the sliding rods 11 can be ensured, the sliding sleeves 12 are clamped on the front of the shell 1, the air compressor body 15 is fixedly connected in the shell 1, the left side surface and the right side surface of the air compressor body 15 are both fixedly connected with radiating devices 16, each radiating device 16 comprises a motor 161, the motor 161 is fixedly connected on the right side surface, and the fan blade 162 is driven to rotate at a high speed by controlling the motor 161, so that the fan blade 162 can rapidly exhaust the air in the casing 1, thereby facilitating the heat dissipation of the air compressor body 15.
The utility model discloses a theory of operation does:
s1, when the radiator is needed, a worker pulls the pull handle 14 forwards, so that the pull handle 14 drives the slide rod 11 to move forwards through the connecting rod 13, the slide rod 11 drives the connecting plate 8 to move forwards, and the connecting plate 8 drives the brush 7 to move forwards to clean the surface of the radiator 6;
s2, the connecting plate 8 drives the spring 10 to extend through the sliding block 9, when the brush 7 moves forwards to a proper position, the pull handle 14 is loosened, and the spring 10 drives the brush 7 to clean the radiating fins 6 backwards by utilizing the pulling force of the spring 10;
s3, when the brush 7 is reset backwards, the brush 7 is pulled to move forwards again, so that the cooling fins 6 are cleaned back and forth through the cooperation of the spring 10, and meanwhile, in the cleaning process, the dust collector 4 is controlled to work, so that the dust cleaned by the brush 7 is sucked by the dust collector 4 through the dust collection head 19 and is discharged.
In the description of the present invention, it is to be noted that, unless otherwise explicitly specified or limited, the terms "mounted," "connected," and "connected" are to be construed broadly, and may be, for example, fixedly connected, detachably connected, or integrally connected; can be mechanically or electrically connected; they may be connected directly or indirectly through intervening media, or they may be interconnected between two elements. The specific meaning of the above terms in the present invention can be understood by those of ordinary skill in the art through specific situations.
Although the preferred embodiments of the present patent have been described in detail, the present patent is not limited to the above embodiments, and various changes can be made without departing from the spirit of the present patent within the knowledge of those skilled in the art.
Claims (6)
1. The utility model provides an energy-saving air compressor machine with high-efficient heat dissipation function, includes casing (1), its characterized in that: the dust collection plate is clamped on the upper surface and the lower surface of the shell (1), the back surfaces of the two dust collection plates (2) are communicated with the front surface of a dust collector (4) through a connecting pipe (3), the dust collector (4) is fixedly connected to the front surface of a bottom plate (5), the bottom plate (5) is fixedly connected to the back surface of the shell (1), a plurality of radiating fins (6) are fixedly connected to the upper side and the lower side of the back surface of the inner wall of the shell (1), brushes (7) are arranged on the outer surfaces of the radiating fins (6), and the brushes (7) are clamped on the front surface of a connecting plate (8);
the utility model discloses a compressor, including casing (1), upper surface fixedly connected with of connecting plate (8) has two sliders (9), slider (9) sliding connection is in spout (18), the upper surface at casing (1) inner wall is seted up in spout (18), the back of spout (18) inner wall passes through the back fixed connection of spring (10) and slider (9), two slide bars (11) of positive fixedly connected with of connecting plate (8), slide bar (11) cup joint in sliding sleeve (12), sliding sleeve (12) joint is in the front of casing (1), fixedly connected with air compressor body (15) in casing (1), the equal fixedly connected with heat abstractor (16) of the left and right sides face of air compressor body (15).
2. The energy-saving air compressor with high-efficient heat dissipation function of claim 1, characterized in that: the slider (9) is T-shaped, and the chute (18) is matched with the slider (9) in shape.
3. The energy-saving air compressor with high-efficient heat dissipation function of claim 1, characterized in that: the slide bar (11) is fixedly connected to the back of the connecting rod (13), and the two connecting rods (13) are clamped in the same pull handle (14).
4. The energy-saving air compressor with high-efficient heat dissipation function of claim 1, characterized in that: the lower surface of dust absorption board (2) is provided with dust absorption head (19), the quantity of dust absorption head (19) sets up to a plurality of.
5. The energy-saving air compressor with high-efficient heat dissipation function of claim 1, characterized in that: heat abstractor (16) includes motor (161), motor (161) fixed connection is at the right flank of air compressor machine body (15), the output shaft joint of motor (161) is in flabellum (162).
6. The energy-saving air compressor with high-efficient heat dissipation function of claim 1, characterized in that: the equal joint of the left and right sides face of casing (1) has filter screen (17), connecting pipe (3) shape sets up to Y shape.
Priority Applications (1)
| Application Number | Priority Date | Filing Date | Title |
|---|---|---|---|
| CN202021070260.3U CN213144696U (en) | 2020-06-11 | 2020-06-11 | Energy-saving air compressor with high-efficient heat dissipation function |
Applications Claiming Priority (1)
| Application Number | Priority Date | Filing Date | Title |
|---|---|---|---|
| CN202021070260.3U CN213144696U (en) | 2020-06-11 | 2020-06-11 | Energy-saving air compressor with high-efficient heat dissipation function |
Publications (1)
| Publication Number | Publication Date |
|---|---|
| CN213144696U true CN213144696U (en) | 2021-05-07 |
Family
ID=75724954
Family Applications (1)
| Application Number | Title | Priority Date | Filing Date |
|---|---|---|---|
| CN202021070260.3U Expired - Fee Related CN213144696U (en) | 2020-06-11 | 2020-06-11 | Energy-saving air compressor with high-efficient heat dissipation function |
Country Status (1)
| Country | Link |
|---|---|
| CN (1) | CN213144696U (en) |
Cited By (1)
| Publication number | Priority date | Publication date | Assignee | Title |
|---|---|---|---|---|
| CN114151311A (en) * | 2021-11-24 | 2022-03-08 | 海口风力达压缩机有限公司 | Energy-saving air compressor with fault detection function |
-
2020
- 2020-06-11 CN CN202021070260.3U patent/CN213144696U/en not_active Expired - Fee Related
Cited By (2)
| Publication number | Priority date | Publication date | Assignee | Title |
|---|---|---|---|---|
| CN114151311A (en) * | 2021-11-24 | 2022-03-08 | 海口风力达压缩机有限公司 | Energy-saving air compressor with fault detection function |
| CN114151311B (en) * | 2021-11-24 | 2024-02-20 | 海口风力达压缩机有限公司 | Energy-saving air compressor with fault detection function |
Similar Documents
| Publication | Publication Date | Title |
|---|---|---|
| CN216223413U (en) | Full-automatic back-blowing dust removal system | |
| CN213144696U (en) | Energy-saving air compressor with high-efficient heat dissipation function | |
| CN216844985U (en) | A ventilation unit for building engineering building | |
| CN220471792U (en) | Energy-saving ventilation dust removal equipment for building | |
| CN212470814U (en) | Interior wall grinding equipment for construction engineering | |
| CN220269717U (en) | High-efficiency energy-saving condenser with self-cleaning function | |
| CN219293427U (en) | Machining milling machine equipment with collection function | |
| CN218589976U (en) | Sack cleaning device of sack cleaner | |
| CN217235997U (en) | Clean factory building energy-saving equipment in tall and big space based on EC fan uses | |
| CN216537427U (en) | High-efficiency energy-saving bipolar screw type air compressor | |
| CN211051092U (en) | Cleaning device for air conditioner filter screen | |
| CN214638834U (en) | Robot integrating cleaning and dust collection | |
| CN212119180U (en) | A cleaning mechanism for a sewage source heat pump | |
| CN212069604U (en) | Cleaning mechanism capable of cleaning delivered goods | |
| CN211834189U (en) | Leftover material cleaning device for clothing production | |
| CN211059035U (en) | Axial fan convenient to remove | |
| CN216095013U (en) | Large uninterrupted power supply for machine room | |
| CN220635438U (en) | A kind of motor processing dust removal device | |
| CN112443473A (en) | Heat dissipation assembly used during working based on air compressor and heat dissipation method thereof | |
| CN214766213U (en) | Multi-stage bristle dividing machine for mane brick | |
| CN219853003U (en) | An assembly machine with a protective structure | |
| CN218772287U (en) | Home gateway equipment | |
| CN215587227U (en) | Portable equipment sweeper | |
| CN223634857U (en) | A filter-type oil-free energy-saving air compressor | |
| CN222608736U (en) | A slide table for gantry type deep hole drilling machine tool processing |
Legal Events
| Date | Code | Title | Description |
|---|---|---|---|
| GR01 | Patent grant | ||
| GR01 | Patent grant | ||
| CF01 | Termination of patent right due to non-payment of annual fee | ||
| CF01 | Termination of patent right due to non-payment of annual fee |
Granted publication date: 20210507 |