CN213071756U - Closed outdoor switch cabinet body with theftproof function - Google Patents

Closed outdoor switch cabinet body with theftproof function Download PDF

Info

Publication number
CN213071756U
CN213071756U CN202020941570.1U CN202020941570U CN213071756U CN 213071756 U CN213071756 U CN 213071756U CN 202020941570 U CN202020941570 U CN 202020941570U CN 213071756 U CN213071756 U CN 213071756U
Authority
CN
China
Prior art keywords
fixedly connected
switch cabinet
box door
sides
baffle
Prior art date
Legal status (The legal status is an assumption and is not a legal conclusion. Google has not performed a legal analysis and makes no representation as to the accuracy of the status listed.)
Expired - Fee Related
Application number
CN202020941570.1U
Other languages
Chinese (zh)
Inventor
何帆
施春云
陈隆定
刘俊
王家盼
罗建松
Current Assignee (The listed assignees may be inaccurate. Google has not performed a legal analysis and makes no representation or warranty as to the accuracy of the list.)
Yunnan Yuntu Intelligent Manufacturing Electrical Co ltd
Original Assignee
Yunnan Yuntu Intelligent Manufacturing Electrical Co ltd
Priority date (The priority date is an assumption and is not a legal conclusion. Google has not performed a legal analysis and makes no representation as to the accuracy of the date listed.)
Filing date
Publication date
Application filed by Yunnan Yuntu Intelligent Manufacturing Electrical Co ltd filed Critical Yunnan Yuntu Intelligent Manufacturing Electrical Co ltd
Priority to CN202020941570.1U priority Critical patent/CN213071756U/en
Application granted granted Critical
Publication of CN213071756U publication Critical patent/CN213071756U/en
Expired - Fee Related legal-status Critical Current
Anticipated expiration legal-status Critical

Links

Images

Landscapes

  • Lock And Its Accessories (AREA)

Abstract

本实用新型公开了一种具有防盗功能的封闭式户外开关柜柜体,包括安装底板,安装底板的顶部固定连接有壳体,壳体两侧的底部均固定连接有第一挡板,安装底板顶部的两侧均固定连接有固定块。本实用新型通过设置第一箱门、固定块、连接锁、第一把手、控制主体、第一滑块、摄像头主体、滑槽、第二滑块、第二挡板、电动伸缩杆、第二箱门、连接板、数据转接插口、存储卡、凸起、行程开关和凹槽配合使用,具有防盗性好和可拍摄意外开启人员外貌特征的优点,解决了现有的户外开关柜防盗性较差,存在一定的安全隐患,且无法拍摄意外开启开关柜的人员外貌特征,不便于后续对意外开启人员的追踪和排查,降低了户外开关柜实用性的问题。

Figure 202020941570

The utility model discloses a closed-type outdoor switch cabinet with anti-theft function, which comprises an installation bottom plate, the top of the installation bottom plate is fixedly connected with a casing, the bottoms of both sides of the casing are fixedly connected with a first baffle plate, and the installation bottom plate is fixedly connected with a first baffle plate. Both sides of the top are fixedly connected with fixing blocks. The utility model is provided with a first box door, a fixed block, a connection lock, a first handle, a control body, a first slider, a camera body, a chute, a second slider, a second baffle, an electric telescopic rod, and a second box. The door, connecting plate, data transfer socket, memory card, protrusion, travel switch and groove are used together, which has the advantages of good anti-theft performance and the appearance characteristics of people who accidentally open it, which solves the problem of the existing outdoor switch cabinet. Poor, there are certain safety hazards, and it is impossible to photograph the appearance characteristics of people who accidentally open the switchgear, which is not convenient for subsequent tracking and investigation of people who accidentally open the switchgear, which reduces the practicality of the outdoor switchgear.

Figure 202020941570

Description

Closed outdoor switch cabinet body with theftproof function
Technical Field
The utility model relates to an outdoor switch cabinet technical field specifically is a closed outdoor switch cabinet body with theftproof function.
Background
The switch cabinet is an electrical device, the exterior line of the switch cabinet firstly enters a main control switch in the cabinet and then enters a branch control switch, each branch circuit is arranged according to the requirement, such as an instrument, an automatic control, a motor magnetic switch, various alternating current contactors and the like, some switch cabinets are also provided with a high-voltage chamber and a low-voltage chamber, high-voltage buses are arranged, such as a power plant and the like, some switch cabinets are also provided with low-frequency load shedding for protecting main equipment, and the switch cabinet is mainly used for opening, closing, controlling and protecting the electrical equipment in the process of power generation, power transmission, power distribution and electric energy conversion of an electric power system.
Along with the development of science and technology's progress and society, derive outdoor switch cabinet gradually and be used for saving certain electrical facilities, current outdoor switch cabinet theftproof nature is relatively poor, has certain potential safety hazard, and can't shoot the personnel's outward appearance characteristic that the cubical switchboard was opened to the accident, the follow-up pursuit and the investigation to the personnel that open the cubical switchboard to the accident of being not convenient for have reduced outdoor switch cabinet's practicality.
SUMMERY OF THE UTILITY MODEL
An object of the utility model is to provide a closed outdoor switch cabinet body with theftproof function possesses the theftproof nature and well and can shoot the unexpected advantage of opening personnel's outward appearance characteristic, and it is relatively poor to have solved current outdoor switch cabinet theftproof nature, has certain potential safety hazard, and can't shoot the unexpected personnel's outward appearance characteristic of opening the cubical switchboard, and follow-up pursuit and the investigation to the unexpected personnel of opening of being not convenient for have reduced the problem of outdoor switch cabinet practicality.
In order to achieve the above object, the utility model provides a following technical scheme: a closed outdoor switch cabinet body with an anti-theft function comprises a mounting bottom plate, wherein the top of the mounting bottom plate is fixedly connected with a shell, the bottoms of the two sides of the shell are fixedly connected with a first baffle, the two sides of the top of the mounting bottom plate are fixedly connected with fixed blocks, a first sliding block is arranged on one side, opposite to the two vertical fixed blocks, of the left side, the two sides of the front surface of the shell are movably connected with a first door, the center of the front surface of the first door is fixedly connected with a first handle, the surface of the first handle is provided with a connecting lock, the left bottom of an inner cavity of the shell is embedded with a control main body, the front sides of the two sides of the inner cavity of the shell are movably connected with a second door, the front surface of the second door is fixedly connected with a second handle, the top of the front surface of the second door on the left side is, the utility model discloses a portable electronic device, including recess inner chamber, recess inner chamber's rear side fixedly connected with travel switch, the arch that the back of the body surface fixedly connected with of the first chamber door in left side and travel switch cooperation were used, and the top at the back of the body surface of left side second chamber door is inlayed and is had data switching socket, the storage card is installed to the inner chamber of data switching socket, the back of the body surface fixedly connected with electric telescopic handle of right side second chamber door, electric telescopic handle's left side fixedly connected with connecting plate, the left side fixedly connected with second baffle of connecting plate, the equal fixedly connected with second slider in both sides on second baffle positive surface, the spout that uses with the.
Preferably, the number of the fixed blocks is four, the surfaces of the first sliding blocks are connected with the joints of the fixed blocks in a sliding manner, and one sides of the two first sliding blocks, which are opposite to each other, are fixedly connected with damping fixture blocks and provided with clamping grooves matched with the damping fixture blocks for use.
Preferably, the first baffle is arranged in an inclined mode, and the transverse length of the first baffle is larger than that of the fixing block.
Preferably, the surface of the second sliding block is connected with the inner wall of the sliding groove in a sliding mode, and the second sliding block is in a T shape.
Preferably, the camera main part includes transparent window and camera, the control main part includes electric door lock and controller, and external safety power supply, controller, travel switch and camera main part constitute series circuit, the camera main part is connected with the data switching socket electricity, and external safety power supply, electric door lock, controller and electric telescopic handle constitute series circuit.
Compared with the prior art, the beneficial effects of the utility model are as follows:
1. the utility model discloses a set up first chamber door, the fixed block, the joint lock, the first in command, the control main part, first slider, the camera main part, the spout, the second slider, the second baffle, electric telescopic handle, the second chamber door, the connecting plate, data switching socket, the storage card, it is protruding, travel switch and recess cooperation are used, have that the theftproof nature is good and can shoot the unexpected advantage of opening personnel's outward appearance characteristic, it is relatively poor to have solved current outdoor switch cabinet theftproof nature, there is certain potential safety hazard, and can't shoot the unexpected personnel's outward appearance characteristic of opening the switch cabinet, be not convenient for follow-up to the unexpected pursuit and the investigation of opening personnel, the problem of outdoor switch cabinet practicality has been reduced.
2. The utility model discloses a set up first baffle, can play and hide rain and sun-proof additional action, use through setting up damping fixture block and draw-in groove cooperation, can increase the frictional force between two first sliders, prevent that first slider from removing at will, use through setting up the cooperation of connecting lock and the first in command, can play the effect of a heavy protection theftproof, use with the spout cooperation through the second slider that sets up "T" shape, can prevent that the second slider from breaking away from the spout, through setting up the connecting plate, can install and connect more second baffles, improve the spacing steadiness of device, use through setting up data switching socket and storage card cooperation, can be with the data transmission of camera main part shooting and save to the storage card in.
Drawings
FIG. 1 is a schematic structural view of the present invention;
FIG. 2 is a top sectional view of the housing structure of the present invention;
FIG. 3 is a rear view of the second door structure of the present invention;
fig. 4 is an enlarged schematic view of the structure a in fig. 2 according to the present invention.
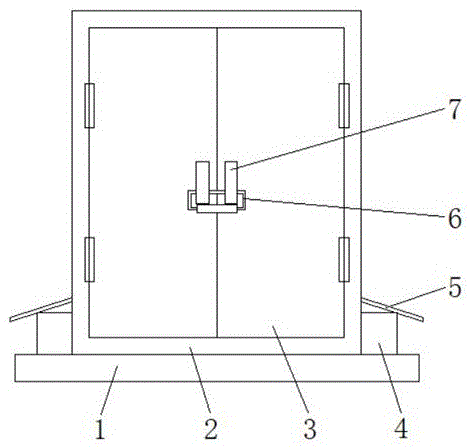
In the figure: the device comprises an installation bottom plate 1, a shell 2, a first box door 3, a fixed block 4, a first baffle 5, a connecting lock 6, a first handle 7, a control main body 8, a first sliding block 9, a camera main body 10, a second handle 11, a sliding chute 12, a second sliding block 13, a second baffle 14, an electric telescopic rod 15, a second box door 16, a connecting plate 17, a data switching socket 18, a memory card 19, a bulge 20, a travel switch 21 and a groove 22.
Detailed Description
The technical solutions in the embodiments of the present invention will be described clearly and completely with reference to the accompanying drawings in the embodiments of the present invention, and it is obvious that the described embodiments are only some embodiments of the present invention, not all embodiments. Based on the embodiments in the present invention, all other embodiments obtained by a person skilled in the art without creative work belong to the protection scope of the present invention.
Referring to fig. 1-4, a closed outdoor switch cabinet body with an anti-theft function comprises an installation bottom plate 1, a shell 2 is fixedly connected to the top of the installation bottom plate 1, first baffles 5 are fixedly connected to the bottoms of the two sides of the shell 2, the first baffles 5 are arranged in an inclined manner, fixed blocks 4 are fixedly connected to the two sides of the top of the installation bottom plate 1, the number of the fixed blocks 4 is four, the transverse length of each first baffle 5 is larger than that of each fixed block 4, the first baffles 5 can play an auxiliary role of rain shielding and sun shielding, first sliding blocks 9 are arranged on the opposite sides of two fixed blocks 4 in the longitudinal direction on the left side, the surfaces of the first sliding blocks 9 are connected with the joints of the fixed blocks 4 in a sliding manner, damping clamping blocks are fixedly connected to the opposite sides of the two first sliding blocks 9, clamping grooves matched with the damping clamping blocks are formed on the opposite sides of, the friction force between the two first sliding blocks 9 can be increased, the first sliding blocks 9 are prevented from moving randomly, the two sides of the front surface of the shell 2 are movably connected with the first box door 3, the center of the front surface of the first box door 3 is fixedly connected with the first handle 7, the surface of the first handle 7 is provided with the connecting lock 6, the connecting lock 6 and the first handle 7 are matched for use, the anti-theft effect can be achieved, the control main body 8 is embedded at the left bottom of the inner cavity of the shell 2 and comprises an electric door lock and a controller, the front sides of the two sides of the inner cavity of the shell 2 are movably connected with the second box door 16, the front surface of the second box door 16 is fixedly connected with the second handle 11, the top of the front surface of the left second box door 16 is embedded with the camera main body 10, the camera main body 10 comprises a transparent window and a camera, the front surface of the left second box door 16 is provided with the groove 22, the rear side, the back surface of the first box door 3 on the left side is fixedly connected with a bulge 20 matched with a travel switch 21 for use, the top of the back surface of the second box door 16 on the left side is inlaid with a data transfer socket 18, the camera main body 10 is electrically connected with the data transfer socket 18, a memory card 19 is installed in the inner cavity of the data transfer socket 18, data shot by the camera main body 10 can be transmitted and stored in the memory card 19 by arranging the data transfer socket 18 and the memory card 19 for use, the back surface of the second box door 16 on the right side is fixedly connected with an electric telescopic rod 15, the left side of the electric telescopic rod 15 is fixedly connected with a connecting plate 17, more second baffles 14 can be installed and connected by arranging the connecting plate 17, the limiting stability of the device is improved, the second baffle 14 is fixedly connected on the left side of the connecting plate 17, the second sliding blocks 13 are fixedly connected on both sides of the front surface of the second baffle 14, the, the surface of the second sliding block 13 is connected with the inner wall of the sliding groove 12 in a sliding way, the second sliding block 13 is in a T shape, the second sliding block 13 is matched with the sliding groove 12 to prevent the second sliding block 13 from being separated from the sliding groove 12, an external safety power supply, a controller, a travel switch 21 and a camera main body 10 form a series circuit, the external safety power supply, an electric door lock, the controller and an electric telescopic rod 15 form the series circuit, and the first door 3, the fixed block 4, the connecting lock 6, the first handle 7, the control main body 8, the first sliding block 9, the camera main body 10, the sliding groove 12, the second sliding block 13, the second baffle 14, the electric telescopic rod 15, the second door 16, the connecting plate 17, the data transfer socket 18, the memory card 19, the bulge 20, the travel switch 21 and the groove 22 are matched to use, so that the anti-theft performance is good and the appearance characteristic of an accidental opening person can be shot, the problem of current outdoor switch cabinet theftproof nature relatively poor, have certain potential safety hazard, and can't shoot the personnel appearance characteristic that the cubical switchboard was opened to the accident, be not convenient for follow-up to the pursuit and the investigation of the unexpected personnel of opening, reduced outdoor switch cabinet practicality is solved.
When the electric retractable door is used, all the parts are in an initial state, namely the electric retractable rod 15 extends out, the second baffle plate 14 stretches across the two second door boxes 16, when a worker uses the electric retractable door, the connecting lock 6 is opened through the connecting lock 6 corresponding to a key, the first slide block 9 is moved inwards to expose the control main body 8, the control main body 8 is opened through the electric door lock corresponding to the key, a circuit where the travel switch 21 is controlled by the controller to be disconnected, the electric retractable rod 15 is controlled to be retracted, the connecting plate 17 is moved rightwards, the second baffle plate 14 is driven to move rightwards, the second slide block 13 is moved in the sliding groove 12 until the second baffle plate 14 moves to the rear side of the right second door box 16 and does not stretch across the two second door boxes 16 any more, at the moment, the worker can sequentially open the first door 3 and the second box door 16 to overhaul electric facilities in the shell 2, and after an accidental opener breaks the connecting lock, at this moment, the external safety power supply, the controller, the travel switch 21 and the camera main body 10 form a series loop, when the first box door 3 is opened, the protrusion 20 is separated from the groove 22, the travel switch 21 resets to control the camera main body 10 to automatically start a shooting function, the appearance characteristics of an accident starting person are shot, data are transmitted into the storage card 19 through the data transfer socket 18, and follow-up workers can track and investigate according to the data in the storage card 19.
All kinds of parts used in this application file are standard parts, can purchase from the market, and the concrete connected mode of each part all adopts conventional means such as ripe bolt, rivet and welding among the prior art, and machinery, part and electrical equipment all adopt conventional model among the prior art, and circuit connection adopts conventional connected mode among the prior art, and electrical equipment all communicates with external safe power supply, does not make specific statement here again.
In summary, the following steps: this closed outdoor switch cabinet body with theftproof function, through setting up first chamber door 3, the fixed block 4, the lock 6 is connected, the first in command 7, control main part 8, first slider 9, camera main part 10, spout 12, second slider 13, second baffle 14, electric telescopic handle 15, second chamber door 16, connecting plate 17, data switching socket 18, storage card 19, arch 20, travel switch 21 and recess 22 cooperation are used, have that the theftproof nature is good and can shoot the unexpected advantage of opening personnel's outward appearance characteristic, it is relatively poor to have solved current outdoor switch cabinet theftproof nature, there is certain potential safety hazard, and can't shoot the unexpected personnel's outward appearance characteristic of opening the cubical switchboard, be not convenient for follow-up to unexpected pursuit and the investigation of opening personnel, the problem of outdoor switch cabinet practicality has been reduced.
Although embodiments of the present invention have been shown and described, it will be appreciated by those skilled in the art that changes, modifications, substitutions and alterations can be made in these embodiments without departing from the principles and spirit of the invention, the scope of which is defined in the appended claims and their equivalents.

Claims (5)

1. The utility model provides a closed outdoor switch cabinet body with theftproof function, includes mounting plate (1), its characterized in that: the top of the mounting bottom plate (1) is fixedly connected with a shell (2), the bottoms of the two sides of the shell (2) are fixedly connected with a first baffle (5), the two sides of the top of the mounting bottom plate (1) are fixedly connected with fixed blocks (4), one side of the left side, opposite to the two vertical fixed blocks (4), is provided with a first slider (9), the two sides of the front surface of the shell (2) are movably connected with a first box door (3), the center of the front surface of the first box door (3) is fixedly connected with a first handle (7), the surface of the first handle (7) is provided with a connecting lock (6), the left bottom of the inner cavity of the shell (2) is inlaid with a control main body (8), the front sides of the two sides of the inner cavity of the shell (2) are movably connected with a second box door (16), and the front surface of the second box door (16), a camera main body (10) is inlaid in the top of the front surface of the left second box door (16), a groove (22) is formed in the front surface of the left second box door (16), a travel switch (21) is fixedly connected to the rear side of the inner cavity of the groove (22), a protrusion (20) matched with the travel switch (21) for use is fixedly connected to the back surface of the left first box door (3), a data transfer socket (18) is inlaid in the top of the back surface of the left second box door (16), a storage card (19) is installed in the inner cavity of the data transfer socket (18), an electric telescopic rod (15) is fixedly connected to the back surface of the right second box door (16), a connecting plate (17) is fixedly connected to the left side of the electric telescopic rod (15), a second baffle plate (14) is fixedly connected to the left side of the connecting plate (17), and second sliders (13) are fixedly connected to both sides of the, and sliding chutes (12) matched with the second sliding blocks (13) for use are formed in the back surfaces of the second box doors (16).
2. The enclosed outdoor switch cabinet body with the anti-theft function of claim 1, characterized in that: the number of the fixed blocks (4) is four, the surface of each first sliding block (9) is in sliding connection with the joint of the fixed blocks (4), and one side, opposite to the two first sliding blocks (9), of each first sliding block is fixedly connected with a damping clamping block and provided with clamping grooves matched with the damping clamping blocks for use.
3. The enclosed outdoor switch cabinet body with the anti-theft function of claim 1, characterized in that: the first baffle (5) is obliquely arranged, and the transverse length of the first baffle (5) is greater than that of the fixing block (4).
4. The enclosed outdoor switch cabinet body with the anti-theft function of claim 1, characterized in that: the surface of the second sliding block (13) is in sliding connection with the inner wall of the sliding groove (12), and the second sliding block (13) is T-shaped.
5. The enclosed outdoor switch cabinet body with the anti-theft function of claim 1, characterized in that: camera main part (10) include transparent window and camera, control main part (8) include electric door lock and controller, and external safe power, controller, travel switch (21) and camera main part (10) constitute series circuit, camera main part (10) are connected with data switching socket (18) electricity, and external safe power, electric door lock, controller and electric telescopic handle (15) constitute series circuit.
CN202020941570.1U 2020-05-29 2020-05-29 Closed outdoor switch cabinet body with theftproof function Expired - Fee Related CN213071756U (en)

Priority Applications (1)

Application Number Priority Date Filing Date Title
CN202020941570.1U CN213071756U (en) 2020-05-29 2020-05-29 Closed outdoor switch cabinet body with theftproof function

Applications Claiming Priority (1)

Application Number Priority Date Filing Date Title
CN202020941570.1U CN213071756U (en) 2020-05-29 2020-05-29 Closed outdoor switch cabinet body with theftproof function

Publications (1)

Publication Number Publication Date
CN213071756U true CN213071756U (en) 2021-04-27

Family

ID=75566117

Family Applications (1)

Application Number Title Priority Date Filing Date
CN202020941570.1U Expired - Fee Related CN213071756U (en) 2020-05-29 2020-05-29 Closed outdoor switch cabinet body with theftproof function

Country Status (1)

Country Link
CN (1) CN213071756U (en)

Cited By (2)

* Cited by examiner, † Cited by third party
Publication number Priority date Publication date Assignee Title
CN113898257A (en) * 2021-09-24 2022-01-07 国什能源科技(北京)有限公司 Door lock control structure of intelligent power exchange cabinet
CN115444231A (en) * 2022-08-26 2022-12-09 深圳市速易宝智能科技有限公司 Key cabinet with anti-theft function and use method

Cited By (3)

* Cited by examiner, † Cited by third party
Publication number Priority date Publication date Assignee Title
CN113898257A (en) * 2021-09-24 2022-01-07 国什能源科技(北京)有限公司 Door lock control structure of intelligent power exchange cabinet
CN115444231A (en) * 2022-08-26 2022-12-09 深圳市速易宝智能科技有限公司 Key cabinet with anti-theft function and use method
CN115444231B (en) * 2022-08-26 2023-08-15 深圳市速易宝智能科技有限公司 Anti-theft key cabinet and use method thereof

Similar Documents

Publication Publication Date Title
CN213071756U (en) Closed outdoor switch cabinet body with theftproof function
CN212726246U (en) Pressure relief device of high-voltage power distribution cabinet
CN213125251U (en) Assembled low-voltage distribution box
CN106786024B (en) Generator car access case
CN210563892U (en) Intelligent lock of power distribution cabinet
CN211126288U (en) Online safety monitoring device of power transmission and distribution
CN206806970U (en) A kind of cable branch box
CN219874656U (en) Case input cable hole protection structure
CN216121521U (en) High-efficient heat dissipation box-type substation is used in electric power supply and distribution
CN201152138Y (en) Telescopic door
CN216794380U (en) Box transformer substation convenient to install
CN214786935U (en) Cabinet door device with self-locking function for electrical cabinet
CN211629926U (en) Dual supply box convenient to overhaul
CN204858309U (en) Ring main unit
CN210577120U (en) High-voltage ring network switch cabinet convenient to overhaul
CN216720597U (en) Electrical engineering is with cubical switchboard that has safety protection function
CN210723806U (en) Low-voltage draw-out type switch cabinet
CN209844280U (en) Auxiliary opening device for high-low voltage complete cabinet
CN222581064U (en) Leakage protection circuit breaker convenient to installation is fixed
CN220544715U (en) A power box that facilitates classification and threading
CN208316160U (en) A kind of Multifunctional protection device for power for box-type substation
CN219067557U (en) UPS uninterrupted power source with remove cabinet body
CN214013423U (en) Novel safe and reliable high-low voltage switch cabinet
CN220628561U (en) Anti-theft cabinet body of outdoor switch cabinet
CN204333635U (en) Novel mid-mounted formula switch cubicle

Legal Events

Date Code Title Description
GR01 Patent grant
GR01 Patent grant
CF01 Termination of patent right due to non-payment of annual fee

Granted publication date: 20210427

CF01 Termination of patent right due to non-payment of annual fee