CN213052984U - Waste collecting device is cut apart to panel - Google Patents

Waste collecting device is cut apart to panel Download PDF

Info

Publication number
CN213052984U
CN213052984U CN202022097411.0U CN202022097411U CN213052984U CN 213052984 U CN213052984 U CN 213052984U CN 202022097411 U CN202022097411 U CN 202022097411U CN 213052984 U CN213052984 U CN 213052984U
Authority
CN
China
Prior art keywords
roller
roll
collecting device
ejection
waste collecting
Prior art date
Legal status (The legal status is an assumption and is not a legal conclusion. Google has not performed a legal analysis and makes no representation as to the accuracy of the status listed.)
Expired - Fee Related
Application number
CN202022097411.0U
Other languages
Chinese (zh)
Inventor
王霜
唐存可
周西春
朱志荣
Current Assignee (The listed assignees may be inaccurate. Google has not performed a legal analysis and makes no representation or warranty as to the accuracy of the list.)
Hefei Kailin Refrigeration Equipment Co ltd
Original Assignee
Hefei Kailin Refrigeration Equipment Co ltd
Priority date (The priority date is an assumption and is not a legal conclusion. Google has not performed a legal analysis and makes no representation as to the accuracy of the date listed.)
Filing date
Publication date
Application filed by Hefei Kailin Refrigeration Equipment Co ltd filed Critical Hefei Kailin Refrigeration Equipment Co ltd
Priority to CN202022097411.0U priority Critical patent/CN213052984U/en
Application granted granted Critical
Publication of CN213052984U publication Critical patent/CN213052984U/en
Expired - Fee Related legal-status Critical Current
Anticipated expiration legal-status Critical

Links

Images

Landscapes

  • Processing Of Solid Wastes (AREA)

Abstract

本申请涉及一种板材分割废料收集装置,其包括设置于分割机体出料端的出料台,出料台的侧壁上转动连接有卷收辊,出料台内设有驱动卷收辊转动的驱动机构,卷收辊远离出料台的一端安装有限位盘。本申请中,驱动机构驱动卷收辊转动,长条状废料不断缠绕于限位盘与出料台之间卷收辊的辊面上,实现对长条状废钢板条的卷收收集,具有防止长条状废料的杂乱堆放的效果。

Figure 202022097411

The present application relates to a device for collecting waste material from sheet metal splitting, which comprises a discharging table arranged at the discharging end of the splitting body, a winding roller is rotatably connected to the side wall of the discharging table, and a device for driving the rolling roller to rotate is arranged in the discharging table. Drive mechanism, a limit plate is installed at one end of the take-up roller away from the discharge table. In the present application, the drive mechanism drives the winding roller to rotate, and the long scrap is continuously wound on the roller surface of the winding roller between the limit plate and the discharge table, so as to realize the winding and collection of the long scrap steel strip. The effect of preventing the messy stacking of long strips of waste.

Figure 202022097411

Description

Waste collecting device is cut apart to panel
Technical Field
The application relates to the technical field of plate processing, in particular to a waste collecting device for plate segmentation.
Background
The main shell of the air conditioner compressor usually adopts a hot-rolled pickled steel plate as a substrate, and in the processing process of the main shell, the steel plate is firstly divided according to a specified size, and then a single steel plate formed by division is coiled and welded to obtain the tubular main shell. Among them, in the process of cutting the steel plate, a cutting device is required.
At present, chinese patent with publication number CN108405961B discloses a plate cutting machine, which includes a base, two upright posts symmetrically connected to the base, a first movable plate slidably connected to the upright posts, a first mounting groove formed in the first movable plate, a first threaded rod passing through the first mounting groove, a second movable plate slidably connected to the first threaded rod, a first groove formed on the second movable plate, a second threaded block formed on the first groove, the second threaded block being threadedly connected to the first threaded rod, and a cutting blade formed at a lower end of the second movable plate. During operation, the second thread block is rotated to move on the first threaded rod, so that the second movable plates move, the distance between the second movable plates is adjusted, the cutting width can be controlled, and the edges of the steel plate can be cut and flattened. However, when the cutting machine cuts the edge of the steel plate, long-strip-shaped scraps are generated, and the cutting machine is not provided with a scrap collecting device, so that the condition that the scraps are stacked in a mess is easy to occur, a large amount of space is occupied, and the scraps are not convenient to recycle.
In view of the above-mentioned related art, the inventors considered that there was a drawback that long waste materials were generated and easily piled up.
SUMMERY OF THE UTILITY MODEL
In order to prevent the mixed and disorderly stack of rectangular form waste material, this application provides a garbage collection device is cut apart to panel.
The application provides a scrap collecting device is cut apart to panel adopts following technical scheme:
the utility model provides a garbage collection device is cut apart to panel, is including setting up in the ejection of compact platform of cutting apart the organism discharge end, it is connected with the roll-up roller to rotate on the lateral wall of ejection of compact platform, be equipped with the drive in the ejection of compact platform roll-up roller pivoted actuating mechanism, the roll-up roller is kept away from spacing dish is installed to the one end of ejection of compact platform.
Through adopting above-mentioned technical scheme, when cutting apart the organism and cutting the steel sheet, the steel sheet main part that the cutting obtained is carried to the ejection of compact platform, the rectangular form waste material that the cutting of steel sheet edge was leveled the production distributes in the both sides of ejection of compact platform, start actuating mechanism this moment, actuating mechanism drives the roll-up roller and rotates, rectangular form waste material constantly twines on the roll surface of roll-up roller between spacing dish and ejection of compact platform to this realizes collecting the roll-up of rectangular form waste steel lath, thereby the effectual mixed and disorderly stack of rectangular form waste material that has prevented.
Preferably, the driving mechanism comprises a rotating shaft fixedly connected with the winding roller, a steering gear fixedly mounted on the rotating shaft, a main gear meshed with the steering gear, and a motor driving the main gear to rotate, and the motor is fixedly mounted in the discharging table.
By adopting the technical scheme, when the electric rolling machine works, the motor drives the main gear to rotate, the main gear is meshed with the steering gear, the steering gear rotates, the steering gear drives the rotating shaft to rotate, and the rotating shaft drives the rolling-up roller to rotate, so that the driving mechanism drives the rolling-up roller to rotate.
Preferably, the limiting disc comprises a mounting seat detachably connected with the furling roller and a plurality of supporting rods fixedly connected to the outer side wall of the mounting seat, a bolt is arranged on the mounting seat, and the bolt is in threaded connection with the mounting seat and the furling roller.
By adopting the technical scheme, when the winding is started, the end parts of the waste materials can be wound on the supporting rods by workers for fixing, and the plurality of supporting rods prevent the waste materials from being wound out of the winding roller in the winding process, so that the smooth winding of the waste materials is ensured; after the winding is completed, the worker only needs to screw the bolt out of the winding roller and take down the mounting seat, so that the disassembly of the limiting disc can be realized, and the effect of conveniently taking down the waste material roll is achieved.
Preferably, the supporting rod is obliquely arranged on the mounting seat, and one end of the supporting rod, which is far away from the mounting seat, is farther away from the discharging table than the other end of the supporting rod.
Through adopting above-mentioned technical scheme, because branch slope sets up on the mount pad, its one end of keeping away from the mount pad has enlarged the roll-up space of waste material, the continuous roll-up of the roll-up roller of being convenient for, and the staff need not frequently to stop and takes off the waste material book to work efficiency has been improved.
Preferably, a wedge-shaped block is fixedly arranged at the position where the support rod is connected with the mounting seat.
Through adopting above-mentioned technical scheme, because the support slope sets up on the mount pad, the waste material has the pressure towards the mount pad axis to the support at the roll-up in-process, and the setting of wedge forms stable support to the root of branch, has strengthened the fastness that branch and mount pad are connected, and the effectual hookup location who has prevented support and mount pad breaks.
Preferably, be equipped with adjustment mechanism on the ejection of compact platform, adjustment mechanism locates the feed end of roll-up roller, adjustment mechanism include fixed mounting in cylinder in the ejection of compact platform, fixedly connected with is on a parallel with on the cylinder piston rod the reciprocating lever of roll-up roller, the both ends of reciprocating lever all rotate and are connected with spacing post.
By adopting the technical scheme, when the roller is wound, the cylinder drives the reciprocating rod to do reciprocating motion parallel to the roller, the waste steel plate strip passes through the two limiting columns and does reciprocating motion along with the reciprocating rod in the horizontal direction, so that the waste steel plate strip is uniformly wound along the length direction of the roller, and the waste steel plate strip is uniformly wound by the roller; and the limiting column rotates when contacting with the waste steel plate strip, so that rolling friction is formed between the limiting column and the waste steel plate strip, and the waste steel plate strip is favorably transmitted to the winding roller.
Preferably, the reciprocating rod is rotatably connected with a horizontal column with a cylindrical surface contacting with the waste steel plate strip.
Through adopting above-mentioned technical scheme, when the steel scrap strip was along with reciprocating lever horizontal migration, the steel scrap strip pressed on the face of cylinder of horizontal post and driven the horizontal post and rotate, was rolling friction between spacing post and the steel scrap strip this moment, was favorable to the transmission of steel scrap strip to the roll-up roller.
Preferably, the side wall of the discharging table is fixedly connected with a wear-resistant ring, and the wear-resistant ring is sleeved at one end, close to the discharging table, of the furling roller.
Through adopting above-mentioned technical scheme, at the roll-up in-process, the waste material book rotates along with the roll-up roller, and the waste material book that is close to the ejection of compact platform is difficult to exempt from and goes out the ejection of compact platform contact and take place wearing and tearing, and the wear ring that sets up separates waste material book and ejection of compact platform, and wear ring is made by high manganese wear-resisting steel, and high manganese wear-resisting steel's carbon content is high, has fine wear resistance, the effectual wearing and tearing that have prevented the ejection of compact.
In summary, the present application includes at least one of the following beneficial technical effects:
the driving mechanism drives the winding roller to rotate, and the long-strip-shaped waste materials are continuously wound on the roller surface of the winding roller between the limiting disc and the discharging table, so that the winding and the collection of the long-strip-shaped waste steel strips are realized, and the messy stacking of the long-strip-shaped waste materials is effectively prevented;
when the winding is started, the end parts of the waste materials are wound on the supporting rods to be fixed, the plurality of supporting rods prevent the waste materials from being wound out of the winding roller in the winding process, the bolts are screwed out of the winding roller after the winding is finished, then the mounting seat is taken down, the limiting disc can be disassembled, and the waste material coil is convenient to take down;
the one end that the mount pad was kept away from to branch is farther away from the ejection of compact platform than its other end, has enlarged the roll-up space of waste material, and the roll-up work of being convenient for continues going on, need not frequently to stop and takes off the waste material book, has improved work efficiency.
Drawings
FIG. 1 is a schematic structural diagram of an embodiment of the present application.
FIG. 2 is a schematic structural diagram of a discharging table in the application example.
Fig. 3 is a partially enlarged schematic view of a portion a in fig. 2.
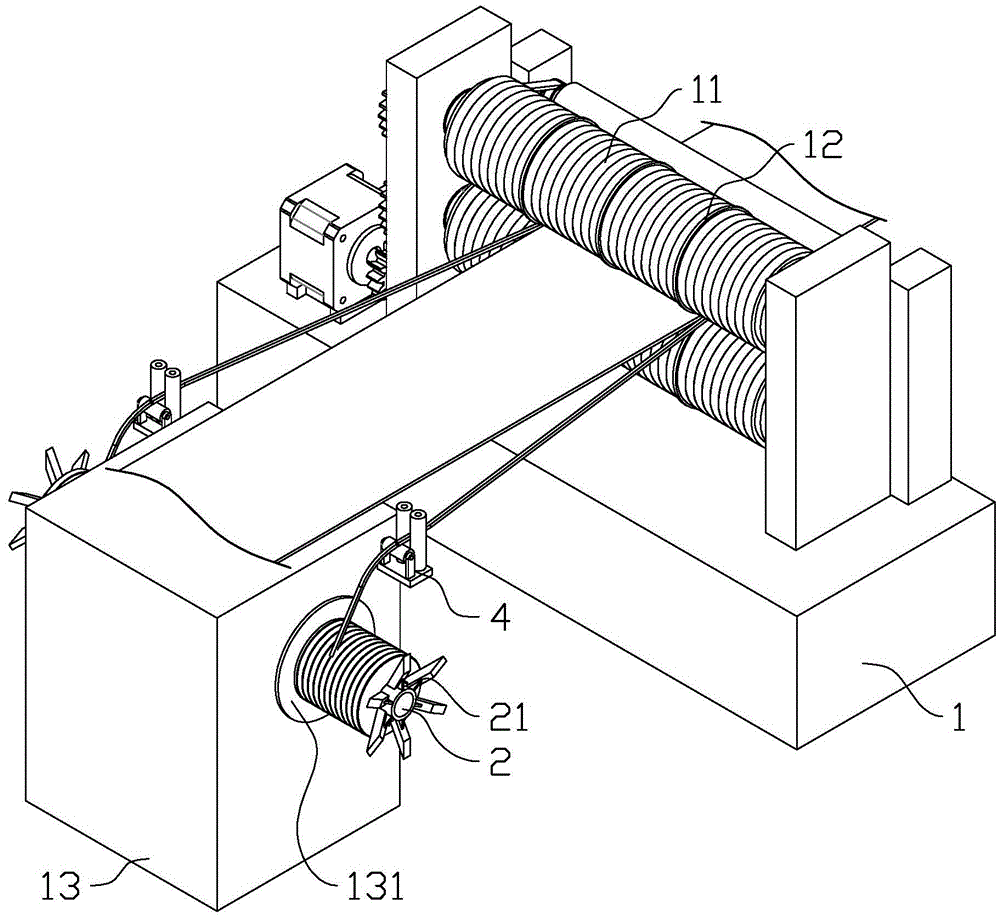
Description of reference numerals: 1. dividing the machine body; 11. a dividing roller; 12. a ring knife; 13. a discharging table; 131. wear-resistant rings; 2. a winding roller; 21. a limiting disc; 211. a mounting seat; 212. a strut; 22. a bolt; 23. a wedge block; 3. a drive mechanism; 31. a motor; 32. a main gear; 33. a rotating shaft; 34. a steering gear; 4. an adjustment mechanism; 41. a cylinder; 42. a reciprocating lever; 421. a horizontal column; 43. a limiting column.
Detailed Description
The present application is described in further detail below with reference to figures 1-3.
The embodiment of the application discloses a waste collecting device is cut apart to panel. Referring to fig. 1 and 2, the plate material dividing waste collecting device includes a discharging table 13, a winding roller 2, a driving mechanism 3, and an adjusting mechanism 4. The discharging table 13 is rectangular and hollow, and the discharging table 13 is fixedly arranged at the discharging end of the cutting machine body 1. A splitting roller 11 is rotatably connected to a frame of the splitting body 1, and a longitudinal direction of the splitting roller 11 is parallel to a width direction of the steel plate. The roller surface of the dividing roller 11 is sleeved and fixedly connected with three annular cutters 12, wherein one annular cutter 12 is arranged in the middle of the dividing roller 11 to longitudinally cut the steel plate, and the steel plate main body obtained by cutting is conveyed to a discharging table 13; the other two annular knives 12 are respectively arranged at two ends of the dividing roller 11 to cut and flatten the edge of the steel plate and generate strip-shaped waste steel plate strips which are distributed at two sides of the discharging table 13.
Referring to fig. 2, the take-up roll 2 has a cylindrical shape, and the axial direction thereof coincides with the longitudinal direction of the discharge table 13 and is rotatably connected to the side wall of the discharge table 13. The two winding rollers 2 are arranged, and the two winding rollers 2 are respectively arranged on two sides of the discharging platform 13. One end of the winding roller 2 far away from the discharging platform 13 is provided with a limiting disc 21. As shown in fig. 3, the limiting plate 21 includes a mounting seat 211 and six struts 212. The mounting seat 211 is cylindrical and is fitted over the winding roller 2. The struts 212 are fixedly mounted on the outer side wall of the mounting seat 211, the cross section of each strut 212 is rectangular, the area of the cross section of each strut 212 is increased along the direction close to the mounting seat 211, and the six struts 212 are uniformly distributed along the circumferential direction of the mounting seat 211.
Referring to fig. 2, the driving mechanism 3 includes a motor 31, a main gear 32, a rotating shaft 33, and a steering gear 34. The motor 31 is fixedly arranged in the discharging table 13, and the axis of the output shaft of the motor 31 is vertical to and intersected with the axis of the winding roller 2. The main gear 32 is a helical gear fixedly mounted on the output shaft of the motor 31. The rotating shaft 33 is cylindrical, the axis of the rotating shaft is overlapped with the axis of the winding rollers 2, and two ends of the rotating shaft 33 penetrate through the side wall of the discharging table 13 and are fixedly connected with the two winding rollers 2 respectively. The steering gear 34 is a helical gear, which is sleeved and fixedly connected to the rotating shaft 33 and engaged with the main gear 32. During operation, the staff twines the tip of waste material on branch 212 earlier, then starter motor 31, motor 31 drives master gear 32 and rotates, and steering gear 34 rotates with master gear 32 meshing to drive pivot 33 and rotate, and pivot 33 drives the roll-up roller 2 and rotates, and the useless steel sheet strip is absolutely twined on spacing dish 21 and the roll surface of roll-up roller 2 between the ejection of compact platform 13, realizes the roll-up of useless steel sheet strip and collects, has prevented the mixed and disorderly stack of rectangular form waste material.
Referring to fig. 3, the mounting seat 211 is provided with a bolt 22, and the bolt 22 penetrates through the mounting seat 211 and the take-up roller 2, and is in threaded fit with both the mounting seat 211 and the take-up roller 2, so as to detachably connect the mounting seat 211 and the take-up roller 2. After the winding is completed, the worker only needs to screw out the bolt 22 and take down the mounting seat 211, and then the limiting disc 21 can be detached and the waste material roll can be taken down, so that the operation is convenient. The branch 212 slope sets up on the mount pad 211, and the one end that the mount pad 211 was kept away from to branch 212 is farther away from ejection of compact platform 13 than its other end, has enlarged the waste material roll-up space that the mount pad 211 one end was kept away from to branch 212, and the roll-up work of being convenient for continues going on, need not frequently to stop to take off the waste material book, has improved work efficiency. The wedge-shaped block 23 is arranged at the position where the supporting rod 212 is connected with the mounting seat 211, the cross section of the wedge-shaped block 23 is triangular, the inclined surface of the wedge-shaped block 23 is fixedly connected with the side wall of the supporting rod 212, and one of the right-angle surfaces is fixedly connected with the outer side wall of the mounting seat 211, so that the root of the supporting rod 212 is stably supported, and the connecting position of the support and the mounting seat 211 is prevented from being broken.
Referring to fig. 2, the discharging table 13 is provided with a wear-resistant ring 131 fixedly connected to the side wall of the winding roller 2. The wear-resistant ring 131 is made of high-manganese wear-resistant steel and has good wear resistance, the wear-resistant ring 131 is circular, and is sleeved at one end of the winding roller 2 close to the discharging table 13 to prevent the waste material roll from being in contact with the discharging table 13 to cause wear when rotating.
Referring to fig. 2, the adjusting mechanism 4 is disposed at the feeding end of the winding roller 2 and includes a cylinder 41, a reciprocating rod 42 and two limiting posts 43. The air cylinder 41 is fixedly arranged in the discharging table 13, and a piston rod of the air cylinder 41 is arranged parallel to the axis of the winding roller 2. The cross section of the reciprocating rod 42 is rectangular, the length direction of the reciprocating rod is consistent with that of the winding roller 2, and a piston rod of the air cylinder 41 extends out of the discharging table 13 and is fixedly connected with the reciprocating rod 42. The cross section of the limiting columns 43 is circular, and the two limiting columns 43 are respectively and rotatably arranged at two ends of the reciprocating rod 42. When the roller 2 is furled, the cylinder 41 drives the reciprocating rod 42 to do reciprocating motion parallel to the furling roller 2, the waste steel plate strip passes through the two limiting columns 43 and does reciprocating motion along with the reciprocating rod 42, and the waste steel plate strip is furled uniformly.
Referring to fig. 2, a horizontal column 421 is rotatably connected to a side of the reciprocating rod 42 close to the winding roller 2, and has a circular horizontal cross section, and the length direction of the horizontal column coincides with the length direction of the reciprocating rod 42. When the waste steel plate strip moves horizontally along with the reciprocating rod 42, the cylindrical surfaces of the limiting column 43 and the horizontal column 421 are in contact with the waste steel plate strip and rotate, so that the friction force between the waste steel plate strip and the reciprocating rod 42 is reduced, and the winding of the winding roller 2 is facilitated.
The implementation principle of the plate cutting waste collecting device in the embodiment of the application is as follows: during operation, the staff twines the tip of waste material on branch 212 earlier, then starter motor 31, motor 31 drives master gear 32 and rotates, and steering gear 34 rotates with master gear 32 meshing to drive pivot 33 and rotate, and pivot 33 drives the roll-up roller 2 and rotates, and the useless steel sheet strip is absolutely twined on spacing dish 21 and the roll surface of roll-up roller 2 between the ejection of compact platform 13, realizes the roll-up of useless steel sheet strip and collects, has prevented the mixed and disorderly stack of rectangular form waste material.
The above embodiments are preferred embodiments of the present application, and the protection scope of the present application is not limited by the above embodiments, so: all equivalent changes made according to the structure, shape and principle of the present application shall be covered by the protection scope of the present application.

Claims (8)

1. The utility model provides a waste material collection device is cut apart to panel which characterized in that: including setting up in ejection of compact platform (13) of cutting apart organism (1) discharge end, it is connected with roll-up roller (2) to rotate on the lateral wall of ejection of compact platform (13), be equipped with the drive in ejection of compact platform (13) roll-up roller (2) pivoted actuating mechanism (3), roll-up roller (2) are kept away from spacing dish (21) is installed to the one end of ejection of compact platform (13).
2. The sheet material dividing waste collecting device according to claim 1, wherein: the driving mechanism (3) comprises a rotating shaft (33) fixedly connected with the winding roller (2), a steering gear (34) fixedly mounted on the rotating shaft (33), a main gear (32) meshed with the steering gear (34) and a motor (31) driving the main gear (32) to rotate, wherein the motor (31) is fixedly mounted in the discharging platform (13).
3. The sheet material dividing waste collecting device according to claim 1, wherein: spacing dish (21) include with mount pad (211) that roll-up roller (2) can be dismantled the connection reach a plurality of branch (212) of fixed connection on the lateral wall of mount pad (211), be equipped with bolt (22) on mount pad (211), bolt (22) with mount pad (211) reach the equal threaded connection of roll-up roller (2).
4. The sheet material dividing waste collecting device according to claim 3, wherein: the supporting rod (212) is obliquely arranged on the mounting seat (211), and one end of the supporting rod (212) far away from the mounting seat (211) is far away from the discharging table (13) than the other end of the supporting rod.
5. The sheet material dividing waste collecting device according to claim 3, wherein: the position where the supporting rod (212) is connected with the mounting seat (211) is fixedly provided with a wedge-shaped block (23).
6. The sheet material dividing waste collecting device according to claim 1, wherein: be equipped with adjustment mechanism (4) on ejection of compact platform (13), adjustment mechanism (4) are located the feed end of roll-up roller (2), adjustment mechanism (4) including fixed mounting in cylinder (41) in ejection of compact platform (13), fixedly connected with is on a parallel with on cylinder (41) piston rod reciprocating lever (42) of roll-up roller (2), the both ends of reciprocating lever (42) are all rotated and are connected with spacing post (43).
7. The sheet material dividing waste collecting device according to claim 6, wherein: and a horizontal column (421) with a cylindrical surface contacting with the waste steel plate strip is rotatably connected to the reciprocating rod (42).
8. The sheet material dividing waste collecting device according to claim 1, wherein: the side wall of the discharging table (13) is fixedly connected with a wear-resistant ring (131), and the winding roller (2) is sleeved with the wear-resistant ring (131) and close to one end of the discharging table (13).
CN202022097411.0U 2020-09-22 2020-09-22 Waste collecting device is cut apart to panel Expired - Fee Related CN213052984U (en)

Priority Applications (1)

Application Number Priority Date Filing Date Title
CN202022097411.0U CN213052984U (en) 2020-09-22 2020-09-22 Waste collecting device is cut apart to panel

Applications Claiming Priority (1)

Application Number Priority Date Filing Date Title
CN202022097411.0U CN213052984U (en) 2020-09-22 2020-09-22 Waste collecting device is cut apart to panel

Publications (1)

Publication Number Publication Date
CN213052984U true CN213052984U (en) 2021-04-27

Family

ID=75559535

Family Applications (1)

Application Number Title Priority Date Filing Date
CN202022097411.0U Expired - Fee Related CN213052984U (en) 2020-09-22 2020-09-22 Waste collecting device is cut apart to panel

Country Status (1)

Country Link
CN (1) CN213052984U (en)

Cited By (2)

* Cited by examiner, † Cited by third party
Publication number Priority date Publication date Assignee Title
CN115889879A (en) * 2023-02-15 2023-04-04 浙江硕达工贸有限公司 Steel strip slitting machine with detection device and production process thereof
CN116969227A (en) * 2023-08-17 2023-10-31 湖北世学科技股份有限公司 A kind of steel plate waste material recycling device

Cited By (2)

* Cited by examiner, † Cited by third party
Publication number Priority date Publication date Assignee Title
CN115889879A (en) * 2023-02-15 2023-04-04 浙江硕达工贸有限公司 Steel strip slitting machine with detection device and production process thereof
CN116969227A (en) * 2023-08-17 2023-10-31 湖北世学科技股份有限公司 A kind of steel plate waste material recycling device

Similar Documents

Publication Publication Date Title
CN212863451U (en) Double-pressure roller film slitting machine
CN213052984U (en) Waste collecting device is cut apart to panel
CN212042921U (en) Feeding mechanism of slitting machine
CN206200216U (en) The shear of shear line is smoothed in uncoiling
CN207887796U (en) A kind of metal wire rod line cut-out equipment
CN202984790U (en) Edge cutting machine with shredding device
CN102615104A (en) Coiler for trimmings of cold-rolling strip steel
CN213505221U (en) Splitting machine
CN113547333A (en) All-in-one is cuted with tectorial membrane to sheet metal processing
CN110216724B (en) Single edge trimmer for multiple reverse osmosis membrane elements
CN207026954U (en) One kind efficiently cuts numerical control production equipment in length and breadth
CN202984791U (en) Edge trimmer
CN114769415B (en) Intelligent control type C shaped steel automatic production device
CN213259833U (en) High-efficient paper cutting machine
CN211387111U (en) Steel plate splitting machine
CN212800992U (en) Non-woven fabric slitting device
CN222754516U (en) High-efficient slitter for strip steel processing
CN212310984U (en) Cutting mechanism and cutting machine suitable for large-diameter hot blanks
CN208913245U (en) A kind of novel drum type flying shearing machine
CN210147088U (en) A steel slot slitting and rewinding machine
CN102615332A (en) Cold-rolled strip steel slitting line
CN223197731U (en) Structure is tailor to complex film waste material
CN218909280U (en) Automatic feeding mechanism of sheet cutting machine
CN216583394U (en) Stone paper production that facilitates use is with cutting device
CN215699677U (en) Punch forming device for inlet and outlet of filter cylinder

Legal Events

Date Code Title Description
GR01 Patent grant
GR01 Patent grant
CF01 Termination of patent right due to non-payment of annual fee
CF01 Termination of patent right due to non-payment of annual fee

Granted publication date: 20210427