CN213048589U - Peritoneal dialysis locator suitable for kidney internal medicine patient - Google Patents

Peritoneal dialysis locator suitable for kidney internal medicine patient Download PDF

Info

Publication number
CN213048589U
CN213048589U CN202021386624.9U CN202021386624U CN213048589U CN 213048589 U CN213048589 U CN 213048589U CN 202021386624 U CN202021386624 U CN 202021386624U CN 213048589 U CN213048589 U CN 213048589U
Authority
CN
China
Prior art keywords
tube
dialysis
fixing
sleeve
catheter assembly
Prior art date
Legal status (The legal status is an assumption and is not a legal conclusion. Google has not performed a legal analysis and makes no representation as to the accuracy of the status listed.)
Expired - Fee Related
Application number
CN202021386624.9U
Other languages
Chinese (zh)
Inventor
张航莉
杜芸芸
Current Assignee (The listed assignees may be inaccurate. Google has not performed a legal analysis and makes no representation or warranty as to the accuracy of the list.)
First Affiliated Hospital of Xian Jiaotong University
Original Assignee
First Affiliated Hospital of Xian Jiaotong University
Priority date (The priority date is an assumption and is not a legal conclusion. Google has not performed a legal analysis and makes no representation as to the accuracy of the date listed.)
Filing date
Publication date
Application filed by First Affiliated Hospital of Xian Jiaotong University filed Critical First Affiliated Hospital of Xian Jiaotong University
Priority to CN202021386624.9U priority Critical patent/CN213048589U/en
Application granted granted Critical
Publication of CN213048589U publication Critical patent/CN213048589U/en
Expired - Fee Related legal-status Critical Current
Anticipated expiration legal-status Critical

Links

Images

Landscapes

  • External Artificial Organs (AREA)

Abstract

本实用新型公开了一种适用于肾脏内科患者的腹膜透析定位器,包括固定组件、内导管组件和外导管组件,所述的固定组件由固定垫、套罩、压缩杆和卡套组成,所述的内导管组件由透析管、管套、固定块、橡胶垫和卡环组成,所述的外导管组件由穿刺管、限位挡圈和连接管组成,首先通过弹性卡套式设计,能够对内导管组件进行巧妙的固定,避免了透析管脱离、位移的问题,实现了很好的定位作用,其次配合夹持卡环夹持机构,不仅能够实现内导管组件和外导管组件的插合相连,此外当受到外部拉扯力后也能够分离,防止内导管组件因外部拉扯脱离患者体内的问题,确保了腹膜透析治疗的安全性。

Figure 202021386624

The utility model discloses a peritoneal dialysis positioner suitable for nephrology patients, comprising a fixing component, an inner catheter component and an outer catheter component. The fixing component is composed of a fixing pad, a cover, a compression rod and a clamping sleeve. The inner catheter assembly is composed of a dialysis tube, a tube sleeve, a fixing block, a rubber pad and a snap ring, and the outer catheter assembly is composed of a puncture tube, a limit stop ring and a connecting tube. The ingenious fixing of the inner catheter assembly avoids the problems of detachment and displacement of the dialysis tube, and achieves a good positioning effect. Secondly, with the clamping ring clamping mechanism, it can not only realize the insertion of the inner catheter assembly and the outer catheter assembly. In addition, it can be separated when subjected to external pulling force, preventing the problem of the inner catheter assembly being separated from the patient's body due to external pulling, and ensuring the safety of peritoneal dialysis treatment.

Figure 202021386624

Description

Peritoneal dialysis locator suitable for kidney internal medicine patient
Technical Field
The utility model relates to a peritoneal dialysis technical field especially relates to a peritoneal dialysis locator suitable for kidney internal medicine patient.
Background
Uremic patients require regular dialysis. At present, a plurality of patients adopt a peritoneal dialysis mode, namely, peritoneal dialysis is carried out by inputting peritoneal dialysis solution from the outside of a human body through a pipeline, the electrolyte balance is maintained, the peritoneal dialysis process is to perfuse the dialysis solution in a serial connection and parallel connection mode, the peritoneal cavity is uniformly perfused for 2-4 hours through the pipeline according to the advice of doctors, the dialysis solution of metabolic wastes and redundant moisture is discharged from the peritoneal cavity through the pipeline and is then perfused with new peritoneal dialysis solution, the continuous circulation operation can continuously discharge vivotoxin and redundant moisture, and thus the patients need to permanently arrange a dialysis pipeline on the peritoneal cavity, so that the fixation of the dialysis pipeline is very important.
According to the above, the existing clinical peritoneal dialysis has many defects and problems due to the lack of a positioning and fixing device in the dialysis conduit part, specifically as follows;
1. when the dialysis tube is pulled by the outside, the tube is easy to loosen, which not only causes the liquid to overflow, but also causes the peritonitis.
2. And poor fixation can also cause damage to the pipeline and even separation from the body of the patient, which can cause secondary intubation of the patient and influence subsequent treatment operation.
Therefore, in view of the above drawbacks, it is necessary to design a peritoneal dialysis positioner suitable for nephrology patients.
SUMMERY OF THE UTILITY MODEL
The utility model discloses the technical problem that will solve lies in: provides a peritoneal dialysis positioner suitable for a patient in nephrology department, which solves the problems provided by the background technology.
In order to solve the technical problem, the technical scheme of the utility model is that: the utility model provides a peritoneal dialysis locator suitable for kidney internal medicine patient, includes fixed subassembly, interior conduit subassembly and outer conduit subassembly, fixed subassembly by fixed bolster, mantle, compression bar and cutting ferrule constitute, interior conduit subassembly by dialysis tube, pipe box, fixed block, rubber pad and snap ring constitute, outer conduit subassembly by puncture pipe, spacing retaining ring and connecting pipe constitute, interior conduit subassembly run through inside the fixed subassembly, interior conduit subassembly and fixed subassembly adopt sliding connection, outer conduit subassembly be located interior conduit subassembly right side, outer conduit subassembly and interior conduit subassembly adopt sliding connection, the mantle set firmly in fixed bolster top right side, mantle and fixed bolster adopt hot melt to be connected, the compression bar cunning locate the inside lower extreme of mantle, compression bar and mantle adopt sliding connection, the cutting ferrule set firmly in compression bar bottom, the cutting sleeve and the compression rod are integrally formed, the cutting sleeve and the fixing pad are in vertical sliding connection, the dialysis tube penetrates through the lower end inside the fixing pad, the dialysis tube and the fixing pad are in sliding connection, the tube sleeve is fixedly arranged on the right side of the dialysis tube, the tube sleeve and the dialysis tube are in internal and external threaded connection, the fixing block is fixedly arranged on the right side of the tube sleeve, the fixing block and the tube sleeve are integrally formed, the rubber pad is fixedly arranged inside the fixing block, the rubber pad and the fixing block are in hot-melt connection, the snap ring is fixedly arranged at the upper end and the lower end of the right side of the fixing block and is in hot-melt connection with the fixing block, the puncture tube penetrates through the rubber pad, the puncture tube and the rubber pad are in tight-fit connection, the limit check ring is fixedly arranged on the right side of the puncture tube, and the limit, the connecting pipe is fixedly arranged on the right side of the limiting check ring and is connected with the limiting check ring in a hot melting mode.
Further, the left side of the fixing pad is fixedly arranged on the application patch, the application patch is connected with the fixing pad through an adhesive, the lower ends of the fixing pad and the inner part of the application patch are provided with avoiding holes, and the avoiding holes are circular through holes.
Further, the spring is further fixedly arranged at the upper end inside the sleeve cover, the spring is connected with the sleeve cover in a hot melting mode, and the bottom of the spring is connected with the compression rod in a hot melting mode.
Further, dialysis tube outer wall left side still set firmly the silica gel cover, silica gel cover and dialysis tube adopt the hot melt to be connected, silica gel cover inside still be equipped with the dialysis hole of a plurality of quantity, the dialysis hole be circular through-hole, dialysis tube left side port still set firmly the water conservancy diversion cover pipe, water conservancy diversion cover pipe and dialysis tube integrated into one piece.
Furthermore, the clamping ring is made of stainless steel, and the outer side of the clamping ring is arc-shaped.
Compared with the prior art, the peritoneal dialysis positioner applicable to the patient with the nephrology department has the following advantages;
1. at first, through the design of elastic cutting sleeve type, can carry out ingenious fixed to the internal catheter subassembly, avoided the dialysis pipe to break away from, the problem of displacement, realized fine positioning action.
2. Secondly, cooperate centre gripping snap ring fixture, not only can realize that the interpolation of interior conduit subassembly and outer conduit subassembly links to each other, also can separate when receiving outside pulling power in addition, prevent that interior conduit subassembly from pulling the internal problem of breaking away from patient because of the outside, ensured peritoneal dialysis treatment's security.
Drawings
FIG. 1 is a front view of a peritoneal dialysis positioner adapted for use with a nephrology patient;
FIG. 2 is a perspective view of a peritoneal dialysis positioner suitable for use with a nephrology patient 1;
FIG. 3 is a perspective view of a peritoneal dialysis positioner suitable for use with a nephrology patient 2;
FIG. 4 is a perspective view of a peritoneal dialysis positioner suitable for use with a nephrology patient 3;
FIG. 5 is a perspective view of a peritoneal dialysis positioner suitable for use with a nephrology patient 4;
FIG. 6 is a perspective view of a peritoneal dialysis positioner for a nephrology patient in an isolated state 1;
FIG. 7 is a perspective view of a peritoneal dialysis positioner for a nephrology patient in an isolated state 2;
FIG. 8 is an enlarged perspective view of the inner catheter assembly and the outer catheter assembly;
fig. 9 is an enlarged perspective view of the spring portion.
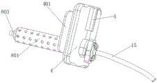
The device comprises a fixing component 1, an inner catheter component 2, an outer catheter component 3, a fixing pad 4, a sleeve cover 5, a compression rod 6, a clamping sleeve 7, a dialysis tube 8, a catheter sleeve 9, a fixing block 10, a rubber pad 11, a clamping ring 12, a puncture tube 13, a limiting check ring 14, a connecting tube 15, an application 401, an avoiding hole 402, a spring 501, a silica gel sleeve 801, a dialysis hole 802 and a flow guide cover tube 803.
The following detailed description will be further described in conjunction with the above-identified drawings.
Detailed Description
In the following description, numerous specific details are set forth in order to provide a thorough understanding of the concepts underlying the described embodiments, however, it will be apparent to one skilled in the art that the described embodiments may be practiced without some or all of these specific details, and in other cases well-known process steps have not been described in detail.
As shown in fig. 1, 2, 3, 4, 5, 6, 7, 8, 9, a peritoneal dialysis positioner suitable for a patient in renal medicine comprises a fixing component 1, an inner catheter component 2, an outer catheter component 3, a fixing pad 4, a sleeve cover 5, a compression rod 6, a cutting sleeve 7, a dialysis tube 8, a sleeve 9, a fixing block 10, a rubber pad 11, a snap ring 12, a puncture tube 13, a limit retainer ring 14, and a connecting tube 15, wherein the inner catheter component 2 penetrates through the inside of the fixing component 1, the inner catheter component 2 is in sliding connection with the fixing component 1, the outer catheter component 3 is positioned at the right side of the inner catheter component 2, the outer catheter component 3 is in sliding connection with the inner catheter component 2, the sleeve cover 5 is fixedly arranged at the right side of the top of the fixing pad 4, the sleeve cover 5 is in hot-melting connection with the fixing pad 4, the compression rod 6 is arranged at the lower end inside the sleeve cover 5 in a sliding manner, the compression rod 6 and the sleeve cover 5 are in sliding connection, the cutting sleeve 7 is fixedly arranged at the bottom of the compression rod 6, the cutting sleeve 7 and the compression rod 6 are integrally formed, the cutting sleeve 7 and the fixing pad 4 are in vertical sliding connection, the dialysis tube 8 penetrates through the lower end inside the fixing pad 4, the dialysis tube 8 and the fixing pad 4 are in sliding connection, the tube sleeve 9 is fixedly arranged at the right side of the dialysis tube 8, the tube sleeve 9 and the dialysis tube 8 are in internal and external threaded connection, the fixing block 10 is fixedly arranged at the right side of the tube sleeve 9, the fixing block 10 and the tube sleeve 9 are integrally formed, the rubber pad 11 is fixedly arranged inside the fixing block 10, the rubber pad 11 and the fixing block 10 are in hot melting connection, the snap ring 12 is fixedly arranged at the upper end and the lower end of the right side of the fixing block 10, the snap ring 12 and the fixing block 10 are in hot melting connection, the puncture tube 13 penetrates, the puncture tube 13 is tightly matched and connected with the rubber pad 11, the limit retainer ring 14 is fixedly arranged on the right side of the puncture tube 13, the limit retainer ring 14 is connected with the puncture tube 13 in a hot melting manner, the connecting tube 15 is fixedly arranged on the right side of the limit retainer ring 14, and the connecting tube 15 is connected with the limit retainer ring 14 in a hot melting manner;
it is noted that two functions are realized by the device when the patient is clinically subjected to peritoneal dialysis;
A. when the dialysis catheter is worn, the cutting sleeve 7 is pushed upwards in advance, the dialysis catheter 8 penetrates through the fixing pad 4 and is inserted into the body, the cutting sleeve 7 is convenient to slide downwards under the action of resilience force of the spring 501 by loosening the cutting sleeve 7, namely the cutting sleeve 7 is arranged on the outer side of the catheter sleeve 9 at the front end of the dialysis catheter 8, and at the moment, the inner catheter component 2 can be prevented from slipping and being discharged under the limiting action of the cutting sleeve 7;
B. the puncture tube 13 in the outer catheter component 3 can be inserted into the puncture rubber pad 11 under the action of force applied by medical personnel, the synchronous limiting retainer ring 14 is clamped into the rear end from the front end of the clamp ring 12, at the moment, the outer catheter component 3 and the inner catheter component 2 can be connected through the method, when pulling force is generated outside, the inner catheter component 2 is limited by the clamp sleeve 7, the clamp ring 12 has an elastic effect, the outer catheter component 3 can conveniently slip off the clamp ring 12, and the inner catheter component 2 is separated from the inner catheter component 2, at the moment, the inner catheter component 2 is prevented from being taken out, and when the puncture tube 13 is separated from the rubber pad 11, the puncture tube 13 can be plugged by the rebound resilience effect of the rubber material of the rubber pad 11, so that the problem of body fluid overflow is effectively prevented;
the left side of the fixing pad 4 is fixedly arranged on an application patch 401, the application patch 401 is connected with the fixing pad 4 by adopting an adhesive, the lower ends of the fixing pad 4 and the application patch 401 are also provided with avoidance holes 402, and the avoidance holes 402 are circular through holes;
the application 401 can be pasted on the abdomen of the patient to realize the connection and fixation of the fixing component 1 and the body of the patient, and the avoidance hole 402 can facilitate the dialysis tube 8 of the inner catheter component 2 to penetrate and be inserted into the body of the patient;
a spring 501 is fixedly arranged at the upper end inside the sleeve cover 5, the spring 501 is connected with the sleeve cover 5 in a hot melting manner, and the bottom of the spring 501 is connected with the compression rod 6 in a hot melting manner;
it should be noted that the spring 501 has resilience, and can rebound the lower end compression rod 6 downwards, so that the cutting ferrule 7 can restrain the inner catheter assembly 2 conveniently, when the inner catheter assembly needs to be taken out, the compression rod 6 slides upwards only by pushing the cutting ferrule 7 upwards, so that the resilience of the spring 501 is overcome, the cutting ferrule 7 cancels the limitation on the front end of the dialysis catheter 8, and the inner catheter assembly 2 is convenient to be taken out of the patient;
a silica gel sleeve 801 is fixedly arranged on the left side of the outer wall of the dialysis tube 8, the silica gel sleeve 801 is connected with the dialysis tube 8 in a hot melting mode, a plurality of dialysis holes 802 are further formed in the silica gel sleeve 801, the dialysis holes 802 are circular through holes, a diversion cover tube 803 is fixedly arranged at a port on the left side of the dialysis tube 8, and the diversion cover tube 803 and the dialysis tube 8 are integrally formed;
the silica gel sleeve 801 has good flexibility, which can improve soft contact with the body of a patient, and the dialysis hole 802 can facilitate the circulation and replacement of dialysate; the guide cover pipe 803 can be inserted conveniently to play a role in guiding;
the clamping ring 12 is made of stainless steel, and the outer side of the clamping ring 12 is arc-shaped;
it should be noted that, because the snap ring 12 is made of stainless steel, it has a good elastic effect, and can be opened to both sides by an external pulling force, even if the limiting check ring 14 is separated, the outer catheter assembly 3 and the inner catheter assembly 2 are separated.

Claims (5)

1.一种适用于肾脏内科患者的腹膜透析定位器,其特征在于包括固定组件、内导管组件和外导管组件,所述的固定组件由固定垫、套罩、压缩杆和卡套组成,所述的内导管组件由透析管、管套、固定块、橡胶垫和卡环组成,所述的外导管组件由穿刺管、限位挡圈和连接管组成,所述的内导管组件贯穿固定组件内部,所述的外导管组件位于内导管组件右侧,所述的套罩固设于固定垫顶部右侧,所述的压缩杆滑设于套罩内部下端,所述的卡套固设于压缩杆底部,且所述的卡套与固定垫采用上下滑动连接,所述的透析管贯穿固定垫内部下端,所述的管套固设于透析管右侧,所述的固定块固设于管套右侧,所述的橡胶垫固设于固定块内部,所述的卡环固设于固定块右侧上下两端,所述的穿刺管贯穿橡胶垫内部,所述的限位挡圈固设于穿刺管右侧,所述的连接管固设于限位挡圈右侧。1. a peritoneal dialysis positioner that is applicable to nephrology patients, is characterized in that comprising fixing assembly, inner catheter assembly and outer catheter assembly, described fixing assembly is made up of fixing pad, cover, compression rod and ferrule, so The inner catheter assembly is composed of a dialysis tube, a tube sleeve, a fixing block, a rubber pad and a snap ring, the outer catheter assembly is composed of a puncture tube, a limit stop ring and a connecting tube, and the inner catheter assembly penetrates the fixing assembly. Inside, the outer catheter assembly is located on the right side of the inner catheter assembly, the sleeve is fixed on the right side of the top of the fixing pad, the compression rod is slidably installed at the lower end of the sleeve, and the clamping sleeve is fixed on the The bottom of the compression rod, and the ferrule and the fixing pad are connected by sliding up and down, the dialysis tube runs through the inner lower end of the fixing pad, the tube sleeve is fixed on the right side of the dialysis tube, and the fixing block is fixed on the bottom of the dialysis tube. On the right side of the tube sleeve, the rubber pad is fixed inside the fixing block, the snap ring is fixed on the upper and lower ends of the right side of the fixing block, the puncture tube runs through the inside of the rubber pad, and the limiting ring It is fixed on the right side of the puncture tube, and the connecting tube is fixed on the right side of the limiting ring. 2.如权利要求1所述一种适用于肾脏内科患者的腹膜透析定位器,其特征在于所述的固定垫左侧还固设于敷贴,所述的固定垫和敷贴内部下端还设有避让孔。2. A peritoneal dialysis positioner suitable for nephrology patients as claimed in claim 1, characterized in that the left side of the fixing pad is also fixed on the application, and the lower end inside the fixing pad and the application is also provided. There are escape holes. 3.如权利要求1所述一种适用于肾脏内科患者的腹膜透析定位器,其特征在于所述的套罩内部上端还固设有弹簧,且所述的弹簧底部与压缩杆采用热熔连接。3. A peritoneal dialysis positioner suitable for nephrology patients as claimed in claim 1, wherein the inner upper end of the cover is also fixed with a spring, and the bottom of the spring and the compression rod are connected by hot melt . 4.如权利要求1所述一种适用于肾脏内科患者的腹膜透析定位器,其特征在于所述的透析管外壁左侧还固设有硅胶套,所述的硅胶套内部还设有若干数量的透析孔,所述的透析管左侧端口还固设有导流罩管。4. a kind of peritoneal dialysis locator suitable for nephrology patients as claimed in claim 1 is characterized in that the left side of the outer wall of the dialysis tube is also fixed with a silicone sleeve, and the inside of the silicone sleeve is also provided with a number of The dialysis hole, the left port of the dialysis tube is also fixed with a guide hood tube. 5.如权利要求1所述一种适用于肾脏内科患者的腹膜透析定位器,其特征在于所述的卡环为不锈钢材质。5. A peritoneal dialysis positioner suitable for nephrology patients according to claim 1, characterized in that the retaining ring is made of stainless steel.
CN202021386624.9U 2020-07-15 2020-07-15 Peritoneal dialysis locator suitable for kidney internal medicine patient Expired - Fee Related CN213048589U (en)

Priority Applications (1)

Application Number Priority Date Filing Date Title
CN202021386624.9U CN213048589U (en) 2020-07-15 2020-07-15 Peritoneal dialysis locator suitable for kidney internal medicine patient

Applications Claiming Priority (1)

Application Number Priority Date Filing Date Title
CN202021386624.9U CN213048589U (en) 2020-07-15 2020-07-15 Peritoneal dialysis locator suitable for kidney internal medicine patient

Publications (1)

Publication Number Publication Date
CN213048589U true CN213048589U (en) 2021-04-27

Family

ID=75573698

Family Applications (1)

Application Number Title Priority Date Filing Date
CN202021386624.9U Expired - Fee Related CN213048589U (en) 2020-07-15 2020-07-15 Peritoneal dialysis locator suitable for kidney internal medicine patient

Country Status (1)

Country Link
CN (1) CN213048589U (en)

Cited By (1)

* Cited by examiner, † Cited by third party
Publication number Priority date Publication date Assignee Title
CN118807017A (en) * 2024-07-03 2024-10-22 扬州大学附属医院(扬州市第一人民医院) Kidney peritoneal dialysis positioner

Cited By (2)

* Cited by examiner, † Cited by third party
Publication number Priority date Publication date Assignee Title
CN118807017A (en) * 2024-07-03 2024-10-22 扬州大学附属医院(扬州市第一人民医院) Kidney peritoneal dialysis positioner
CN118807017B (en) * 2024-07-03 2025-04-11 扬州大学附属医院(扬州市第一人民医院) A kidney peritoneal dialysis locator

Similar Documents

Publication Publication Date Title
CN213048589U (en) Peritoneal dialysis locator suitable for kidney internal medicine patient
CN215083058U (en) Hemodialysis nursing vein keeps somewhere pipe lag
CN210812904U (en) A change and flow device for intestinal juice drainage
CN202446553U (en) Bladder irrigator for urinary surgery
CN117582568A (en) Excrement incontinence management system, quick-connection assembly, inserter and use method
CN117771471A (en) A blood collection indwelling needle
CN116832254A (en) Automatic flushing pipe device of indwelling needle
CN211797946U (en) Hemodialysis's waste liquid collection bag
CN209187756U (en) A decompression indwelling needle
CN210433792U (en) Dialysis pipeline device
CN210992274U (en) Disposable indwelling needle
CN222517449U (en) A vacuum-capable indwelling needle for blood collection
CN223541918U (en) Multifunctional switching device for central venous access blood sampling
CN223158637U (en) Abdominal cavity washing and drainage device
CN221384513U (en) Disposable double-cavity urine bag
CN213554268U (en) Novel peritoneal dialysis waste liquid drainage bag
CN217592871U (en) Safe hemostix for internal arteriovenous fistula
CN214912416U (en) Medical integrated blood purification extracorporeal circulation fixing device
CN111905169A (en) Y type is kept somewhere needle for dialysis
CN220899297U (en) Catheter side hole adapter
CN219127609U (en) A leak-proof catheterization device for urology nursing
CN218010617U (en) Drainage tube for measuring abdominal cavity pressure
CN204181932U (en) A kind of screw-pushing type dialysis remaining needle
CN212547913U (en) PICC exposes pipe fixer
CN210020537U (en) a drainage device

Legal Events

Date Code Title Description
GR01 Patent grant
GR01 Patent grant
CF01 Termination of patent right due to non-payment of annual fee
CF01 Termination of patent right due to non-payment of annual fee

Granted publication date: 20210427